Design Validation for Package Construction
Package design validation requires precise measurement of structural integrity, material performance, and failure modes across diverse conditions. Recent testing data shows that seal failures occur in 2-3% of flexible packaging under normal distribution stresses, while structural failures in rigid packaging typically manifest at loading points experiencing more than 150N of concentrated force. These failure patterns highlight the interplay between material selection, manufacturing tolerances, and real-world handling conditions.
The fundamental challenge lies in balancing material optimization and structural integrity while maintaining manufacturability and cost-effectiveness across high-volume production runs.
This page brings together solutions from recent research—including selective vapor release mechanisms, integrated load cell systems for variable accommodation, and advanced seal inspection techniques using transparent overlay imaging. These and other approaches focus on practical validation methods that can be implemented in production environments while ensuring package performance and protection.
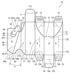
1. Packaging Container with Lid Featuring Gradually Tapered Cover Stopper and Recessed Contact Section
CP KASEI CO LTD, 2025
Packaging container design that reduces breakage risk and makes opening/closing easier. The container has a lid with a small opening area and a cover stopper that gradually decreases in size towards the edges. The container body has a recessed section below the lid contact point. This prevents lid damage when opened and makes contact easier. The container also has a protruding inner section and outer section that contact each other. This reduces force needed to open the container.
2. Gas Barrier Laminate with Polyolefin Base and Dual PVA Layers Enclosing Vapor Deposition Layer
TOPPAN HOLDINGS INC, 2025
Gas barrier laminate, packaging material, and vacuum insulation material that have excellent gas barrier properties even after folding. The laminate has a specific structure with layers: a polyolefin base layer, a first polyvinyl alcohol (PVA) layer, a vapor deposition layer, and a second PVA layer. The vapor deposition layer is between the two PVA layers. The indentation hardness of the second PVA layer is 0.5 GPa or less. This laminate design provides improved gas barrier performance compared to mono-material polyolefin laminates after folding, which is important for applications like foldable packaging and vacuum insulation.
3. Paperboard Packaging Box with Integrally Formed Internal Support Cavity and Curved Walls
LEE JOOMAN, 2024
A packaging box for protecting fragile items like lenses during shipping. The box has an internal support cavity that provides cushioning and prevents the item from moving around inside. The box bottom connects to the support piece at one end and the lid at the other end. This allows the item to be placed inside the support cavity, which has curved walls to match the shape of the item, preventing pressure damage from stacked items. The curved walls also provide dust protection. The box is made of integrally formed paperboard.
4. Package Inspection System Utilizing Transparent Overlay for Enhanced Imaging of Seal and Non-Seal Areas
KANEKA CORP, 2024
Inspecting packages with high accuracy by placing a transparent member on the package and imaging the sealed and non-sealed areas sandwiched between the package and transparent member. This prevents focus issues when inspecting the seal versus the contents. The transparent member overlaps both areas.
5. Laminated Film with Layered Copolymer Structure for High-Temperature Retort and Impact Resistance
DIC CORP, 2024
Laminated films for packaging materials that have excellent retort resistance at high temperatures and impact resistance at high temperatures for applications like retort sterilization. The films have a layered structure with a surface layer, an intermediate layer, and a heat-sealable layer. The surface layer contains a copolymer of ethylene and a monomer like ethyl acrylate or methyl acrylate. The intermediate layer contains a copolymer of ethylene and a monomer like ethyl acrylate, methyl acrylate, or maleic anhydride. The copolymers in the layers have specific compositions and Mw/Mn ratios for balanced retort resistance and impact strength. The layered film structure provides both good retort resistance at high temperatures and impact resistance at high temperatures.
6. Recyclable Retortable Film Comprising Mono-Polymer BOPP/MDOPP Laminate with Specialized Sealing Layer
AMCOR FLEXIBLES NORTH AMERICA INC, 2024
Retortable packaging film for food products that is recyclable and provides good sealing and tear properties for retort processing. The film uses a mono-polymer laminate of biaxially oriented polypropylene (BOPP) and machine direction oriented polypropylene (MDOPP) instead of multipolymer laminates. A sealing layer with specific polypropylene terpolymer and long-chain branched polyethylene composition provides sealing strength and low melt flow index for retort compatibility. The film has at least 80% polypropylene content.
7. Gas Barrier Laminate with Elastic Adhesive Layers and Polyolefin Composition
TOPPAN HOLDINGS INC, 2024
Gas barrier laminate and packaging bag that maintain good barrier properties after retort treatment. The laminate has a barrier layer with a substrate, barrier coat, and sealant/support layers bonded by adhesives. The first adhesive layer between the barrier and sealant has a measured modulus of elasticity after retort between 5-53 MPa. This allows the laminate to expand and contract during retorting without cracking the barrier coat. The second adhesive layer between the barrier and support also has a measured modulus between 5-53 MPa after retorting. This prevents barrier coat damage from expanding substrate and support layers. The laminate can have a mono-material construction with polyolefin films for substrate and sealant. The polyolefin content is 90% or more.
8. Nested Molded Fiber Trays with Density-Differentiated Cosmetic and Structural Components
GOOGLE LLC, 2024
Nested molded fiber trays for packaging products like electronics that have a lighter weight cosmetic tray to hold the product and a heavier structural tray that nests inside to provide additional support. The cosmetic tray has a higher density and thinner walls compared to the structural tray. This allows the product to be securely held in the cosmetic tray without needing complex folding and adhesion like traditional corrugated packaging. The nested trays provide better protection and merchandising of heavy products compared to just the lighter cosmetic tray.
9. Pouch with Pressure-Resistant Zipper and Recessed Steam Passage in Side Seals
TOPPAN HOLDINGS CO LTD, 2024
Pouch for sealing contents with a zipper that can maintain the closure at higher pressures. The pouch has a steam passage recessed into the side seals. When pressure increases inside the pouch, this recessed area peels apart first, preventing the zipper from opening prematurely due to deformation. The steam passage is positioned away from the zipper to prevent zipper deformation. This allows the zipper to stay closed longer as the pouch expands.
10. Multilayer Substrate with Stretched Polypropylene Core and Polar Resin Coating Layer
DAI NIPPON PRINTING CO LTD, 2024
Multilayer substrate for packaging materials with improved gas barrier properties and adhesion between layers. The substrate has a stretched polypropylene layer sandwiched between an outer layer and an inner coating layer. The coating layer contains a resin with polar groups to improve adhesion of subsequent layers like vapor deposited films. This prevents delamination and improves gas barrier performance compared to polypropylene-only substrates. The multilayer substrate can be used in packaging applications and the packaging material is made by laminating the substrate with additional layers like vapor deposited films and sealant layers.
11. Crystalline Thermoplastic Medical Packaging with Multilayer Spherulitic Structure
NEILL RYAN, 2024
Clear, rigid medical packaging that can be sterilized by autoclave steam without warping or shrinking. The packaging is made by extruding a crystalline thermoplastic like PET, then partially stretching the film, heating it, and thermoforming it into the final shape. This process limits crystal growth to small spherulites rather than large crystals that cause warpage. The film is then sealed around the device and steam sterilized. The spherulitic crystals provide clarity and strength, but the restricted crystal growth prevents warping during sterilization. The packaging can be made by coextruding layers of different thicknesses that are split and stacked by multiplier units to form the final multilayer structure.
12. Packaging System with Tear Strip Clamping Mechanism, Conforming Collar Assembly, and Molded Non-Developable Paper Film
APPLE INC, 2024
Retail packaging solutions that address issues with securing movable product components, protecting complex curved surfaces, and maintaining product positioning during shipping. These solutions include: 1. Removable tear strip between lid and base box that clamps product inside when engaged, leaving a desirable remnant when torn. 2. Collar system for products with movable parts that provides support without constraining motion. The collars conform to the product's shape and connect with interlocking arms to form a closed loop. 3. Non-developable paper protective film for curved surfaces made by molding the paper to match the shape. The film has adhesive on both sides and a central paper layer.
13. Packaging Structure with Constrained Tubular Ends Using Internal and External Fixed Elements
AISAPACK HOLDING SA, 2024
Packaging with improved stackability and resistance to bursting and top load forces for products like tubes, bottles, cans, and cartridges made from materials with low cohesion like cellulose. The improvement is achieved by confining the end of the tubular body between fixed elements on the inside and outside. This assembly technique prevents the low cohesion material from separating during stacking or internal pressure, improving stackability and burst resistance. The fixed elements can have low cohesion materials like cellulose too.
14. Corrugated Cardboard Prism Packaging with Elliptical Base and Integrated Shock Absorption
GRIFAL S P A, 2024
A transport packaging that provides high shock absorption without additional cushioning elements. The packaging is made from corrugated cardboard and has a prism shape with an elliptical base. The item being shipped is wedged between the corrugations and has space to deform the walls in case of impacts. The packaging is produced on a customized line with measuring, creasing, cutting, and folding stations. The line calculates and generates the optimized prism shape for each item. This allows the packaging to conform to the item and absorb shocks without added cushions.
15. Packaging Box with Rotating Flaps and Plate for Shock Absorption and Material Efficiency
KIM SEUNG GYUN, 2024
Shock-absorbing packaging box that protects products from impact without using excessive materials or generating pollution. The box has flaps that cross over and can rotate up and down. A rotating plate between the flaps presses the product. Connected packaging members tauten as flaps rotate to push the product. This prevents internal movement and cushions impact. A support member connects the plate to flaps. Folding connectors allow easy boxing. The flaps rotate on slopes, avoiding rigid plates. This absorbs shock while spacing the product and preventing transmission. The rotating flaps and plate minimize material use compared to fixed boxes.
16. Composite Packaging Bag with Convex Buffer Structure and Multi-layered Insulating Foam
DONGGUAN TAIHONG PACKAGING CO LTD, 2024
Thermally insulated, waterproof, and high-strength packaging bag that provides improved protection for goods while reducing wrinkling and damage. The bag uses a composite structure with outer and inner paper layers sandwiched between insulating foam layers. Elastic adhesive is used to bond the layers. The outer layer has a convex buffer structure that disperses pressure. The insulating foam has a gradient height convex structure to prevent wrinkling. The adhesive is a polyurethane emulsion with thickener, wetting agent, and silane coupling agent for strength and elasticity.
17. Multilayer Flexible Packaging Film with Biaxially Oriented Polyamide Cap and Blown Polyethylene Seal Layers
SIG SERVICES AG, 2024
Flexible packaging film that provides robustness for bag-in-box and spouted pouches while allowing recyclability. The film has three layers: a biaxially oriented polyamide cap layer, a core layer, and a blown polyethylene seal layer with a compatibilizer. This combination provides strength for packaging rigors while having recyclable components. The polyamide cap and polyethylene seal can be recycled separately.
18. Packaging Structure with Outward-Folding Separator Sheet Flaps and Base Sheet
MABUCHI MOTOR CO LTD, 2024
Packaging structure for parts that improves workability and reduces costs compared to traditional vertical partition and tray insertion methods. The packaging structure has a base sheet and a separator sheet with multiple flaps that fold outwards. The parts are placed on the base sheet and the separator sheet is folded around them. This creates separate compartments without the need for engaging cuts or pre-formed openings. The folded flaps protect the parts and prevent them from moving during shipping. The design allows packing of mixed part types without separate trays, reduces material usage compared to vertical partitions, and simplifies packing compared to interlocking cuts.
19. Packaging Container with Foldable Side Panels and Centrally Aligned Locking Mechanism
RENGO CO LTD, 2024
Packaging container design that prevents detachment of locking pieces between the side walls. The container has foldable side panels that lock together. The locking pieces engage with fixed edges on the inner panels when they fold back. The locking pieces are folded inward on the outer panels. The locking fold lines are shifted slightly towards the center of the inner panels compared to the outer fold lines. This alignment prevents misalignment when pasting the panels together. The locking pieces engage with fixed edges on the inner panels when they fold back, securing the side walls.
20. Vacuum Chamber with Deformation Sensors for Non-Invasive Airtightness Assessment of Fragile Packaged Products
MORGADE FRANCISCO MANUEL, 2024
Vacuum chamber for assessing the airtightness of packaged products like food items that cannot be tested by applying external pressure due to fragility concerns. The chamber uses sensors to detect deformation of the packaged product inside as vacuum is applied to assess seal integrity. This allows automated, high-speed testing of production lines compared to manual visual inspection. Sensors like cameras, distance sensors, and load cells measure product deformation as vacuum is applied to reveal leaks.
21. Composite Support Element with Cellulosic Base and Reinforcing Paper and Metal Layers
K, 2024
A composite support element for packaging heavy products like white goods that provides durability during transportation and stacking. The support element has a base made from cellulosic materials like urea formaldehyde, melamine formaldehyde, or melamine urea formaldehyde glues. This base is covered by layers of paper. An additional layer of metal can be added between the base and paper layers or outside them to further reinforce the support element.
22. Packaging Box with Lid Featuring Interlocking Notched End Flaps and Overlapping Side Flaps
OJI HOLDINGS CO LTD, 2024
Packaging box with a lid that simplifies assembly and improves strength. The lid has overlapping flaps around the opening. The end flaps insert into a connecting opening formed by the side flaps. The end flaps have notches that engage with recesses in the side flaps. This prevents the end flaps from slipping out. The overlapping flaps securely close the opening and reinforce the lid. The notched end flaps allow easier insertion compared to a fully blocked opening.
23. Cardboard Packaging with Interlocking Panels Incorporating Overlapping Teeth, Tabs, and Slots
WESTROCK PACKAGING SYSTEM LLC, 2024
Improved cardboard packaging with interlocking panels to make boxes that are easier to assemble, stronger, and provide better product protection. The interlocking panels have features like overlapping teeth, tabs, or slots that lock together when forming the box. This eliminates the need for adhesive or tape to secure the panels, reducing cost and environmental impact. The interlocking panels also provide structural reinforcement and better resistance to crushing compared to plain cardboard boxes. The interlocking panels can have various configurations for different products and applications.
24. Tubular Paper-Based Packaging Unit with Oxygen and Moisture Barrier Layers
NESTLE SA, 2024
A packaging unit with oxygen and moisture barrier properties for long-term storage of food products without compromising the product quality. The packaging unit has a tubular shape with a removable closure. The packaging body and closure are made of paper with high cellulose content and barrier layers against oxygen and moisture. This provides a sustainable and compostable packaging option with extended shelf life for sensitive foods. The paper-based construction reduces environmental impact compared to plastic, while the barrier layers prevent oxidation and moisture absorption. The tubular shape provides shock absorption.
25. Ultrasonic Module Packaging with Ceramic Substrates and Flexible Circuit Board Integration
SONICMEMS TECHNOLOGY CO LTD, 2024
Packaging structure for ultrasonic modules to improve stability and reliability of close range sensing. The packaging involves using ceramic substrates sandwiched between a flexible circuit board to isolate the ultrasonic elements from the circuit board vibrations. The ultrasonic transmitting and receiving elements are mounted on separate ceramic substrates which are electrically connected to the flexible circuit board. This isolates the ultrasonic elements from the flexible circuit board vibrations and improves stability and reliability of close range sensing.
26. Storage Base with Arc-Shaped Guide Edge for Residue-Free Sealing Film Removal
YUNG SHENG OPTICAL CO LTD, 2024
A storage base and packaging box design that enables easy and clean removal of the sealing film without leaving residue or damaging the contents. The storage base has a sealing part around the opening that fits with the sealing film. The sealing part has an arc-shaped guide edge connecting the fitting surface. This edge has a minimum radius of 0.15 mm. This design allows the sealing film to tear off cleanly from the base. The arc-shaped guide edge provides a defined path for the film to follow during removal, preventing it from sticking or separating.
27. Folded Parallelepiped Bottle Packaging with Inwardly Bent Edges and Integrated Upper and Lower Holders
GODCHEV SERGEI VLADIMIROVICH, GODCHEV SERGEY VLADIMIROVICH, 2024
A packaging design for bottles that improves strength and prevents collisions between bottles inside. The packaging has a folded parallelepiped shape with inwardly bent side edges forming a rectangular bottom. Upper and lower bottle holders are added to prevent bottle-to-bottle contact. The lower holder attaches to the bottom flaps and the upper holder attaches to the top flaps. This provides separate compartments for each bottle inside the packaging.
28. Cosmetic Container with Dual-Part Closure and Sealing Element for Controlled Dispensing
FINETODAY CO LTD, 2024
Containers for cosmetics that provide a secure seal to prevent leakage while also allowing easy dispensing of the product. The container has a base, a neck, and a closure. The closure has a first part that is fixed to the neck and a second part that is moveable between an open position and a closed position. The second part has a sealing element that contacts the base when the second part is in the closed position to seal the container. The container also has a dispensing aperture in the base. When the second part is in the open position, the dispensing aperture is aligned with the neck to allow product to be dispensed through the aperture. The container can further have an actuator on the second part that is operable to move the second part between the open and closed positions. The actuator can be a button, a slide, a twist, or a push-pull mechanism. The
29. Dual-Function Pouch Packaging Device with Integrated Liquid and Powder Handling Mechanism
SEONG BUPACK CO LTD, 2024
A liquid and powder pouch packaging device that enables rapid and automated packaging of both liquids and powders in pouches without needing separate machines for each. The device has a main frame with upper and lower spaces. A storage hopper above the upper space holds the liquid or powder. Below the upper space are two pouch loading boxes. The lower space has a moving part that moves pouches along a closed curve path using transfer jigs. The upper space has symmetrically arranged packaging units with content supply units. This allows simultaneous packaging of liquids and powders as the moving part transports pouches between loading and packaging.
30. Packaging Box with Internal Partition Featuring Tapered Narrowing Section and Upper Abutment
KANNAL PRINTING CO LTD, 2024
Packaging box with internal partition to prevent shifting of contents and prevent items from falling out. The partition has a narrowing section that tapers from bottom to top to prevent items from sliding out. An upper abutment section stops items from moving upward. This allows using the upper space as a buffer without needing extra components like flaps. The narrowing section prevents items from falling out when inserted from the bottom.
31. Packaging Container with Buffer Body for Vertical Vibration Isolation
MELODIAN CO LTD, 2024
Packaging container for frozen cakes that reduces the risk of damage during transportation by preventing the cake from contacting the lid when subjected to vertical vibrations. The container has a buffer body placed between the cake and the lid. This raises the overall height of the cake inside the container to prevent it from coming into contact with the lid during vertical vibrations.
32. Packaging Container with Cohesively Connected Plastic Inner Support Structure and Surface Element
PACCOR PACKAGING GMBH, 2024
A packaging container for food with an outer part made of paper/cardboard and an inner part made of plastic. The inner part has a support structure and a surface element that are cohesively connected. This provides a strong and durable inner part that can hold food, while the outer part provides the primary structure and protection. The cohesively connected inner part allows for design flexibility and weight reduction compared to fully thermoformed containers.
33. Flexible Packaging Bag with Ribbed Upper Structure and Transverse Cuts for Enhanced Reclosure Sealing
Limited Liability Company GOTEK-Polypak Pereslavl, LIMITED LIABILITY COMPANY GOTEK-POLIPAK PERESLAVL, 2024
Flexible packaging bag design with improved sealing properties for repeat closure. The bag has a unique construction with ribs at the top that straighten the upper part and provide rigidity. The ribs prevent easy tearing when attempting to open the bag in the zipper area. To enable manual opening, transverse cuts are made on the ribs in the path of the zipper laser notch line. These dissection cuts weaken the ribs and allow the user to pull the tear through them when separating the top section containing the zipper. This allows the bag to be reclosed multiple times without degrading the seal integrity.
34. Rectangular Container with Downward Bent Flange and Vertical Stiffening Ribs
NENASHEV SERGEY SERGEEVICH, Nenashev Sergey Sergeevich, 2024
A container for packaging hot filled foods that improves sealing, stackability, and appearance compared to prior art containers. The container has a rectangular shape with a horizontal flange on the top. The outer part of the flange is bent downwards. Vertical stiffening ribs are located on the side surface of the container, one on each long side. The lid has a protruding flange and welt. This design provides better sealing when closing the container, prevents sink marks on the inside, reduces complexity, and securely connects the lid.
35. Double Closure Paper Pouch with Parallel Reinforceable Adhesive Strips and Tearable Tabs
AEROPLAST PACKAGING SOLUTION PRIVATE LTD, 2024
A sustainable double closure paper pouch for packaging items in a robust and commercially practical way with parallel reinforcable sticky strips for back-to-back sealing of the mouth to provide tamper evidence, spillage prevention, and robustness while being environmentally responsible. The pouch has parallel sticky strips running along the top of the front and back walls that are covered by tearable paper tabs. Severing the tabs allows the strips to adhere together to seal the pouch back-to-back. This creates a thick single wall without folds for sealing and closure. The reinforced strips provide secure sealing and spillage prevention, the tearable tabs enable easy opening, and the back-to-back sealing provides tamper evidence. The pouch can be made from eco-friendly materials like uncoated recyclable paper.
36. Foldable One-Piece Paper Packaging Structure with Integrated Inner and Outer Box Configuration and Supportive Folding Panels
STL TECHNOLOGY CO LTD, 2023
One-piece paper packaging structure that replaces foam cushioning in electronic device shipping boxes. The structure is a foldable paper box that provides protection without foam. It has an outer box and inner box connected by folding panels. The outer box has a bottom plate, side panels, and support plates that form a bendable box. The inner box has a bottom plate, side panels, and support plates connected by folding panels. The inner box folds into the outer box to create a sealed container. An outer cover seals the opening. The folding panels create gaps in the inner box to prevent crushing. The outer box support plates clamp onto the inner box to secure it.
37. Packaging Box with Reinforced Corners, Thickened Bottom Panels, and Shock-Absorbing Inserts
LIU CHENG-HSIN, 2023
A packaging box for containing products that provides improved protection during shipping and handling. The box has features like reinforced corners, thicker bottom panels, and shock-absorbing inserts to prevent damage to the contained products. The reinforced corners provide strength and durability where the box is most susceptible to impact. The thicker bottom panels provide additional protection against compression forces. The shock-absorbing inserts are placed inside the box to cushion the products during transport. These design elements work together to provide enhanced product protection during shipping and handling compared to standard packaging boxes.
38. Self-Assembling Egg Packaging Lid with Die-Cut Holes, Bent Stops, and Tongue Features
KOSTROVA OKSANA ALEKSANDROVNA, KOSTROVA OKSANA ALEKSANDROVNA, 2023
A self-assembling lid for packaging eggs that provides increased strength, stability, and rigidity compared to existing lids. The lid has a unique shape with die-cut holes and bent stops on the bottom, and quadrangular and trapezoidal tongues on the edges. This allows the lid to automatically assemble onto the tuberous base without manual assembly, while also providing reinforced areas in the center and corners to prevent deformation and breakage when loaded.
39. Packaging Bag with Integrated External Cushion Buffer System and Stand Feature
LING TUNG UNIVERSITY, 2023
A packaging bag with an integrated buffer system to protect fragile items during transportation and storage without needing separate padding materials. The bag has a main body to contain the items and a separate buffer section with multiple cushions on the outside. This provides impact protection, shock absorption, and fixation for the packed items. The bag can also have a stand feature for stable stacking.
40. Single-Piece Foldable Double-Layered Hexagonal Packaging Box with Interlocking Walls
VANUNG UNIV, 2023
Double-layered hexagonal packaging box that can be formed from a single piece of material without any adhesives or fasteners. The box has a hexagonal bottom plate with connecting walls extending from it. The walls fold over to create an opening in the box. The second layer of the box is identical to the first layer. When assembled, the two layers nest inside each other. This allows the box to be collapsed flat for shipping and storage, and then expanded into a 3D shape when needed.
41. Collapsible Bottle Packaging Box with Integrated Expandable Plate Structure
UNIV LING TUNG, 2023
Expandable bottle packaging box that can be compressed for transportation and expanded to form a rigid packaging structure around bottles. The box has an outer foldable box body with panels that can be collapsed for shipping. Inside the body, a fixed structure holds the bottles. It has an upper plate on the front panel and a lower structure with plates that fold inside the box. The upper and lower plates have holes for the bottles. When expanded, the box surrounds the bottles fixed by the plates. This allows compact storage and transportation versus a fixed box.
42. Two-Piece Heat-Sealable Packaging with Flanged Planar Plates and Interior Plastic Coating
SOLIDUS SOLUTIONS VIDECART S A, 2023
Heat-sealable packaging with a simple and economical form that allows easy production of containers with high side walls and rectangular shapes. The packaging has a body formed from two pieces, a first planar plate with a first flange, and an additional planar plate with a matching perimeter. This allows the packaging to be made in a single step without folding or thermoforming flaps. The first flange of the first plate limits the perimeter of the additional plate. A plastic coating film is applied inside the packaging to make it heat-sealable.
43. Modular Packaging Structure with Pulp Molded Corner and Side Guards for Display Devices
TES TOUCH EMBEDDED SOLUTIONS CO LTD, 2023
A modular packaging structure for display devices that provides high protection, meets environmental regulations, and allows customization for different device sizes. The packaging uses modular corner and side guards made by pulp molding. The corner guards protect the device corners and fold together to create a corner receiving groove. Multiple corner guards can cover all device corners. The side guards protect the sides and have a side receiving groove. The modular guards can be shared between devices of similar size. This allows customizing the number and orientation of guards for different devices. The pulp molded guards are recyclable and meet environmental standards.
Get Full Report
Access our comprehensive collection of 43 documents related to this technology
