Foam Molding for Protective Package Structures
Protective packaging foam must balance impact absorption, material efficiency, and production costs while meeting strict shipping requirements. Current methods achieve compression strengths of 15-45 psi and energy absorption up to 80% at densities between 1.5-3.0 pcf, but often require excessive material use or complex manufacturing steps.
The core challenge lies in developing foam molding processes that can create optimized internal structures while maintaining high-volume production speeds and cost-effectiveness.
This page brings together solutions from recent research—including multi-layered foam structures with integrated reinforcements, vacuum-suspended foam body techniques, and dual blowing agent expansion methods. These and other approaches focus on creating protective structures that maximize impact absorption while minimizing material usage and manufacturing complexity.
1. Composite Foam Injection Molding with Integrated 3D-Printed Reinforcement Structures
COMTECH CHEMICAL CO LTD, 2024
Composite foam injection molding with internal reinforcement structures. The process involves 3D printing reinforcing structures, attaching them to mold parts, forming a hollow space, injecting foamed resin, removing the molds, and optionally vacuuming and exhausting the mold cavities. The 3D printed reinforcement provides internal structure to the molded foam. The foaming process surrounds the reinforcement with foam. This provides a composite foam part with internal reinforcement.
2. Method for Fabricating Molded Fiber Products Using Multi-Layered Foam Structure with Hot Pressing and Internal Sizing Agents
METSÄ SPRING OY, 2024
A method for making moulded fiber products like food packaging with improved properties by foam forming followed by hot pressing. The method involves creating a multi-layered foam structure from fiber, water, air, and foaming agents in a mold. Dewatering removes excess water, then hot pressing compresses and consolidates the foam into the final product. Using foaming agents like surfactants and polymers allows forming thick, uniform, and smooth fiber structures. This improves barrier properties and reduces roughness compared to water forming. Internal sizing agents can also be added to the foam to further enhance barrier performance.
3. Manufacturing Method for Foam Core Laminate with Compression-Molded Skin Layers
PRIME POLYMER CO LTD, 2024
Method for manufacturing a laminate with a foam core and skin layers that provides the lightness and rigidity of injection foam molded products along with cushioning, tactile sensation, and appearance. The laminate is made by molding a thin skin layer, expanding a foam core between the skin layers, compressing the foam, and releasing it to form a laminate with foam layers sandwiched by solid skin layers. The key steps involve forming a cavity, injecting foam composition, expanding the foam, compressing it, and releasing to shape the laminate.
4. Device and Method for Recyclable Express Packaging with Multi-Layer Structure and Quick-Setting Foam
CHINA THREE GORGES UNIVERSITY, 2024
A device and method for making recyclable adaptive express packaging that provides customized, protective packaging for irregularly shaped goods that can be easily shipped and reused. The packaging has an inner isolation layer, a middle quick-setting foam layer, and an outer mold layer. The isolation layer separates the goods from the foam, the mold shapes the foam, and supports the goods. The packaging is made by inserting goods into the isolation bag, injecting foam into the mold around the goods, and letting it set. The foam molds around the goods to provide customized protection. After shipping, the foam can be recycled and reused for future packages. The molded foam provides better compression and fall resistance than traditional packing methods.
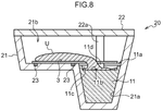
5. Method for Manufacturing Composite Foam Molded Articles Using Vacuum-Suspended Foam Bodies
JSP ADVANCED MATERIALS CO LTD, 2024
Manufacturing method for composite foam molded articles with complex shapes containing different foam materials. The method involves suspending a first foam molded body in the mold using vacuum adsorption, then closing the mold and filling it with second foam particles. The first foam body remains suspended during molding. This allows precise placement of the first foam body without vacuum suction during molding. The first and second foams integrate into a composite part with customizable properties.
6. Method for Forming Multi-Layer Molded Fiber Products Using Foam-Based Variable Mold Spacing and Side Channel Feeding
METSAE SPRING OY, 2023
Method of forming molded fiber products with multiple layers that is faster and more versatile than existing methods. The key features are using foam as the forming material, variable mold spacing, and side channels to feed the foam between the molds. This allows multiple layers to be formed in one cycle instead of separate forming and pressing steps. The foam is made from fibers, water, air, and foaming chemicals. The foam properties can be adjusted. The product layers can be combined and pressed further to form the final product.
7. Automated Manufacturing Process for Shaping Foamed Polyethylene Containers Using Heated Molds and Hot Melt Adhesive
Luo Song, SONG LUO, 2023
A manufacturing process for packaging containers made of foamed polyethylene that provides a more efficient and automated method for shaping the containers with spherical shapes. The process involves using heated molds, ovens, and hot melt adhesive to shape the foam and protective layer materials into the containers. This allows creating complex shapes like spheres without cutting or sewing. The process also enables recycling scraps and reduces labor compared to traditional shaping methods.
8. Foam Molding Process with Gas Injection for Controlled Exposure of Embedded Features
ARKHEM CO LTD, 2023
Manufacturing foam-molded parts with exposed embedded features using a molding process that allows easy control of the exposed dimensions. The process involves placing the buried part in the mold cavity, foaming the material around it, and injecting gas into the clearance space between the buried part and mold walls. The gas injection time is adjusted based on the buried part height to prevent foaming in that area. This allows the foam to grow around the buried part but not fill the clearance, exposing it in the finished foam part.
9. Molded Article with Encapsulating Foam Member and Core, and Method of Foam Injection Molding with Removable Core Support
OTRAJET INC, 2023
Molded articles with a foam member encapsulating a core, and a manufacturing method for them. The molded article has a foam member made of polymeric material surrounding the entire core, including its surfaces and sides. This provides complete enclosure and insulation of the core. The manufacturing method involves molding the foam around the core by injecting material into a mold with a support member for the core, then foaming it in place. The support member can be shrunk or removed after injection.
10. Stacked Foam Sheet Packaging Material with Water-Based Fiber Deposition and Reduced Resource Molding Process
CHINA HAISUM ENGINEERING CO LTD, 2023
Green packaging material made from stacked foam sheets that provides cushioning and shock absorption without the environmental issues of traditional foam plastics. The green packaging material is formed by stacking foam sheets made using a molding process. The foam sheets are created by dispersing fiber in water-based foam and depositing it onto a net part. The foam sheets are then stacked to create the green packaging material. The molding process reduces water and energy consumption compared to traditional wet or dry forming methods. The green packaging material has thicknesses of 10-100mm and withstands pressures of 0.5-5 bar.
11. Packaging Container with PET Foam Molded Body and Cover Film Featuring Low Surface Roughness and Enhanced Adhesion
HUVIS CORP, HUVIS Corporation, 2022
Packaging container with improved adhesion between the molded body and cover film. The container has a foam molded body made from polyethylene terephthalate (PET) foam with an average cell size of 100-500 μm. This dense foam has low surface roughness, allowing better adhesion between the foam and the cover film. The adhesion force between the molded body and cover film is 500-1500 gf. The low roughness foam and optimized adhesion provide improved airtightness and sealing properties. The PET foam also has good heat insulation and is environmentally friendly.
12. Method for Manufacturing Two-Color Foam Molded Products Using Core Back Technique with Supercritical Fluid-Infused Resin
BANDO CHEMICAL IND, 2022
A method to manufacture two-color foam molded products with improved strength and adhesion between the primary and secondary foam molded parts. The method involves continuously molding the primary and secondary parts using a core back technique with molten resin containing supercritical fluid. In the core back step, expanding the mold volume before solidification allows the foam to expand, improving adhesion between layers and between the primary and secondary parts. This prevents peeling. The steps include filling the mold with foam resin, expanding the mold volume before solidification, then filling the mold with the second foam resin and expanding again.
13. Molded Container and Cap with Dual-Layer Structure Comprising Foamed Core and Dense Outer Layer
TOPPAN PRINTING CO LTD, 2022
Container member and cap with reduced weight and improved appearance by foaming during molding. The container and cap are made by injecting a molten resin containing a supercritical fluid into a mold, foaming it, then injecting a second molten resin to form a dense layer on the foam. The foam layer with voids derived from the supercritical fluid is hidden beneath the dense layer. This prevents sink marks and foaming marks on the foam surface. The dense layer provides a smooth outer surface while the foam interior reduces weight. The foam and dense layers can be made from similar resins for easy recycling.
14. Method for Manufacturing Foam-Molded Products with Mold-Adhered Reinforcing Fiber Layers
HONDA MOTOR INDUSTRY STOCK CO, 2022
Efficiently manufacturing foam-molded products like car seat cushions with reinforced layers that won't fall off or delaminate. The method involves adhering reinforcing fibers to the mold cavity surface, covering them with a material, compressing the fibers between the cover and cavity, then molding the foam. This improves fiber attachment and uniformity compared to directly molding the foam with fibers.
15. Composite Container with Paper-Based Laminate Upper and Thermoplastic Resin Lower Integration
NISSIN FOODS HOLDINGS CO LTD, 2021
Composite molded container that combines the water leakage resistance of a paper-based laminate with the heat resistance of a thermoplastic resin. The container has an upper part made of a paper-based laminate with a foam layer, and a lower part made of thermoplastic resin. The laminate and resin are integrated at the join. The laminate foams to provide insulation, while the resin provides strength and heat resistance. This allows containers with both water leakage and heat resistance properties. The laminate is formed by coating paper with foamed polyethylene, then heat welding the ends. The resin part is injection molded.
16. Manufacturing Method for Thermal Insulation Foam Packaging Boxes Using Specialized Molding Machine with Movable Plate and Stripper Mechanism
LIANG XINGSHENG, 2021
Method for manufacturing and molding thermal insulation foam packaging boxes that improves efficiency and yield by using a specialized molding machine. The machine has a fixed frame, movable plate, and stripper. The mold has a through hole, injection device, and slots. The movable plate inserts into the mold, foam is injected, then the plate lowers to demold the box. A pressure block expands to clamp the foam. The stripper removes demolded boxes. This allows rapid automated demolding compared to manual demolding.
17. Polymer Foam Material with Core Receding Microcellular Injection Molding and Filler-Induced Viscoelasticity Modification
Hefei Huaju Microtechnology New Materials Co., Ltd., HEFEI HUAJU WEIKE NEW MATERIAL CO LTD, 2021
Low-density, high-foaming ratio polymer foam material and a preparation method using core receding microcellular injection molding. The method involves modifying the polymer with fillers to change its viscoelasticity and allow dense, fine cells. High-pressure full injection fills the mold completely without pre-foaming. Holding pressure prevents foaming during cooling. This allows low-density, high-expansion foam with uniform bubbles compared to traditional short injection molding.
18. Preparation of Cushioning Packaging Material Utilizing Bamboo Fiber with Micro-Air Ultrasonic Treated Bamboo Leachate and Foam Molding Process
JIANGXI ZHONGZHU BIOMASS TECHNOLOGY CO LTD, 2021
Method for preparing cushioning packaging material using bamboo fiber that involves extracting bamboo leachate, foaming the bamboo pulp with adhesive, foaming agent, plasticizer, etc., molding the foam, and coating it with flame retardant and styrene-acrylic emulsion. The bamboo leachate is extracted by micro-air ultrasonic combined treatment of steamed bamboo chips.
19. Method for Molding Foam Plastic Packaging Boxes Using a Machine with Interchangeable Mold System and Rectangular Coil Spring Stabilization
NANJING SAIYIDA AUTOMATION TECHNOLOGY CO LTD, 2021
A method for molding environmentally friendly foam plastic packaging boxes using a specialized machine that enables making customized boxes with different thicknesses and shapes. The machine has a platform, actuator, and bottom plate. The method involves pressing the upper end of the lower mold frame against the platform using a rectangular coil spring abutment plate. This stabilizes the foam during extrusion molding. After molding, the spring prevents the box from sticking to the pressure block, preventing it from falling when lifted. The machine enables customized box sizes and shapes by allowing replacement of molds based on thickness.
20. Mold for Thermal Insulation Foam Packaging Boxes with Dual Mold Arrangement and Air-Assisted Demolding System
XIE FU YU, 2021
Mold for forming thermal insulation foam plastic packaging boxes that improves efficiency by allowing quicker demolding and blanking. The mold has a workbench with molds above and below, a fixing device, and a compressed air system. After molding, air pressure differentials expand the airbag below the mold to push up the box. For demolding. The upper mold can move to release the box. For blanking, a movable clamping frame allows the box to drop after mold removal. This prevents box sticking and improves blanking speed.
21. Method for Manufacturing Foam Packaging Using Foaming Molding Process with Low Energy Consumption
ХЮХТАМАКИ МОЛДЕД ФАЙБЕР ТЕКНОЛОДЖИ Б.В, KHYUKHTAMAKI MOLDED FAJBER TEKNOLODZHI BV, 2021
A method for manufacturing foam packaging using a foaming molding process that reduces energy consumption compared to conventional methods. The steps are: preparing foamable molding pulp with fibrous material and a foaming agent, molding the foam pulp into packaging shapes, and drying the molded foam. The foaming agent creates low-density foam with high solids content. The short foam half-life and low moisture content reduce drying energy needs. The foam packaging can be made from recycled paper fibers or natural biomass like plant waste.
22. Pressure Packaging with Stretch Blow Molded Inner Container and In-Situ Formed Foam Layer
RESILUX NV, 2021
Lightweight, drop-resistant, impact-resistant pressure packaging with improved strength and stiffness, and reduced environmental impact compared to traditional packaging. The packaging has a stretch blow molded inner container enclosed by a foam layer formed in place. An outer layer holds the foam and container together. The foam layer provides impact and drop protection while the stretch blow molded container provides strength and stiffness. The foam layer also reduces weight compared to a fully molded foam container.
23. Foldable Packaging Box with Cross-Linked Rubber-Plastic Composite Foam Structure
CIXIAN BAODAO PLASTIC SHOES CO LTD, 2020
Foldable, thermally insulated packaging box made of a rubber-plastic composite foam. The foam is cross-linked to provide rigidity and prevent deformation when folded. The foam composition is optimized to balance insulation performance, foldability, and environmental friendliness. The box can be easily folded for transportation and storage, unlike rigid foam boxes. It provides better insulation compared to fabrics. The foldable design reduces transportation costs and waste compared to rigid foam boxes. The cross-linked foam allows recycling and environmental benefits. The foldable box can be made using injection molding with specific weight ratios for the rubber and plastic components.
24. Two-Step Molded Foam Product with Integrated Rigid Insert and Soft Outer Surface
NISSHA CO LTD, 2020
A foam molded product with a soft, flexible outer surface and a rigid insert like a display or sensor. The product is made by injecting foam around the insert and molding it in two steps. First, the insert and surface material are attached to one mold half. The other half is closed and foam is injected to surround the insert. The molds open and the foam product is removed. This prevents crushing the insert during foam molding. The surface material can be added later to avoid compressing it during molding. The foam product has a soft outer surface with the insert fully integrated.
25. Foamed Cellulosic Fiber Material with Compressed Structure and Enhanced Delamination Resistance
TETRA LAVAL HOLDINGS & FINANCE SA, 2020
A low-cost, lightweight, and high-performance foamed cellulosic fiber material for packaging applications that has improved properties like resistance to delamination compared to conventional materials. The material is made by foaming cellulosic fibers like thick CTMP using surfactants like sodium dodecyl sulfate. The foamed fiber composition is then compressed to form the material. This reduces fiber content compared to conventional packaging materials while maintaining properties like density, absorption, strength, compression, and delamination resistance.
26. Bamboo Fiber Foamed Cushioning Material with Gradient Density Profile
ZHEJIANG GREAT SHENGDA PACKING CO LTD, 2020
Preparing a bamboo fiber gradient density foamed cushioning packaging material that has lighter weight and better properties compared to uniform density foam. The method involves using a specific range of components and weight ratios to create bamboo fiber foam with a density gradient across the thickness. This gradient density foam has better performance and weight savings compared to uniform density foam. The components are bamboo fiber, starch, ammonium bicarbonate, glycerol, and water. The weight ratios are adjusted within the given ranges to achieve the gradient density.
27. Mold for Forming Foldable Containers with Two-Stage Compression and Reinforced Pivot Point
ICII HOLDINGS PTIWAY LTD, 2019
A mold for making foldable containers from expandable materials like foam that allows creating a reinforced pivot point for improved strength and durability compared to traditional folding boxes. The mold has a two-stage compression process. In stage 1, the expandable material is molded to form the overall reversal unit. In stage 2, a hollow striker compresses the reversal unit further to create a reinforced pivot point. The striker can be heated/cooled independently to control temperature. The mold isolates the compressed region to prevent damage. This improves strength and prevents breaking at the pivot points compared to traditional folding boxes that have weaker areas.
28. Method for Molding Foam Core Panels with Pre-Attached Mold Inserts and Controlled Foam Spread
KYORAKU CO LTD, 2019
Manufacturing method for a structure like a panel that involves molding a foam core surrounded by resin sheets. The method aims to prevent defects like crevices and foaming beads between the core and mold inserts. To achieve this, the mold inserts are attached to the mold before foam filling. This prevents foam invading between the core and inserts during molding. The inserts also have thin sides to restrict foam spreading. Additionally, the mold inserts are held together after molding to control core deformation. This prevents crevices forming between the core and inserts. By preventing foam and crevice defects, it improves the strength and quality of the core and panel.
29. Foam Molding Process for EPS Packaging with Pre-Foaming and Fluidization Drying
JIANGXI WEILI TECHNOLOGY CO LTD, 2019
A foam molding process for EPS packaging that improves product appearance, reduces collapsing, and eliminates the need for steam plugs and water demolding. The process involves pre-foaming the material with controlled weights, followed by fluidization drying. The pre-foaming step involves weighing the material, preheating, foaming, decompressing, and discharging. This pre-foaming removes air pockets and threshing that cause issues like steam plug eyes and particle drop during molding. The fluidization drying step uses a heated bed to remove moisture without impact from water spray. This prevents collapsing and improves flatness compared to water demolding.
30. Fiber-Reinforced Foam Injection Molding with In-Situ Fiber Embedding and Gas-Polymer Resin Mixture
BAYERISCHE MOTOREN WERKE AG, 2019
Cost-effective production of lightweight, strong and rigid fiber-reinforced foam injection molded parts using a modified injection molding process. The method involves injecting a mixture of polymer resin and gas into the mold, followed by inserting reinforcement fibers into the molded part while it's still in the semi-cured state. This allows the fibers to be embedded in the foam, rather than having to be mixed in initially. This results in improved mechanical properties compared to traditional fiber-reinforced foam injection molding, without the need for extra steps or equipment.
31. Foam Encapsulation Packaging System with Movable Injector Arrays
AMAZON TECHNOLOGIES INC, 2019
Packaging system that eliminates the need for cardboard boxes and filler materials by encasing items in settable foam. The system uses arrays of foam injectors that can move and surround the item. Foam is then injected into the molded space to encase the item in foam packaging that is resistant to vibration and collision damage.
32. Foam-Formed Low-Density Cellulosic Fiber Material with Modified Glycol Cellulose
TETRA LAVAL HOLDINGS & FINANCE SA, 2019
Low-density cellulosic fiber material formed by foam that can be used as a main body layer in packaging materials like cartons. The foam formation involves adding cellulose fibers to an aqueous foam containing a foaming agent, reducing water content, and optionally drying. The cellulose fibers contain modified glycol cellulose. This process creates a low-density foam with high body thickness and improved mechanical properties compared to traditional fiber-based materials. The foam-formed cellulose sheet can be laminated into packaging materials for liquid foods.
33. Manufacturing Method for Foam-Core Plastic Parts Using Compressible Sandwich Structure
全耐塑料公司, COMPAGNIE PLASTIC OMNIUM, 2019
Method for manufacturing plastic parts with foam cores using a sandwich structure. The method involves inserting a foam core between two reinforced plastic sheets, compressing the foam-filled mold, and then allowing the foam to expand when the pressure is released. This results in a plastic part with a foam core that is thicker than the initial foam insert. The foam expansion compensates for the thickness increase of the sandwich structure during curing. The foam compressibility is controlled to prevent deformation under the molding pressure. The foam density can be lower than the final part density. This allows the foam to expand and fill gaps in the mold, ensuring accurate part dimensions.
34. Foam Molding System with Dual-Layer Mold for Controlled Bubble Size Regulation
MATSUI MFG CO LTD, 2019
Foam molding system, mold, material supply machine, and foam molding method that allows control over bubble size in foam molded products. The system uses a mold with an inner air-permeable mold and outer non-air-permeable mold. Fluid with pressure resistance is supplied into the inner mold cavity during filling with foaming resin. This prevents pressure drop and allows controlled bubble growth. The pressure can be reduced after molding to adjust bubble size. The outer mold prevents fluid flow into the inner mold. This allows separate control of inner and outer mold temperatures.
35. Custom-Fit Packaging System Utilizing Injection-Molded Expanding Foam Enclosures
AMAZON TECHNOLOGIES INC, 2019
Custom-fit packaging using expanding foam to reduce shipping costs and product damage. Instead of using standard containers for shipping, the product is enclosed in foam molded around it. The foam is injected into molds around the product to create a custom-fit package. This eliminates void space and dunnage in standard containers, as well as the need for multiple container sizes. The foam provides protection and prevents product movement during shipping. The foam molds are removed once hardened. Customized foam packaging reduces shipping costs by minimizing air space, eliminates dunnage needs, and prevents product damage from movement.
36. Composite Container Structure with Multi-Layered Box Body and Rotational Mold System for In-Mold Foaming and Lining
YANTAI FANGDA ROTATIONAL MOLDING CO LTD, 2018
Small container structure, mold, system, and method for lightweight, corrosion-resistant, and recyclable containers. The container has a composite box body and cover made of layers like impact-resistant polyethylene/propylene, foam, and inner liner. This provides strength, protection, and insulation. The mold has a foam storage tank, lining storage drum, and discharge control mechanism for in-mold foaming and lining. The mold rotates and heats in a chamber. This allows continuous production of customizable, durable, and recyclable small containers.
37. Foam Packaging Structure with Integrated Film Sheet and Surface Features for Enhanced Impact Resistance and Fit
GUANGDONG MIDEA REFRIGERATION EQUIPMENT CO LTD, 2018
Packaging structure for household appliances like air conditioners that provides better protection and durability compared to conventional foam and cardboard packaging. The structure uses an integrated film sheet on the inner surface of the foam body to prevent damage from external impacts. The film sheet is molded with the foam body to provide tight fitting and reinforcement. Features like bumps, pits, and demolding grooves optimize the adhesion and fit between the foam and film. This integrated packaging structure has improved strength, moisture resistance, and appearance compared to separate foam and cardboard.
38. Foam Packaging Box with H-Shaped Alloy Frame and Integrated Storage Slot
JURONG WUHANG TRANS MACHINERY MANUFACTURING CO LTD, 2018
Anti-breaking foam packaging box for fragile electronic devices that prevents deformation of the box and contained items during shipping. The box has an upper foam, an alloy frame shaped like an H, and a lower foam. The alloy frame has a flat cross-section and connects the upper and lower foams. The upper foam has a storage slot. This design allows the foams to compress and absorb shocks while the alloy frame prevents excessive deformation of the box and contents.
39. Stack Mold with Dual Cavities for Sequential Microcellular Foam Injection Molding
Shandong University, SHANDONG UNIVERSITY, 2018
A stack mold for microcellular foam injection molding that allows separate formation of a preform and final product containing dense cells. The stack mold has two cavities - one for preform molding and one for final product molding. The preform molding cavity has a hot runner system and air ducts to prevent foaming. The final product molding cavity has heating and cooling components. This allows separate injection molding of the preform without foaming, then inserting it into the final product molding cavity to avoid foaming during final molding.
40. Method for Producing Foam-Filled Packaging Units via Direct Mold Transfer of Recycled Fiber with Variable Additives
HUHTAMAKI MOLDED FIBER TECH BV, 2018
Method for making lightweight, foam-filled packaging units like egg cartons using recycled fiber material that requires less drying energy compared to conventional methods. The method involves foam-forming the fiber material using a foaming agent before molding. The foamed fiber is transferred immediately after foam generation to mold the packaging unit. This eliminates the need for separate drying steps. The foamed fiber has a short half-life time and high air content, allowing higher solid content and improved material homogeneity. Additives like dewatering polymers, filaments, and filming agents can be added. The foamed molded fiber units are made from recycled fiber, some of which is non-wood lignocellulosic biomass, and can be molded into various shapes like egg cartons, cup carriers, food containers, etc.
41. Packaging Structure with Foam Core and Recessed Grooves for Enhanced Structural Integrity
GUANGDONG MIDEA REFRIGERATION EQUIPMENT CO LTD, 2018
Packaging structure for protecting household appliances during transportation that provides better protection compared to traditional cardboard packaging. The packaging has an inner foam layer sandwiched between two outer layers. The foam layer has recessed areas and material-saving grooves to prevent thinning and weakening at overlapped areas. This improves structural strength compared to just adding cardboard. The foam layer provides cushioning and protection while the outer layers provide some impact resistance.
42. Method for Producing Foam Articles Using Mold-Induced Deformation to Enhance Material Conformity and Minimize Defects
TURVEY ADAM, 2017
Method for making complex foam articles with improved quality by using mold deformations to prevent foaming material from ripping or trapping air bubbles. The method involves sandwiching a foaming material between two layers on a mold with deformations. The deformations cause the outer layers to deform and conform better to the mold surface. This prevents ripping and trapping of air bubbles as the foam expands. The deformed layers can be removed or retract after foaming. The complex foam articles have better shape and fewer defects compared to traditional methods.
43. Manufacturing Method for Lightweight Automotive Interior Materials Using High Molecular Weight Atactic Polypropylene and Thermally Expandable Microcapsules in Foam Injection Molding
덕양산업 주식회사, DUCK YANG INDUSTRY CO LTD, 2017
Method for manufacturing lightweight interior materials for automobiles using a polyolefin resin composition with excellent foaming quality and impact strength. The method involves using a polyolefin resin containing high molecular weight atactic polypropylene without crystallinity for foam injection molding. Thermally expandable microcapsules are used as the foaming agent. The injection temperature is 170-200°C. This allows foaming without damage to the surface of the interior material while achieving high impact strength.
44. Method for Manufacturing Pulp Mold Structures with Controlled Resin Foaming for Integral Protective Layer Formation
TOYO ALUMINUM ECHO PRODUCTS CO LTD, 2017
A method for manufacturing a pulp mold structure, such as for containers or packaging, that allows easy customization of protective layers on the molded paper product. The method involves foaming resin in molds to form protective layers on specific locations of the paper mold. This allows integrally forming shaped protective layers at desired locations on the paper mold. The foaming process restrains the resin expansion to adhere the protective layers to the mold. This prevents irregularities and improves stability compared to unrestrained foaming. The adhesion between the mold and protective layers is also improved.
45. Expandable Foam Packaging System for Irregular Shaped Objects with Rigid Support Base
PEUGEOT CITROEN AUTOMOBILES SA, 2017
Packaging irregular shaped objects like engines using expandable foam to reduce the need for custom packaging and save time. The object is placed on a layer of expanding foam on a rigid support as it cures. The foam coats the bottom and sides of the object. This provides support and lateral stability. The foam expands around the object when cured.
46. Method for Manufacturing Molded Articles with Foamed Film via Indirect Oven Preheating of Laminated Substrate
SH GLOBAL CO LTD, 2016
Method for manufacturing a molded article with a foamed film using indirect preheating in an oven. The method involves preheating a laminated substrate made of polypropylene, natural fibers, and a polyester nonwoven fabric in an oven. This preheated substrate is then formed and trimmed to create the molded article with the foamed film. The indirect preheating allows better adhesion of the foamed capsules to the substrate compared to direct foaming. It also improves dimensional stability, moldability, and productivity compared to using chemical foaming agents.
47. Foam Packaging Structure with Custom Molded Enclosure for Fragile Goods
Huang Xiangling, XIANGLING HUANG, 2016
Foam packaging structure and mold for fully enclosing and protecting fragile goods during transportation. The packaging involves using disposable foam molds to surround the entire lower, side, and top portions of the packaged item. The foam molds are placed outside the item and conform to the shape of the item. This provides full coverage and cushioning to prevent impact and vibration damage during shipping. The foam molds are created using foam molding principles to fit the specific shape of the item.
48. Molding Process for Foam Members with Integrated Rigid Plates Using Restriction and Support Protrusions
BRIDGESTONE CORP, 2016
A molding process for manufacturing molded foam members with integrated rigid plates to prevent positional displacement during foam molding. The process involves placing a pre-molded foam body and a rigid plate in a forming mold, pressing the rigid plate against the foam body, pouring foam agent into the mold, and foam molding the second foam body to surround the rigid plate. This prevents the rigid plate from being lifted by foam expansion pressure during molding. A restriction protrusion on the upper mold presses the rigid plate against the lower mold when closing the mold. The foam body has a support protrusion to oppose the restriction. A recess in the foam body catches foam flowing around the rigid plate. Optionally, a magnet holds the exposed rigid plate in place.
49. Method for Spraying Low-Viscosity Isocyanate-Based Foamable Composition onto Open-Cell Foam Core Layer
RECTICEL S A, ??? ??.?, 2015
Reducing the amount of curable foamable composition required to fill the open pores of an open-cell foam in order to produce a foamed article. The method involves spraying a low-viscosity isocyanate-based foamable composition onto the core layer of the foam, which is an open-cell foam. The composition starts curing as it's sprayed and fills the open pores of the core layer. This reduces the amount needed compared to filling the pores with a separate foam. The open-cell core layer is held in a lying position during spraying to facilitate foam penetration. This allows lower foam composition charges and shorter cure times compared to fully enclosed foams.
50. Manufacturing Method for Foam Molded Articles Using Vented Mold with Breathable Member and Integrated Termination Space
Bridgestone Corporation, BRIDGESTONE CORP, 2015
Method to manufacture foam molded articles like seats that have high accuracy and smooth surfaces without air pockets. The method involves using a specialized mold with vent holes and a breathable member. The mold has a foaming space and termination space connected together. The breathable member covers the vent holes. Foam is supplied to start foaming in the beginning space. Foaming continues until it fills the termination space. This prevents foam from trapping air and forming pockets. The foam integrates with the breathable member attached to the vent holes. The mold geometry with vent holes and recessed edges helps foam escape during foaming. This enables accurate foam molding with smooth surfaces.
Get Full Report
Access our comprehensive collection of 52 documents related to this technology
