Packaging Impact Design for Retail
Retail product visibility faces increasing challenges in modern commercial environments. Studies show that consumers make purchase decisions within 2-3 seconds of viewing products, while retail spaces struggle with limitations of shelf space, lighting variations (ranging from 150-1500 lux), and competition for attention across thousands of SKUs in typical store environments.
The fundamental challenge lies in creating visual distinction and engagement while maintaining practical constraints of manufacturability, shipping efficiency, and cost-effectiveness.
This page brings together solutions from recent research—including dynamic illumination systems, innovative material treatments like laser-etched cellulosic wrappers, structural designs that optimize viewing angles, and adaptable display mechanisms. These and other approaches focus on enhancing product visibility and consumer engagement while meeting the practical demands of retail environments.
1. Packaging Box with Grapefruit-Shaped Foldable Side Walls and Removable Cover
VANUNG UNIVERSITY, 2024
A grapefruit-shaped packaging box with an innovative design that aims to make light-covering boxes more attractive and reusable compared to traditional boxes. The box has a unique grapefruit shape with a foldable side walls and a removable cover made by bending cross-shaped and polygonal plates, respectively. The folding edges on the side walls allow the box to collapse for storage and transportation. The insertion holes between the side walls connect them when the box is assembled. The removable cover can be reused for other purposes after removing the product inside. The grapefruit shape adds visual appeal to attract attention compared to the monotonous geometric shapes of conventional boxes.
2. Paper Food Packaging Box with Laminated Brown and White Kraft Paper Layers
JEUN HO ILL, 2024
A paper food packaging box that increases the perceived quality of packaged food by using a combination of brown and white kraft paper. The outer layer is made of brown kraft paper, while the inner layer is made of white kraft paper. This provides a contrast that elevates the perceived quality of the packaging compared to using just brown kraft paper. The two layers are laminated together using adhesive and heat fusion.
3. Packaging Box Lid with Foldable Flaps Forming Inverted Trapezoidal Crease Pattern
PACKAGE NAKAZAWA CO LTD, 2024
A packaging box lid design that mimics the appearance of a flat wrapped furoshiki cloth when the box is closed. The lid has a unique folding mechanism that creates an inverted trapezoidal crease pattern on the front and rear walls. The design involves foldable flaps and panels that can be raised and lowered to form the trapezoidal shape. It allows the lid to be shaped like a flat wrapped furoshiki cloth when closed. This provides a visual effect similar to wrapping a gift in a furoshiki cloth without the need for separate wrapping material.
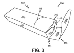
4. Container with Angled Foot and Inclined Stance for Enhanced Stability and Visibility
THE PROCTER & GAMBLE CO, 2024
Container for packaging products that improves viewability, prevents product movement, and has an inclined stance when seated. The container has a front portion with a lower foot region, a rear portion, and side walls defining a receptacle. The foot connects to the bottom wall and is angled complementary to the bottom end of the side wall. When seated, the container leans obliquely. The angled foot prevents sliding while keeping products visible. The container can have additional supports between the outermost ones. The inclined stance allows easy shelf display.
5. Packaging Envelope with Folded Panels Forming Upright Compartment for Brewed Beverage Bags
LEE CHIEN TING, 2024
A packaging envelope for brewed beverage bags that allows display and gifting of multiple bags as a set. The envelope has folded panels that form an upright compartment to hold the bags. It has a front panel, rear panel, and vertical flaps that fold to enclose the bags. An opening between the flaps allows insertion of the bags. The envelope can have features like joints, tabs, and areas for branding or product info.
6. Star-Shaped Packaging Box with Folded Triangular Sections and Slot-Guide Connections
ELBOX CO LTD, 2024
A unique star-shaped packaging box that improves product quality, display, and protection compared to conventional rectangular boxes. The star-shaped box is formed by folding and connecting triangular sections around a central flat base. This creates a star shape with eight protruding pillars when viewed from above. The star shape allows the box to be opened and closed like a traditional rectangular box, but with a more distinctive and visually appealing design. The star shape also provides better shock absorption and protection for the packaged product compared to a rectangular box. The folding mechanism involves folding triangular sections at right angles and connecting them with slots and guides. The star shape can be opened and closed like a traditional rectangular box, but with a more distinctive and visually appealing design. The star shape also provides better shock absorption and protection for the packaged product compared to a rectangular box.
7. Box with Foldable Protruding Display Section and Locking Mechanism for Optional Advertising
CROWN PACKAGE CO LTD, 2024
Box design that allows optional POP advertising displays without obstructing product view. The box has a protruding display section that can be folded in when not needed. The display section is connected to the side wall with a fold line and locking feature. When folded, the display section reinforces the side wall and locks in place. Breaking the fold line allows the display to extend further. This lets users choose to use the display or not without interference.
8. Transparent Packaging Box with Foldable Panels and Angle-Responsive 3D Card Inserts
HAPPINESS FISHING GEAR CO LTD, 2024
Packaging box with 3D cards that change appearance based on viewing angle to make the box more visually appealing and attractive to consumers. The box has a transparent body made by folding and joining four side panels and two cover panels. Inside the box, there is a 3D card with multiple patterns that creates a double-changing effect when viewed from different angles. This adds visual interest and enhances the packaging value compared to plain boxes.
9. Packaging Bag with Pivoting Flap Mechanism and Integrated Foldable Feature
BENTINO GMBH, 2024
Packaging bag with a pivoting flap that surprises and delights recipients. The bag has an access opening and a side wall with a fold that connects to a flap. The flap can pivot between a storage position against the side wall and a presentation position extended out. This allows the flap to be hidden when closed, then popped up and visible when opened, creating a surprising reveal. The flap can also have features like pop-ups or lights to further enhance the effect.
10. Stackable Packaging Container System with Enlarged Top Container and Stepped Flange Support
CP KASEI CO LTD, 2024
Packaging container stacking configuration to improve the appearance of objects contained in the top container when multiple containers are stacked. The top container is made larger than the bottom containers. When stacked, the top container contacts the bottom container's stepped flange, which provides additional support. This prevents shifting and reduces the risk of the top container falling. By having the largest container on top, consumers can easily see the contents. This is especially beneficial for high-end food items where presentation matters.
11. Transformable Packaging Box with Collapsible Main Body Revealing Three-Dimensional Visual Figure
Ö, 2024
A packaging box for food items that can transform into a gift card when the lid is opened. The box has a main body that can be used as a packaging for food items. But when the lid is opened, the main body folds and collapses to reveal a three-dimensional visual figure inside. This allows the box to serve as both a functional packaging and a gift card with an eye-catching presentation when the food is consumed.
12. Packaging Box with Reversible Cover and Integrated Lifting Mechanism for Concealed Item Rotation and Virtual Space Creation
SHENZHEN YUTO PACKAGING TECHNOLOGY CO LTD, 2024
Interesting and fun packaging box for items that provides a novel and engaging experience when accessing the contents. The box has a reversible cover that can expose or conceal a recessed compartment. A lifting mechanism connects the cover to a load-bearing part in the compartment. When the cover is flipped, it extends the load-bearing part to lift the item. This creates an illusion of an empty box when closed, then reveals the item rotating out of a hidden compartment when opened. A reflector in the other compartment creates a virtual hollow space visible through the box.
13. Foldable Packaging Structure with Interlocking Arc-Shaped Panels
NATIONAL TAICHUNG UNIVERSITY OF SCIENCE AND TECHNOLOGY, 2024
Arc-shaped packaging structure that can be easily folded and has arc-shaped ends on both sides. The packaging structure has an arc-shaped bottom, top, and front panel. The sides are folded to form a box. The bottom and top panels have arced ends that fit into holes in the front panel. This allows the panels to fold and connect without tape. The arc shape provides an attractive, distinctive appearance compared to cubic boxes.
14. Triangular Prism Packaging Box with Tapered Slanted Sides and Flattened Base
YING KE PAPER PRINTING CO LTD, 2024
An innovative shape of a packaging box, especially for containing items, with features like: 1. A unique triangular prism shape with slanted sides that taper to a point at one end and flatten out at the other end. 2. The box has a base with three sides, and the top is also triangular with three sides that match the base sides. 3. The slanted sides of the box create a distinctive and eye-catching look. 4. The tapered end of the box allows it to fit snugly into other containers or display shelves. 5. The flattened end of the box provides a stable base when placed on a surface. 6. The triangular prism shape allows the box to be easily stacked and nested.
15. Wine Packaging Box with Integrated Bottle Support and Distinctive Geometric Design
WU BOYANG, 2024
An innovative wine packaging box that combines functionality, elegance, and a unique shape. The wine box is designed to hold and protect wine bottles while also having an eye-catching appearance. It aims to provide a premium packaging solution for wine enthusiasts that goes beyond just protecting the wine inside.
16. Packaging Container with Raised Protrusion and Convex Sloped Surfaces for Stability and Liquid Management
CP KASEI CO LTD, 2024
Packaging container with features that improve the appearance of stored items like food and prevent shifting. The container has a raised protrusion in the bottom where items are placed. This protrusion has a sloped surface to angle the item upwards. This gives the item more volume and makes it more visible. A lower rib supports the item. The sloped height is higher than the rib. This allows larger items to fully cover the sloped section and still have support. The container can also have narrower slopes connecting to the sloped section. This prevents sliding. The sloped and connecting sections have convex surfaces to reduce oil and liquid adhesion. Non-sloped sections have grooves for oil/liquid storage or transfer. These features widen the range of accommodated item sizes, prevent sliding, and reduce oil/liquid re-adhesion.
17. Multilayer Packaging Blank with Curved Side Wall Structure for Rounded Package Formation
TETRA LAVAL HOLDINGS & FINANCE SA, 2024
A packaging blank for forming a package with rounded sides, particularly for pourable food products, that improves the appearance and stackability of the packaged product. The blank has a multilayer structure with rounded side walls. This allows the packaged product to have rounded sides instead of sharp corners. The rounded walls provide a more aesthetically pleasing and ergonomic shape for the package. The blank can be made as individual blanks or as a web of connected blanks. The rounded side walls can be created by curving the side wall layers, which may require different materials or thicknesses compared to the flat-walled blanks. The rounded shape improves the stackability of the packaged products by reducing the sharp edges that can cause damage during stacking and transportation.
18. Car-Shaped Packaging Box with Integrated Insert Piece and Interlocking Front Panels
UNIV VANUNG, 2023
Glue-free, car-shaped packaging box that simplifies materials but has a commercialized visual effect. The box has a base plate and a front plate extending from the base plate. An insert piece connects to the end of the front plate. A socket is between the front panels. This allows the box to be assembled without glue and mimics the shape of a car. The car shape and insert piece provide a more exciting and engaging packaging experience for children's toys and snacks compared to traditional rectangular boxes.
19. Foldable Paperboard Container with Trapezoidal Structure, End-Raised Elements, and Opening Perforations
JOINT STOCK COMPANY BIOCAD, 2023
Foldable paperboard packaging container for pharmaceuticals that has a unique foldable design with raised elements on the ends and perforations for easy opening. The container folds flat when empty for storage and shipping, then forms a trapezoidal shape when filled with products like vials or inserts. The raised elements on the ends provide visual and tactile differentiation compared to standard boxes. The perforations make it easier to open with fingers. The foldable design allows compact storage and shipping, and the raised elements and perforations add aesthetic and tactile appeal for the user.
20. Vertically Oriented Foldable Cardboard Container with Trapezoidal Joint Surfaces and Raised Elements
JOINT STOCK COMPANY BIOCAD, 2023
Foldable cardboard packaging container for pharmaceutical products that is vertically oriented, foldable, and has trapezoidal joint surfaces for closure. It is assembled from a flat layout and consists of front, back, sides, upper, and lower joint surfaces. The sides can open and close with trapezoidal flaps. The upper surface is for closing and the lower surface is for gluing. The container has raised elements on the upper and lower joint surfaces spaced at specific distances. This design provides a unique visual and tactile experience for consumers compared to conventional pharmaceutical packaging.
21. Noodle Packaging Box with Resealable Closure, Stackable Design, Vented Side Panels, and Transparent Viewing Windows
MAINLAND CHINA DALIAN HONGRUN LOTUS FOOD CO LTD, 2023
A packaging box for noodles that aims to improve the presentation and convenience of noodle packaging. The box is designed to provide better protection and preservation of the noodles, while also making it easier to open and close. The box may have features like a resealable closure, stackable design, vented side panels for aeration, and clear windows to view the noodles inside. The goal is to create a more functional and attractive packaging option for noodle products.
22. Packaging Container with Radially Extending Walls and Protruding Foldable Elements
KAI CUTLERY CENTER CO, 2023
A packaging container that unfolds like a flower when opened to provide an unexpected and visually appealing experience. The container has a polygonal base and walls that extend radially from the sides. Each wall has a protrusion that folds inside when the container is closed. When opened, the walls expand and the protrusions pop out like flower petals. The container looks like a closed bud when sealed, then blooms when opened.
23. Food Packaging Box with Smartphone Interface Simulating Overlay
CAI BINGYU, 2023
A decorative structure for food packaging boxes that mimics a smartphone interface to make the boxes more attractive and stimulate consumer desire. The structure involves combining a traditional cardboard food packaging box with a separate printed overlay that covers the exterior. The overlay has sections representing a smartphone screen and keys. It allows the boxes to look like simulated smartphones when covered, providing a modern and changeable appearance compared to just printed product images.
24. Cosmetic Packaging Box with Snap-On Lid, Internal Dividers, and Viewing Window
EUROITALIA SRL, 2023
A cosmetic packaging box that provides improved protection and presentation for cosmetic products. The packaging box has features like a snap-on lid, internal dividers, and a window for viewing the product. The snap-on lid provides secure closure and prevents spills. The internal dividers help organize multiple products in the box. The window allows seeing the product without opening the box.
25. Packaging Design Incorporating Distinctive Pattern for Visual Differentiation Across Multiple Material Substrates
ZIHAN WENG, 2023
New packaging design that uses a specific pattern to provide a unique visual appeal. The pattern is designed to be eye-catching and distinguishable from existing packaging designs. It can be used on various materials like paper, plastic, or metal packaging for products in industries like food, beverage, cosmetics, etc. The goal is to create a packaging design that stands out on store shelves and catches consumers' attention.
26. Packaging Box with Reversible Cover, Hidden Compartment, and Reflector-Induced Virtual Space Mechanism
SHENZHEN YUTO PACKAGING TECHNOLOGY CO LTD, 2023
A packaging box with an interesting mechanism for accessing items inside that provides a more engaging experience compared to traditional boxes. The box has a reversible cover, a hidden compartment, and a reflector. When the cover is closed, it hides the compartment and creates a virtual empty space. When the cover is opened, the item inside slowly rises from the hidden compartment. The reflector creates a larger virtual space that tricks the user into thinking the box is empty. This provides a novel experience of revealing the item inside.
27. Composite Membrane with Multi-Layered Pattern Structure for Angular-Dependent Visual Effects
SHENZHEN YUTO PACKAGING TECHNOLOGY CO LTD, 2022
Composite membrane for packaging that creates a 3D or 4D visual effect when viewed from different angles. The membrane has a carrier layer and an information layer with a light-transmitting layer sandwiched between two pattern layers. The first pattern layer close to the carrier presents one view of the object, while the second pattern layer farther out presents a different view. The light-transmitting layer creates a sense of distance between the patterns. This allows seeing multiple views of a 3D/4D object when looking at the membrane from different angles.
28. Glass Bottle with Asymmetrical Shoulder and Oblong Cross-Section for Enhanced Visual Front
DSIGNTANK SL, 2022
Glass bottle design that allows thinner walls and bigger visual fronts without increasing weight or volume. The bottle has an asymmetrical shoulder section with an oblong cross-section that is wider than deep. This oblong shape maximizes visual front for the same inner volume compared to a symmetric shoulder. The body and neck sections have axial symmetry to simplify manufacturing. The asymmetrical shoulder transition allows a visual front increase without thickness increase.
29. Cardboard Packaging with Sliding Cover and Inner Box for Ready-to-Eat Food Products
D, 2022
A dynamic cardboard packaging design for ready-to-eat food products like chocolate or cake that has a sliding cover on the upper surface. The packaging consists of a rectangular body with an opening, an inner box inside the body to hold the product, and a sliding plate on the inner box that opens and closes the opening. This allows easy access to the product by sliding the cover instead of opening the whole package. It provides protection, safety, and convenience during shipping and sale while also being aesthetically dynamic and interactive for the consumer.
30. Wine Bottle with Hourglass Waist for Enhanced Grip and Stability
UNI-PRESIDENT GLASS INDUSTRIAL CO LTD, 2022
A wine bottle with a unique shape designed to provide visual and tactile feedback to the user when picking up the bottle. The bottle has an hourglass waist with a narrower middle section that tapers outwards at the top and bottom. This hourglass shape is intended to catch the eye and make the bottle stand out. But it also has a functional purpose. The narrow waist provides a natural grip point for the user's fingers, making it easier to pick up and hold the bottle without slipping. The wider top and bottom sections provide stable footing for the bottle when placed on a surface, reducing the risk of it tipping over.
31. Packaging Box with Integrated Compartment and Main Section for Seamless Appearance
COUPANG CORP, 2022
A packaging box design with a unified appearance where the compartment section and the main box section are connected seamlessly to create a cohesive whole. This provides a visually pleasing and harmonious packaging that avoids the disjointed look of separate sections. The compartment section can have features like handles or cutouts that complement the main box design for a cohesive aesthetic.
32. Folded Paper Cosmetic Packaging with Interlocking Knots and Textured Wall Sections
Kim Sung-kook, 2022
Aesthetic and convenient packaging for cosmetics that uses folded paper to create a unique box shape. The packaging has a base body with folded wall sections, lower and upper knots with overlapping plates, and folding guides. The knots are blocked together to enclose the cosmetics. The folded paper provides a visually interesting texture and allows compact storage.
33. Packaging Box with Curved Sides and Tapered Sloping Top Featuring Asymmetrical Bottom
TAKEDA PHARMACEUTICAL COMPANY LTD, 2022
The design is for the appearance of a packaging box for a product. The box has a unique and eye-catching shape that deviates from traditional rectangular boxes. It features curved sides and a sloping top that tapers to a point. The box also has an asymmetrical bottom with one side shorter than the other. The overall effect is a distinctive and unconventional shape that stands out on shelves and draws attention to the product inside.
34. Bottle with Asymmetrical Shape and Irregular Contours Featuring Protruding Ridges and Uneven Weight Distribution
MACKLOWE SPIRITS LLC, 2022
A unique and visually appealing bottle design that aims to stand out on shelves and capture consumers' attention. The design features an irregular, asymmetrical shape that deviates from the traditional round or oval bottles commonly found in the market. The bottle may have protruding ridges, indents, or curves that create an unconventional profile. It could also have an unbalanced weight distribution, with one side of the bottle being heavier or wider than the other. The goal is to create a distinctive and memorable bottle shape that sets it apart from conventional bottles and enhances shelf presence.
35. Packaging Box with Distinctive Structural and Aesthetic Design Elements
TAKEDA PHARMACEUTICAL COMPANY LTD, 2022
The packaging box design aims to enhance the visual appeal of the product inside by using a unique and eye-catching appearance. The design may involve unconventional shapes, colors, textures, or graphics on the box to make it stand out on shelves. The goal is to create a packaging that grabs attention and encourages customers to pick up and purchase the product inside.
36. Elongated Flip-Top Cosmetic Packaging with Slide-to-Close Lid and Internal Dividers
PAT MCGRATH COSMETICS LLC, 2022
A flip-top cosmetic packaging with a slide-to-close lid and internal dividers to separate multiple products. The packaging has an elongated shape with side panels, end caps, and a lid. The lid has a pivoting section and a slide section. The pivoting section attaches to a side panel and folds back to close the packaging. The slide section attaches to the pivoting section and slides into a recess in the lid to fully close. The internal dividers separate the product compartments when the packaging is opened. The lid design allows easy opening and closing with one hand. The slide section provides a grip for sliding into the recess. The packaging shape and slide-close lid make it more useful and appealing to customers beyond just transporting products.
37. Dynamic Packaging Display with Integrated Temperature Logger and LED-Based Freshness Indicators
XEROX CORP, 2022
Dynamic packaging display with temperature logger that provides a visual indication of product freshness and heat exposure. The display has multiple LED lights that can be activated individually to show age or temperature issues. An internal clock tracks time and an onboard temperature sensor measures temperature. When a predetermined expiration time is reached or temperature threshold exceeded, the corresponding LED lights up. The last light flashes to indicate potentially spoiled product from excessive heat. This allows quick visual assessment of product freshness and heat exposure without manual label scanning or time-consuming inventory checks.
38. Packaging Box with Asymmetrical Shape and Textured Embossed Features
CREATEME TECHNOLOGIES LLC, 2022
The design is for a packaging box that has a unique shape and appearance to make it stand out and attract attention. The box may have an irregular, asymmetrical shape with curved or angled surfaces. It could also have cut-out sections, protrusions, or embossed features to create texture and dimension. The goal is to create a visually striking packaging box that will catch the eye and help the product inside stand out on store shelves.
39. Barrier Laminate with Anchor Coat and High Light Transmittance Layer on Paper Substrate
OJI HOLDINGS CORP, 2022
Barrier laminate with high visibility for packaging bags that provides both good barrier properties and visibility of the contents. The laminate has an anchor coat layer and a water vapor barrier layer on one side of a paper substrate. The anchor coat layer prevents the barrier layer from penetrating the paper. This reduces wrinkles and improves visibility compared to directly applying the barrier layer to the paper. The barrier layer has a total light transmittance of 65% or more. The laminate has a total thickness of 75 μm or less. This provides high barrier properties while maintaining visibility when used as a packaging bag.
40. Octagonal Paper Packaging Box with Interlocking Knot Folding Mechanism and Collapsible Structure
KIM SOUNG GOOK, 2022
A packaging box made of paper that provides an aesthetically pleasing and convenient way to store and transport cosmetics. The box has a unique folding mechanism using interlocking knots and folding guides. The base body is made of folded wall sections with lower and upper knots. The lower knots overlap and lock, while the upper knots overlap and lock. This creates a sealed box when the upper and lower knots interlock. The folded walls and knots give the box an octagonal shape. The folded walls and knots also provide a pleated texture and visual interest. The folded walls and knots allow the box to collapse flat for storage and expand into a stable, protective container for cosmetics.
41. Merchandise Packaging Box with Stackable Structure and Integrated Handling Features
REGENERON PHARMACEUTICALS INC, 2021
A merchandise packaging box design that provides secure and efficient packaging for products. The box has features like stackability, ease of handling, and protection against damage during transportation. The box may also incorporate branding or marketing elements to enhance the product presentation. The aim is to create an attractive and functional packaging solution that meets the needs of the product and the customer.
42. Packaging Box with Surface-Integrated Customizable Print Features
HISAMITSU PHARMACEUTICAL CO INC, 2021
A packaging box design with customizable features like logos, product descriptions, and patterns printed on the surface. The box can be used to contain and protect products during shipping and storage. The customization options allow branding, product information, and decorative elements to be added to the packaging to enhance its appearance and provide useful product details.
43. Lotion Bottle with Wavy Leaf-Shaped Ergonomic Design and Tactile Curvature
MENTHOLATUM PHARMACEUTICAL COMPANY LTD, 2021
A unique design for a lotion bottle that aims to provide a visually appealing and ergonomic packaging solution for lotion products. The bottle has a distinctive shape that resembles a wavy leaf or flower petal, with undulating curves that create a tactile texture when held. The lotion bottle is also designed to be easy to squeeze and dispense the lotion, making it convenient for users. The leaf-like shape adds a natural and organic feel to the packaging, which could appeal to consumers looking for more natural and environmentally-friendly product options.
44. Attachable Pop Display with Seasonal and Event Adaptability for Product Packaging
FUJIBO HOLDINGS CO LTD, 2021
Plug-in pop that can be attached to a product packaging material, and can easily respond to changes in seasons and events without impairing the effect of appealing to customers. The pop is attached to a product packaging material that wraps a product so as to surround the product with a back portion and a front portion, and a product packaging material having the plug-in pop.
45. Cardboard Gable-Top Packaging with Attached Printed Unit on Inclined Surface
HAMFELDER HOF BAUERNMEIEREI GMBH & CO KG, 2021
Cardboard gable-top packaging with enlarged information area by attaching a separate printed unit to the inclined surface of the box. This separate printing unit can be made from materials like paper or coated paper to provide an enlarged area for printing additional information on the box beyond the standard gable-top surface. The separate printing unit attaches to the inclined surface of the box and extends over it, allowing for more space to display product details, branding, instructions, etc. without changing the basic box dimensions or structure.
46. Packaging Box with Interlaced Weave Mimicking Winter Bamboo Shoots Appearance
LI JIA YING, 2021
A unique packaging box with a winter bamboo shoots appearance created by interlacing. The box has a design that mimics the look of winter bamboo shoots growing in a forest. The interlacing pattern is achieved by weaving thin strips of material together in a way that resembles the way winter bamboo shoots grow in nature. The resulting box has an intricate, textured exterior that is visually striking and adds a natural, organic element to packaging designs.
47. Packaging Box with Snap-On Lid, Ventilation Holes, and Viewing Window for Popcorn
VANUNG UNIVERSITY, 2021
A packaging box specifically designed for popcorn that provides better protection, convenience, and visual appeal compared to standard popcorn boxes. The box has features like a snap-on lid, ventilation holes, and a window to view the popcorn inside. It also has dimensions optimized for popcorn volume and weight. The design aims to prevent spills, keep popcorn fresher for longer, and make it easier to open and close the box.
48. Packaging Material with Embedded Microstructures for Visual Authentication
EVOTEK INC. LIMITED LIABILITY COMPANY, Limited Liability Company "Evotek Inc.", 2021
A method to protect and authenticate packaged goods without using special tools for end users. The method involves embedding microstructures into the packaging material itself during production. These microstructures can be either stochastic or repeating patterns containing features like microliters or microsymbols. When viewed with the naked eye, these microstructures create variations in tone that reproduce halftones of an image. This allows users to visually verify the authenticity of the product without additional accessories.
49. Plastic Shopping Bag Package with Integrated Advertising Display and Dispensing Window
TAIHEI KASEI CO LTD, 2020
Easy to distribute, reusable plastic shopping bag package that also functions as an advertising medium. The package wraps multiple folded bags and has a window to easily take out a bag. The outer wrapping displays ads. This allows easy distribution, carrying, and visibility of the ads when the bag is removed.
Get Full Report
Access our comprehensive collection of 49 documents related to this technology
