Leak Detection for Package Containment
Package containment failures, even at microscopic levels of 10-50 microns, can compromise product integrity and safety. Current industrial leak detection methods achieve sensitivity down to 5 microns but often require time-consuming batch testing, with traditional water bath tests taking 15-30 minutes per batch and potentially damaging sensitive products.
The fundamental challenge lies in developing detection methods that can identify micro-leaks rapidly and non-destructively while maintaining the throughput demands of modern packaging lines.
This page brings together solutions from recent research—including interferometric measurement systems, vacuum detection with color indicators, pressure decay monitoring, and tracer gas detection methods. These and other approaches focus on achieving high sensitivity while enabling continuous in-line testing without compromising package integrity or production speeds.
1. Interferometric Leak Detection Method for Packaged Goods Using Ambient Pressure Variation
SKZ - KFE GGMBH, 2024
Non-destructive, non-contact method for leak testing of packaged goods using interferometry. The method involves irradiating a package surface with primary radiation and measuring the interference pattern. Then changing the ambient pressure and remeasuring. Comparing the interference patterns reveals package leakage. This allows testing of large numbers of packages without water baths or gases.
2. Vacuum Detection Device with In-Line Leak Indicator and Color Sensor Monitoring System
ZHEJIANG MINGRUI INTELLIGENT EQUIPMENT TECH CO LTD, 2024
Vacuum detection device and method for vacuum packaging that allows continuous in-line vacuum leak testing without discharging the packaged products. The device adds a small air leakage indicator to the packaging bags before sealing. After vacuum packing, the indicator changes state if there are leaks. A detection component with a color sensor monitors the indicator as the bags are conveyed. If the indicator indicates a leak, the bag is diverted for further action. This allows inline leak detection during automated vacuum packaging without the need for water immersion testing.
3. Soft Bag Detection System with Integrated Seal Strength and Leakage Rate Assessment Using Filtered Detection Tube
SHANGHAI JINYU BIOTECHNOLOGY CO LTD, 2023
Soft bag detection method that allows testing of both seal strength and overall leakage rate using a single instrument. The method involves connecting a detection tube with filters to the soft bag's inlet and outlet during testing. For sealing strength, the tube is sealed and pulled to measure force. For leakage rate, air pressure is applied and the change in pressure inside the bag is measured. The filters prevent external air contamination during testing.
4. Leak Detection System for Sealed Packages Using Gas-Permeable Material and Pressure Decay Monitoring
PACKAGING TECHNOLOGIES AND INSPECTION LLC, 2023
Leak testing of sealed packages with a gas-permeable material covering the opening and adhered around it. The test involves vacuuming the package to detect leaks through the opening and around the seal. By applying vacuum pressure and monitoring the pressure decay profile, it can determine if there are leaks compared to a reference profile from a non-leaky package.
5. Frame-Based Packaging Bag Air Tightness Testing Component with Independent Displacement and Driving Assemblies
Wuxi Fujiang Technology Co., Ltd., 2023
A component for testing the air tightness of packaging bags like those used for puffed food. The component has a frame with displacement assemblies on each side driven by independent driving assemblies. These assemblies lift the pressure plate and test platform to seal the bag and apply internal pressure. The air tightness is determined by measuring any leakage during pressurization.
6. Device for Measuring Leakage Aperture in Pharmaceutical Packaging Using Test Chamber with Positive Sample Connection and Vacuum Maintenance System
SHANGHAI INST MEASUREMENT & TESTING TECH, 2023
Accurately measuring the leakage aperture of pharmaceutical packaging systems using a positive sample detection device. The device has a test chamber with a connecting hole for the positive sample, gas charging/discharging, and vacuum maintenance. The vacuum is maintained using gauges and a piston cylinder with a scale. The chamber connects to a sealing tool to fix the positive sample in the hole. This allows accurate calibration of positive samples with known leak sizes for tightness testing of pharmaceutical packaging.
7. Device with Telescopic Hydraulic Columns and Pressure Plate for Automated Sealing Quality Testing of Packaging Bags
Denko Automation Technology Co., Ltd., DENKER AUTOMATION TECHNOLOGY CO LTD, 2023
Automated device for testing the sealing quality of food packaging bags. The device has a connecting plate with telescopic hydraulic columns to clamp bags. A cylinder lowers a pressure plate onto the bags to check for leaks. When the plate bursts the bag, a sensor collects data to analyze bag seal quality. The device improves efficiency and accuracy compared to manual testing. It also has features like a shock-absorbing base and magnets to prevent exploding bags from cluttering the lab.
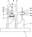
8. Rotatable Sealed Box with Lifting Mechanism for Non-Invasive Detection of Package Integrity
Qinhuangdao Fuzi Food Co., Ltd., 2023
A mechanism to detect if packaged products have damaged or leaking bags without damaging the products themselves. The mechanism involves a rotatable sealed box connected to a door. Inside the box is a lifting mechanism with a push rod, balance bar, and top cover. The bottom plate and partition can be lifted out to place products. The box can be sealed, pressurized, and vacuumed to test for leaks. If the air pressure changes during testing, it indicates a damaged or leaking bag.
9. Method for Packaging Leak Detection Using Tracer Gas with Variable Fill Rate and Simulated Test Calibration
SIG COMBIBLOC SUZHOU CO LTD, 2023
A method for accurately detecting packaging leaks and determining leak severity using a specialized gas leak detection system. The method involves filling the packaging with a tracer gas, sealing it, and then vacuuming the chamber to detect the tracer gas. By varying the fill rate based on package material thickness, seals, and width, it allows quantifying leakage. The system can also simulate tests with known non-leaking and leaking samples to set detection parameters and verify accuracy.
10. Apparatus for Sealing Integrity Detection of Medical Packaging Bags Using Gas Injection and Submersion
Suzhou Ocumension BioTech Co., Ltd., SUZHOU OCUMENSION BIOTECHNOLOGY CO LTD, 2023
Device for detecting the sealing properties of medical packaging bags using a gas injection method. The device involves connecting a high-pressure air source to a detachable gas line tube that can be attached to the medical packaging bag. The tube has valves to regulate pressure and flow. The bag is submerged in a water tank to prevent bursting. A convex lens above the tank allows observation. This allows injecting high-pressure gas into the submerged bag to detect leaks without damaging the seals. A limiting grid keeps the bag below the water level. The water tank provides a containment structure to prevent explosion or bursting.
11. Packaging Bag Airtightness Detection Device with Dual Passive Pressure Detection Structures and Inflatable Clamping Mechanism
广东霸泉科技实业有限公司, 2023
A packaging bag air tightness detection device for efficiently testing the sealing integrity of bags. The device has a workbench with fixed supports for bag samples and clamping parts to hold them in place. Two sets of passive pressure detection structures, one on each sample, measure air leakage. An air pump connects to the bottom of the supports to inflate the bags. The clamping parts prevent expansion during inflation. By sealing the bags and pressurizing them, any leaks can be detected.
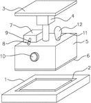
12. Sealing Tester with Pressurized Inspection Mechanism and Integrated Air Compressor for Container Integrity Evaluation
Shandong Animat Instrument Co., Ltd., SHANDONG ANMT INSTRUMENT CO LTD, 2023
Sealing tester with a pressurized inspection mechanism for testing the sealing performance of containers like bottles, flasks, and jars. The tester has an air compressor and exhaust pipe to pressurize the container being tested. It also has an inspection jar, buckle cover, lower pressure part, and pressurization part for sealing and pressurizing the container during testing. This allows measuring the container's sealing integrity by applying internal pressure and observing leakage.
13. Differential Pressure Leak Detection System with Automated Vacuum Sealing and Sensor Integration
WENZHOU KEDI MACHINERY CO LTD, 2023
A differential pressure leak detection system for packaging machines that improves efficiency and accuracy compared to manual leak testing. The system involves vacuum sealing the packaged product inside a detection box and measuring the pressure differential between the inside and outside. If the differential is stable, it indicates no leak. If it changes, it indicates a leak. The system uses movable boxes, vacuum pumps, and sensors on the packaging line to automatically detect leaks without manual screening.
14. Method for Detecting Sealing Defects in Flexible Material Packages Using Gas Pressurization and Detection
TS CORP, 2023
Inspecting sealing defects in packages with flexible materials like plastic films and aluminum foil. The method involves placing the package in a station, covering it with a container, filling it with a gas, sucking the package surface, pressing it, and detecting the gas. If sealing is good, no gas enters. If defective, gas enters and is pushed out during pressing.
15. Packaging Bag Airtightness and Pressure Resistance Testing Device with Sliding Piston and Integrated Pressure Sensor
LINYI QIANYUAN PACKAGING PRINTING CO LTD, 2023
Device for testing airtightness and pressure resistance of packaging bags during production. The device has a base, detection cylinder, piston, sliding rod, connecting plate, reset mechanisms, pressure sensor, placement plate, moving plate, vertical bar, fixed rod, pressing plate, and driving mechanism. The piston slides in the cylinder and the sliding rod extends below. The cylinder has a screen with a pressure sensor. The moving plate slides on the cylinder wall and is connected to the vertical bar. The fixed rod has the pressing plate. The driving mechanism moves the plate to compress the bag against the sensor. This allows testing airtightness and pressure resistance simultaneously.
16. Inspection Apparatus with Force-Responsive Pressing Section for Leakage Detection in Packages
AZBIL CO LTD, 2022
An inspection apparatus for accurately determining leakage of filling in packages without using odor. The apparatus uses a pressing section that moves into contact with the package to measure the pressing force. By measuring the force required to seal the package, it can detect if the filling is leaking. This allows precise detection of package sealing integrity without relying on odor.
17. Inline Vacuum Package Leak Test System with Dimensional Change Detection and Sensor-Based Evaluation
MB BERGMANN GMBH, 2022
Leak testing of vacuum packaged products using a test station and method that can automatically check the tightness of vacuum packages in an inline production process. The test involves exposing the packages to a reduced test pressure, detecting any dimensional changes compared to the reference pressure, and using sensors to identify leaky packages. The test station has a chamber, vacuum generation, sensor system, evaluation unit, and control. It can check multiple packages at once. The method involves exposing packs to reduced test pressure, detecting dimensional changes, and comparing to identify leaks.
18. Sealing Detection Device with Push Rod and Force Sensor for Leak Identification in Food Packaging
SHANTOU KUNSHIDA FOOD PACKAGING MACHINERY CO LTD, Shantou Kunshida Food Packaging Machinery Co., Ltd., 2022
A compact and efficient sealing detection device for food packaging that can quickly and easily detect leaks in sealed packaging. The device has a base with a support leg, an extrusion assembly with a push rod, spring, plate, block, and sensor, and an extrusion plate. The push rod extends from the support into the packaging to extrude the contents. The spring compresses as the contents push back. The sensor measures the force to detect leakage.
19. Sealing Detection Device with Adjustable Track-Mounted Plate and Pressure Sensor for Bag Leak Assessment
DANGCHENG TECH SHANGHAI CO LTD, 2022
A method for detecting the tightness of storage bags or stirring bags using a custom sealing detection device. The device has a movable plate that slides on a track frame. A pressure sensor is mounted on the plate facing the bag. The plate can be fixed at different positions on the track to accommodate bags of different sizes. By filling the bag with gas and monitoring the internal pressure over time, leaks can be detected. If a leak is found, a vent hole in the plate allows the gas to escape.
20. Vacuum Chamber with Negative Pressure System for Leakage Detection in Soft Medical Packaging
Xi'an Jieyi Electronic Technology Co., Ltd., 2022
Device for sampling leakage in soft medical packaging like infusion bags, syringes, etc. to test their seals. The device uses a vacuum pump to create negative pressure inside a chamber. Soft packages are placed inside the chamber and sealed. The vacuum is applied to draw air out of the packages through their seals. Leaks will allow air to enter the chamber and be detected.
21. Device with Motorized Lifting Mechanism for Pressure Sensor Alignment in Plastic Packaging Bag Sealing Airtightness Testing
JIANGSU HONGHAO PACKAGING CO LTD, 2022
Flexible and efficient device for testing the sealing air tightness of plastic packaging bags. It uses a moving assembly with a motorized lifting mechanism to move a pressure sensor over the bag. This allows the sensor to be pressed against the bag without the bag slipping, preventing water droplets from forming. The bag can also be fixed in place to prevent sliding. The flexible moving assembly provides flexibility in detection compared to fixed devices.
22. Apparatus and System for Vacuum-Based Inspection of Flexible Packages with Pressure Monitoring and Robotic Automation
DACHI SRL, 2022
An apparatus, plant, and method for inspecting flexible packages like food and pharmaceutical products for defects like leaks. The inspection involves placing a package sample in a chamber, creating a vacuum, and monitoring pressure changes. If the chamber pressure remains normal after vacuum, it indicates the package has minimal leaks. The method can be automated with robots to pick packages and a sliding chamber to avoid pressure differences. The apparatus has sensors, transducers, and encoders to measure chamber pressure, displacements, and deformations.
23. Automated Air Leak Detection Device with Slanted Groove and Sliding Plate Mechanism for Sealed Packaging Bags
SHANDONG GUANGYUAN PHARMACEUTICALS TECHNOLOGY CO LTD, Shandong Guangyuan Pharmaceutical Technology Co., Ltd., Shandong Jinzhuji Pharmaceutical Co., Ltd., 2022
An automated device to check for air leaks in sealed packaging bags after sealing. The device has a slanted groove with an open top and an air blower attached. A sliding plate covers the groove when sealed. If the bag leaks, air will enter the groove during sealing and be blown out by the blower. This opens the groove cover and activates collection mechanisms to catch leaking products.
24. Device and Method for Evaluating Container Sealing Integrity via Vacuum Decay Rate Measurement
SICHUAN PROVINCE INSTITUTE OF DRUG INSPECTION SICHUAN PROVINCE MEDICAL INSTR DETECTION CENTER, 2022
Testing device and method for the tightness of rigid packaging containers like vials with vacuum levels, like for freeze-dried drugs, that can quickly and easily evaluate sealing integrity using vacuum decay. The method involves measuring the rate of air entering the container over time as vacuum decreases during storage. This rate is compared to a threshold that can affect drug quality to assess container tightness. The threshold is calculated based on the maximum allowable leakage rate to maintain vacuum above a level needed for drug stability during shelf life.
25. Packaging Bag Air Tightness Detection Device with Inflatable Head and Clamping Assembly
FUGANG INDUSTRIAL TESTING SERVICE CO LTD, 苏州富港工业检测技术有限公司, 2022
Air tightness detection device for packaging bags that allows rapid and automated testing of bag sealing integrity. The device has a clamping assembly to secure the bag being tested. Inside the bag, an inflatable head with an air pressure sensor is connected to a pump via a sealed tube. The pump inflates the head inside the sealed bag to detect if any air leaks. A solenoid valve controls the pump. This allows automated air tightness testing of bags without water immersion or manual inflation.
26. Multi-Chamber Vacuum Sealing Device with Rotating Shaft for Air Tightness Detection in Flexible Packaging
ZHI JIANG, 2022
Ultra-precision air tightness detection device for soft bags and special-shaped packaging that enables high accuracy air tightness testing of flexible packaging bags. The device uses multiple vacuum chambers with sensors, pneumatic and vacuum valves, and a rotating shaft to tightly seal and test the bags. An industrial computer and data acquisition board process the vacuum pressure readings. This allows precise detection of very small air leaks in flexible packaging that cannot be detected by traditional methods.
27. Conveyor-Based Leak Detection System with Air Extraction Box and Pump
Shenzhen Bosai Electronics Co., Ltd., 2022
Automatic product packaging tightness inspection system that uses an air extraction box and pump to detect leaks in sealed packages. The system has a conveyor belt with an air extraction box that removes air from around the product. If the packaging has gaps, air will be evacuated, causing the package to deflate. This allows automated detection of leaks without manual inspection. Products with gaps are separated and collected.
28. Adjustable Airtightness Testing Device with Movable Plate for Variable Size Food Packaging Bags
Sichuan Gushuo New Materials Co., Ltd., 2021
Airtightness testing device for food packaging bags that allows efficient testing of bags of different sizes. The device has a fixed frame with a movable plate that can be adjusted to grip bags of varying sizes. When tested, the plate moves into a water tank containing a submerged box. An air cylinder expands the bag, forcing water into the box. Bubbles in the water indicate leakage. The device enables bag testing without needing to swap out different fixtures for bags of different sizes.
29. Rotating Air Nozzle Packaging Seal Test Device with Bag Clamping and Movable Upper Plate
QINGDAO RUIRONG FOOD CO LTD, Qingdao Ruirong Food Co., Ltd., 2021
Packaging seal test device that allows non-destructive testing of sealed bags without the need for immersion in water. The device has a rotating mechanism with an air hose attached that can be blown into the bag to check for leaks. The bag clamping mechanism holds the bag against the rotating air nozzle. The device also has a movable upper plate to store tested bags.
30. Integrated Air Leakage and Compression Strength Testing System for Packaging Bags
苏州市美益添生物科技有限公司, SUZHOU MEIYITIAN BIOTECHNOLOGY CO LTD, 2021
An air leakage detection system for packaging bags of dietary granules that integrates airtightness and compression strength testing to prevent defective bags. The system has a vacuum chamber, air pump, and central controller. The method involves vacuuming the bag to detect leaks, then pressurizing it to check compression strength. This combined test reduces false positives and false negatives compared to separate tests.
31. Vacuum Leak Detection System with Multi-Tank Calibration and Pressure Sensing
CHANGSHA JUNCHENG PACKING MACHINERY CO LTD, Changsha Juncheng Packaging Machinery Co., Ltd., 2021
A vacuum leak detection system for packaging containers that allows automated and efficient detection of vacuum seal quality. The system uses multiple calibration tanks connected to a vacuum pump and a constant pressure tank. Valves allow switching between the tanks. Vacuum pressure sensors measure absolute pressure in each tank. This allows calibration curves to be built for each tank. During production, the container lid is sealed and the container connected to a calibration tank. The vacuum pump is used to create a vacuum, and the pressure measured. It is then compared to the calibration curve for that tank to determine if there is a leak. This provides accurate and consistent vacuum leak detection without manual inspection.
32. Leak Detection Method for Packages Using Pressure-Induced Hydrogen Tracer Gas Sensing
NORDEN MACHINERY AB, 2021
A fast and reliable leak detection method for flexible, soft, and semi-rigid packages like food, toothpaste, and pharmaceutical containers. The method involves applying pressure to the package after filling and sealing, then detecting leaks using a hydrogen gas sensor. The hydrogen is used as a tracer gas inside the package during filling. When a leak is present, hydrogen escapes and the sensor detects a decreasing concentration. By monitoring the slope of the concentration over time, leaks can be detected quickly without waiting for gas diffusion.
33. Packaging Air Tightness Testing Platform with Pressure Sensor and Visual Leakage Observation Mechanism
SHANGHAI YITUO PRECISION MACHINERY CO LTD, Shanghai Yituo Precision Machinery Co., Ltd., 2021
Air tightness testing platform for packaging products that provides visual observation of leakage. It has a bottom plate with a detection box containing a pressure sensor and a connected pump. The box has a left pressure pipe to pump air and a right relief pipe with a valve. A side plate connects to the top plate which has a motor to move a threaded rod into a casing. The top cover has a connecting rod with a sealing pad. This allows tightness testing with visual inspection of air flow through the relief valve and sealing pad during pumping and retraction.
34. Vacuum Chamber Submersion Method for Leak Detection in Flexible Packages
HAUG QUALITY INC, 2021
Nondestructive testing method for flexible packages to detect leaks without breaking the seal. The method involves submerging a filled package in a vacuum chamber with a viewing port. Vacuum is applied to expand the package, and the expansion is measured to hold it constant. Visual inspection inside the chamber detects bubbles or other leak indications. This allows identifying leaks without rupturing the package or needing external pressure.
35. Vacuum Leak Detection System with Constant Pressure and Baffle Valve for Packaging Containers
CHANGSHA JUNCHENG PACKING MACHINERY CO LTD, 2021
Vacuum leak detection system for packaging containers like food and pharmaceutical products to improve quality control. The system uses a vacuum pump and tank to create a constant vacuum pressure. A baffle valve allows the vacuum to be connected to the container lid during testing. If the container has a vacuum leak, air will enter and break the vacuum, indicating a faulty seal. The constant vacuum pressure reduces testing time compared to traditional methods that balance vacuum levels. The system can be integrated into packaging lines for automated leak detection.
36. Leak Detection System for Packaged Products Using Vacuum-Induced Gas Analysis
LAIR LIQUIDE SOCIETE ANONYME POUR LETUDE ET LEXPLOITATION DES PROCEDES GEORGES CLAUDE, 2021
Method and equipment for detecting leaks in packaged products like food items under modified atmospheres without slowing down production rates or requiring destructive testing. The method involves placing the packaged product under vacuum and measuring the leaking gas like CO2. If tracer gas is detected, it indicates a leak. The equipment has a conveyor with a movable cover that lowers over a detected package to create a sealed chamber. Vacuum is applied to the chamber to measure the leaking gas.
37. Packaging Machine Device with Sliding Block Leak Detection and Air Flow Seal Integrity Mechanisms
NANJING XINDONGYI CLOTHING CO LTD, 2021
Packaging machine device for detecting whether a packaging bag and discharge section leak materials during filling and discharging. The device has mechanisms to check for leaks at various points in the filling process. Inside the packaging area, a charging detection mechanism uses a sliding block with a weight inside to detect leakage during filling. The sliding block is guided by fixed metal blocks and moves between a charging groove and a sensitive weight measuring block. The charging groove is connected to the packaging bag transmission groove. A circuit between an electromagnet and power supply moves the sliding block when charging. If the sliding block moves excessively, indicating leakage, an alarm is triggered. Additionally, an air flow detection mechanism inside the packaging bag detects seal integrity.
38. Packaging Airtightness Testing Apparatus with Telescoping Cylinder and Integrated Air Compressor
XINJIANG SHENGLI BIOTECHNOLOGY CO LTD, Xinjiang Shengli Biotechnology Co., Ltd., 2021
Simple and intuitive mechanism for testing the air tightness of food packaging. It has a top plate and a seat below it with a groove. A telescoping cylinder connects the top plate to a box that fits in the groove. The box has an air compressor inside. The cylinder allows the box to move up and down. When the box is pressed against the seat, it seals the groove. The compressor can then fill the box with air. The reaction device on the top of the box shows if there are leaks. If the box moves up and down without leaks, it indicates tight packaging.
39. Negative Pressure Airtightness Detection Device with Vacuum Cylinder Mechanism for Conveyor-Mounted Food Packaging
ZHANFENG LIU, 2021
A negative pressure air tightness detection device for food packaging that can efficiently and accurately test the airtightness of food packaging on assembly lines. The device uses a mechanism where a cylinder seals around the packaging bag and creates a vacuum inside. This allows detection of leaks in the packaging by monitoring pressure changes. The device is mounted on a conveyor belt and can test multiple bags simultaneously. It improves efficiency compared to traditional methods like water immersion.
40. Automated Packaging Bag Defect Detection Device with Squeezing and Positioning Mechanisms
XUZHOU XINFENG PLASTIC IND CO LTD, 2021
Automated device for detecting defects in packaging bags like plastic bags. The device has features like a squeezing mechanism to stretch the bags for inspection, positioning to move the bags to expose defects, and a detection mechanism to check bag pressure. It replaces manual visual inspection with automated detection of leaks and strength issues. The device can be integrated into bag production lines to improve quality control.
41. Chamber-Based Air Leak Detection Device with Piston-Driven Pressure Application and Integrated Conveyor System
CIXI ZONGSHEN PACKAGING CO LTD, 2021
Device to detect air leaks in food packaging bags. The device has a chamber with a piston that seals against the bag interior. A motor moves the piston to apply pressure inside the bag. Sensors detect when pressure drops, indicating an air leak. The device also has a conveyor to move bags through the chamber for testing. It can be integrated into production lines to automatically detect leaky bags.
42. Sequential Vacuum Level Leak Detection Method for Airtightness Inspection in Sealed Containers
TOYOOKI KOGYO KK, 2021
A method to inspect the airtightness of objects enclosed in sealed containers using a simple and inexpensive sensor setup. The method involves reducing the pressure inside the container in steps to progressively higher vacuum levels. Between vacuum levels, the sensor detects leaks and uses the reference value as a baseline. By comparing the leak detection values at different vacuum levels, the airtightness of the enclosed object can be determined.
43. Automated Packaging Tightness Testing Device with Sliding Mechanism and Pressure Sensor-Equipped Splints
MAANSHAN JINWAGE MACHINERY TECH CO LTD, 2020
An automated packaging tightness testing device that can accurately determine if a flexible packaging bag has proper sealing without soaking the bag in water. The device has a sliding mechanism with blocks, rods, and splints that move when the limit plate is pushed. The splints have pressure sensors on their inner walls. When the limit plate slides the splints abut against the bag, and if the pressure sensor readings are stable, it indicates better sealing. This avoids water soaking during testing. The device also has an air inlet pipe that connects to the bag when sliding it, inflating the bag to check for leaks.
44. Sealing Test Device with Pressurization and Acoustic Leak Detection for Pouch Tablet Packaging
HUBEI MINKANG PHARMACEUTICALS CO LTD, Hubei Minkan Pharmaceutical Co., Ltd., 2020
Sealing test device for pouch tablet packaging production lines that provides a more accurate, standardized, and automated method to detect leaks in packaged tablets. The device involves placing a sealed pouch in a test box and quickly pressurizing it to a critical level using a pump. A pressure sensor detects the pressure and a decibel detector monitors for sudden noise increases indicative of air leaks. This allows quantitative detection, eliminates human error, and reduces operator involvement compared to traditional methods.
45. System with Vacuum Chamber and Pressure Sensors for Automated Air Tightness Detection in Flexible Packaging
ANHUI WAYEE SCIENCE & TECH CO LTD, 2020
A system and method for detecting air tightness of flexible packaging that provides a non-destructive, automated, and accurate way to test the seal integrity of flexible packages. The system uses a vacuum chamber, pressure sensors, valves, and a gas storage tank. It steps through evacuating the chamber, then filling it with a known pressure gas to detect large leaks, then back to vacuum for small leaks. This allows differentiating between major and minor leaks. The system eliminates human error and enables automated, rapid, and repeatable air tightness testing.
46. Conveyor-Based Packaging Air Tightness Testing System with Roller Compression and Thickness Sensor
ZHENGZHOU CAST ROBOT TECHNOLOGY LTD, 2020
Online packaging air tightness testing equipment to automatically detect and reject leaky packages in production lines. The equipment uses a compressor above the conveyor belt to squeeze the packages. A thickness sensor measures the compressed thickness. If it falls outside a threshold, a rejection device kicks out the leaky package using an air nozzle. The compressor has multiple rollers below the belt to compress the packages. The thickness sensor is mounted on the lower roller.
47. Powder Packaging Machine with Integrated Air Leak Detection and Rejection System
ZHOU BIN-LONG, 2020
Fully automatic powder packaging machine with air leak testing to ensure sealed bags prevent moisture damage. The machine has a leak detection box connected to the packaging head. After filling, bags go into the box for air tightness testing. If leakage is detected, bags are diverted to an opening where contents spill out. This prevents dampening and spoilage of powdery products by ensuring sealed bags. The box has an air inlet, outlet, and bag inflation port. When bags are fully sealed, the inflated bag size is compared to a threshold. If larger, it means internal air leaked and the bag is rejected.
48. Sealed Chamber Leak Detection Device with Volume Change Sensor and Adjustable Positioning Mechanism
Gaolier Packaging Co., Ltd., GOGLIO PACKAGING CO LTD, 2020
A packaging bag leak detection device to automatically test air tightness of bags without water immersion. The device has a sealed chamber that is inflated to fill with air. If the bag leaks, the chamber volume changes. A sensor monitors the level. If it fluctuates, it indicates the bag leaks. The chamber can be moved, raised/lowered, and the bag inserted/removed using mechanisms. A controller coordinates the movements.
49. Airtightness Testing Device with Water Tank Level Sensor and Air Supply Pressure Control
SHANGHAI CUSTOMS INDUSTRIAL PRODUCTS AND RAW MATERIAL DETECTION TECHNOLOGY CENTER, 上海海关工业品与原材料检测技术中心, 2019
A device for accurately testing the airtightness of packaging containers. The device has a water tank, an air supply line, and a controller. The water tank has a level sensor and the controller controls the water pump based on the level. The air supply line has a pressure sensor and the controller adjusts the valve based on the pressure. This allows precise control over the water and air pressures in the container during testing. It provides a more accurate and reliable test compared to methods like soapy water that can miss leaks.
50. Vacuum Decay Leak Testing System with Delayed Chamber Isolation for Sealed Containers
PACKAGING TECH & INSPECTION LLC, 2019
Dynamic vacuum decay leak testing for sealed containers like vials, syringes, and ampoules to improve detection of sub-visible leaks. The testing involves pulling vacuum on the container in a chamber and monitoring vacuum decay. But instead of stopping when target vacuum is reached, a timer is initiated when a threshold vacuum is reached. The vacuum source is isolated after the timer expires. This delays chamber isolation until some air is evacuated to prevent leakless containers from being falsely passed.
Get Full Report
Access our comprehensive collection of 76 documents related to this technology
