Sterilization in Medical Packaging
Medical device sterilization requires complete elimination of microorganisms while preserving package and product integrity. Current methods face challenges with penetration depth, material compatibility, and process validation—especially for complex geometries where sterilant coverage may be incomplete or where temperatures above 50°C can damage sensitive components.
The fundamental challenge lies in achieving sterility assurance levels of 10^-6 while maintaining material properties and avoiding toxic residuals.
This page brings together solutions from recent research—including atmospheric pressure plasma systems, hybrid approaches combining hydrogen peroxide with UV or ozone, controlled vapor phase treatments, and targeted plasma activation methods. These and other approaches focus on practical implementation in medical manufacturing while meeting regulatory requirements for sterility validation.
1. Cold Plasma Sterilization Device with Parameter Adjustment Based on Object Surface Area and Volume
Jiangsu Rongzheng Pharmaceutical Technology Co., Ltd., JIANGSU RONGZHENG MEDICAL TECHNOLOGY CO LTD, 2023
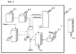
Cold plasma sterilization device for precisely sterilizing instruments and consumables by optimizing the plasma exposure parameters based on the surface area and volume of the object being sterilized. A controller determines the plasma release time, object rotation speed, and other parameters based on the object's exposed surface area and volume to provide targeted and effective sterilization. This addresses issues with overall disinfection not fully reaching contaminated areas. The device can be used for items like test tubes where fixed-point sterilization can be performed by moving the plasma nozzle to the specific location.
2. Tunnel-Type Integrated Disinfection Machine with UV Sterilization Optical Module and Mesh Chain Conveyor System
DAINA ZHIZAO HEBEI IND EQUIPMENT CO LTD, 2023
A tunnel-type integrated disinfection machine for rapidly and efficiently sterilizing large quantities of packages. The machine has a frame covered by a shell with an optical module containing a sterilization device at the top and bottom. A conveyor system with a mesh chain network surrounds the sterilization area. The conveyor uses a rotating front spoke to drive the chain and belt, which rotates the rear spoke to move packages through the sterilization zone. The optical module provides UV disinfection.
3. Enclosed Conveyor-Based Gas Sterilization System with Redundant Drive Mechanism
SICHUAN UNCLEPOP FOODSTUFF IND CO LTD, SICHUAN UNCLEPOP FOODSTUFF INDUSTRIAL CO LTD, 2023
Gas sterilization system for microbial disinfection and sterilization of products like food, medicines, medical devices, etc. The system uses a conveyor belt in an enclosed chamber with a sterilization gas inlet. The products move through the chamber on the belt while being exposed to the sterilizing gas. This provides a more cost-effective alternative to full workshop sterilization by concentrating sterilization to just the product pathway. The conveyor belt and gas inlet are enclosed to prevent contamination. The conveyor motion can be kept continuous even if one drive motor fails. This allows quick motor swaps for maintenance without shutting down the system.
4. Low-Temperature Plasma Fusion Ultraviolet Sterilization Device with Integrated Plasma Airflow and 222nm UV Light System
NANJING AGRICULTURAL UNIVERSITY, 2023
Low-temperature plasma fusion ultraviolet sterilization device that uses a combination of low-temperature plasma and 222nm ultraviolet light to kill pathogenic bacteria and coronaviruses. The device has a plasma airflow generator, an ultraviolet generator, and an airflow circulation system. The plasma airflow is fused with 222nm UV light to create a sterilizing airflow that is sprayed onto surfaces to kill pathogens. The airflow is recycled through the system to improve sterilization efficiency and reduce ozone emission.
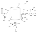
5. Packaging Machine with Dual-Temperature Hydrogen Peroxide Gas Sterilization Sections
TETRA LAVAL HOLDINGS & FINANCE, 2023
Packaging machine for sterilizing ready-to-fill packages using hydrogen peroxide gas. The machine has sections for supplying and holding the packages. In the supply section, packages are kept until condensation occurs on cold areas below the dew point. In the holding section, packages are kept until the gas treats hotter areas above the dew point. This double action sterilization ensures thorough treatment of all package areas regardless of temperature.
6. Plasma-Activated Water Vapor Sterilization System with Integrated or External Configuration
LOEWENSTEIN MEDICAL TECH S A, 2023
Sterilization system for medical devices like ventilators using plasma-activated water vapor. The system has a sterilization device with a plasma generator and water source to create the vapor. The vapor is conducted through the medical device like a ventilator's gas pass to sterilize it. The vapor can be pulsed or continuous. It flows through the entire pass, then waste treatment. The system can be integrated into the device or external.
7. Ethylene Oxide Sterilization Device with Active Ventilation System for Residual Gas Extraction
JIANGSU SHENLI MEDICAL PRODUCTION CO LTD, 2023
Ethylene oxide sterilization device with improved operator safety and efficiency by actively ventilating the sterilization cabinet to reduce ethylene oxide residuals. The device has a ventilation system with an exhaust fan, ducting, and intake near the cabinet door. After sterilization, the fan is started and the door opened to draw out residual ethylene oxide before the operator enters. This reduces exposure compared to natural ventilation.
8. Bag Making Machine with Integrated Movable UV Lamp Box and Cooling System
JIANGSU QIANTONG BEAM ENERGY TECH CO LTD, 2023
A bag making machine with integrated UV sterilization to avoid the need for separate sterilizers. The machine has a sterilization mechanism with a movable UV lamp box that can be lowered onto the bags. Ice water is pumped into the lamp box to cool the lamps during operation. This allows continuous UV sterilization without overheating the lamps. After sterilization, the ice water is drained and replaced. The lamp box is connected to the bag feeding mechanism so it moves with the bags. This provides in-line sterilization after bag making.
9. Ethylene Oxide Sterilization Device with Independent Multi-Chamber Configuration and Separate Gas Management System
HUBEI XIANLIN CHEMICAL CO LTD, 2023
Ethylene oxide medical instrument sterilization device with multiple independent sterilization chambers to improve sterilization efficiency and reduce cross-contamination. The device has a central sterilizer connected to multiple removable sterilization boxes and absorption boxes. The sterilization boxes contain the instruments, exhaust ethylene oxide gas into the absorption boxes, and connect via separate ethylene oxide pipelines. This allows smaller, uniformly heated chambers, matched to instrument loads, and independent gas management.
10. Packaging Product Sterilization Device with Separate UV and Spray Sterilization Chamber and Filtered Drying Chamber
DALIAN YIPIN PACKAGING PRODUCTS CO LTD, 2022
Packaging product sterilization device with features to improve sterilization and drying efficiency while preventing contamination. The device has separate sterilization and drying chambers connected by feeding parts. The sterilization chamber uses UV lamps and spray sterilization. The drying chamber has a blower fan with activated carbon filter to remove residue and bacteria. This prevents contamination from flowing into the drying chamber. The feeding parts automate loading and unloading without manual intervention.
11. Conveyor-Based Chlorine Dioxide Gas and Mist Sterilization System with Sealed Chamber and Adjustable Speed Control
SHANDONG DINGNUO DISINFECTION SERVICE CO LTD, 2022
A chlorine dioxide pass-through sterilization system for sterilizing packages without contact. It uses a conveyor belt to move packages through a sealed chamber filled with chlorine dioxide gas. The chlorine dioxide is generated by mixing chemicals in a tank and pumping it into the chamber. Sensors monitor gas concentration and pressure. The system can also have spray heads inside the chamber to disinfect packages using chlorine dioxide mist. The conveyor speed can be adjusted based on package types. The sealed chamber prevents environmental contamination and exposure.
12. Vacuum-Assisted Disinfection Method for Sealed Containers with Direct Disinfectant Injection and Plasma Discharge
Plus Corporation, PLASMAPP CO LTD, 2022
Rapid and safe disinfection method for sealed containers like bags using vacuum technology. The method involves injecting a disinfectant directly into the sealed bag instead of using a permeable membrane. The bag is loaded into a vacuum chamber, evacuated, disinfectant injected, and then vented to atmospheric pressure. Plasma discharge inside the bag can remove residual disinfectant. This allows efficient sterilization without long decontamination times or using large amounts of disinfectant.
13. Ethylene Oxide Sterilizer with Telescoping Cover and Internal Gas Delivery System
JIAXING METHOD IS SPECIAL MECHANICAL EQUIPMENT LIMITED CO, 2022
A penetrating ethylene oxide sterilizer that allows sterilization of enclosed objects without requiring large volumes of sterilization chamber space. The sterilizer has a main body, a telescoping cover, and a delivery pipe. Articles are placed on a platform inside the main body. The telescoping cover seals the articles. Ethylene oxide gas is delivered through the pipe to sterilize the articles from inside. The telescoping cover compresses to force the gas into the articles. This penetrating sterilization method improves sterilization efficiency compared to gas filling large chambers.
14. Plasma Vacuum Sterilization Method Utilizing Hydrogen Peroxide and Organic Acid Composition with Variable Concentrations
2022
Plasma vacuum sterilization method for medical devices that uses a composition of hydrogen peroxide and an organic acid like lactic, citric, or acetic acid as the sterilizing agent. The hydrogen peroxide concentration is reduced to 20-45% and the organic acid concentration is 12.5-20% when the hydrogen peroxide is 20-45%, or 1-20% when the hydrogen peroxide is 45-50%. This reduces chemical load on device components while increasing bactericidal activity. Plasma activation oxidizes any remaining hydrogen peroxide and peracids.
15. Ethylene Oxide Sterilization System with Staggered Partition Gas Flow and Integrated Temperature and Humidity Control
HUBEI LONGSHENG TAIKE MEDICAL LIMITED BY SHARE LTD, HUBEI LONGSHENG TAIKE MEDICAL LTD BY SHARE LTD, 2021
A medical device sterilization system using ethylene oxide that provides better sterilization conditions for medical products like non-woven fabrics. The system has features like exhausting the cabinet before sterilization, maintaining controlled temperature and humidity, negative pressure operation, and post-sterilization gas processing to prevent pollution. The cabinet has staggered partitions with fans for gas flow, a heating wire for temperature control, and an atomizer for humidity control.
16. Plasma-Based Medical Device Sterilization System with Dry Ionized Gas Chamber
UNIV SCIENCE & TECHNOLOGY CHINA, UNIVERSITY OF SCIENCE AND TECHNOLOGY OF CHINA, 2021
Plasma medical device disinfection and sterilization device using dry plasma instead of wet steam to prevent corrosion and provide complete disinfection. The device has a chamber with electrodes, compressed air is introduced and ionized into plasma at high voltage. The plasma is blown into a sterilization chamber to disinfect and sterilize medical equipment. The sterilized plasma is exhausted to balance pressure. This provides dry disinfection that avoids corrosion issues compared to wet steam sterilization.
17. Sealing and Sterilization Device with Pre-Treatment Air Expulsion and UV Chamber
SUZHOU NEW AREA MINGJI MACROMOLECULE MEDICAL APPARATUS CO LTD, 2021
A sealing and sterilization device for nursing packs that improves sterilization effectiveness by pretreating the packs before sterilization to reduce bacteria levels. The device has a conveyor belt that moves packs into a sterilization chamber with a UV lamp. An exhaust cylinder squeezes the packs to expel air before sealing and sterilization. This reduces bacteria inside the packs before UV sterilization, improving sterilization effectiveness.
18. Sterilization Device with In-situ Hydrogen Peroxide Gas Generation and Negative Pressure Airlocks
TRUKING TECHNOLOGY LTD, 2021
A sterilization device for pre-filling and unpacking of products like pharmaceuticals or food items in aseptic conditions. The device uses hydrogen peroxide gas generated inside an isolator to sterilize the products as they move on a conveyor belt between inlet and outlet chambers. Negative pressure airlocks prevent contamination between the chambers. A hydrogen peroxide concentration probe alarms if levels drop, stopping the conveyor. This ensures continuous sterilization and prevents contamination during product handling.
19. Sterilization Device with Closed Circulation Loop for Uniform Gas Distribution
LAOKEN MEDICAL TECH CO LTD, LAOKEN MEDICAL TECHNOLOGY CO LTD, 2021
Sterilization device that uses circulating airflow to improve sterilization uniformity and effectiveness compared to static gas methods. The device has a closed circulation loop connecting the sterilization chamber, inlet pipe, pump, and outlet pipe. This creates a continuous airflow through the chamber by pumping gas from the top to bottom. This ensures uniform concentration and temperature of sterilizing gases like hydrogen peroxide and ozone throughout the chamber. The circulating airflow better kills bacteria on medical equipment compared to static sterilization.
20. Atmospheric Pressure Plasma Sterilization Device with Integrated Electrode Functionality
JIANGSU BONSS MEDICAL TECH CO LTD, JIANGSU BONSS MEDICAL TECHNOLOGY CO LTD, 2021
Atmospheric pressure low-temperature plasma rapid sterilization device that uses the instrument being sterilized as an electrode. The device allows rapid sterilization of sensitive medical devices without damaging them or requiring long cycle times. The sterilization chamber has an air inlet and an exhaust port. A power output end penetrates through the exhaust port. High-amplitude high-frequency pulsed DC voltage applied to the electrodes inside the chamber ionizes the gas (like ammonia) into a low-temperature plasma. This plasma breaks down charged particles and generates active oxygen to kill microorganisms. The device can sterilize quickly and efficiently at atmospheric pressure without pre-vacuum treatment.
21. Hydrogen Peroxide Sterilizer with Direct Gas Injection and Integrated Vacuum System
SHANDONG SHINVA MED INSTR CO, SHANDONG SHINVA MEDICAL INSTRUMENT CO LTD, 2020
A hydrogen peroxide sterilizer for medical devices that improves sterilization efficiency and reduces costs by directly gassing hydrogen peroxide into the sterilization chamber instead of using bags. The sterilizer has a vacuum system to extract air before and after sterilization, a hydrogen peroxide addition system to fill the chamber with gas, and a sterilization box inside the main housing to place the devices. This allows sterilization without bags, as the hydrogen peroxide gas penetrates the devices better than liquids. After sterilization, the residual gas is vacuumed. The sterilization box can be reused after cleaning, as it doubles as aseptic packaging.
22. Plasma-Based Sterilization System with Dielectric Gap and Controlled Precursor Gas Flow
3M INNOVATIVE PROPERTIES CO, 2020
Sterilization system using plasma to kill microbes and dry contaminated articles. The system has a plasma generator with electrodes, shield, and dielectric gap. An electric power source applies high voltage between electrodes. A sterilizing gas precursor containing water, oxygen, and nitrogen is fed to the gap. Plasma forms with acidic/oxidizing substances from the precursor. The precursor flow is kept below 150C on the shield. The plasma sterilizes contaminated articles by exposure. Dry gas flow dries articles. The system can have a conveyor to move articles through.
23. Packaging with Integrated Reactant System for In-Situ Sterilizing Gas Generation
CRYOVAC INC, 2020
Self-sterilizing packaging that can sterilize products without the need for external sterilization media or specialized equipment. The packaging contains reactants and co-reactants that generate sterilizing gas inside the package when sealed. This allows sterilization of products without external sterilization chambers or gas supply systems. The packaging has an inner permeable layer, outer impermeable layer, and interstitial space between them. The reactants combine to produce sterilizing gas inside the package. The packaging can be sealed around a product, left for the sterilization time, then opened to retrieve the sterilized product.
24. Hydrogen Peroxide Sterilizer with Integrated Vacuum System for Direct Chamber Sterilization
SHINVA MEDICAL INSTRUMENT CO LTD, 2020
Hydrogen peroxide sterilizer for medical devices that eliminates the need for disposable packaging during sterilization. The sterilizer has a sterilization chamber connected to a vacuum system and a hydrogen peroxide addition system. Before sterilization, the chamber and housing are vacuumed to remove air. Hydrogen peroxide is added to the chamber to sterilize the devices. After the sterilization time, the chamber is vacuumed again to remove residual hydrogen peroxide. This allows direct gas sterilization without packaging that could impede hydrogen peroxide penetration. The sterilized devices can then be stored and transported in the chamber for aseptic handling.
25. Sliding Chamber Sterilization Device with Dual-Door Ethylene Oxide Management System
CHANGZHOU HUALIAN HEALTH DRESSING CO LTD, 2020
Sterilization device for band-aids that uses ethylene oxide gas to sterilize without leaks or residual toxicity. The device has a sliding chamber that can move between two doors. One door allows ethylene oxide to be introduced for sterilization, while the other door allows the gas to be exhausted after sterilization. This prevents gas leaks during sterilization and prevents residual gas exposure during removal.
26. Sterilization Device with Partitioned Gasification Zone and Inlet Ports for Hydrogen Peroxide Distribution
TETRA LAVAL HOLDINGS & FINANCE SA, 2019
Device and method for sterilizing packaging like cardboard bottles using hydrogen peroxide gas. The device has a gasification zone with separate subzones divided by partitions. Packages are conveyed through the zone and exposed to hydrogen peroxide. Inlet ports on the partitions provide hydrogen peroxide flow into each subzone. This splits the zone into smaller areas with stable, high hydrogen peroxide concentrations. This prevents emissions while achieving sterilization inside and outside the packages. The device also has an outlet to evacuate hydrogen peroxide.
27. Ethylene Oxide Sterilization Device with Residual Gas Removal System Using Water Absorption
Henan Honghui Medical Technology Co., Ltd., 2019
Ethylene oxide sterilization device with an efficient system for removing residual ethylene oxide inside the sterilization box. The device has a sterilization box connected to an ethylene oxide gas tank via a tube. The box also connects to an air intake, filters, and an air pump. After sterilization, an air pump pulls air through the filters and exhausts it into a collection tank filled with water. The water absorbs residual ethylene oxide before the exhaust gas is released. This prevents contamination from escaping the sterilization chamber.
28. Ethylene Oxide Sterilization Process Utilizing Nitrogen for Oxygen Displacement and Gas Distribution
CHANGSHU ROZER STERILIZATION TECH CO LTD, 2019
A safe and efficient ethylene oxide sterilization process for medical devices that prevents explosions and gas stratification issues. The process involves using nitrogen to make the sterilization chamber safe by replacing oxygen before sterilization to keep ethylene oxide levels below explosive limits. Nitrogen is also used to evenly distribute the ethylene oxide gas during sterilization to prevent stratification. After sterilization, nitrogen and air purges remove residual ethylene oxide to prevent volatilization and explosions when opening the chamber.
29. Ethylene Oxide Sterilization Pretreatment Process with Sequential Oxygen Displacement and Nitrogen Inerting
CHANGSHU RONGRUI STERILIZATION TECHNOLOGY CO LTD, 2019
Explosion-proof ethylene oxide sterilization pretreatment process for medical devices that avoids explosions during sterilization with ethylene oxide (EO), which is a flammable and explosive gas. The process involves preheating the devices, evacuating the sterilization chamber, replacing oxygen with nitrogen twice, humidifying, moisturizing, dosing with EO, and then filling with nitrogen before sterilization. This ensures the EO concentration stays below explosive levels.
30. Sterilization Apparatus with Reactive Oxygen Irradiation and Humidity Control Mechanism
SUNTORY HOLDINGS LTD, 2018
Sterilization method using reactive oxygen to improve sterilization effectiveness without using persistent sterilizing agents like hydrogen peroxide or hypochlorous acid. The method involves irradiating reactive oxygen onto objects to be sterilized under specific conditions like presence of an oxidizing gas, relative humidity of 50-100%, or absolute humidity of 14.1-25.0 g/m3. This enhances sterilization by increasing retention of the reactive oxygen on surfaces due to condensation. The sterilization apparatus has a reactive oxygen irradiation unit with an oxidizing gas inlet to sterilize objects in the presence of the oxidizing gas. It also has a humidity adjustment unit to maintain desired relative or absolute humidity during sterilization.
31. Ethylene Oxide Sterilizer with Box-Shaped Chamber and Integrated Systems for Vacuum, Thermal Circulation, and Residual Gas Treatment
Anxin Biotechnology Co., Ltd., 2018
An ethylene oxide sterilizer with improved efficiency and performance for sterilizing medical devices and equipment. The sterilizer has features like a box-shaped chamber, vacuum system, thermal circulation system, heating system, door, residual gas treatment system, and electrical control system. The chamber has alarms, temperature sensors, vacuum ports, and sampling ports. The vacuum system removes air before sterilization. The thermal circulation system provides controlled heating. The door seals and inflates to prevent leakage. The residual gas treatment system removes residual ethylene oxide. The electrical control system manages the sterilization process.
32. Nitrogen Dioxide Gas Sterilizer with On-Demand Generation and Integrated Vacuum Exhaust System
SHANGHAI YANFU PHARMACEUTICAL SYSTEM ENGINEERING CO LTD, Shanghai Yanfu Pharmaceutical Systems Engineering Co., Ltd., 2017
Nitrogen dioxide gas sterilizer for prefilled injections that provides aseptic sterilization without heat, radiation or chemicals. The sterilizer uses nitrogen dioxide gas generated on demand and filled into the sterilization chamber containing the prefilled syringes. Nitrogen dioxide is highly oxidizing and sterilizing. The gas is generated by heating nitrogen and oxygen in separate chambers, metering the gases, and supplying them to the sterilization chamber. A mass flow meter and pressure sensor monitor the gas flow and concentration. The sterilizer also has a vacuum exhaust system to remove residual nitrogen dioxide after sterilization. This allows sterilization of heat-sensitive drugs and biological products without degradation or contamination.
33. Apparatus and Method for Sterilization Utilizing Plasma-Generated Active Oxygen and Oxidizing Gas
SUNTORY HOLDINGS LTD, 2017
Sterilization method and apparatus using active oxygen generated from plasma in the presence of an oxidizing gas like hydrogen peroxide or peracetic acid. The active oxygen generated from plasma is irradiated onto the object to be sterilized while an oxidizing gas is present. The oxidizing gas enhances the bactericidal action of the active oxygen, likely by generating additional hydroxyl radicals as it decomposes. This increases the amount of active oxygen reaching the object surface to provide more effective sterilization compared to irradiation in air.
34. Sterilization Device with Active Oxygen Irradiation Unit and Nonmetallic Cover Structure
SUNTORY HOLDINGS LTD, 2017
Sterilization device and method using active oxygen to sterilize objects. The device has an active oxygen irradiation unit and a cover structure to control spread of the active oxygen around the object. The method involves irradiating objects with active oxygen, then aging them to complete sterilization. The cover structure helps distribute the active oxygen for better sterilization. Using resin or nonmetallic covers on the irradiation stand also improves sterilization. This is because bacteria on metallic surfaces become resistant to oxygen. By using nonmetallic covers, the bacteria are exposed to higher oxygen levels, leading to better sterilization.
35. Wet Chlorine Dioxide Gas Sterilizer with UV-Activated Generation and Automated Gas Control System
OXY THERAPY INC, 2016
A wet chlorine dioxide gas sterilizer that can quickly and easily sterilize medical devices without vacuum or pressurization. The sterilizer uses a chamber filled with wet chlorine dioxide gas generated by irradiating stabilized chlorine dioxide with UV light. The gas concentration is monitored and controlled during sterilization. Afterwards, activated carbon and filters remove residual gas. This allows sterilization of sensitive devices without high temps/pressure. The sterilizer also automates the process with electronic controls.
36. Vacuum Chamber Sterilization with Sequential Conditioning Agent and Sterilant Injection
TS03 INC, 2016
Sterilization method using sequential addition of conditioning agent and sterilant in a vacuum chamber to achieve complete sterilization. The method involves placing the article in a sealed chamber, applying vacuum, injecting hydrogen peroxide to form free radicals, then introducing a secondary sterilant like ozone to create more radicals. This allows lower sterilant concentrations compared to just hydrogen peroxide or ozone alone. The sequential addition of conditioning agent and sterilant in vacuum enhances sterilization efficiency.
37. Sterilization Method Utilizing Forced Gas Circulation with High-Speed Blower and Pressure Variation
LEADGENEX INC, 2016
Sterilization method using forced gas circulation instead of vacuum pumps or plasma devices to increase efficiency and reduce time. The method involves forming low and high pressure atmospheres in a chamber using a high-speed blower, followed by supplying oxidative gas at each pressure. This creates continuous gas circulation without diffusion limitations. The chamber can have valves, filters, and units like dehumidifiers or oxidative gas decomposers. The method repeats cycles to sterilize objects.
38. Biomedical Packaging with Independently Sealable Sterilization Gas Introduction Channel and Non-Permeable Outer Wall
SARTORIUS STEDIM FMT SAS, 2016
Biomedical packaging for sterilizing contents like medications that can seal the contents for sterilization, prevent contamination, and maintain sterility after sterilization. The packaging has an inner space to contain the sterilizable contents, an outer wall, and a channel for introducing sterilization gas. The channel can be closed independently of the contents introduction port. After sterilization, the channel is sealed and the outer wall sections are closed to prevent gas leakage. This allows sterilizing the contents without permeable walls and then sealing the package to maintain integrity. The sterilization gas introduction channel is controlled separately to enable sterilization without introducing contaminants.
39. Container Sterilization System with Electron Beam and Integrated Gaseous Medium Cooling Mechanism
KRONES AG, 2015
Container sterilization system and method that uses an accelerated electron beam to sterilize the inner walls of containers before filling. The system has a processing head with an exit window, a charge carrier generation source, an accelerator, and a cooling device. The cooling device has a supply port below the window that guides a gaseous medium upward. This cools the window to prevent it from overheating when the electrons exit. The cooling allows high-rate sterilization without damaging the container. The sterilizer is inserted into the container opening and moved inside to sterilize the interior walls.
40. Steam Sterilization Apparatus with Variable Gas Mixture Injection and Pressure Control System
JE IL MACHINE MFG CO LTD, 2015
Steam sterilization apparatus with a gas mixture and control method to prevent damage to medical equipment during sterilization. The apparatus has a chamber for sterilization, a steam supply, a compressed gas supply, temperature sensors, pressure sensors, and a controller. The controller can adjust the steam and gas injection rates to maintain the internal pressure during sterilization. This prevents rupture of sensitive equipment. The method involves injecting steam, then compressing gas to match the internal pressure. The chamber, temperature, and pressure are controlled throughout sterilization.
41. Sterilization Apparatus with Atmospheric Pressure Plasma Generator and Container for Large Articles
GLYNN SHANE, 2015
Sterilization method and apparatus using atmospheric pressure plasma to sterilize articles like medical devices, beds, and surfaces without the need for high temperatures or vacuum chambers. The method involves placing the article in a container, generating oxidizing plasma radicals at atmospheric pressure, and exposing the article to the plasma. The apparatus has a container, plasma generator, and means to provide the plasma to the container. It allows sterilization of articles too large for vacuum chambers, avoids issues with heat and chemicals, and uses atmospheric pressure plasma instead.
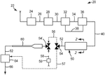
42. Sterilization Apparatus with Combined Hydrogen Peroxide and Ozone Delivery in Vacuum Chamber
KOREA BASIC SCIENCE INSTITUTE, 2012
Medical device sterilization apparatus using hydrogen peroxide and ozone to improve sterilization efficiency and reduce processing time compared to conventional ozone sterilization. The apparatus introduces both hydrogen peroxide and ozone into a vacuum chamber to increase the amount of OH radicals for sterilization. A vacuum pump creates a sterile vacuum in the chamber. Hydrogen peroxide is sprayed into the chamber. Ozone is supplied. The chamber temperature is controlled. This allows uniform diffusion of the hydrogen peroxide and ozone into the medical device to sterilize it.
43. High-Pressure Steam Sterilization Device with Integrated Vacuum, Plasma, and Ozone Systems
2011
High-pressure steam sterilization device for medical equipment that uses a combination of vacuum, low-temperature plasma, ozone, and steam to provide fast and complete sterilization. The device has a chamber with filters, valves, sensors, and pumps to circulate and sterilize the air inside. It can selectively introduce vacuum, plasma, ozone, and steam based on the type of equipment being sterilized. This allows targeted disinfection of hard-to-reach areas and avoids over-sterilization of sensitive materials.
44. Vacuum Chamber Sterilization System with Cold Plasma and Ozone Gas Integration
2011
Vacuum medical sterilization system using cold plasma and ozone gas to disinfect and sterilize medical equipment. The system operates by evacuating the equipment chamber, introducing low temperature plasma and ozone gas, and applying pressure to penetrate hard-to-reach areas. Sensors monitor ozone concentration and chamber pressure. Filters remove impurities and bacteria from intake/outtake air. The system also has a decomposer to decompose ozone before release. A vacuum pump draws air into the chamber. The system connects to a suction unit.
45. Apparatus for Medical Sterilization and Drying with Dual-Stage Low-Temperature Plasma and Integrated Ozone Decomposition System
CHOI EUN KYUNG, 2010
Medical sterilization and drying apparatus using low-temperature plasma to prevent secondary infection in advance by drying, deodorizing, and sterilizing medical equipment, clothes, shoes, firefighting suits, etc. infected with bacteria using a nature-friendly low-temperature plasma. The apparatus has separate primary and secondary air sterilization stages followed by a heating stage for drying. It uses filters, ozone decomposition, UV, and low-temperature plasma to sterilize the air. An ozone generator, anion generator, and low-temperature plasma device sterilize the primary air. The apparatus has a chamber, inflow and outflow paths, filters, ozone decomposition, primary sterilization, pump, secondary sterilization, and heating stages.
46. Apparatus and Method for Sequential Sterilization Using Hydrogen Peroxide and Ozone with Integrated Decomposers
RENOSEM CO LTD, 2009
Method and apparatus for sterilizing medical instruments using a sequence of steps with hydrogen peroxide and ozone to maximize sterilization efficiency, reduce sterilization time, and lower cost compared to existing methods. The steps involve sequentially sterilizing the instruments with ozone, decomposing the ozone, vacuumizing, sterilizing with hydrogen peroxide, decomposing the hydrogen peroxide and ozone, and repeating the sequence as needed. The apparatus has components like an ozone compressor, vacuum accelerator, hydrogen peroxide vaporizer, and decomposers.
47. Plasma-Based Low-Temperature Disinfection Device with Nitrogen-Hydrogen Gas Circulation in Vacuum Chamber
CHNIQUES ELECTRONIQUES SATELEC, 2008
A low-temperature disinfection device for sterilizing medical and dental instruments that uses plasma generated by an electric field in a vacuum chamber. The device circulates a mixture of nitrogen and hydrogen through the vacuum chamber, generates plasma by applying an electric field, and then allows the discharged gas to contact the surfaces of the instruments being sterilized. The discharged gas contains reactive species like nitrogen and hydrogen atoms that can disinfect without damaging sensitive instrument materials. The low-temperature disinfection is achieved by using a vacuum to reduce oxidation risks. The device can also heat the instruments during sterilization using an autoclave or heating elements.
48. Device and Method for Sterilization Using Combined Hydrogen Peroxide, Ozone, and Plasma with Residue Decomposition
MIZUNO AKIRA, 2007
Sterilization method and device using a combination of hydrogen peroxide, ozone, and plasma to sterilize medical instruments and materials without leaving harmful residues. The sterilization process involves supplying hydrogen peroxide and ozone to the chamber, exhausting the gas, and generating plasma to decompose any remaining hydrogen peroxide and ozone. This harmless sterilization approach provides sufficient sterilization without residual gases or long aeration times.
49. Sterilization Method Utilizing Low-Temperature Water Vapor Plasma at Sub-100 Torr Pressure
ABTOX INC, 2007
Sterilization method using low temperature plasmas generated from water vapor to sterilize articles without using hazardous gases or high temperatures. The plasmas are generated at low pressures below 100 torr and temperatures below 100°C. The plasmas effectively sterilize the articles by exposing them to neutral active species derived from water vapor. The low temperature and pressure conditions allow sterilization without damaging the articles or packaging. The exhaust gases after sterilization contain only water vapor and trace impurities. This addresses safety concerns with hazardous sterilization gases.
50. Hydrogen Peroxide Plasma Sterilization Process with Reduced Chamber Temperature for Sensitive Medical Products
AVENTIS BEHRING GMBH, 2005
A modified hydrogen peroxide plasma sterilization process that allows sensitive medical products to be sterilized in their final packaging without degradation. The key innovation is maintaining the chamber temperature below 39°C during the entire process, compared to the typical 45°C used in existing plasma sterilization systems. This lower temperature prevents damage to temperature-sensitive products like biological drugs when sterilizing them in their final packaging. The modified process involves injecting hydrogen peroxide plasma into the chamber at reduced temperatures and shorter durations compared to conventional plasma sterilization. It allows effective sterilization of temperature-sensitive products without degradation or loss of activity.
Get Full Report
Access our comprehensive collection of 64 documents related to this technology
