Resealable Features in Package Design
Modern packaging demands increasingly sophisticated resealable features, with field tests showing that poorly designed closures can lead to up to 40% product waste in consumer applications. Current sealing mechanisms must maintain barrier properties while withstanding dozens of open-close cycles, with some applications requiring hermetic seals capable of maintaining pressures up to 15 psi.
The fundamental challenge lies in balancing seal integrity and ease of use while minimizing material complexity and manufacturing costs.
This page brings together solutions from recent research—including dual-adhesive layer systems, integrated strap-based mechanisms, and innovative tear-strip designs. These and other approaches focus on practical implementations that can be scaled across different packaging formats while maintaining product freshness and consumer usability.
1. Reusable Packaging Bag with Integrated Strap-Based Self-Sealing Mechanism and Tear Strip
Chengdu Bieyang Technology Co., Ltd., 2024
Self-sealing reusable packaging bag with an integrated sealing feature that allows the user to seal the bag without external tools. The bag has a sealing unit with a strap, a tear strip, and an opening. The tear strip can be torn to separate the strap from the bag body. The strap can then be wrapped around the bag opening and fixed to seal the bag. This eliminates the need for external sealing strips or tools. The bag also has a cover over the opening to improve aesthetics and guide the tear strip separation.
2. Vacuum Packaging Bag with Manual Tear-Open and Resealable Closing System
EUROBAG & FILM S L, 2024
Vacuum packaging bag with a closing system that allows manual opening while maintaining the integrity of the bag, enabling temporary use of the packaged product. The bag has at least two rectangular sheets with three heat-sealed sides and an open side for product introduction. The closing system involves a unique configuration of the open side that allows easy manual tearing when pulling in opposite directions. This avoids the need for notches or sealing failures that cause irregular tearing. The bag can be resealed after partial consumption without waste or changing containers.
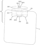
3. Reusable Paper Bag with Integrated Communication Holes and Adhesive-Ended Sealing Strip
HORIHATA MANUFACTURING CO LTD, 2024
A reusable paper bag with a seal that allows neat and reliable sealing of the opening without the need for plastic. The bag has communication holes on the left and right sides of the opening that connect the front and rear sections. A rectangular sealing strip can be inserted into these holes to close the bag. The strip has adhesive on the ends to attach to the bag. A message card can be integrated or attached to the strip in the center. This allows sealing with one strip instead of folding and taping the opening. The strip, made of a slightly thicker paper, provides rigidity to seal the bag.
4. Resealable Food Packaging Bag with Foldable Flap Section and Seal Tab
Suzhou Zhengcheng Packaging Equipment Co., Ltd., 2024
A resealable food packaging bag that allows convenient and effective sealing of both pre-packaged and bulk foods. The bag has a main body section with a mouth opening, a resealable seal tab on the mouth, and a foldable flap section. After opening the bag, the flap section can be folded over and sealed to reclose the bag around the resealable tab. This prevents moisture and deterioration of remaining food inside.
5. Food Container with Sealing Film Featuring Dual Adhesive Layers and Integrated Ventilation System
PONOPACK CO LTD, 2024
Convenient food container with a sealing film that allows easy opening and ventilation. The container has a body with a food space and an opening covered by a sealing film. The sealing film has an adhesive layer over the opening, with separate adhesive layers on the right and left edges attached to the container edges. This creates a sealed container with vent holes on the sides. The adhesive layers prevent the film from sealing completely, allowing air release. An open seam connects the bottom faces of the adhesive layers and container edges, facilitating easy removal of the sealing film.
6. Package with Removable Cover Sheet Featuring Selective Adhesive and Non-Adhesive Zones
KAO CORP, 2024
A package design with a removable cover sheet that attaches using adhesive in one area and stays non-adhesive in another area. This allows articles to be stored in the space between the cover sheet and the opposite surface of the package through the non-adhesive area. The adhesive-coated area of the cover sheet can be peeled off and reattached to another surface to seal it. This provides customizable sealing options and storage capacity.
7. Reusable Plastic Film Packaging Bag with Triple Sealing Structure Incorporating Viscous and Strip Sealing Layers
Wenzhou Hongji Holding Co., Ltd., 2024
Reusable plastic film sealed packaging bag with improved sealing capabilities that allows repeated opening and closing without damaging the bag. The bag has a sealing structure with a viscous sealing layer inside a sealing cavity created by strip sealing layers on either side of the opening. This triple sealing configuration provides better sealing than just a strip or viscous layer alone. It prevents air, dust, and moisture from contacting the adhesive sealing layer directly, improving seal longevity. The strip sealing layers can be repositioned and reused after opening, whereas a single-use high-temperature seal cannot be reopened.
8. Container Sealing Sheet with Tear-Off Covering for Controlled Dispensing
Zhongshan Linuo Packaging Products Co., Ltd., ZHONGSHAN LINUO PACKAGING PRODUCTS CO LTD, 2023
A container sealing sheet that allows controlled dispensing of granular materials from containers without the need for perforated lids. The sealing sheet has a base sheet that covers the container opening and is fixed to the container. It also has a tear-off sheet adhered over the base sheet's perforations. When the container is first opened, the tear-off sheet is easily peeled off, revealing the perforations that allow material dispensing. This prevents the container from having a large unsealed opening and allows controlled dispensing of granular materials without the need for perforated lids.
9. Foldable Liquid Packaging Bag with Paper-Based Film Bottom and Releasable Sealant Layers
TOPPAN HOLDINGS INC, 2023
A foldable packaging bag for liquids like drugs, detergents, and foods that allows easy opening and refilling without tearing or deteriorating the bottom barrier. The bag has a foldable bottom made of a paper-based film with a sealant layer on each side. The bottom folds closed with the sealant layers facing inward. This allows the bag to be opened by peeling the sealant apart at the bottom. The unfused portion of the bottom film remains intact, preventing tearing or barrier loss. The bag also has top, side, and bottom seals with releasable layers.
10. Refill Packaging Bag with Folded Bottom Film Featuring Internal Unfused Section and Central Breakable Flaw
TOPPAN HOLDINGS INC, 2023
Easily openable refill packaging bag for liquids that has a bottom section that can be torn open without damaging the barrier properties. The bottom film is folded and sealed at the edges, with an unfused section left inside. This allows the bottom to be easily torn open when refilling, eliminating the need for a separate barrier film. The bottom film is made of a material with good barrier properties and has a breakable flaw near the center fold line. The flaw allows the bottom to tear open easily when refilling without compromising barrier integrity.
11. Food Packaging Bag with Inner Diaphragm Seal and Zipper Closure
浙江城泽印刷有限公司, 2023
Food packaging bag that allows resealing after initial opening. The bag has an opening on one side with an inner diaphragm for initial sealing. The outer side is sealed with a zipper. An easy-tear strip decorates the opening. This allows tearing the diaphragm to access the food, then sealing again with the zipper.
12. Laminated Liquid Packaging Bag with Reduced Adhesion and Contamination Features
TOPPAN HOLDINGS INC, 2023
Packaging bag for liquids that reduces contamination and adhesion when opening compared to traditional bags. The bag is made of a laminate with an outer paper layer and an inner thermoplastic sealant layer. The paper layer has a small size relative to the bag (less than 15%) to prevent liquids from sticking to it. This allows the paper to be easily torn open to access the contents without adhering to fingers or surrounding surfaces. The thermoplastic sealant prevents leakage. The paper layer also provides strength and durability.
13. Packaging Bag with Convex Edge Resealable Tape and Recessed Arc Section
TOPPAN PRINTING CO LTD, 2023
A resealable packaging bag with improved opening and resealing characteristics. The bag has a resealable tape with an adhesive layer near the opening. The tape is heat-sealed to create a resealable section. The key innovation is that the edge of the resealable section on the opening side has a convex shape that bulges outwards. This allows easy initial opening of the bag despite the adhesive strength. The convex shape helps overcome the issue where high adhesive strength during resealing prevents initial opening. The bag can also have a recessed arc shape on the resealable section on the side away from the opening to prevent contents spilling out.
14. Woven Bag with Dual-Layer Construction and Non-Penetrative Sealing Strip
福清市洪裕塑胶有限公司, FUQING HONGYU PLASTIC CO LTD, 2023
Environmentally friendly, wear-resistant, and moisture-proof woven bag with improved durability and sealing capabilities. The bag has a woven outer layer for strength and durability, and an inner layer made of a moisture-proof film. The inner film layer is sandwiched between the outer layer and a separate sealing strip. This allows the strip to seal the bag opening without puncturing the inner film layer, preventing moisture leakage. The strip is made of a different material that can withstand the forces of sealing without tearing the film. This protects the contents of the bag from moisture and prevents film rupture during multiple uses.
15. Elastomeric Storage Container with Interlocking Protrusion-Indentation Seal and Internal Pressure Shields
STASHER INC, 2023
Elastomeric storage container with an integrated leak proof seal and pressure shield. The container has a unique seal design with protrusions and indentations on the opposing sides that engage when closed. The seal has a winding boundary path that winds around the container multiple times. This provides high sealing force and leak resistance. The container also has internal pressure shields that prevent the seal from peeling open when the container is squeezed or dropped. The shields add a small amount of material inside the container but significantly improve leak resistance. The container can be shaped, reusable, and durable for food storage.
16. Resealable Bag with Membrane-Divided Interior for Moisture Retention of Wipes
PEEL PLASTIC PRODUCTS LTD, 2023
A resealable bag for wipes that prevents drying out by separating the wipes from the air. The bag has a membrane dividing the interior into a contents chamber for the wipes and an access chamber near the top. The wipes stay moist in the contents chamber while only the access chamber is exposed to air when the resealable closure is opened. This allows repeated use without drying out the wipes.
17. Paperboard Container with Inner Rim Sealing and Locking Frame Structure
GPL SYSTEMS AB, 2023
Sealing arrangement for a paperboard packaging container, like a bulk solid food container, with improved sealing capability. The container has a sealing rim attached to the inner surface of the container wall at the opening. The lid has a circumferential lid sealing member applied inside. The lid closes onto the rim and seals against the sealing member. The sealing member is a polymer foam with a thickness greater than the distance between the rim and lid sealing surfaces. This compression creates tension in the sealing member. The lid also has a frame structure extending outside the container wall. The frame attaches to the rim and lid hinge. The frame has a locking flap that connects to the lid hinge. This flap has an interengaging element that locks with a lid element. The lid sealing member, rim, frame, and locking mechanism provide enhanced sealing and closure for the paperboard container.
18. Resealable Packaging Bag with Heat-Activated Adhesive Seal Between Paper and Film Members
DAI NIPPON PRINTING CO LTD, 2023
A resealable packaging bag that can be opened and closed multiple times without using additional fasteners like tabs or zippers. The bag has a heat-sealed portion formed between a paper member and a film member to enclose the contents. The opening is sealed with an adhesive portion that can be resealed by heating. The bag is made by heat sealing the paper and film together with a heat-sealing agent. The adhesive seal is also formed by heating. The bag can be resealed by heating the adhesive seal, eliminating the need for additional fasteners or tapes.
19. Refillable Packaging Container with Bendable Paper-Based Body and Notched Auxiliary Member
TOPPAN PRINTING CO LTD, 2023
Refillable packaging container for toiletries and food products that allows easy refilling without spills or clogging. The container has a unique design with a bendable paper-based body and a separate auxiliary member that can be sandwiched between the inner and outer sheets. The auxiliary member has notches at the ends and is sealed around the edges. This allows the container to be bent and flattened for easy storage and transportation, but when refilling, the auxiliary member pops out due to the notches. This provides a wide opening for pouring the contents without clogging or spills. The paper-based body also prevents pinholes and breakage from bending and dropping. The container uses a low-adsorption sealant on the innermost layer to prevent aroma loss.
20. Packaging Container with Stacked Sheet Body and Pouring Assist Member Featuring Weakening Line and Peelable Seal
TOPPAN PRINTING CO LTD, 2023
Packaging container with easy refill and good sealing properties. The container has an inner stacked sheet called the container body with a sealed storage area. A pouring assist member is positioned inside the storage area, with part inside and part outside. The outer surface of the inside part is sealed to the inner surface of the container body. The container body has a strength weakening line along the edge. The pouring assist member has a weakened portion connecting the edge and inner surface where the second sheet peels off easily. This allows easy opening by peeling off the weak seal. The seal strength of the weak seal is 0.3-10 N/15 mm. This enables refilling the container into another container while still sealing well.
21. Food Packaging Bag with Recessed Groove and Slot-Mesh Closure System
HUAIAN YUANHE PACKAGING MATERIALS CO LTD, 淮安市元和包装材料有限公司, 2023
Moisture-proof and environmentally friendly food packaging bag that provides better sealing to prevent moisture ingress when opening and closing. The bag has a sealed upper end and a bottom plate with a recessed groove. An opening mechanism in the groove has a cover plate with slots and a mesh partition. This allows the bag to be folded and sealed at the bottom by inserting the corners into the slots and pushing the mesh over them. The cover prevents moisture entry when the bag is opened and closed. The bottom plate stoppers prevent the bag from falling out.
22. Packaging Lid with Welded Tamper-Evident Tab for Repeated Opening and Resealing
TOPPAN PRINTING CO LTD, 2022
Packaging with a tamper-evident feature that allows multiple closings and openings while preventing resealed packages from being indistinguishable from unopened ones. The packaging has a lid with a tab that can be repeatedly peeled and resealed, but a portion of the tab is welded directly between the base sheet and sealant layer without the adhesive layer. This weld point must be broken each time the lid is opened, leaving a trace that shows if the package has been opened before.
23. Sheet Package with Convex-Boundary Sealing Member for Accessible Outlet Opening
DAIO SEISHI KK, 2022
Sheet package design with an easily openable and closable outlet. The outlet is covered by a sealing member that can be detached from the top surface. The sealing member has an adhesive portion to attach to the top surface and a free end that isn't attached. The boundary between the adhesive and free end is convex toward the free end. This allows easy pinching and grasping of the free end to open and close the outlet. The free end width is 10-40% of the sealing member length and 40-60% of the adhesive width. This balance makes it easy to pick up the free end while peeling the adhesive.
24. Vacuum Food Packaging Bag with Dual Sealing Strip Mechanism
青岛正大环保科技有限公司, QINGDAO ZHENGDA ENVIRONMENTAL PROTECTION TECHNOLOGY CO LTD, 2022
Vacuum food packaging bag with improved airtightness and resealability. The bag has a fixed sealing strip at the top that seals to the bag body. Below the sealing strip is a movable sealing strip that can be detached. When the bag is opened, the movable strip can be separated and the food consumed. To reseal, the movable strip is attached to the fixed strip, providing a secondary seal. This allows temporary reclosure of the bag for convenient secondary consumption of the food inside.
25. Packaging Bag with Pressure-Sensitive Adhesive Resealable Inlet
TOPPAN PRINTING CO LTD, 2022
Resealable packaging bag with enhanced storage preservation when resealed. The bag has a resealable inlet with a pressure-sensitive adhesive layer exposed when the inlet is open. When the inlet is resealed, the adhesive layer sticks to the other side to create a tight seal without gaps that could degrade product quality. The adhesive layer extends along the inlet edge from the side seams to ensure complete resealing.
26. Double-Sealed Packaging Bag with Enclosing Inner and Outer Openings and Tear-Off Strip
Zhejiang Hezi Food Co., Ltd., ZHEJIANG HEZI FOOD CO LTD, 2022
Sealed moisture-proof packaging bag for nuts and other food items that has improved resealability and moisture protection compared to standard bags. The bag has a unique double-seal design where the opening of the inner bag completely encloses the outer bag opening. This allows both openings to be sealed simultaneously for a double-layer seal. The inner bag also has a tear-off strip above the sealing area to easily open the inner bag without compromising the outer seal. This provides tight sealing and resealing while preventing moisture ingress. The bag also has features like moisture-absorbing pads, transparent sections for viewing contents, and a double-layered construction to prevent damage.
27. Medical Blister Pack with Biodegradable Material and Sealing Strip Featuring Lifting Handle and Control Strips
Changzhou Feilida Medical Products Co., Ltd., 2022
A medical blister pack made of biodegradable material with improved sealing and resealability. The pack has a main body with a sealing strip at the opening. The sealing strip has a lifting handle, control strips at the ends, and inner rubber strips. The rubber strips press against the pack body to seal. The inner strip on the sealing strip has a matching groove to prevent deformation. This prevents squeezing and tearing during opening and closing. The biodegradable material is environmentally friendly.
28. Foldable Packaging with Reusable Folding Sealing Mechanism and Secure Handle Attachment
艾薇儿·莫妮卡·阿科拉, 2022
Foldable packaging product with a unique design for improved functionality and user experience compared to conventional foldable bags. The packaging product has two main surfaces, a bottom, and sides. It has a sealing portion that can be opened and closed by folding or pulling a fixed portion. This allows repeated opening and closing without damaging the bag. The sealing portion prevents items from falling out. The handle is attached to the main surface and won't easily detach. The bag's bottom folds without covering patterns.
29. Reclosable Packaging Box Seal with Inner Film and Conforming Blocking Sheet
Hansheng Hengye Trading Co., Ltd., 2022
Sealing structure for packaging boxes like juice cartons that allows repeated opening and closing without disposable seals like peel-off tabs. The structure uses an inner film and a blocking sheet instead of a tab. The sheet matches the box opening shape. The inner film covers the opening and the sheet is fixed on the inside or outside of the box. Opening the box involves rupturing the film at the opening with force. The sheet can be pulled or pressed to close the opening again. This reduces plastic waste compared to disposable seals.
30. Peelable Membrane Lids with Integrated Two-Stage Flap System and Permanent Perimeter Adhesion
SONOCO DEV INC, 2022
Peelable membrane lids with an integrated two-stage flap system for containers that provide improved resealability compared to traditional lids. The lids have a peelable portion and a removable portion that are permanently adhered at their perimeters. The peelable portion can be partially removed and resealed, but the removable portion must be fully removed to access the contents. This two-stage flap system allows for resealing without compromising the seal integrity.
31. Reusable Sealing Mechanism with Inner Film and Plugging Sheet for Composite Liquid Food Packaging
HANSEN HENGYE BEIJING COMMERCIAL CO LTD, 2022
Reusable sealing mechanism for liquid food packaging that allows repeated opening and closing of the package. The sealing mechanism involves an inner film, an optional sealing sheet, and a plugging sheet. The inner film covers the opening and the plugging sheet matches its shape. The plugging sheet can be broken to open the package or inserted to close it. This allows reusing the package without disposable seals. The inner film prevents spills when opened. The sealing sheet further seals the inner film. The packaging is made from composite materials like paper.
32. Food Packaging with Integrated Foldable Resealing Section and Detachable Adhesive Mechanism
KIM DO HYUNG, 2022
Resealable food packaging that allows reopening and closing the package after initial use without needing additional materials like rubber bands or clips. The packaging has a foldable section on the top that seals the opening when folded down. The sealing member is attached to the packaging body on one end and has a detachable adhesive part on the other. When the packaging is first opened, the foldable section is unfolded to reseal it. The detachable adhesive part is then removed from the sealing member and attached to the packaging body to securely hold the folded section in place. This allows reopening and resealing the package without needing additional materials.
33. Reusable Food Packaging Bag with Tearable and Resealable Sealing Film
HUIZHOU ALTECH PACKAGING CO LTD, Huizhou Airtac Packaging Co., Ltd., 2022
Reusable food packaging bag with easy opening and closing that allows repeated access to the contents without exposing them to air. The bag has a main body, a sealing film covering an opening, and an easy-to-tear film connecting the sealing film to the bag. When the easy-to-tear film is torn, the sealing film lifts to expose the opening. It then can be replaced to seal the bag again. This prevents air exposure when the bag is opened multiple times. The easy-to-tear film can have adhesive or other attachment to secure it to the bag body. The sealing film can have broken lines to allow lifting. The bag body can be made of materials like biaxial oriented polypropylene film and cast polypropylene film for properties like light weight, oil resistance, and moisture resistance.
34. Sealable Paper Bag with Integrated Adhesive Strip and Transparent Window
FUJIAN NANWANG ENVIRONMENT PROTECTION SCIEN-TECH CO LTD, Fujian Nanwang Environmental Protection Technology Co., Ltd., 2021
A sealable paper bag that can be self-sealed without the need for external devices like staples or tape. The bag has a sealing area at the top that can be folded over and adhered to the main body of the bag using an adhesive strip. This creates a sealed pocket when the bag is closed. The bag also has a window and an adhesive strip to close it. The adhesive strip can be any shape like a circle, ellipse, or square. The adhesive can be thermal melt glue, water glue, or oil glue.
35. Packaging Bag with Resealable Strip and Reinforced Seal Points at Side Seal Intersections
TOPPAN PRINTING CO LTD, 2021
Packaging bag with resealable opening that prevents peeling or tearing when pressure is applied. The bag has a resealable strip like a zipper, but also has sealed points at the intersections of the strip with the side seals. These points are where the front and back films of the bag directly seal together without the reseal strip. This provides a strong seal around the strip intersections to prevent peeling or tearing when internal pressure is applied to the bag.
36. Flexible Bag with Integrated Deformable Closure Member
PASCAL DIEGO VALERIO, 2021
A resealable flexible bag with an integrated closing mechanism that maintains the bag in a closed position. The mechanism is a flexible member that is attached, disposed on, or embedded in the bag material. When the bag is sealed, the flexible member deforms. This provides a low-cost, effective way to keep the bag closed after opening. The flexible member can be added during bag manufacturing using dispensing equipment or pre-made panels.
37. Foldable Packaging Bag with Integrated Sealing and Folding Sheets
厦门新为达包装有限公司, 2021
Sealed packaging bag that can be folded and carried when not in use and then sealed when opened to prevent contents from falling out. The bag has a body with an opening, sealing sheets fold over the opening, and a folding sheet connects the sealing sheet ends. The folding sheet can be folded and attached to the bag body. This allows the bag to be folded and carried when not in use, but when opened the sealing sheets can be folded inward to seal the opening.
38. Composite Sealing Sheet with Porous Paper and Gas-Impermeable Film for Beverage Capsules
SPC SUNFLOWER PLASTIC COMPOUND GMBH, 2021
A sealing sheet for beverage capsules that provides oxygen barrier properties, compostability, and reliable tearing for opening. The sealing sheet is made of a thin, porous paper with high air permeability, sandwiched between a gas-impermeable film like cellulose acetate or cellulose-rich paper. The inner film prevents oxygen ingress while the outer paper decompresses during brewing to allow tearing. The sandwich structure provides a composite sealing sheet with long-term oxygen barrier, compostability, and reliable tearing.
39. Food Packaging Bag with Resealable Sealing Strip, Seal Groove, and Fixed Plate Mechanism
Chengde Technology Co., Ltd., CHENGDE TECHNOLOGY CO LTD, 2021
Food packaging bag with a sealed feature for reusing bags after opening. The bag has a sealing strip, seal groove, and fixed plate. The sealing strip closes the top of the bag. The seal groove is on the sealing strip. The fixed plate is on the bag body near the sealing strip. After opening the bag, you can slide the sealing strip into the seal groove using the fixed plate as a guide to reseal the bag.
40. Self-Supporting Laminate Packaging Bag with Detachable Resealable Spout and Expandable Base
TOPPAN PRINTING CO LTD, 2021
Self-supporting packaging bag with resealable spout for refill containers. The bag has a base made of a laminate with a sealant layer on a plastic film. The bottom expands to provide self-support. The bag has a spout with a detachable resealable cap. Cutting the tip creates the spout. The cap can be separated and reattached to reseal the bag after opening. This allows repeated refilling without spillage. The spout has features like fold lines and constrictions to improve resealing. The bag can also have reinforcements and gas barrier layers.
41. Flexible Packaging Container with Sealable Tube Incorporating Snap Ring and Limiting Slots
广东骊虹新材料有限公司, GUANGDONG LIHONG NEW MATERIAL CO LTD, 2021
Flexible packaging container with a sealable tube that prevents unauthorized access and leakage. The container has a sealing tube with an internal seal that can be opened to release liquid. The seal has features like a snap ring and limiting slots to prevent falling and block the opening when not in use. The seal is connected to the container body by a base and flange. It needs special equipment to open and requires inverting the container to dispense. This prevents theft and accidental spills compared to regular caps.
42. Food Packaging Bag with Dual Sealing Mechanism Incorporating Inner Sealing Grooves and Outer Connection Slots
MAANSHAN OKAY PACKAGING MATERIALS CO LTD, Ma'anshan Oukai Packaging Materials Co., Ltd., 2021
Food packaging bag with improved sealing to prevent contents from falling out and maintain product quality. The bag has an inner bag with sealing grooves and strips on the top, and an outer bag with matching connection slots and blocks. When sealed, the inner bag seals first, then the outer bag seals over it using the connection slots and blocks. This provides a double seal for better closure. The outer bag also has elastic protrusions that match arc-shaped notches on the inner bag sealing strip. This secondary seal forms when the bags are pressed together. The inner bag is filled with antiseptic to further prevent contamination.
43. Resealable Packaging Bag with Evenly Spaced Concave Adhesive Member
DAINIPPON PRINTING CO LTD, 2021
A resealable packaging bag and body that allows easy reopening and reliable resealing. The bag has an adhesive member between the front and back surfaces above the planned opening line. The adhesive has concave shapes on both sides. The concave shapes are evenly spaced and have similar diameters on both sides. This configuration allows easy peeling and reattachment compared to uneven adhesive shapes.
44. Recyclable Packaging Container Sealing Mechanism with Dual-Part Tamper-Proof Closure
LUCA ZACCHI, 2021
Sealing mechanism for packaging containers that provides tamper-proof sealing and prevents theft while also being recyclable. The mechanism has two parts. The first part involves a pair of pins and a flap that engage the container edge when closing. The flap blocks access to the contents. The second part has a removable cover that seals the container when closed. The cover can only be removed by breaking the mechanism. This ensures the container has not been opened during transport. The mechanism prevents theft and provides a tamper-proof seal. The cover is removable to open the container. The pins and flap are recyclable, unlike adhesive tape used in current sealing methods.
45. Resealable Packaging with Separate Sheet-Formed Lid and Hinge Assembly
PRIMAPACK LLC, 2020
Resealable packaging with a simple, inexpensive, and fast manufacturing process that provides secure sealing without complex assembly steps or contamination issues. The packaging has a container with an opening and a sealing assembly secured to it. The sealing assembly has a lid that pivots around a hinge to engage and seal with the container. The lid and hinge are formed from separate sheets that are joined to the container sheet. This allows the lid to detach and reseal without adhesive contamination. The container and lid sheets are manufactured separately, then joined to form the sealing assembly. This simplifies assembly compared to injection molded lid assemblies. It also reduces production time and cost versus attaching lids to containers.
46. Blister Packaging Container with Shoulder-Integrated Flip-Top Cap and Foldable Hinge
BLISSPACK CO LTD, 2020
A resealable blister packaging container with a flip-top cap that allows multiple openings and closings without leakage. The container has a shoulder-integrated flip-top cap with a foldable hinge. The cap has a discharge port with a wider guide section and an opening protrusion that fits into the wider section. This prevents gaps when resealing. The cap also has a stepped portion that fits into a recessed part on the cap. The container has a cutout section between the container and packaging to accommodate the hinge. The hinge folds between the cap and body when opening, then folds back when closing.
47. Breakable Membrane with V-Shaped Edge and Integrated Platform for Container Sealing
UNILEVER NV, 2020
A breakable membrane for sealing containers, like bottles, that provides tamper evidence and prevents leakage. The membrane has a V-shaped outer edge and a platform that allows access to the product inside the container. The membrane seals the container when intact but breaks when opened, providing visual evidence of tampering. The V-shape and small angle prevent leakage by providing a strong seal. The platform prevents obstruction of product access. The membrane can be co-injected with the cap closure for convenience.
48. Bio-Based Packaging Bag with Shape Memory Zipper Forming Fixed Angle Pouring Spout
DALIAN POLYTECHNIC UNIVERSITY, Dalian Polytechnic University, 2020
High-barrier bio-based food packaging bag with a resealable zipper that forms a fixed angle pouring spout when opened. The zipper has shape memory to automatically bend into a 100-120 degree angle when opened, providing a direct food pouring spout without additional tools. The zipper seals closed when the bag is not in use. The bag also has a self-standing bottom that folds when empty. The bag is made of biodegradable material to reduce waste. The shape memory zipper allows repeated use of the pouring spout, preventing spills while pouring.
49. Resealable Packaging with Non-Linear Sealing Regions for Adjustable Opening Force
ROHM AND HAAS CO, 2020
Resealable packaging with adjustable opening force that allows repeated opening and closing without deformation. The packaging has non-linear sealing regions between the front and rear walls that form a continuous seal. At least one of the sealing regions is non-linear, providing adjustable opening force. This allows customizable opening effort compared to linear seals. The adjustable sealing regions prevent deformation during repeated opening and closing. The packaging also includes unsealed regions between the sealing regions.
50. Food Packaging Bag with Central and Secondary Openings and Dual Sealing Sections
QIAQIA FOOD CO LTD, 洽洽食品股份有限公司, ANHUI QIAQIA FOOD DESIGN AND RESEARCH INSTITUTE, 2020
Food packaging bag with improved convenience and freshness preservation. The bag has a central opening with sealing sections at each end. When the bag is not fully consumed, the sealing sections are joined to seal off the opening and prevent spoilage. This allows leftover food to be stored without exposure to air. The bag also has a secondary opening for easy access to the bottom layer of contents. The central sealing sections prevent top-opening bags from having excessively wide openings that are prone to tearing.
Get Full Report
Access our comprehensive collection of 122 documents related to this technology
