Moisture Resistant Biodegradable Packaging
Biodegradable packaging materials face a fundamental contradiction: they must withstand moisture during their service life yet degrade naturally afterward. Laboratory measurements show that conventional biodegradable films can absorb 15-30% of their weight in water within 24 hours, leading to structural degradation and barrier property loss. When subjected to 85% relative humidity for one week, many current solutions lose up to 70% of their mechanical strength.
The challenge lies in engineering materials that maintain structural and barrier integrity in humid environments while preserving their ability to decompose after disposal.
This page brings together solutions from recent research—including multilayer structures with oxygen barriers and water-resistant coatings, polymer blends incorporating cellulose and calcium carbonate fillers, seaweed-based films with biodegradable additives, and polyvinyl alcohol composites with controlled solubility profiles. These and other approaches demonstrate practical pathways to packaging that functions reliably in real-world conditions while fully decomposing in composting environments.
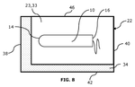
1. Multilayer Compostable Coffee Capsule Lid with Oxygen Barrier and Porous Nonwoven Structure
AHLSTROM OYJ, 2025
Compostable lid for sealing coffee capsules that is oxygen barrier, water resistant, tear resistant, and allows percolation. The lid has a multilayer structure consisting of a support, an oxygen barrier layer, and a nonwoven layer facing the capsule rim. The barrier layer prevents oxygen ingress while the nonwoven allows coffee extraction. The layers are adhesively joined. The oxygen barrier can be PVA, EVOH, or PVA/PVA/Kymene. The nonwoven has high porosity.
2. Water-Soluble Bioplastic Comprising Polyvinyl Alcohol, Carboxymethyl Chitosan, Nanocrystalline Cellulose, and Additives
EKOLOST ORGANIK UERUENLER SANAYI VE TICARET ANONIM SIRKETI, 2025
A water-soluble bioplastic (WSBP) composed of polyvinyl alcohol (PVA), carboxymethyl chitosan (CMC), nanocrystalline cellulose (NCC), mannitol, lignin, ferulic acid stearyl alcohol, and lactic acid. The bioplastic exhibits a unique balance of mechanical properties, water solubility, and biodegradability, making it suitable for applications in agriculture, medicine, and environmental cleanup. The material's degradation rate can be influenced by environmental factors, and its production involves a hot extrusion process followed by granulation and film casting.
3. Biodegradable Polymer Blend with Cellulose and Calcium Carbonate Fillers
FLORA COATINGS INC, 2025
Biodegradable polymer composition for packaging applications that provides a sustainable alternative to petroleum-based plastics. The composition is a blend of biodegradable polymers like polylactic acid (PLA), polyhydroxyalkanoates (PHA), polyvinyl alcohol (PVOH), polybutylene adipate terephthalate (PBAT), and polybutylene succinate (PBS) along with fillers like cellulose fibers and calcium carbonate. The blend is designed to achieve optimal mechanical strength, flexibility, and biodegradability for packaging applications like food, beverage, personal care, agriculture, and industrial packaging. The use of biodegradable polymers significantly reduces environmental footprint compared to petroleum plastics, the composition is made from renewable resources, and the inclusion of fillers and plasticizers makes it economically viable.
4. Biodegradable Packaging Laminate with Vacuum Deposited Barrier Layer and Filler-Enhanced Base Board
STORA ENSO OYJ, 2025
Biodegradable packaging laminate for aseptic food and beverage containers that is recyclable, reusable, and compostable. The laminate replaces aluminum foil in packaging by using a base board made of biodegradable material with filler content up to 30%. The laminate further has a thin vacuum deposited layer on one side for barrier properties. The base board is biodegradable, recyclable, and compostable. The laminate avoids aluminum foil and provides a sustainable, recyclable, and compostable alternative for aseptic food packaging.
5. Biodegradable Packaging Unit with Mixed Natural and Reinforcing Fiber Sheet and Adhesive-Coated Hygiene Article
ESSITY HYGIENE & HEALTH AB, 2025
A biodegradable packaging unit for hygiene articles, comprising a disposable hygiene article with an adhesive coating and a packaging sheet made from a mixture of natural fibers and reinforcing fibers, where the reinforcing fibers have a longer length-weighted average fiber length than the natural fibers. The packaging sheet is manufactured by a process involving foam dispersion and draining, and has an air permeability of up to 1000 l/m2/s. The packaging unit enables hygienic carrying and disposal of the hygiene article, while providing protection against contamination and body fluid leakage.
6. Multilayer Biodegradable Film with Alternating Aliphatic Polyester and Polyvinyl Alcohol Layers
SK MICROWORKS CO LTD, 2024
Biodegradable barrier film for packaging applications that has improved oxygen barrier properties and transparency compared to existing biodegradable films. The film is made by alternately laminating layers of an aliphatic polyester like polylactic acid and a polyvinyl alcohol. This structure provides both oxygen barrier and transparency. The layers are melt extruded, alternated, and then biaxially stretched and heat set to form the film.
7. Cellulosic Substrate with Dual Oil and Water Barrier Coating Layers
WESTROCK MWV LLC, 2024
Cellulosic structures for packaging applications, such as paper cups, that combine oil and water barrier properties to improve sustainability and performance. The structures feature a cellulosic substrate coated with an oil barrier layer, positioned between the substrate and a water barrier layer, which prevents both oil and water penetration. This dual-barrier coating enables the production of cups that are resistant to staining and leakage, while maintaining recyclability and repulpability.
8. Biodegradable Articles Comprising Polybutylene Succinate with Asymmetric Hydrophobic Coating and PBS Blend
3M INNOVATIVE PROPERTIES CO, 2024
Compostable articles like packaging that are both durable and biodegradable. The articles contain biodegradable polymers like polybutylene succinate (PBS) along with hydrophobic agents. This composition provides water resistance and durability. The articles can be made by coating one side of a PBS film with a hydrophobic polymer and the other side with a PBS blend. This allows sealing the edges when making bags, pouches, or envelopes. The compositions can also have fillers and coatings.
9. Seaweed-Based Thin Films with Biodegradable Additives and Solution-Cast Structure
SWAY INNOVATION CO, 2024
Flexible seaweed-based thin films for packaging, produced through solution casting, that are home compostable, marine safe, and biodegradable within months. The films comprise a seaweed-based composition, typically 50-90 wt%, and an agent, typically 0-40 wt%, combined with water. The composition can include agar, alginate, carrageenan, and unprocessed seaweed, while the agent can include glycerin, sorbitol, and other biodegradable additives. The films exhibit desirable properties for packaging, including tensile strength, heat-sealability, and moisture resistance, and can replace traditional single-use plastics.
10. Compostable Multilayer Film with Cellulose Ester and Bio-Based Polyester Layers
CELANESE INTERNATIONAL CORP, 2024
A multilayer film for flexible packaging that is compostable and heat-sealable. The film comprises a cellulose ester polymer layer, such as cellulose diacetate, combined with a plasticizer, and a heat-sealable bio-based polyester layer, such as polybutylene succinate. The layers are directly bonded without an adhesive, providing a sustainable and transparent packaging solution.
11. Biobased Coating Kit with Aqueous Linear Ester Wax Dispersion for Wood and Cellulose Products
GOVI NV, 2024
A biobased coating kit for imparting water repellency to wood panels and cellulose sheet products, comprising an aqueous dispersion of linear ester waxes derived from renewable raw materials, with a dry matter content of 20-90% by weight, and optionally a vegetable oil component. The ester dispersion exhibits improved barrier properties, stability, and processability compared to conventional paraffin wax dispersions, while providing a biodegradable and non-migratory coating solution for food packaging applications.
12. Flexible Packaging with Multilayer Composite Sheet Incorporating Water-Soluble Barrier Film and Paper Layer
FAMECCANICA.DATA S.P.A, 2024
Reclosable flexible packaging for single-dose laundry and dish detergent packets that provides effective humidity protection and sustainability. The packaging uses a multilayer composite sheet made of paper with a water-soluble barrier film. This allows the packets to be stored in a paper-based container that is more sustainable than plastic. The barrier film prevents sticking and dissolution in humid conditions. The paper provides protection against punctures and tears. The reclosable container allows multiple packets to be stored together.
13. Biodegradable Multilayer Film with Polyhydroxyalkanoate Resin Core and Ethylene Vinyl Alcohol Barrier Layer
CJ CHEILJEDANG CORP, 2024
Biodegradable multilayer film for environmentally friendly packaging that is biodegradable in soil and sea, has excellent barrier properties to oxygen and moisture, and can be easily produced. The film has a biodegradable resin layer made of polyhydroxyalkanoate (PHA) polymers, sandwiched between a substrate layer and a barrier layer. The PHA resin has a heat-sealing strength of 0.5-15 kgf/15 mm. The film has low water vapor and oxygen transmission rates, enabling long-term barrier protection. The barrier layer uses an ethylene vinyl alcohol (EVOH) resin instead of non-biodegradable materials like aluminum or nylon. The film structure allows biodegradability in natural environments without harming the environment, while maintaining barrier properties and lifespan for packaging.
14. Water-Soluble Polymer Composition with Conjugate Acid-Base Pair Buffer System
B&T ENTW UND VERMARKTUNGSGESELLSCHAFT MBH, 2024
Water-soluble polymer composition and its use for food packaging applications. The composition comprises a polymer and a salt, where the salt is a conjugate acid-base pair. The conjugate acid-base pair comprises a weak to moderately strong acid and its conjugate base, with the conjugate base having a pKa between 3 and 7. This conjugate acid-base pair acts as a buffer system in the polymer, enabling the polymer to maintain its water solubility and biodegradability while maintaining its mechanical properties.
15. Multilayer Packaging Structure with Crosslinked Water-Soluble Polymer Inner Layer and Wax Outer Layer
B&T ENTW UND VERMARKTUNGSGESELLSCHAFT MBH, 2024
Multilayer packaging structure for food applications that provides improved barrier properties while being bio-degradable and compostable. The multilayer has an inner layer made of a crosslinked mixture of water-soluble polymers like PVOH and PCL, which improves oxygen barrier. An outer layer made of a wax like beeswax provides water vapor barrier. This enables a multilayer with both oxygen and water vapor barrier properties using biodegradable materials.
16. Seaweed-Based Compostable Packaging Material with Phycocolloid and Additive Blend for Film Extrusion
SWAY INNOVATION CO, 2024
Compostable packaging material made from seaweed-based compounds, comprising a phycocolloid derived from agar, alginate, carrageenan, or unprocessed seaweed, and a blend of additives including slip agents, anti-block agents, antioxidants, and humectants. The material is processed into flexible films through twin-screw extrusion and blown film extrusion, enabling home compostable, marine-safe packaging products that biodegrade within months in a compost environment.
17. Cornstarch-Based Packaging with Compostable Biodegradable Composition
LANKFORD CHERYL, 2024
Compostable cornstarch-based packaging that can contain items without using petrochemical plastics. The packaging is made from compostable materials that biodegrade in composting environments. This reduces environmental pollution compared to conventional plastic packaging that often ends up in landfills. The cornstarch-based compostable packaging aims to provide a more sustainable and eco-friendly alternative to traditional packaging materials.
18. Multi-Layer Paper-Based Wrap with Water-Based Coatings for Grease Resistance and Oxygen Barrier
WIHURI PACKAGING OY, 2024
Paper-based wrap material for packing fatty, oily or greasy products like butter, margarine or cheese, without using aluminum foil. The wrap is made from specific layers: outer layers of water-based natural coatings, an inner paper layer, and optional inner white coatings. The water-based coatings provide oxygen barrier and grease resistance. The paper layer prevents infusion. The absence of aluminum and plastics enables recyclability.
19. Biodegradable Food Service Articles Comprising Hydrocolloid-Based Compositions and Extruded Shapes
LOLIWARE INC, 2024
Biodegradable, edible food service articles like straws, cups, and utensils made from bio-based materials that are compostable and avoid plastic pollution. The articles contain hydrocolloids like alginate, carrageenan, or agar, plasticizers, humectants, fillers, and water. They are processed by extrusion into shapes, optionally cross-linked, and dried. The articles have desirable properties like strength, flexibility, water resistance, and extended shelf life without packaging. The bio-based compositions replace single-use plastics in food service items.
20. Formable Packaging Sheet with Polyethyleneimine-Polyvinyl Alcohol Barrier Coating and Alloy Layers
SONOCO DEVELOPMENT INC, 2024
Sustainable, high-barrier, food-contact packaging made from a formable sheet with improved oxygen and moisture barrier properties. The sheet contains a barrier coating sandwiched between alloy layers. The barrier coating is a premixed solution of polyethyleneimine and polyvinyl alcohol. The alloy layers are blends of polyethylene terephthalate, a polyolefin, and a compatibilizer. The alloy layers provide mechanical strength and formability. The barrier coating provides oxygen and moisture barrier properties. The coating composition and application method are optimized to avoid rupture during thermoforming and container filling.
21. Biodegradable Seaweed-Based Plastics with Extruded Seaweed and Plasticizer Composition
NOTPLA LTD, 2024
Biodegradable seaweed-based plastics made from seaweed extracts that can biodegrade quickly while retaining some properties of traditional plastics. The plastics are produced by extruding seaweed and plasticizers to form pellets or films. The seaweed content is at least 30% by weight. The plasticizers can be water or compounds with carbon-hydrogen bonds. This allows making seaweed plastics that are compostable and environmentally friendly. The method involves feeding seaweed and plasticizers into an extruder, extruding through a die, and pelletizing or molding the seaweed material into products like containers, films, and cutlery. The seaweed plastics can have barrier properties enhanced by adding thin metal layers or coatings.
22. Gelatin-Based Biodegradable Adhesive for Palletized Package Securing
BIO-BOND LLC, 2023
Biodegradable adhesive for securing packages on pallets without using plastic wrap or other protection systems. The adhesive is made from natural gelatin (gelatine) and is biodegradable. It replaces synthetic resin-based adhesives and waxes. The gelatin adhesive sticks packages together on pallets to prevent shifting during transport. It is repulpable and compostable, allowing recyclable and compostable packaging materials to be used without sticky residue issues.
23. Multi-Layer Paper-Based Packaging with Ultrathin Metal Barrier and Biodegradable Polymeric Layers
NESTLE SA, 2023
Marine biodegradable multi-layer paper-based packaging material that is recyclable in paper recycling stream. The packaging material comprises a paper layer, an ultrathin metal or metalloid layer for water vapour barrier that is sandwiched between marine biodegradable polymeric thin layers that provide oxygen barrier and sealability to the structure.
24. Paper-Based Packaging Material with Multi-Barrier Coating Layer and Enhanced Surface Properties
KOEHLER INNOVATION & TECH GMBH, 2023
Paper-based packaging materials that can be used for consumer goods and food. The materials consist of a coating layer, which is water-vapor barrier b) oxygen barrier, c) mineral oil barrier, d) grease barrier e) aroma barrier, f) kink resistance, at least one property g) grease resistance, h) sealability, i ) Bekk smoothness of at least 200 Bekk seconds.
25. Hydrophobic Film Composed of Seaweed Polysaccharides with Integrated Plasticizers, Wax, Fillers, and Emulsifiers
ZEROCIRCLE ALTERNATIVES PVT LTD, 2023
100% natural, compostable, hydrophobic film made from seaweed polysaccharides that can be used for food packaging. The film is made by heating seaweed polysaccharides, adding plasticizers, wax, fillers, antifungal agents, essential oils, and emulsifiers. The film has properties like high tensile strength, hydrophobicity, gas barrier, and extended shelf life. It is compostable and uses natural ingredients like seaweed, beeswax, clay, and essential oils. The film improves shelf life of packaged items, delays ripening, and has antimicrobial properties.
26. Biodegradable Packaging Materials for Foods Preservation: Sources, Advantages, Limitations, and Future Perspectives
Andreas A. Panou, Ioannis K. Karabagias - MDPI AG, 2023
Biodegradable packaging materials generally comprise a solution to the environmental problem caused by the consecutive use of conventional packaging materials (petroleum-based materials) even though these have a high cost. The monomers resulting from the slow degradation of petroleum-based materials contribute to the pollution of the environment. Biodegradable packaging materials distinguished by high biodegradability and biocompatibility can successfully replace the aforementioned packaging materials and thus solve the environmental problems caused by their use or deposition. Although several of the biodegradable packaging materials present defective properties, mainly mechanical and barrier properties, these are reduced or even eliminated by the addition of various improving additives and by blending them with other biopolymers. Various natural preservatives such as essential oils or other phytochemical extracts can also be incorporated into the biopolymer network to increase its efficacy. This treatment is particularly beneficial since it contributes to the increasing of the shelf... Read More
27. Dual-Layer Tampon Packaging with Cellulosic Fiber Inner Layer and Thin Sealing Agent
ONTEX GROUP NV, 2023
Eco-friendly packaging for tampons that reduces plastic usage. The packaging consists of two layers - an inner layer made of cellulosic fibers like paper, and an outer sealing layer. The cellulosic fiber layer has a basis weight between 15-90 gsm. This inner layer is made of less plastic compared to traditional wrappers. An optional outer hydrophobic layer can also be present. The sealing layer is made of a thin sealing agent with a basis weight between 0.5-15 gsm. The overall wrapper has less plastic and is more environmentally friendly compared to traditional wrappers.
28. Seaweed Nanocellulose Composites with Controlled Solubility and High Strength for Extrusion
NANO AND ADVANCED MATERIALS INSTITUTE LTD, 2023
Biodegradable seaweed nanocellulose composites that can be extruded into various shapes like sheets and hollow tubes. The composites have controlled water solubility and high strength. The composites contain seaweed nanocellulose, seaweed derivatives, biodegradable polymers, plasticizers, and crosslinking agents. The composites are extruded using an optimized process to form biodegradable products like straws, dinnerware, pads, etc. The composites can biodegrade in composting environments.
29. Compostable Food Packaging Material Comprising Coffee Grounds and Methylcellulose Binder
LUIGI LAVAZZA S.P.A, 2023
Compostable material for food packaging, like capsules for coffee pods, that can decompose in compost. The material contains coffee grounds as the main ingredient, along with a binding agent like methylcellulose. Adding glycerol as a plasticizer improves flexibility but causes issues like decoloration and migration. The optimal material uses methylcellulose alone to bind the coffee for compostable capsules without glycerol.
30. Compostable Packaging Film with Starch-Based Outer Layers and Water-Soluble PVOH Inner Layer
TRANSCONTINENTAL HOLDING CORP, 2023
Compostable flexible packaging films and bags that disintegrate quickly when composted. The films have a sandwich structure with an inner layer made of water-soluble modified PVOH surrounded by two outer layers made of starch-based biopolymers. The outer layers resist water vapor and oxygen permeation. This protects the inner layer from disintegration when exposed to moisture, allowing the entire film to compost rapidly. The compostability is triggered by the inner layer disintegrating when composted.
31. Composite Biodegradable Beverage Pod with Cellulose Fiber and Bioplastic Structure
NEXE INNOVATIONS INC, 2023
Compostable single-serve beverage pods that can biodegrade in compost environments and reduce waste compared to traditional plastic pods. The compostable pods are made from a composite material of biodegradable bioplastics and cellulose fibers. The composite structure provides desired properties like strength, moisture barrier, and aesthetics. The compostable pods aim to address issues like waste pollution, environmental concerns, and consumer convenience. The composite pods can break down faster than traditional plastics in compost environments, reducing waste. The cellulose fiber exterior provides a desirable look and feel, and the bioplastic interior provides a moisture barrier. The composite pods aim to overcome challenges of creating compostable pods with all desirable properties like look, feel, strength, and moisture barrier.
32. Biodegradable Adhesives Comprising Natural Components for Non-Woven Applications
BIO-BOND LLC, 2023
Natural-based biodegradable adhesives for non-woven applications, particularly in pressure-sensitive adhesives (PSA) for baby diapers, tapes, labels, and packaging. These adhesives exhibit superior performance characteristics, including water resistance, removability, and compostability, making them ideal for post-press bonding applications in folding units and mailing machines. The adhesives contain natural components like gelatin, glycerin, and sugar/corn syrup, which provide long open time workability and warm water cleanability. They also possess excellent thermal stability and resistance to corrosion, enabling use in applications requiring non-corrosive equipment.
33. Biodegradable Multi-Layer Packaging Film with Barrier Web Comprising Core, Skin, and Sealant Layers
MEREDIAN INC, 2023
A multi-layer packaging film structure for food and consumer products that is biodegradable and compostable. The structure includes a barrier web with a core layer, skin layer, and sealant layer, all of which are made from biodegradable polymers such as poly(3-hydroxypropionate). The barrier web exhibits low oxygen permeability and good heat seal properties, making it suitable for packaging applications. The structure is home compostable and can be used in place of traditional petroleum-based packaging materials.
34. Biodegradable Drinking Straw Comprising Date Palm Leaves and Graphene Oxide Quantum Dot Adhesive
UNITED ARAB EMIRATES UNIVERSITY, 2023
A biodegradable drinking straw made from natural date palm leaves, providing a sustainable alternative to plastic straws. The straw is manufactured through a multi-step process involving washing, cleaning, and binding the leaves with a food-grade adhesive containing graphene oxide quantum dots. The resulting straw is non-toxic, compostable, and impermeable to liquids, with a shelf life of up to 3 months when stored properly.
35. Continuous Laminate Bag with Bioplastic Film and Paper Layers for Enhanced Barrier and Durability
NEWCO CLASSPACK PARTNERS SL, 2023
Biodegradable and compostable bags for food products that improve durability and presentation while reducing environmental impact compared to traditional plastic bags. The bags are made from a continuous laminate that combines a bioplastic film with paper layers. The bioplastic film provides barrier properties to prevent moisture and gas transfer, while the paper layers provide durability, strength, and barrier to electrostatic charge. This allows the bioplastic film to be covered by paper layers, reducing exposed surface for moisture and gas transfer, improving product shelf life. The paper also provides a barrier to electrostatic charge that improves bag handling and welding compared to bioplastic alone.
36. Biodegradable Packaging: Recent Advances and Applications in Food Industry
Ritika B. Yadav - Springer Nature Singapore, 2023
The development of biodegradable packaging materials can decrease the environment pollution generated by synthetic polymers like plastics. The utilization of biodegradable polymers over non-biodegradable polymers is a good choice for reducing environmental damage and preserving natural resources. The biodegradable polymers are categorized into natural, synthetic, and microbial biopolymers. These are non-toxic, compostable, and biodegradable. The aim of this chapter is to provide an overview of biodegradable packaging and recent developments regarding their applications for food products. The natural and synthetic biodegradable packaging materials, their sources, and film properties have been discussed in detail.
37. Bio-based food packaging materials: A sustainable and Holistic approach for cleaner environment- a review
Prateek Gururani, Pooja Bhatnagar, Priyanka Dogra - Elsevier BV, 2023
The contribution of plastic packaging in food is substantial, but issues associated with its biodegradability and recycling initiates major concerns for environment and human health thus necessitating substitution of conventional synthetic plastics with bio-based packaging materials. Studies have demonstrated economic competition of bio-based materials with synthetic plastics because of their biodegradability, wide availability, excellent barrier and mechanical properties. These materials can be commercialized on a large scale but still somehow are under-investigated in many areas. Moreover, some of the influencing factors including confusion between bio-based and biodegradability pose a significant challenge on evolution of bio-based packaging. Therefore, the review focuses on bio-based packaging materials derived from various renewable resources like biomass, microorganisms and microalgae involving their possible food packaging applications along with required development in multiple regions for proper utilization of offered advantages in the food packaging market.
38. Cellulose-Based Paper with Wax and Polymer Coating for Heat-Sealability and Biodegradability
NEENAH GESSNER GMBH, 2022
Coated paper that is heat-sealable, biodegradable, and sustainable. The paper has a cellulose layer coated with a wax and a polymer selected from polyesters, polysaccharides, esters, ethers, and ether esters. The coating provides hydrophobicity, barrier properties, workability, and heat-sealability without using ecologically undesirable components. The coated paper can replace single-use plastic packaging while reducing environmental impact.
39. Thermoformable Cellulose Acetate Composite with Integrated Plasticizer for Biodegradable Plastic Articles
CELANESE INT CORP, 2022
Biodegradable plastic articles made from a thermoformable composite material that contains a high percentage of cellulose acetate, a biodegradable polymer, combined with a plasticizer. The cellulose acetate provides rigidity for the articles, while the plasticizer improves processability. The composite can be formed into films which are then thermoformed into 3D shapes. The resulting articles retain the optical properties of the cellulose acetate despite thermoforming. The cellulose acetate/plasticizer composite allows producing biodegradable plastics with good processability and mechanical properties for packaging and containers.
40. Compostable Container Closure Sealing Member with Upper and Lower Laminate Bonding and Integrated Gripping Tab
SELIG SEALING PRODUCTS INC, 2022
Compostable sealing member for container closures that can be easily removed and composted without leaving behind non-compostable material residue on the container. The sealing member has an upper laminate portion bonded to a lower laminate portion containing a sealant layer. The upper laminate is compostable and free of plastic or metal foil. It may have a gripping tab wholly within the seal perimeter. The lower laminate may have a sacrificial layer between the film and sealant. The compostable upper laminate allows complete composting of the sealing member without leaving behind non-compostable residue on the container.
41. Biodegradable Packaging Material Comprising Dual-Polymer Liquid-Applied Linked Network
STENCO LLC, 2022
Biodegradable packaging material for food items that provides a sustainable alternative to traditional plastic packaging. The material comprises two polymers, polymer 1 and polymer 2, that can be applied as a liquid to a substrate and then linked together. This allows forming a coating or layer on the substrate. The linked network provides mechanical strength and barrier properties. The material can be applied as a single layer or multiple layers. It can be used alone or combined with substrates. The polymers, linking agent, plasticizer, stabilizer, preservative, and surfactant are chosen to meet food packaging requirements. The biodegradable material is applied in liquid form and then linked post-application. This allows versatility in packaging configurations.
42. Research Progress of Bacterial Cellulose as Biodegradable Food Packaging Materials
Xi Liu, Shuming Cao - Frontier Scientific Publishing Pte Ltd, 2022
With the emergence of environmental problems, suppliers of biodegradable food packaging materials predict that recycling regulations will lead to new requirements for environmentally friendly packaging materials. Biodegradable food packaging materials are closely related to consumers' interest in environmental protection products and are expected to become a new way for the domestic food packaging materials industry. All kinds of biodegradable food packaging materials with bacterial cellulose as raw materials have been published, and domestic and foreign enterprises are gradually increasing their interest in it. The biodegradable food packaging materials industry will have the potential of environment-related business market.
43. Printed Product with Bi-Characteristic Material, Permeable Ink, and Irreversible Adhesive
AU MAN YEE, 2022
A printed product capable of resisting abnormal environmental changes and operating in all weather conditions, suitable for hygiene management operations. The product features a material with bi-characteristics of rigidity and hydrophilicity, a permeable printing ink, and an irreversible cured adhesive. The manufacturing process involves bonding or weaving waterproof fiber filaments, printing with a capillary-action ink, and binding with a flexible adhesive. Quality testing involves simulating extreme temperatures and environmental conditions to evaluate the product's durability and adhesion.
44. Biodegradable Composite Films with Oxidizing Metal Barrier Layer and Bio-Based Outer Layers
ANTHONY ROBERT KNOERZER, 2022
Biodegradable composite films for packaging applications that are made from biodegradable materials and have barrier and sealant properties. The composite films have an oxidizing metal barrier layer sandwiched between bio-based outer and inner layers. The oxidizing metal layer prevents oxygen and moisture ingress. The bio-based layers are made from materials like PLA, PHA, or paper that degrade in compost or soil. The composite films can be used in food packaging, like coffee pods, that decompose after disposal.
45. Bioplastic Composition with Polysaccharide Mixture, Gelling Agent, Antimicrobial Agent, and Adjuvant
FLEXSEA LTD, 2022
A bioplastic composition comprising a mixture of polysaccharides from seaweed extracts, a gelling agent, an antimicrobial agent, and an adjuvant, which degrades completely in a time of 8-20 weeks and is edible by animal organisms. The composition is suitable for producing bioplastic products with physical-mechanical properties comparable to conventional plastic materials, and can be used in various applications such as packaging, disposable items, and containers.
46. Multi-Layer Biodegradable Food Wrap with Air-Trapping Adhesive Layer and Dual Coating System
GPCP IP HOLDINGS LLC, 2022
A biodegradable and/or compostable food wrap made from multiple layers of biodegradable materials that provides insulation and moisture barrier properties. The wrap has a base sheet, a water-resistant coating, an oil-resistant coating, and an adhesive layer. The adhesive layer has voids or pockets that trap air for insulation. The wrap can be made from paper, polyethylene, or other biodegradable materials.
47. Biodegradable Barrier Paper Laminate with Multi-layered Polymeric and Inorganic Structure
PROCTER & GAMBLE, 2022
A biodegradable and recyclable barrier paper laminate for flexible packaging applications that combines a biodegradable and recyclable paper layer with a biodegradable polymeric layer, biodegradable primer layers, an inorganic barrier layer, and a biodegradable polymeric sealing layer. The laminate features a biodegradable and recyclable paper layer with an outer surface and an inner surface, a first biodegradable polymeric layer with an outer surface and an inner surface, a first biodegradable primer layer with an outer surface and an inner surface, an inorganic barrier layer with an outer surface and an inner surface, a second biodegradable primer layer with an outer surface and inner surface, a second biodegradable polymeric layer with an outer surface and an inner surface, and a biodegradable polymeric sealing layer.
48. Compostable Fasteners with PBAT-PBS/PBSA Composition and Three-Layer Bag Integration
TIPA CORP LTD, 2022
Compostable fasteners for resealable bags, comprising a mixture of PBAT with PBS and/or PBSA, and bags incorporating such fasteners. The fasteners have interlocking profiles that can be reversibly engaged to seal the bag, and are formed from a composition that balances the flexibility of PBAT with the strength of PBS and/or PBSA. The bags themselves have a three-layer construction, with a compostable outer layer and a biodegradable inner layer.
49. Cellulosic Substrates with Directly Applied Polyvinyl Alcohol Coating Exhibiting Low Viscosity Under Shear
AQUAPAK POLYMERS LTD, 2022
Coated cellulosic substrates, particularly paper, with a polyvinyl alcohol (PVOH) coating that enables high-speed processing and recycling. The PVOH coating is applied directly to the substrate without an adhesive, and its unique properties allow it to maintain a low viscosity under high shear rates, enabling efficient processing and forming of packaging materials. The coating also exhibits improved solubility in water, enabling recycling in paper mills without clogging issues.
50. Biodegradable Straw Composed of Deacetylated Konjac Gel and Taro-Cassava Starch Composite
GUOZHONG XINGHE BIOMEDICAL TECHNOLOGY CO LTD, 2022
A low-cost, fully biodegradable disposable straw made from natural plant materials that degrades easily after use. The method involves grinding natural plant materials like konjac and taro to make powders. These powders are mixed with water to form a slurry, which is heated and stirred to form a gel. The gel is then extruded into straw shape and dried. The resulting straw is made of a biodegradable material composed of deacetylated konjac gel and taro starch-cassava starch composite. This provides mechanical strength, toughness, impact resistance, and thermal resistance, making it suitable for hot drinks. The straw can be produced at low cost compared to conventional plastics.
Get Full Report
Access our comprehensive collection of 97 documents related to this technology
