Security Validation for Package Protection
Package security validation faces increasing complexity as supply chains extend globally and threats evolve. Current systems process millions of packages daily, with reported tampering incidents affecting 0.5-2% of shipments and causing losses exceeding $15 billion annually. The challenge requires multiple layers of protection—from physical tamper-evidence to sophisticated authentication mechanisms.
The fundamental challenge lies in balancing robust security measures with practical implementation that maintains efficient throughput in high-volume logistics operations.
This page brings together solutions from recent research—including dual-code visibility systems, light-induced color-changing identifiers, optical inspection mechanisms, and AI-powered computed tomography scanning. These and other approaches focus on implementing security measures that can be validated throughout the supply chain while maintaining operational efficiency.
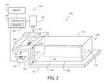
1. Package Inspection System Utilizing Transparent Member for Imaging Sealed and Non-Sealed Areas
KANEKA CORP, 2024
Inspecting packages with high accuracy by placing a transparent member on the package and imaging the sealed and non-sealed areas sandwiched between the package and transparent member. This prevents focus issues when inspecting the seal versus the contents. The transparent member overlaps both areas.
2. Packaging System with Dual Code Visibility Requiring Deformation for Hidden Code Access
DENSANSHI CO LTD, 2024
Anti-counterfeiting packaging system that prevents unauthorized reading of product authentication codes during transportation. The packaging contains two codes: one visible only when deformed and one visible without deformation. This forces the end user to physically alter the packaging to reveal the hidden code. This prevents scanning the hidden code during transport without the user noticing. It also allows checking the visible code during purchase. A system with devices to capture and compare both codes determines product authenticity.
3. Method for Generating Light-Induced Color-Changing Identifiers on Photosensitive Packaging Films with Dual-Layer Optical Verification
ADAPA DIGITAL GESMBH, 2024
A method to create optically machine-readable identifiers on packaging films that cannot be easily copied or manipulated. The method involves generating an identifier by focusing a light beam onto a photosensitive layer on the film. This absorbs the light and causes a color change in the layer. The identifier can be read using a camera. A second layer is added that contains an optically detectable image. The user is asked to scan this image after scanning the identifier. The scanned images are compared and if they match, it indicates the packaging has not been tampered with.
4. Integrated Package Processing System with Combined Locker and Scanner Functionalities Featuring AI Computed Tomography and IR Sensor Monitoring
NIRANJAN PRABHU YEOLE, 2024
A self-service package processing system that combines the functionalities of a locker and package scanner to streamline the process of package submission, screening, storage, and retrieval while ensuring security and accuracy. The system features a user interface, automated puzzle allocation, a four-tiered verification and sorting system, and a dynamic storage unit with integrated IR sensors. It uses AI-powered computed tomography scanning to analyze package contents, self-wrapping with barcodes for identification, and IR sensors in lockers to monitor stored packages.
5. Method for Verifying Integrity of Vacuum Packaging Using Random Immobility State Capture and Comparison
TEPTEC MARVINS SARL, 2024
A method for closing and protecting safety vacuum packaging that prevents tampering and substitution of contents. The method involves capturing random immobility states of the vacuum packaging before sealing. After sealing, the captured states are checked to verify they match the initial states. If the initial and final states match, it confirms the package hasn't been tampered with. If they don't match, it indicates the packaging was opened and replaced. This provides an additional layer of security beyond seals and barcodes for safety packaging. The captured immobility states can be verified using a computer program product. The safety packaging itself can be vacuum-sealed food containers that remove oxygen to preserve the contents.
6. Tamper Evident Packaging with Ratchet Tooth Slide Closure and Tamper Detection Window
SAFEPLATE LLC, 2024
Tamper evident packaging for delivery services, especially food delivery, that provides secure sealing and tamper detection to protect the product during transit. The packaging has a slide closure that seals the opening and has ratchet teeth to engage corresponding teeth on the closure to lock it in place. A visible window and coded land on the closure slide allow checking for tampering after delivery. The slide lock prevents reopening once sealed. This allows verifying the package is sealed at the origin and hasn't been opened during delivery.
7. Package Closing and Authentication System with Fragile RFID Labels and Torsion Force Concentration
Jacto Agricultural Machinery SA - Unipac Division, 2023
Package closing system and package authentication system using fragile RFID labels attached to both the inner cover and outer seal. When the cover is opened, the fragile label breaks due to torsion forces. This allows verifying if a package has been opened by reading the RFID label and checking against a database. The label can have fragile regions that concentrate torsion forces when removing it from the cover. The label may be fixed indirectly to the seal and cover using connectors. This prevents accidental breakage. The label can also be partially electromagnetically isolated from the metal seal to prevent direct contact during sealing.
8. Reusable Security Label System with Repositionable Locking Mechanism and Tamper-Indicating Security Member
ANAND ASHISH, 2023
Reusable security label system that provides tamper evidence without destroying the package. The system uses a reusable locking mechanism on the package instead of traditional single-use tie tags. The lock can be moved between active and inactive positions. When moved, a change in a security member indicates tampering. This allows the package to be resealed without cutting the lock. The lock can have features like a slider, rotary part, or peelable label. The system can also have video capture and label scanning to further detect tampering.
9. Packaging Box with Interlocking Slit-Based Tamper-Proof Locking Mechanism
FURUBAYASHI PAPER WORKS CO LTD, 2023
A tamper-proof packaging box with a locking mechanism that prevents forced opening of the lid and provides visual evidence of tampering. The locking mechanism involves slits in the lid and body that interlock when the lid is closed. The slits are shaped with angled ends that resist vertical and horizontal movement of the lid. When opening the box, the slits are cut, leaving visible damage. This shows tampering and helps prevent unauthorized access.
10. Packaging with Integrated Circuitry for Tamper Detection and Function Verification
RAJENDER KUMAR NANGIA, 2023
Secure packaging and tamper detection for products using integrated circuits that perform specific functions only when the packaging is sealed. The packaging is scanned using a tester to verify the circuit's functions. If the scanned code fails verification, tampering is detected. The circuit generates a unique security code that is provided with the packaged product. This code is scanned to authenticate the product and verify the circuit's functions. If the code fails verification, tampering is detected. The circuit may have portions integrated with detachable parts of the product that only work when assembled.
11. Tamper-Proof Packaging Box with Alternating Intersecting and Single Cut Breaking Lines
ASAHI PRINTING CO LTD, 2023
A tamper-proof packaging box with an opening line that leaves visible and irreversible marks when opened, making it easy to tell if the package has been tampered with. The box has an alternating pattern of breaking lines surrounding the opening. One type of breaking line has multiple cuts intersecting the outline of the opening. The other type has a single cut along the outline. This alternating pattern ensures that breaking the opening will leave a conspicuous, irregular mess of broken pieces that cannot be easily reassembled.
12. Method for Authenticating Packaging Paper via Image Capture and Character String Analysis in Automated Drug Dispensing Systems
Electronics and Telecommunications Research Institute, JVM, 2022
Recognizing genuine packaging paper for automated drug dispensing systems to prevent using fake packaging that doesn't match the system specifications. The method involves capturing images of the medicine wrapper's print at regular intervals using an onboard camera. It detects a region containing the genuine identification string, binarizes it, and compares individual characters. If primary matching succeeds, it checks the entire string for secondary matching. If both match, it determines the wrapper is genuine. This minimally impacts dispensing speed while confirming authenticity.
13. Package Tamper Detection Using Inductive Coupling Between RFID Tag and Booster Antenna
HEWLETT-PACKARD DEVELOPMENT COMPANY LP, 2021
RFID tamper detection system for packages using a booster antenna and RFID tag. The booster antenna is attached to one part of the package and the RFID tag is attached to another part. When the package is closed, the RFID tag is inductively coupled to the booster antenna. If the package is opened, the tag decouples from the booster antenna and loses range. This is detected as a tamper event. Resealing the package reconnects the tag to the booster for normal operation.
14. Multilayer Conductive Packaging with Voltage Detection and Tamper-Resistant Alert System
VA CO PLAST S A S DI SCARSO VALTER & C, 2021
Alarmed packaging for containers like pallets that can detect and locate repeated break-ins during transport. The packaging has sections made of multilayer materials with conductive layers separated by an insulating layer that regains thickness after crushing. Electronic devices inside apply low voltage and detect voltage changes indicating damage. They transmit alerts with location and time if the packaging is breached multiple times. The devices also prevent tampering and shutdown if separated.
15. Multilayer Laminate Packaging with Embedded NFC/RFID Circuits for Intrusion Detection and Codeword Verification
ETEP INC, 2021
Packaging solution for detecting counterfeiting, intrusion, and falsification of packaged products using embedded NFC/RFID circuits and multilayer laminate structures. The packaging has an NFC/RFID integrated circuit with electrical circuits that sense voltage signals between sections of the laminate. The circuits form a codeword based on connected sections. When the laminate is intruded, sections disconnect and the codeword changes. The circuit compares the sensed codeword to the original one. This allows detecting tampering, counterfeiting, and falsification. The laminate can also have a transformative material that changes impedance between layers in response to intrusion.
16. Packaging Material with Embedded Microstructures for Visual Authentication
EVOTEK INC. LIMITED LIABILITY COMPANY, Limited Liability Company "Evotek Inc", 2021
A method to protect and authenticate packaged goods without using special tools for end users. The method involves embedding microstructures into the packaging material itself during production. These microstructures can be either stochastic or repeating patterns containing features like microliters or microsymbols. When viewed with the naked eye, these microstructures create variations in tone that reproduce halftones of an image. This allows users to visually verify the authenticity of the product without additional accessories.
17. Method for Forming Protective Images on Packaging Using Trace Element Patterns with Modulated Microstructures
Limited Liability Company "Evotek Inc", EVOTEK INC. LIMITED LIABILITY COMPANY, 2021
Method for applying a protective image on packaging materials that allows end users to authenticate products without special tools. The method involves forming the protective image using trace elements instead of continuous lines. The image is created by generating a first set of patterns with modulated lines and curves to reproduce tonal variations. A second set of patterns with separate microstructures is generated, which are dimensionally modulated to also reproduce tonal variations. These microstructures can be stochastic or repeating with recognizable features like letters or symbols. Applying these trace element patterns directly to the packaging materials allows end users to visually confirm authenticity without additional tools or equipment.
18. Adhesive Label with Removable Layer Revealing Verification Section and Tearable Packaging Connection
SHENZHEN FICUS TECHNOLOGY HOLDINGS LTD, 2021
An adhesive label for anti-counterfeiting packaging that allows consumers to independently verify product authenticity. The label has an adhesive layer with a removable top layer that reveals a visible lottery-style ticket section. The label can be attached to the product packaging. Consumers can peel off the top layer to reveal the ticket section. This allows them to check if the ticket matches a predetermined pattern, providing an easy and independent way to authenticate the product. The label also has a tearable part connecting it to the packaging, allowing the label to be separated from the packaging without damaging it.
19. Segmented Reactive Packing Strip with Perforated Oxygen-Activated Chemical Indicators
ZIVANOVIC SAVA, 2020
Reactive packing strip that leaves a trace when a shipment is forcefully opened. The strip is segmented with perforations between each segment. Each segment contains a sealed strip with a chemical agent that reacts with oxygen if the perforation is torn. This indicates forced opening. The strip is applied over the shipment's closure to protect it. If someone tries to forcefully open the package, it damages the outer polyethylene layer and exposes the chemical agent. This causes a reaction when oxygen is introduced, revealing the forced opening.
20. Product Packaging with Integrated Destructible Authentication Features and Tamper-Indicating Chip
SHENZHEN FICUS TECHNOLOGY HOLDINGS LTD, 2020
Product packaging with integrated anti-counterfeiting features that help prevent product tampering and fraud. The packaging device has a housing that opens to access the product inside. It has a lottery portion with an effective area covering part of the opening. This area can be destroyed when the packaging is opened, providing a way to authenticate the product by matching the destroyed area to the lottery portion. The packaging can also have a readable chip inside that breaks when opening, or a covering over the effective area that is destroyed when opening.
21. Package Integrity Monitoring via Inductive Coupling of RFID Tag and Booster Antenna
HEWLETT-PACKARD DEVELOPMENT COMPANY LP, 2020
RFID tamper detection for packages using a booster antenna that increases the range of an RFID tag. The booster antenna is fixed to one part of the package while the RFID tag is attached to another part. When the package is closed, the RFID tag inductively couples with the booster antenna. If the package is opened, the RFID tag decouples from the booster antenna and has reduced range. This can be detected as a tampering event. Resealing the package reconnects the RFID tag to the booster antenna.
22. Packaging Machine with Integrated Chamber for Real-Time Seal Verification Using Mechanical Pressure
ULMA PACKAGING TECH CT COOP, 2020
Packaging machine that enables real-time seal verification during the packaging process. The machine has a chamber that surrounds the sealing area of the film as it's being sealed. Before the final cut, mechanical pressure is applied to the sealed area and the chamber to check the seal quality. This allows immediate detection of poor seals without requiring separate verification systems. The pressure increases the gas leakage from defective seals.
23. Vacuum Packaging with Fixed Particle Configuration for Tamper Detection and Authentication
SHIFT CRYPTOSECURITY AG, 2020
Secure vacuum packaging method to prevent tampering and counterfeiting of products. The packaging involves vacuum sealing an object inside a container with a large number of particles. The particles are fixed in a random immobile state during vacuum sealing. This creates a unique fingerprint based on the particle configuration. After sealing, the packaging can be verified by scanning it with an optical or spectroscopic device to detect the fixed particle state. If the packaging has been opened or tampered with, the particle arrangement will be disrupted. This provides tamper evidence and product authenticity.
24. Thermoformed Packaging with Movable Tab Locking Mechanism for Visual Tamper Indication
DISPLAY PACK INC, 2020
Tamper-evident thermoformed packaging with a movable tab that locks the lid open to indicate tampering. The packaging has a base and lid that snap fit together. A movable tab on the base can be forced down to access the lid edge. When the tab is moved, it has a protrusion that swings up and locks into a retention feature on the lid. This locks the tab in the open position and prevents easy lid closure. The locking action creates an audible snap. The tab design tilts the lid edge up when locked, making it easier to see and grip for lid removal. This provides visual tamper evidence compared to packages where the lid can be easily opened without leaving a clear indication.
25. Packaging Box with Delamination Regions for Visible Tamper Detection
YASUO HIROSE, 2020
Packaging box with a simplified falsification prevention mechanism that leaves visible traces if tampered. The box has delamination regions that can be separated by inserting a tool between specific components. When someone tries to tamper with the box by cutting and opening it, forces applied to the delamination regions cause delamination and leave visible traces. This prevents a clean cut and closure, making it apparent if the box has been tampered.
26. Packaging Material with Concealed Embossed Codes Using Partial Polyhedral Structures
BOEGLI-GRAVURES SA, 2020
Embossing codes onto packaging material like foil and paper that are hard to see by eye but can be read using specialized techniques. The codes are embossed with reduced visibility to make them difficult to detect. The embossing teeth have partial polyhedral structures on the male and female sides that cooperate to create the embossed pattern. This allows decorative embossing alongside the hidden codes. The codes can be 2D barcodes like QR codes or data matrices. They are read by illuminating the area from different directions and capturing images to calculate the code representation. This provides authentication without visually detecting the codes.
27. Container Authentication System Using Inherent Feature-Based Digital Fingerprinting
SURYS, 2020
Securing product containers to prevent unauthorized reuse or refilling by using a unique and unremovable marking on the container itself instead of labels or seals. The marking is created during production by an optical recognition system that scans the container and creates a digital fingerprint based on distinctive features like contours and patterns. This fingerprint is then compared against a database of authorized fingerprints to verify authenticity. This eliminates the need for external security labels that can be duplicated or removed. The marking is created using an artificial intelligence system that learns to identify unique features of each container during production.
28. Packaging System with Conductive Material-Linked Tamper Detection and Signal Transmission Module
SREEKANTH RAGUVARAN, 2019
Tamper-proof packaging system using connected devices and conductive materials to provide tamper evidence and customer notifications. The packaging includes a tamper-proof module with sensors connected to conductive materials like foil. When the packaging is tampered, the conductive material breaks and sends a signal to the module. The module stores the tampered status. Scanning a barcode reveals the tamper history. This allows customers to verify if a package was opened.
29. Packaging Box with Conductive Structures and RFID-Triggered Tamper Detection System
RELYTEX GMBH & CO KG, 2019
Packaging system with an integrated security system to prevent theft and tampering. The packaging box has conductive structures extending over the walls. RFID units are associated with these conductive structures. When an interruption in a conductive structure is detected, it triggers an alarm. This allows monitoring the entire box for tampering attempts by checking if RFID signals can be forwarded through the conductive structures.
30. Smart Packaging with Integrated Stress Sensors for Tamper Detection via Unique Fingerprint Generation
INTERNATIONAL BUSINESS MACHINES CORP, 2019
Detecting package tampering using smart packaging with integrated sensors. The packaging elements like bubble wrap have sensing components with stress sensors. When a packaged item is sealed, a unique fingerprint is generated based on the initial sensor readings. At delivery, the fingerprint is compared to the current sensor readings to detect if the package was opened and repackaged. If the sensor readings are different, it indicates tampering. The smart packaging provides a tamper-proof sealing solution by using integrated sensors that generate a unique fingerprint when sealed.
31. Package with RFID Tag and Inductively Coupled Booster Antenna for Tamper Detection
HEWLETT PACKARD DEVELOPMENT CO, 2019
RFID tamper detection using a package with an RFID tag and a separate booster antenna. The booster antenna is attached to one portion of the package and the RFID tag is attached to another portion. When the package is closed, the RFID tag inductively couples to the booster antenna. This increases the RFID tag's communication range. When the package is opened, the RFID tag decouples from the booster antenna and loses range. This allows detection of tampering because the RFID reader will lose connection. When the package is resealed, the RFID tag couples back to the booster antenna to restore normal operation.
32. Inspection System for PTP Packaging Sheets with Attribute Data Embedding in Non-Inspection Pixel Areas
CKD CORP, 2018
An inspection system for PTP packaging sheets that allows embedding attribute information in the inspection images without affecting the inspection results. The system rewrites the pixel data of non-inspection areas with attribute information. This allows combining the inspection images and attribute data into a single file, simplifying data management. It also allows using general image processing software since the main image data is untouched. The non-inspection areas are corners and edges. Rewriting those pixels with attribute info ensures no impact on the inspection.
33. Packaging with Dedicated Fingerprint Panel for Direct Illumination and Imaging Authentication
BOSCH GMBH ROBERT, 2018
Packaging design for authentication that allows accurate and efficient verification of packaged goods using conventional authentication systems. The packaging has a dedicated fingerprint panel with a diffusely transmitting fingerprint area. This area has features representing the package's identity that can be directly illuminated and imaged. It avoids issues with translucent packaging blocking light and reducing image quality. The dedicated fingerprint panel enables effective authentication without affecting the main product inside.
34. Packaging Pouch with Inner Laminate Sheet Incorporating Internal Branding Element for Authentication
DHARAMPAL SATYAPAL SONS PVT LTD, 2018
A packaging pouch for products that allows consumers to easily authenticate the product inside to prevent counterfeiting. The pouch has an inner laminate sheet with a branding element on the inside surface. This element provides an indication of originality and helps distinguish authentic pouches from counterfeits. Consumers can check for the branding element on the inside surface when opening the pouch to verify authenticity.
35. Package with Dedicated Diffusely Transmitting Fingerprint Panel for Imaging Authentication
ROBERT BOSCH GMBH, 2017
A package design optimized for product authentication that allows efficient and accurate imaging of a unique fingerprint area on the package to authenticate it. The package has a dedicated fingerprint panel with a diffusely transmitting fingerprint area that can be directly illuminated and imaged. This provides clear and detailed images of the fingerprint features that represent the package's identity. The fingerprint panel is separate from the product storage areas to prevent obstruction. The design enables efficient and accurate generation and verification of the package's authentication code.
36. Package with Dedicated Fingerprint Panel and Diffuse Transmission Area for Authentication
BOSCH GMBH ROBERT, 2017
Package design optimized for authentication. The package has a dedicated fingerprint panel with a diffuse transmission area that can be directly illuminated and imaged. This allows efficient and accurate authentication using a light source and camera without obstructions from the product inside. The panel has features representing the package identity.
Get Full Report
Access our comprehensive collection of 36 documents related to this technology
