Improving Light Absorption in Dye Sensitized Solar Cells
Current dye-sensitized solar cells (DSSCs) face fundamental limitations in their light-harvesting capabilities. Commercial DSSCs typically achieve power conversion efficiencies of 10-12%, with significant photon losses occurring due to narrow absorption bands, poor dye coverage, and inefficient charge transfer at the dye-semiconductor interface.
The core challenge lies in maximizing light absorption across the solar spectrum while maintaining efficient charge separation and transfer at the molecular level.
This page brings together solutions from recent research—including metal-organic framework modified photoanodes, co-sensitization with complementary dyes, and novel core-shell upconversion structures for near-infrared absorption. These and other approaches focus on practical implementations that can improve DSSC efficiency without compromising long-term stability or manufacturing scalability.
1. Method for Fabricating Metal-Organic Framework Coated Titanium Dioxide Photoanodes with Selective Dye Adsorption
HARBIN UNIVERSITY OF SCIENCE AND TECHNOLOGY, 2023
A method for enhancing the photoelectric conversion efficiency of dye-sensitized solar cells through the use of metal-organic framework (MOF) modified titanium dioxide (TiO2) photoanodes. The method involves coating TiO2 with MOF layers that selectively adsorb light-absorbing dyes, thereby improving the material's ability to absorb visible light. This selective dye adsorption enables the TiO2 photoanode to exhibit higher photoelectric conversion efficiency compared to conventional TiO2-based materials. The MOF layers can be prepared through a sol-gel process, allowing for the precise control of dye adsorption properties.
2. Photoanode with Co-Sensitized Acid/Alkali Dye and Small Molecule Sensitizers Using Density Functional Theory Calculated Structures
XIAN TECHNOLOGICAL UNIVERSITY, 2023
Co-sensitization of acid/alkali dye and small molecule sensitizers for improved solar cell performance. The method involves co-sensitizing two or more dye sensitizers with complementary absorption spectra, while simultaneously incorporating a small molecule sensitizer. The sensitizers are prepared through density functional theory calculations to optimize their molecular structure and absorption properties. The resulting sensitized photoanode exhibits enhanced energy conversion efficiency, improved spectral range, and increased stability compared to conventional dye sensitization methods.
3. Sensitizing Dye with Broad Wavelength Absorption for Photoelectric Conversion Elements
HODOGAYA CHEMICAL CO LTD, 2023
Sensitizing dye for photoelectric conversion, sensitizing dye composition for photoelectric conversion elements, and dye-sensitized solar cells with improved photoelectric conversion efficiency and stability. The sensitizing dye achieves enhanced absorption across a broader wavelength range through its novel molecular structure, enabling higher conversion rates in organic photovoltaic devices. The sensitizing dye composition can be used in photoelectric conversion elements and dye-sensitized solar cells, offering improved performance characteristics compared to conventional sensitizing dyes.
4. Fiber Dye-Sensitized Solar Cell with Titanium Dioxide Nanotube Array and Carbon Nanotube Fiber Counter Electrode
FUDAN UNIVERSITY, 2021
Fiber dye-sensitized solar cell with high photoelectric conversion efficiency in indoor light environment, comprising vertically grown titanium dioxide nanotube array on a flexible substrate, with titanium dioxide nanoparticles uniformly filling the nanotube gaps and fully adsorbing the dye molecule N719 as the photoanode, and the photoanode is wound with carbon nanotube fibers as the counter electrode.
5. Organic Chromophores with Tautomeric Structures for Enhanced Charge Transfer in Electronic Devices
AMBIENT PHOTONICS INC, 2021
Novel organic chromophores and a combination of chromophores as sensitizers for dye-sensitized solar cells (DSSCs) and other electronic devices. The novel chromophores and their combinations achieve enhanced charge injection and electron transfer through novel tautomeric structures that enable efficient charge transfer processes. These chromophores and their combinations exhibit improved performance compared to traditional sensitizers, enabling faster electron transfer rates and higher power conversion efficiencies in DSSCs and other electronic devices.
6. Triphenyldihydroacridine Dye with Oligomeric Phenophene Bridge and Sialox Acceptor
SOUTH CHINA UNIVERSITY OF TECHNOLOGY, South China University of Technology, 2021
A triphenyldihydroacridine dye with enhanced photoelectric performance in dye-sensitized solar cells. The dye combines a 9,9', 10-triphenyldihydroxyl donor with a sialox acceptor and an oligomeric phenophene bridge. This structure enables improved electron transfer within the dye molecule, while the oligomeric phenophene bridge prevents aggregation. The dye achieves high photoelectric efficiency and stability in dye-sensitized solar cells, with enhanced open-circuit voltage and long-term stability compared to conventional sensitizers.
7. Composite Electrode with Dye-Sensitized Semiconductor and Functional Dye for Enhanced Charge Injection Kinetics
UNIV JINAN, 2021
A composite electrode for dye-sensitized solar cells that enhances photocurrent density through enhanced charge injection kinetics. The composite electrode incorporates a dye-sensitized semiconductor material with a functional dye that selectively absorbs light in the visible spectrum. The dye's active absorption maximizes charge generation while minimizing recombination, leading to improved electron-hole pair formation and increased photocurrent density. The dye-sensitized semiconductor material itself serves as the electrode component, with the functional dye acting as a sensitive indicator of charge generation.
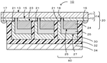
8. Photoanode with Core-Shell Upconversion Nanocrystals for Near-Infrared Absorption
HARBIN INSTITUTE OF TECHNOLOGY, Harbin Institute of Technology, 2021
A near-infrared broadband absorption photoanode for dye-sensitized solar cells that enables efficient conversion of infrared light. The photoanode comprises a conductive glass substrate, a titanium dioxide layer with N719 dye, and a core-shell upconversion nanocrystal layer composed of NaLuF4@NaErF4@NaLuF4. The core-shell nanocrystals absorb infrared light in the 1532nm range, converting it into visible light across the 500-700nm spectrum. This broadens the spectral response of conventional dye-sensitized solar cells, enabling higher efficiency conversion of solar energy.
9. Dye-Sensitized Solar Cells with Porous Semiconductor Layer Comprising Zinc Oxide, Niobium Pentoxide, or Bustard Trioxide
State Grid Qinghai Electric Power Company Economic and Technical Research Institute, STATE GRID QINGHAI ELECTRIC POWER CO, 国网青海省电力公司清洁能源发展研究院, 2021
Dye-sensitized solar cells with enhanced light trapping capabilities through a novel porous semiconductor layer. The cells incorporate a transparent conductive substrate, specifically FTO glass, and a titanium dioxide-based porous semiconductor layer. The porous layer, comprising zinc oxide, niobium pentoxide, or bustard trioxide, provides efficient light absorption while maintaining electrical conductivity. This architecture enables improved charge separation and electron-hole transport, thereby enhancing the overall photoelectric conversion efficiency of the solar cells.
10. Photo-Anode with Ultrafast Laser-Etched Three-Dimensional TiO2 Structure for Enhanced Dye Adsorption
BEIJING UNIVERSITY OF TECHNOLOGY, 2021
Dye-sensitized solar cell photo-anode with high dye adsorption capacity. The dye adsorption capacity can be effectively improved. The preparation method includes ultrafast laser etching, calcining the composite structure, and subjecting the three-dimensional Ti-based TiO to2Calcining the composite structure, and then carrying out dye adsorption, sensitization treatment and post-treatment.
11. Photoanode Doping Method with Carbon Nitride-Based Photocatalyst for Dye-Sensitized Solar Cells
YIWU INDUSTRIAL & COMMERCIAL COLLEGE, Yiwu Industrial & Commercial College, 2021
A method for enhancing the photoelectric conversion efficiency of dye-sensitized solar cells through the incorporation of a novel semiconductor material, specifically a carbon nitride-based photocatalyst, into the photoanode structure. The photocatalyst, Melem (C6N7(NH2)3), is specifically engineered to optimize the semiconductor bandgap and light absorption properties, thereby significantly increasing the solar energy conversion capability of the solar cell. The photocatalyst is incorporated into the photoanode material through a controlled doping process, enabling enhanced charge separation efficiency and improved overall solar energy conversion performance.
12. Photoanode with TiO2 Nanowire-Nanoparticle Composite Structure for Dye-Sensitized Solar Cells
NORTHWESTERN POLYTECHNICAL UNIVERSITY, Northwestern Polytechnical University, 2020
A solar cell photoanode that enhances dye-sensitized solar cell (DSSC) performance by incorporating TiO2 nanowires (NWs) into a TiO2 nanoparticle (NP) composite structure. The composite structure combines the high surface area and charge transport capabilities of TiO2 NWs with the photocatalytic activity of TiO2 NP. The TiO2 NWs are prepared through a controlled nucleation and growth process, while the TiO2 NP is synthesized through a sol-gel method. The composite TiO2 NWs/TiO2 NP structure is then incorporated into the DSSC photoanode, where the TiO2 NWs enhance electron collection efficiency while the TiO2 NP enhances photocatalytic activity.
13. Organic Photosensitive Dye Synthesized via Novel Knoevenagel Condensation Reaction
Jiangxi Agricultural University, JIANGXI AGRICULTURAL UNIVERSITY, 2019
Organic photosensitive dye with improved synthesis and application properties. The dye is synthesized through a novel Knoevenagel condensation reaction that enables efficient synthesis of the dye's core structure. The resulting dye exhibits enhanced photoelectric conversion efficiency compared to traditional metal-organic dyes, particularly in DSC applications. The dye's unique structure enables selective sensitization of photoanode materials, enabling high-performance solar cells with improved charge carrier collection efficiency.
14. Organic Dye with Porphyrin-Triphenylamine Donor and Benzoic Acid Acceptor Linked by Alkyl Chain for Dye-Sensitized Solar Cells
NANKAI UNIVERSITY, 2019
Double π-A type organic dye for dye-sensitized solar cells that combines porphyrin with triphenylamine as electron donors and benzoic acid as electron acceptors. The modified dye incorporates an alkyl chain between the porphyrin and triphenylamine units, enhancing its photoelectric conversion efficiency compared to single D-π-A dyes. The dye's molecular structure features a porphyrin bridge connecting the triphenylamine donor and benzoic acid acceptor, while the alkyl chain provides a flexible and stable linkage. This design enables improved performance in dye-sensitized solar cells through enhanced charge transfer and electron mobility.
15. Dye-Sensitized Solar Cell with Alternating Multi-Layer Dye Architecture for Enhanced Light Absorption and Current Uniformity
ORION CO LTD, 2019
Dye-sensitized solar cells with improved current uniformity and efficiency through a novel light-absorbing layer architecture. The cell features alternating light-absorbing layers comprising multiple dye layers, where each dye layer is applied through a cocktail method. This multi-layered approach enables direct absorption of light through the counter electrode and electrolyte while maintaining high current production capacity. The alternating arrangement of light-absorbing layers on both substrate surfaces ensures uniform light absorption across the cell, while the counter electrode is positioned to maximize light absorption efficiency.
16. Organic Dye-Sensitized Solar Cell with Conductive Polymer Matrix Counter Electrode
NANJING CHUQING ELECTRONIC TECHNOLOGY CO LTD, 2018
Organic dye-sensitized solar cell with improved performance and cost-effectiveness. The cell comprises an organic dye-sensitized photoanode, a composite counter electrode, and a gel electrolyte. The counter electrode is fabricated using a conductive polymer matrix, which enhances its electrical conductivity and catalytic activity. The organic dye-sensitized photoanode and gel electrolyte are integrated between the counter electrode layers, enabling efficient electron transfer and improved light absorption. The counter electrode is fabricated through a conductive polymer matrix, which provides superior electrical conductivity and catalytic activity compared to traditional platinum-based counter electrodes. This design enables the production of high-performance organic dye-sensitized solar cells with reduced material costs and environmental impact.
17. Photoelectrode Comprising Nitrogen-Doped Titanium Oxide with Graphene Oxide Intergrain Incorporation
KUMOH NATIONAL INSTITUTE OF TECHNOLOGY INDUSTRY-ACADEMIC COOPERATION FOUNDATION, Industry-Academic Cooperation Foundation of Kumoh National Institute of Technology, 2018
Dye-sensitized solar cells with improved electron mobility and dye adsorption efficiency, achieved through a novel photoelectrode preparation method. The method involves creating a nitrogen-doped titanium oxide (TiO2) photoelectrode with graphene oxide incorporated between its grains. This TiO2-NTx-TiO2 composite exhibits enhanced electron mobility and dye adsorption capabilities compared to conventional TiO2-based photoelectrodes. The composite photoelectrode is prepared through a specific reaction sequence involving TiO2 precursor, nitrogen precursor, graphene oxide, and ultrasonic treatment. The resulting photoelectrode exhibits improved light conversion efficiency and charge transport characteristics, enabling higher power output from dye-sensitized solar cells.
18. Method for Fabricating TiO2 Nanoparticle/Graphene Composite Films for Dye-Sensitized Solar Cells
LI WENBIN, 2018
A method for preparing TiO2 NS/graphene composite film dye-sensitized solar cells through a novel approach to enhance the performance of dye-sensitized solar cells. The method involves creating TiO2 NS/graphene composite films by combining nanoscale TiO2 nanoparticles with graphene layers, followed by the deposition of these composite films onto a substrate. This composite film structure combines the high surface area of graphene with the stability and light-absorbing properties of TiO2 nanoparticles, resulting in improved dye-sensitized solar cell performance.
19. Indolopyrrole Thiophene Dye with Thiophene Ring and Indolopyrrole Core Synthesized via o-Dichlorobenzene and Triphenylphosphine Reaction
UNIV TIANJIN TECHNOLOGY, 2018
Indolopyrrole thiophene photosensitive dyes for solar cells, comprising a thiophene ring with an indolopyrrole core. The dye contains a thiophene ring with an indolopyrrole core, which is synthesized through a novel reaction pathway involving a combination of o-dichlorobenzene and triphenylphosphine. The resulting compound exhibits high photochemical stability and efficient absorption in the visible spectrum, making it suitable for use in solar cells.
20. Zinc Porphyrin with Triphenylamine Electron Donor Synthesized via Diphenylamine Coordination and Oxidation
NORTHWEST NORMAL UNIVERSITY, Northwest Normal University, 2018
Zinc porphyrin with triphenylamine as an electron donor group, synthesized through a novel method involving the coordination of diphenylamine to zinc porphyrin. The resulting zinc porphyrin exhibits enhanced electron mobility and stability, making it an effective electron donor for dye-sensitized solar cells. The synthesis pathway involves the coordination of diphenylamine to zinc porphyrin, followed by oxidation to form the final zinc porphyrin. This approach enables the creation of zinc porphyrins with triphenylamine as an electron donor group, which can be used as a sensitizer in dye-sensitized solar cells.
21. Photoanode Comprising Bi2Te3 Nanosheets with Wide Absorption Spectrum and Hydrothermal Solvothermal Synthesis
ANHUI WEISHIYANG INFORMATION TECHNOLOGY CO LTD, 2018
Dye-sensitized solar cell photoanode with enhanced absorption spectrum and preparation method, enabling higher efficiency and stability in solar cells. The photoanode comprises a Bi2Te3 nanosheet material with a wide absorption spectrum, prepared through a hydrothermal solvothermal method that produces high-purity and uniform nanosheet powders. This approach addresses the limitations of conventional dye-sensitized solar cells by expanding the absorption range beyond the TiO2 limit, while maintaining the photoanode's rapid electron injection and separation properties. The resulting photoanode enables enhanced solar conversion efficiency and stability, particularly in the infrared region.
22. Covalent Organic Polymer C0P-64 Doped Titanium Dioxide Photoanode for Dye-Sensitized Solar Cells
Beijing University of Chemical Technology, Beijing University of Chemical Technology, 2018
Enhancing the photoelectric conversion efficiency of dye-sensitized solar cells through the incorporation of a novel covalent organic polymer (COP) material. The COP, specifically Covalent Organic Polymer C0P-64, is applied to the titanium dioxide photoanode surface to improve charge separation and light absorption. By selectively doping the TiO2 with the COP, the TiO2 energy band is adjusted to enhance visible light absorption, while the COP's unique optical properties enhance diffuse reflectance and increase specific surface area. This results in improved charge separation and overall solar cell efficiency.
23. Dye-Sensitized Solar Cell with Carbazole-Based Dye Layer and Barrier Rib Sealed Interface
DAEGU GYEONGBUK INSTITUTE OF SCIENCE AND TECHNOLOGY, 2018
Dye-sensitized solar cell with enhanced photoelectric conversion efficiency through a novel dye structure. The cell comprises a semiconductor layer on a titanium dioxide-based dye layer, with a counter electrode and electrolyte between. The dye layer incorporates two carbazole molecules with strong electron donors, which significantly increases the dye's absorption coefficient and electron mobility. The cell's structure includes a barrier rib to seal the interface between the dye layer and counter electrode, enabling efficient electron transfer. The dye layer's molecular design enables improved light absorption and electron transfer properties, resulting in enhanced solar cell efficiency.
24. Dye-Sensitized Solar Cell with Ternary Metal Oxide Photoelectrode and Microparticle Scattering Layer
PUBLIC JOINT STOCK COMPANY OIL COMPANY ROSNEFT, PUBLICHNOE AKTSIONERNOE OBSHCHESTVO NEFTYANAYA KOMPANIYA ROSNEFT, Public Joint Stock Company Rosneft Oil Company, 2018
High-efficiency dye-sensitized metal oxide solar cell design that uses a triple metal oxide composition for the photoelectrode layer and a scattering layer. The photoelectrode is made of nanoparticles from a ternary metal oxide system like (1-x)SmxO2, where x is a rare earth dopant concentration. This triplet metal oxide composition allows higher efficiency compared to traditional TiO2 by improving electron transport. The scattering layer of microparticles helps capture more light. The cell structure has two electrodes, a sensitized photoelectrode layer, scattering layer, and electrolyte between them.
25. Dye for Dye-Sensitized Solar Cells with Electron Donor-Acceptor Units Linked by π-Bonded Aryl Chains
Dongjin Semichem Co., Ltd., DONGJIN SEMICHEM CO LTD, 2018
A dye for dye-sensitized solar cells that achieves high efficiency through enhanced absorption and charge transfer properties. The dye comprises a novel molecular structure with electron donor and acceptor units connected by π-bonded aryl chains, enabling improved absorption and redox stability. The dye is supported on titanium oxide thin films, which are formed on a conductive substrate. The dye's π-bonded structure allows enhanced charge transfer and absorption, resulting in significantly improved photoelectric conversion efficiency compared to conventional ruthenium-based dyes.
26. Organic Dye Comprising Carbazolamine Derivative with Broad Wavelength Absorption for Dye-Sensitized Solar Cells
SFC Co., Ltd., SFC CO LTD, 2017
Organic dye for dye-sensitized solar cells with enhanced light absorption and photoelectric conversion efficiency. The dye comprises a carbazolamine derivative with a specific molecular structure that enables efficient absorption across a broad wavelength range. This dye-based solar cell architecture enables higher light absorption and improved photoelectric conversion compared to conventional dye-sensitized solar cells. The dye's molecular structure is optimized for optimal absorption and charge transfer properties, resulting in enhanced solar cell performance.
27. Phthalocyanine Compound for Dye-Sensitized Solar Cells with Near-Infrared and Visible Light Absorption
KOREA INSTITUTE OF INDUSTRIAL TECHNOLOGY, 2017
A dye for dye-sensitized solar cells with enhanced absorption in the near-infrared region (600-700 nm) and visible light, achieving high photoelectric conversion efficiency. The dye comprises a novel phthalocyanine compound with a strong absorption band gap in the near-infrared region, combined with a high molar extinction coefficient. The compound enables efficient conversion of both visible and near-infrared light, leading to improved solar cell performance compared to conventional phthalocyanines.
28. Tetithienopyrrole-Based Organic Dye with Integrated Electron Donor, π-Bridge, and Acceptor Structure
Huaiyin Institute of Technology, HUAIYIN INSTITUTE OF TECHNOLOGY, 2017
Tetithienopyrrole-based organic dye for solar cells with enhanced electron transfer properties. The dye, synthesized through a novel approach, combines the structural characteristics of electron donors, π-bridge, and acceptors to improve electron transfer efficiency in solar cells. The dye's molecular structure enables efficient electron injection and collection, while its design allows for flexible molecular modification. This dye offers a promising alternative to ruthenium-based and zinc porphyrin dyes, with lower preparation costs and environmental concerns.
29. Photoanode Material with Azo Manganese Complex Integrated in TiO2 Matrix
JILIN INST CHEMICAL TECH, 2017
A dye-sensitized solar cell photoanode material and preparation method that enables enhanced photocatalytic activity through the incorporation of an azo manganese complex. The material comprises a 4-[(8-Vat-5-pyriline)azo]-benzenesulfonic acid manganese complex, which is prepared through a novel synthesis route. This complex is then incorporated into a TiO2 photoanode matrix, where it enables improved photocatalytic properties through enhanced charge transfer and electron-hole pair generation.
30. Composite Double-Layer Photo-Anode Film with Integrated Titanium Dioxide and Dye-Sensitized Layer for Solar Cells
HUBEI UNIVERSITY, 2017
A novel composite double-layer photo-anode film for dye-sensitized solar cells that significantly enhances light trapping efficiency. The film comprises a titanium dioxide (TiO2) dense layer on top of a conductive glass substrate, followed by a layer of a novel composite material. This composite material, comprising a specific dye-sensitized solar cell active layer and a TiO2 layer, combines the benefits of both materials. The TiO2 layer enhances light absorption, while the dye-sensitized solar cell active layer improves the overall solar conversion efficiency. The composite material is prepared through a novel process that integrates the TiO2 and dye-sensitized solar cell components in a single layer, creating a superior photo-anode film for solar cells.
31. Pigment with Conjugated Double Bond Structure for Dye Sensitizing Solar Cells
MITSUBISHI PAPER MILLS LTD, 2017
Pigment for dye sensitizing type solar cells that achieves high photoelectric conversion efficiency and durability through a novel conjugated double bond structure. The pigment, which connects electronic donor and acceptor units through a conjugated double bond, exhibits a full Oren unit structure with a stacking effect that prevents direct contact between the semiconductor and electrolyte. This arrangement enables stable dye aggregates that exhibit superior photoelectric performance compared to conventional organic sensitizers. The pigment's unique structure and conjugation pattern enable efficient energy transmission through the dye aggregate, while its regular arrangement promotes barrier reduction and reverse electron transfer inhibition.
32. Organic Dye Compound with Recombination-Preventing Substituent for Dye-Sensitized Solar Cells
Daegu Gyeongbuk Institute of Science and Technology, DAEGU GYEONGBUK INSTITUTE OF SCIENCE AND TECHNOLOGY, 2017
Organic dye compound and dye-sensitized solar cell technology that enhances photoelectric conversion efficiency through a specific substituent that prevents recombination of intramolecular electron donors and electrolyte ions. The compound, identified through NMR and mass spectrometry analysis, contains a substituent that disrupts the recombination process, thereby improving electron mobility and Voc. The dye-sensitized solar cell incorporating this compound achieves higher photoelectric conversion efficiency compared to conventional organic dyes.
33. Photoanode with Nano-TiO2/TiO2 Film and Nanostructured Scattering Layer for Dye-Sensitized Solar Cells
Nanjing University Kunshan Innovation Institute, KUNSHAN INNOVATION INSTITUTE OF NANJING UNIVERSITY, 2017
A dye-sensitized solar cell photoanode with enhanced light absorption and electron transport properties. The photoanode comprises a nanostructured light-absorbing layer, a transport layer, and a scattering layer. The light-absorbing layer is formed through a novel nano-TiO2/TiO2 nanostructured film, which enhances light absorption while maintaining structural integrity. The transport layer is a conductive glass layer, while the scattering layer is a nanostructured TiO2 layer that scatters light while maintaining structural integrity. The scattering layer is prepared through a controlled nanostructuring process that maintains its structural integrity while enhancing light scattering properties. This nanostructured light-absorbing layer, transport layer, and scattering layer combination enables efficient light absorption and electron transport in dye-sensitized solar cells.
34. Dye-Sensitized Solar Cells with Ruthenium Complex Dye Featuring Amino-Substituted Bipyridine Ligand for Enhanced π-π Stacking Interactions
FUJIFILM CORP, 2017
Dye-sensitized solar cells that achieve high photoelectric conversion efficiency in low-light conditions through a novel metal complex dye. The dye, comprising a ruthenium complex with a specific structure featuring an amino group bonded to a bipyridine ligand, exhibits enhanced photoelectric performance in both high and low-light environments. This is achieved through its unique structure that enables efficient π-π stacking interactions between dye molecules and semiconductor surfaces, while maintaining optimal water content in the electrolyte solution. The dye's performance is evaluated through specific evaluation criteria, with acceptable levels of current density (Jsc) and conversion efficiency (A) in both high and low-light conditions.
35. Organic Dye with Triphenylamine Donor, Thiophene Linkage, and Cyanoacrylic Acid Acceptor for Dye-Sensitized Solar Cells
Seoul National University Industry Foundation, SEOUL NATIONAL UNIVERSITY R&DB FOUNDATION, 2016
Organic dye for dye-sensitized solar cells with enhanced light collection efficiency and long-term stability. The dye incorporates a triphenylamine donor, thiophene-based intermediate linkage, and cyanoacrylic acid acceptor, featuring a high molecular extinction coefficient and broad absorption spectrum. The dye's unique structure enables efficient multi-resonant light scattering through its optimized molecular arrangement, while the cyanoacrylic acid acceptor facilitates efficient electron transfer between the dye and titanium dioxide electrode. This dye-based solar cell achieves improved photoelectric conversion efficiency compared to conventional organic dyes, with enhanced stability and long-term performance.
36. Thiophene-Based Dye with Novel Organic Structure for Dye-Sensitized Solar Cells
DONGJIN SEMICHEM CO LTD, 2016
Thiophene-based dye for dye-sensitized solar cells with enhanced photoelectric conversion efficiency compared to conventional ruthenium-based dyes. The dye is synthesized through a novel combination of thiophene and a specific organic structure, enabling improved light absorption and charge transfer properties. The dye is used as a dye layer in dye-sensitized solar cells, where it forms a thin film on the semiconductor surface. The dye's unique structure enables better light absorption and charge transfer compared to conventional dyes, resulting in higher photoelectric conversion efficiency.
37. Bilayer Nanocrystalline TiO2 Film Electrode with Porous Structure for Enhanced Light Absorption and Electron Transport
沈阳航空航天大学, SHENYANG AEROSPACE UNIVERSITY, 2016
A bilayer nanocrystalline TiO2 film electrode and DSSC structure for enhanced solar cell performance. The bilayer configuration features a porous TiO2 film as the front electrode and a porous TiO2 film as the backplate, with a common porous structure. This bilayer architecture enables improved light absorption and electron transport through the front electrode, while the backplate provides a reflective surface to enhance total reflection. The bilayer configuration achieves a total reflection efficiency of 11.17 mA/cm^2, surpassing the traditional sandwich structure by 24.1%.
38. Porous Sn2O4 and TiO2 Coated Ag Nanoparticles with Hierarchical Structure for Enhanced Electron Transport and Light Absorption
UNIV JILIN, 2016
Hierarchical structure of porous Sn2O4 and TiO2 coated Ag nanoparticles, prepared through a method that enables enhanced light absorption and electron transport properties in dye-sensitized solar cells. The nanomaterials feature a porous structure with Ag nanoparticles dispersed on the surface, where the Ag enhances electron transfer while the porous architecture facilitates light scattering. This composite material exhibits improved light absorption and electron conductivity compared to conventional perovskite materials, making it suitable for applications beyond solar cells.
39. Dye-Sensitized Solar Cells with Core-Shell Nanoparticles for Surface Plasmon-Enhanced Light Absorption
ROHM Co., Ltd., TSINGHUA UNIVERSITY, ROHM CO LTD, 2016
Dye-sensitized solar cells with enhanced light absorption through surface plasmon-enhanced absorption, achieved through the incorporation of core-shell nanoparticles with a semiconductor thin film core and shell. The nanoparticles, prepared through a sol-gel process, selectively adsorb dye molecules onto the semiconductor surface, creating a nanostructured interface that significantly increases light absorption efficiency. The resulting solar cells feature transparent electrodes, a counter electrode, and a nanostructured semiconductor film, enabling efficient conversion of solar radiation into electrical energy.
40. Porphyrin Dimer Dye with Dialkoxyphenyl and Dialkylphenyl Substituents for Enhanced Long-Wavelength Absorption in Dye-Sensitized Solar Cells
AISIN SEIKI CO LTD, 2016
A sensitizing dye for dye-sensitized solar cells that enhances photoelectric conversion efficiency across the entire solar spectrum, including long-wavelength absorption. The dye contains a porphyrin dimer structure with dialkoxyphenyl and dialkylphenyl substituents on the porphyrin rings. The dye exhibits improved absorption characteristics in the 400-500 nm region compared to a conventional dye, particularly in the long-wavelength region, while maintaining excellent absorption in the Soret band. This enables the dye-sensitized solar cell to achieve higher overall efficiency compared to conventional sensitizers.
41. Dye-Sensitized Solar Cell with SQ2 and N719 Dyes for Enhanced Long-Wavelength Absorption
LEE JI HOON, 2016
DSSC with enhanced long-wavelength absorption through the addition of SQ2 dye and N719 dye. The invention improves DSSC efficiency by incorporating these dyes, which have superior absorption characteristics at long wavelengths compared to conventional N719 dye. By incorporating these dyes in DSSC cells, the absorption of long wavelengths is significantly increased, enabling higher power conversion rates even when the solar spectrum is more concentrated.
42. Porphyrin Compound Dye with Heterocyclic Ring and Terminal Alkyl Substituents for Dye-Sensitized Solar Cells
DAEGU GYEONGBUK INST SCIENCE, 2016
A dye for dye-sensitized solar cells with enhanced photoelectric conversion efficiency and improved stability compared to conventional ruthenium-based dyes. The dye is a porphyrin compound with a heterocyclic ring containing nitrogen, sulfur, or phosphorus atoms, which enables direct electron transfer through its absorption spectrum. The dye's stability is enhanced by introducing specific substituents, particularly terminal alkyl groups, which prevent photobleaching and maintain the dye's photoactive properties over time. The dye's photoelectric conversion efficiency is significantly improved over conventional porphyrin dyes, making it suitable for commercial applications in dye-sensitized solar cells.
43. Dye-Sensitized Solar Cell with Novel Organic Dye Featuring Multiple Donor Units and Sequential Bonding Arrangement
DAEGU GYEONGBUK INST SCIENCE, 2015
A dye-sensitized solar cell with enhanced photoelectric conversion efficiency through improved dye absorption and electron transfer properties. The cell incorporates a novel organic dye with multiple donor units that enhance the absorption coefficient and electron mobility in the dye layer. The dye is specifically designed to optimize the absorption spectrum of the dye-sensitized solar cell, particularly in the visible region, while maintaining high electron mobility. The cell structure features a sequential bonding arrangement between the dye layer, the first electrode, and the second electrode, creating a partition wall that enhances electron transfer. The dye layer is positioned on top of the first electrode, with the second electrode and counter electrode positioned below. This arrangement enables efficient electron transfer between the dye and electrodes, leading to improved overall conversion efficiency.
44. Dye-Sensitized Solar Cell with Donor-Acceptor Pi-Conjugated Dye Structure
DONGJIN SEMICHEM CO LTD, Toshin Seimikun Co., Ltd., 2015
A dye-sensitized solar cell (DSSC) with enhanced light absorption and improved efficiency. The invention introduces a novel dye that achieves higher photoelectric conversion efficiency through optimized molecular structure. The dye's molecular architecture combines a donor and acceptor units through a specific pi-conjugated system, enabling enhanced light absorption and electron transfer. This design enables the DSSC to achieve higher efficiency compared to conventional organic dyes, while maintaining comparable performance characteristics. The dye's molecular structure is optimized to maximize light absorption while maintaining stability and reactivity. The resulting DSSC exhibits improved light absorption, reduced short-circuit current density, and enhanced overall efficiency.
45. Dye-Sensitized Solar Cell with Organic Dye Layer Featuring Controlled Molecular Arrangement
Daegu Gyeongbuk Institute of Science and Technology Foundation, DAEGU GYEONGBUK INSTITUTE OF SCIENCE AND TECHNOLOGY, 2015
A dye-sensitized solar cell that achieves higher photoelectric conversion efficiency through optimized dye design. The cell comprises a dye layer containing an organic dye with specific molecular structure, where the dye molecules are arranged in a controlled molecular arrangement to enhance charge transport. The dye layer is sandwiched between transparent electrodes, with the dye molecules acting as electron acceptors and the electrodes serving as electron donors. This molecular arrangement enables efficient electron transfer and maximizes charge collection, leading to improved solar cell efficiency.
46. Metal Complex with Tridentate Terpyridine Ligand Featuring Halogen-Substituted 2,2'-Bipyridine for Enhanced Electron Transfer
TOYOTA CENTRAL R & D LABS, 2015
A metal complex for dye-sensitized solar cells that enhances their efficiency through a specific ligand design. The ligand is a tridentate terpyridine with a specific arrangement of electron-withdrawing groups, particularly a halogen at the 6-position of the 2,2'-bipyridine structure. This arrangement enables enhanced electron transfer properties in dye-sensitized solar cells by optimizing the interaction between the metal complex and the dye.
47. Quantum Dot and Metal Nanoparticle-Enhanced Semiconductor Electrode for Dye-Sensitized Solar Cells
INDUSTRIAL TECHNOLOGY RESEARCH INSTITUTE, 2015
Quantum dot dye-sensitized solar cell (QDDSSC) that enhances infrared absorption and light absorption through the incorporation of quantum dots and metal nanoparticles in the semiconductor electrode layer. The QDDSSC achieves higher conversion efficiency by leveraging the unique optical properties of quantum dots and metal nanoparticles in the dye-sensitized solar cell architecture.
48. Organic Dye with Recombination-Inhibiting Substituent and Electron Donor for Dye-Sensitized Solar Cells
DAEGU GYEONGBUK INSTITUTE OF SCIENCE AND TECHNOLOGY, Daegu Gyeongbuk Institute of Science and Technology Foundation, 2015
Organic dye for dye-sensitized solar cells with enhanced photoelectric conversion efficiency. The dye contains a specific substituent that prevents recombination with the intramolecular electrolyte and an electron donor that increases the donor level, thereby optimizing electron flow direction. This approach enables improved light absorption and electron transfer across the visible light spectrum, leading to higher conversion efficiency in dye-sensitized solar cells.
Get Full Report
Access our comprehensive collection of 48 documents related to this technology
