Laser Doping Techniques for Solar Cell Efficiency Enhancement
Laser doping in solar cell manufacturing requires precise control of energy delivery, with typical process windows requiring power densities between 1-10 kW/cm² and scan speeds of 10,000-50,000 mm/s. These parameters must maintain consistent doping profiles while preventing thermal damage to the silicon substrate and preserving the critical tunnel oxide layers that operate at nanometer scales.
The fundamental challenge lies in achieving high surface doping concentrations and deep junction formation while maintaining material integrity and avoiding recombination effects that could compromise cell efficiency.
This page brings together solutions from recent research—including composite laser systems with beam profile modulation, UV-green light selective doping techniques, and controlled parameter optimization for laser-induced diffusion. These and other approaches focus on practical manufacturing implementation while maintaining the delicate balance between doping effectiveness and substrate preservation.
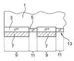
1. Laser Doping Method Using Composite Laser System with Beam Profile Modulation for Selective Emitter Doping in Solar Cells
CHANGZHOU INNO LASER TECHNOLOGY CO LTD, 常州英诺激光科技有限公司, 2024
A laser doping method for selective emitter doping in solar cells that eliminates the need for high-energy laser exposure. The method employs a composite laser system that combines a high-energy laser with a specialized shaping device. The laser beam is modulated to create a precisely controlled beam profile that selectively excites the desired dopant elements while minimizing thermal damage to the surrounding material. This approach enables precise selective emitter doping at reduced laser energy levels compared to traditional methods, while maintaining the structural integrity of the substrate.
2. Method for Manufacturing Solar Cells with Selective Emitter via Controlled Laser Doping and Precise Boron Concentration Ratios
Xi'an LONGi Leye Photovoltaic Technology Co., Ltd., 2024
A method for manufacturing solar cells that improves efficiency by optimizing the selective emitter region. The method creates a selective emitter by selectively doping the substrate with boron in a region with a doping concentration ratio of 1:3 between the heavily doped and lightly doped regions. This creates a region with a doping concentration that is significantly higher than the lightly doped region, while maintaining a doping concentration ratio of 1:3 in the heavily doped region. The method achieves this through a controlled laser doping process that precisely controls the doping concentration in each region, ensuring uniform doping profiles and minimizing recombination effects.
3. Laser Doping Method with Controlled Parameters for Precise Selective Semiconductor Surface Doping
WUHAN DR LASER TECHNOLOGY CO LTD, Wuhan DR Laser Technology Co., Ltd., 2023
Laser doping method and solar cell technology that enables precise selective doping of semiconductor surfaces through optimized laser parameters. The method employs laser selective doping with controlled laser parameters such as scanning speed, spot size, and laser power density. By dynamically adjusting these parameters while maintaining constant scanning speed, the laser power density is increased to enhance boron diffusion through the laser-induced diffusion (LID) process. This approach enables consistent doping profiles across the selective area, while maintaining the necessary laser energy density for high-concentration doping. The method is particularly suitable for achieving precise doping profiles in solar cells, particularly in areas requiring high boron concentrations.
4. Laser-Activated Heavy Doping Method for Polysilicon in Photovoltaic Cells with Controlled Impurity Activation
LAPLACE WUXI SEMICONDUCTOR TECH CO LTD, 2023
A laser-activated method for heavy doping of polysilicon in photovoltaic cells, enabling controlled doping without compromising passivation. The method involves locally heating the polysilicon on the tunnel oxide layer to form molten silicon, which then rapidly solidifies to form electrically active impurity atoms. This process enables precise doping control, particularly in polysilicon regions with interface defects, while maintaining passivation quality.
5. Laser Doping Technique Utilizing Ultraviolet and Green Light for Silicon Substrates
GUANGDONG AIKO TECH CO LTD, 2023
Laser doping method for solar cells that enables high surface doping concentrations while maintaining deep junctions. The method employs ultraviolet (UV) and green light doping techniques to selectively dope the surface of silicon substrates, creating high surface doping concentrations while maintaining a deep junction depth. This approach addresses the conventional limitations of laser doping by leveraging the unique absorption characteristics of UV and green light in silicon, enabling precise control over doping concentrations and junction depths without compromising material properties.
6. Solar Cell with Differential Emitter Doping via Non-Pushing Diffusion and Laser Treatment
JINKO ENERGY HAINING CO LTD, 2023
Solar cell design and manufacturing process to improve cell efficiency by increasing the sheet resistance difference between the emitter regions. The process involves selectively increasing the doping concentration on the metal contact region of the emitter using a non-pushing diffusion process. This creates a lower sheet resistance metal contact region compared to the non-metal contact region. The metal contact region has higher doping due to laser treatment after diffusion. This reduces contact resistance between the metal grid lines and the cell. The non-metal contact region has lower doping after diffusion and laser due to oxidation. This increases sheet resistance and reduces recombination.
7. Method for Manufacturing Solar Cells with Controlled Dopant Spread via High-Speed Laser Doping, Oxidation, and Grid Printing
TONGWEI SOLAR HEFEI CO LTD, 2023
A method to manufacture solar cells with reduced dopant spread in the emitter region for improved conversion efficiency. The method involves laser doping, oxidation, and grid printing steps. The laser doping is done at speeds of 10000-50000 mm/s and frequencies of 100-300 kHz to form heavily doped regions. After doping, oxidation at 600-1200 seconds and 680-750°C is performed to protect the doped regions. Grid lines are printed on the cell front and back after oxidation to make ohmic contact with the doped regions.
8. Method for Manufacturing Solar Cell with Selective Emitter Region Doping Using Boron Paste Application
HUANSHENG PHOTOVOLTAIC JIANGSU CO LTD, 2023
Method for manufacturing a solar cell with improved efficiency by selectively doping the emitter region of the cell instead of the whole surface. The method involves applying boron paste to a specific area on the cell surface, then solidifying it to form a heavily doped region. This selective doping reduces surface recombination and improves short-circuit current, fill factor, and conversion efficiency compared to uniform doping. The solar cell can also have other features like passivation layers, polysilicon layers, and electrodes to further improve performance.
9. Method for Forming Emitter Layer in Silicon Solar Cells Using Laser Doping and Passivation Layers
TRINA SOLAR CO LTD, 2023
Solar cell manufacturing method that improves electrical performance by using laser doping instead of high-temperature diffusion. The method involves forming an emitter layer with doping on the front surface of a silicon wafer, then forming passivation layers on the emitter and back surfaces. Before or after forming the passivation layers, laser bombardment is performed on the emitter to activate the doping. This reduces saturation current density and surface heating compared to high-temperature diffusion while providing enhanced conductivity and hidden open-circuit voltage.
10. Manufacturing Process for Back Contact Solar Cells with Multi-Layer Doping and Laser-Induced Patterning
SEMCOS MARTECH FRANCE, 2023
Solar cell manufacturing process that enables high-efficiency back contact solar cells through a novel multi-layer doping approach. The process involves forming a tunnel oxide on the semiconductor substrate, creating a first doped layer with a first conductivity type dopant, applying a mask to the doped layer, and doping a second doped layer with a second conductivity type dopant. The process incorporates laser-induced doping of the second doped layer, creating a laser-induced pattern that separates the first doped region from the second doped regions. The process also includes trenching, passivation, and patterning steps to create the laser-induced pattern. This multi-layer doping approach enables high-efficiency solar cells with improved performance characteristics.
11. Laser Doping Process for Forming Interdigitated Contacts in Tunnel Oxide Solar Cells
SEMCOS MARTECH FRANCE, 2023
Solar cell manufacturing process that enables efficient production of solar cells through laser doping. The process involves forming a tunnel oxide on the semiconductor substrate, doping the oxide with a first conductivity type dopant, creating a mask, and using a laser in a gas atmosphere containing a dopant of the second conductivity type to dope specific regions of the doped layer. The laser selectively targets regions of the doped layer, creating interdigitated contacts while maintaining the doping profile. This approach enables the production of solar cells with improved efficiency and reduced manufacturing time compared to traditional doping methods.
12. Laser Doping Method for Solar Cell P-N Junction Formation Without High-Temperature Processes
ZHEJIANG AIKO SOLAR ENERGY TECH CO LTD, 2022
Manufacturing method for a solar cell doping structure that avoids high-temperature processes. The method uses laser doping to create the p-n junction instead of the traditional high-temperature diffusion process. The steps involve: 1) Preparing the silicon substrate with a thin layer of doped material. 2) Scanning a focused laser beam over the substrate to create the p-n junction without melting or damaging the silicon. This avoids the high temperatures needed for diffusion. The laser power and pulse duration are adjusted to control the dopant concentration.
13. Method for Preparing Laser-Doped Amorphous Silicon HBC Solar Cells with Textured Pyramid Surface
PULE NEW ENERGY TECH XUZHOU CO LTD, 2022
Preparation method for laser-doped amorphous silicon HBC solar cells to improve efficiency and reduce manufacturing costs. The method involves cleaning a textured silicon wafer with a specific solution and temperature to create a pyramid textured surface with 10% reflectivity. The textured wafer is then laser-doped with amorphous silicon to create the HBC solar cell. The textured surface increases light absorption and reduces reflection compared to flat surfaces, improving cell efficiency. The specific cleaning solution and texturing conditions optimize the surface roughness for laser doping.
14. Method for Fabricating Laser-Doped Selective Emitter Solar Cells with Integrated Acid Etching and Surface Treatment
JIAXING ATES TECH RESEARCH INSTITUTE CO LTD, 2022
A method for making laser-doped selective emitter solar cells by selectively doping the silicon wafer surface during the fabrication process. The method involves a multi-step process that combines acid etching with selective doping, followed by surface treatment to enhance contact quality. The acid etching step removes the silicon dioxide layer and back junction, while the selective doping step creates a uniform interface between the N-type and P-type semiconductor regions. The surface treatment step further improves contact by removing impurities and creating a textured surface. This integrated approach enables the creation of high-quality laser-doped selective emitter solar cells with improved contact properties and reduced surface defects.
15. Solar Cell with Continuously Graded Dopant Profile via Laser-Induced Doping Process
LG ELECTRONICS INC, LG Electronics Inc., 2022
Solar cell with enhanced efficiency through controlled dopant distribution. The cell features a semiconductor substrate with a passivation layer, a conductive region formed on the passivation layer, and an electrode connected to the conductive region. A doping profile is created in the semiconductor substrate, with the doping concentration of the conductive dopant decreasing continuously from the passivation layer to the conductive region and then to the electrode. This continuous dopant profile enables carrier flow through the semiconductor material while maintaining optimal band alignment. The doping profile is achieved through a laser-induced doping process that creates a uniform concentration gradient across the semiconductor substrate.
16. Silicon Substrate Doping Process with Controlled Diffusion for Uniform Square Resistance Distribution
NINGXIA LONGI SOLAR TECHNOLOGY CO LTD, 2021
Improved doping process for silicon substrates to enhance uniformity of square resistance in solar cells. The process involves controlled diffusion in thermal diffusion furnaces to deposit dopants at specific locations, while maintaining uniform dopant distribution throughout the wafer. This approach prevents the characteristic "center-edge" distribution of square resistance typically observed in diffusion processes, resulting in more consistent electrical properties across the wafer. The method enables precise control over dopant distribution patterns, enabling the production of high-performance solar cells with improved uniformity.
17. Method for Selective Doping of Solar Cells via Laser-Induced Diffusion and Spinner System
Brazilian Union of Education and Assistance - Sponsor of PUC RS, 2021
A method for creating selective regions in solar cells through selective doping using laser-induced diffusion. The method involves doping the silicon substrate with dopants, followed by laser-induced diffusion through a spinner system. The laser radiation selectively targets the metal mesh regions, creating a region of high doping concentration. The dopant liquid is then applied to the substrate surface, where it spreads evenly through the spinner system, forming a region of high doping concentration. The spinner system is then followed by hydrofluoric acid treatment to remove silicates and create a clean surface for subsequent processing steps. This process enables the creation of selective regions in solar cells that can be selectively doped to enhance carrier recombination and efficiency.
18. Method for Forming High Doping Concentration Region on Solar Cell Side Surface During Laser Splitting
PANASONIC CORP, 2020
A method to prevent power loss in solar cells during laser splitting by selectively creating a high doping concentration region on the side surface. The method involves preparing a solar cell with a split face having a first conductivity type and a second face with different conductivity types facing opposite directions. The first face is selectively doped with a dopant gas during the laser splitting process, creating a high doping concentration region on the side surface. This region is then selectively created on the side surface during the manufacturing process by irradiating the side surface with a laser while supplying the dopant gas. The high doping concentration region acts as a field-effect passivation layer, preventing carrier recombination and reducing internal potential loss during splitting.
19. Doping Method for Solar Cells Using Mixed KOH and H2O2 Solution for Uniform Emitter and Back Surface Field Formation
HUANGHE HYDROPOWER XINING SOLAR POWER CO LTD, 2020
A doping method for solar cells that enables efficient doping of high-efficiency battery emitters and back surface fields through a single process. The method employs a mixed solution of KOH and H2O2 to remove damaged layers, with optimized conditions of 50°C to 85°C. This integrated doping approach eliminates the need for separate high-temperature processes for emitter and back surface field doping, enabling uniform doping across the solar cell.
20. Method for Selective Laser Doping of Emission Junction in Solar Cells
JINKO SOLAR HOLDING CO LTD, 2020
Method for improving solar cell efficiency through selective laser doping of the emission junction. The method involves selectively irradiating the emission junction with a laser to create a selectively doped region, then etching the irradiated area to create a selectively doped region with higher doping concentration than the non-irradiated area. This selective doping enables independent adjustment of the doping concentrations in the irradiated and non-irradiated regions, thereby improving the solar cell's fill factor and conversion efficiency.
21. Laser-Doped Selective Emitter Structure for TOPCon Solar Cells with Controlled Boron Concentration
TRINA SOLAR LTD, 2019
Laser-doped selective emitter TOPCon battery with improved performance through selective doping of the P+ layer. The method employs a laser-doped selective emitter structure for TOPCon solar cells, where laser-induced boron doping is used to create a boron-doped P+ layer. This approach eliminates the conventional borosilicate glass (BSG) doping challenge while maintaining the selective emitter properties. The laser doping process enables precise control over the boron concentration in the P+ layer, which is critical for achieving high-efficiency solar cells with reduced contact resistance and improved open-circuit voltage.
22. Laser-Induced Local Doping Method for Silicon Substrates in Solar Cells
SUZHOU TALESUN SOLAR TECHNOLOGY CO LTD, 2019
A novel method for local doping on the back of solar cells through laser-induced doping of the silicon substrate. The method employs laser processing to create predetermined pattern structures on the backside of the solar cell wafer, which are then selectively doped using a local doping slurry. This approach enables high-density doping while maintaining compatibility with the alumina passivation film in the solar cell manufacturing process.
23. Manufacturing Method for Solar Cells with Laser-Induced Localized Doping of Back Contact Region
EN W W ENERGY BADEN WURTTEMBERG AG, 2019
A method for manufacturing solar cells with enhanced back contact efficiency through localized doping of the silicon substrate. The process employs laser-induced doping of the emitter region, where selectively focused laser pulses are applied to create localized high-doping regions below the emitter busbar. This localized doping enables precise control of the doping profile in the back contact region, eliminating the need for complex masking and lithography steps. The laser doping process can be achieved using diffractive optics, allowing precise control of the doping profile. This approach enables high-quality back contact manufacturing with reduced material waste and processing time compared to conventional methods.
24. Method for Forming Gradient Emitter Layer in Solar Cells via Laser-Controlled Doping
HANWHA Q CELLS GMBH, 2018
A solar cell production method that enhances the efficiency of solar cells by creating a gradient in the emitter layer. The method involves irradiating a laser-doped dopant layer with a laser beam that is precisely controlled to create a laterally gradual doping profile in the emitter layer. This gradient formation enables the creation of a more uniform emitter layer structure, which is a critical factor in achieving high-efficiency solar cells. The laser-doped emitter layer is formed between the semiconductor substrate and a diffusion barrier layer.
25. Solar Cell with Intrinsic Layer Featuring Variable Pre-Amorphization Doping Profile
LG Electronics Inc., LG Electronics Inc., 2018
Solar cell with enhanced performance through controlled doping profile management in the intrinsic semiconductor layer. The solar cell employs an intrinsic layer with varying pre-amorphization concentrations, which are selectively implanted during surface processing. This creates a layer with optimized doping profiles across the intrinsic semiconductor, enabling improved electrical conductivity and reduced defects. The intrinsic layer serves as a foundation for the p-n junction, while the selectively implanted conductivity type impurity layer creates the p-type and n-type regions. The electrode is connected to the intrinsic layer, with the pre-amorphization elements forming a selective interface between the intrinsic and p-type regions.
26. Method for P-type Crystalline Silicon Solar Cell Fabrication with Laser-Induced Microstructures and Precision Annealing
NANTONG SUMIN NEW ENERGY TECH CO LTD, 2018
Method for optimizing P-type crystalline silicon solar cells with back passivation, specifically for P-type silicon wafers containing boron. The method involves a two-step process: laser treatment followed by a precision annealing process. The laser treatment creates microstructures that enhance light trapping, while the precision annealing process precisely removes laser-induced damage to the silicon surface. This approach enables the creation of high-quality solar cells with improved performance characteristics.
27. Automated Process for Solar Cell Fabrication with Integrated Selective Emitter and Surface Doping Using Spin-Coating, Laser Scanning, and Electroplating
ZHANGJIAGANG XIEXIN INTEGRATION TECHNOLOGY CO LTD, 2018
Method for preparing selective emitter solar cells with uniform doping and high efficiency through automated processing. The method involves a novel doping process that integrates selective emitter preparation with surface doping, eliminating the need for multiple separate steps. The process combines spin-coating of phosphorus source with laser surface scanning, laser doping, and electroplating in a single operation sequence. This integrated approach enables uniform doping across the solar cell surface while maintaining high doping concentrations in the metallized area. The method achieves improved efficiency compared to traditional selective emitter solar cell fabrication methods.
28. Selective Doping Method for Semiconductor Substrate Using Laser-Induced Diffusion
GINTECH ENERGY CORP, 2017
Method for enhancing solar cell efficiency by selectively doping the laser-induced light-emitting diode (LED) surface. The method involves creating a doped layer on the semiconductor substrate's backside, followed by applying a thin film on the substrate's rear side. A high-energy light source is used to selectively diffuse dopants from the doped layer to the substrate's rear surface, creating a doped region. This process enables improved light absorption and reduced recombination at the LED surface, resulting in enhanced solar cell efficiency.
29. Method for Simultaneous Laser-Induced Doping and Patterning of Rear Surface in Back-Junction Silicon Solar Cells
OCI COMPANY LTD, 2017
A method for manufacturing a back-junction silicon solar cell that enables simultaneous patterning and doping of the rear surface. The method employs laser-induced doping and patterning to create precise dopant concentrations in the rear silicon layer, while simultaneously forming the rear contact layer. The dopant patterning process enables precise control of dopant distribution across the rear surface, while the laser-induced doping process enables uniform doping across the rear contact region. This approach eliminates the need for separate patterning and doping steps, reducing manufacturing complexity and cost.
30. Fabrication Process for Solar Cells with Laser-Induced Selectively Doped Silicon Regions
MERCK PATENT GMBH, 2017
Process for fabricating high-efficiency solar cells with selectively doped regions through laser doping of silicon substrates. The process employs laser beam activation of selectively doped regions, where the laser beam selectively targets specific regions of the substrate while simultaneously removing the surrounding glass layer. This selective doping enables precise control over the dopant distribution and diffusion pathways in the solar cell structure. The process can be applied to both n-type and p-type substrates, enabling the creation of solar cells with selectively doped regions. The laser doping process can be performed using a laser beam with controlled energy density, allowing for precise control over the dopant distribution and diffusion pathways. The process enables the fabrication of solar cells with enhanced efficiency compared to conventional doping techniques.
31. Fabrication of Structured Solar Cells with Laser-Induced Doping for Differential Doping Concentrations
MERCK PATENT GMBH, 2017
Process and composition for the fabrication of structured high-efficiency solar cells and photovoltaic elements with regions of different doping. The process enables the creation of solar cells with regions of different doping concentrations through a novel method that uses laser-induced doping to selectively implant dopants into the silicon substrate. This laser doping process enables the simultaneous implantation of both n-type and p-type dopants into the substrate, creating regions with different doping concentrations. The laser-induced dopant implantation process is achieved through a laser beam assisted implantation technique that selectively targets specific regions of the silicon substrate. The resulting solar cells exhibit improved efficiency compared to conventional doping methods.
32. Method for Laser-Induced Doping and Conductive Layer Formation on Solar Cell Backside
CSI SOLAR TECHNOLOGIES INC, 2017
Preparing a solar cell with improved efficiency through selective doping and conductive layer formation. The method involves laser-induced doping of the solar cell's backside while maintaining the laser beam during the doping process. In the second stage, a conductive layer is deposited on the doped area, creating a conductive pathway for current collection. This approach enables the formation of a conductive back field similar to the solar cell's intrinsic doping profile, without the need for extensive aluminum sintering. The conductive layer is formed through laser-induced deposition of a conductive solution, maintaining the laser beam's focus on the doped region while creating the conductive pathway.
33. Solar Cell with Gallium and Boron Doped Silicon Substrate and Silicon Thermal Oxide Passivation Layer
SHIN-ETSU CHEMICAL CO LTD, 2017
Solar cell with enhanced conversion efficiency through a novel doping strategy. The solar cell employs a gallium-doped silicon substrate with a silicon thermal oxide film as the passivation layer. The substrate is further doped with boron, which significantly improves photodegradation resistance. The boron doping level is optimized to maintain a balance between passivation and doping effects, ensuring optimal conversion efficiency under light irradiation. This approach combines the benefits of silicon thermal oxide films with gallium doping to create a solar cell with superior performance characteristics.
34. Method for Producing Selectively Doped Subzones in Silicon Substrate Using Borosilicate Glass as Dopant Source and Diffusion Barrier
University of Konstanz, 2017
Method for producing selectively doped subzones in a silicon substrate for solar cells, particularly back contact solar cells, by creating two subzones with different heavily doped profiles. The method employs a borosilicate glass (BSG) layer as a dopant source, which enhances phosphorus diffusion through selective absorption and discharge. The subzones are created in a single processing step, with the BSG layer serving both as a dopant source and a diffusion barrier. This approach enables the simultaneous production of both heavily doped n-type and lightly doped p-type subzones, where the n-type subzone exhibits a steeper doping profile closer to the surface.
35. Crystalline Silicon Solar Cell with Selective Backside Openings for Localized Doping
CSI SOLAR TECHNOLOGIES INC, 2017
Locally doped crystalline silicon solar cell with improved doping profiles through selective opening of the silicon substrate. The cell features a silicon wafer with strategically created openings on its backside, followed by a passivation layer. A localized doping region is created in the silicon substrate along the openings, where boron is selectively introduced to enhance the solar cell's doping profile. This approach enables precise control over the doping depth and distribution, leading to improved solar cell performance compared to conventional doping methods.
36. Method for Manufacturing Solar Cells with Laser Doping Selective Electrode Process and Sequential Chemical Treatments
GINTECH ENERGY CORP, AUO Crystal Corporation, 2017
A method for manufacturing solar cells with improved photoelectric conversion efficiency through selective electrode processing. The method employs a laser doping selective electrode process that selectively removes dopant material layers while preserving the underlying semiconductor structure. The process involves first acidifying the residual dopant layer, followed by an alkaline treatment to neutralize the acidified layer, and finally using hydrofluoric acid to remove any remaining dopant residue. This selective doping approach eliminates etching marks and reduces potential induced degradation (PID) effects, resulting in enhanced solar cell performance.
37. Solar Cell with Selectively Patterned Back Contacts and Extended Doped Contact Geometry
NANOGRAM CORP, 2016
Solar cell with selectively patterned back contacts that enhance photocurrent collection. The cell features doped contacts that are patterned along the back surface of the solar cell, with contacts extending beyond the surface by at least 10 times their width. This pattern allows the solar cell to capture photocurrent from both sides of the contact interface, effectively increasing the cell's overall efficiency. The patterned contacts are achieved through selective etching of a polymer resist layer, enabling precise control over the contact geometry. The solar cell architecture enables both n-type and p-type contacts to be formed along the back surface, with optimized contact geometries that enhance photocurrent collection.
38. Silicon Solar Cell Doping Method with Maskless Etching and Side-Etched Transition Formation
Shanghai Micro Electronics Equipment Co., Ltd., SHANGHAI KINGSTONE SEMICONDUCTOR CO., LTD., 2016
A doping method for silicon solar cells that enables high-efficiency solar cells with reduced manufacturing complexity. The method employs a novel doping approach that combines precise control of doping ion concentration with a maskless etching process. By etching the silicon wafer using a mechanical mask, the doping process creates a side-etched structure that naturally forms a doped transition region. This approach eliminates the need for complex photolithography and mask production, while maintaining precise control over doping parameters. The resulting solar cells achieve high efficiency without the need for multiple masks or precise calibration.
39. Interdigitated Back Contact Solar Cells with Laser-Processed Contact Isolation and Doping
LEVY DAVID HOWARD, 2016
Low-cost interdigitated back contact solar cells that achieve high efficiency through a novel laser-transfer process. The solar cells incorporate heterojunction or tunnel junction emitters with laser-processed contacts, where the laser process creates isolated regions between the contacts and semiconductor layers. This approach eliminates the conventional front-side contacts and their associated processing steps, while maintaining efficient charge carrier transport mechanisms. The laser process enables precise control over contact isolation and semiconductor layer doping, enabling high-efficiency solar cells with reduced manufacturing complexity and cost.
40. Method for Forming Back Surface Field Regions in Solar Cells via Laser-Induced Dopant Diffusion
LG ELECTRONICS INC, 2016
A method for manufacturing solar cells that enables the formation of back surface field regions in a solar cell without thermal processing. The method involves creating a semiconductor substrate with an emitter region containing impurities of a second conductive type opposite to the first conductive type, followed by the formation of a passivation layer on the semiconductor substrate. A dopant layer containing impurities of the first conductive type is then applied on the passivation layer. Local laser irradiation is used to diffuse the impurities into the semiconductor substrate, forming the back surface field regions. The solar cell architecture includes a p-type emitter region with a p-n junction, a passivation layer, a dopant layer containing impurities of the first conductive type, and a second electrode connected to the semiconductor substrate. The back surface field regions are connected to the second electrode, and the solar cell architecture includes multiple back surface field regions containing impurities of the same type as the semiconductor substrate.
41. Method for Dopant Activation in Semiconductor Substrate via Controlled Low-Temperature Heat Treatment
LG ELECTRONICS INC, LG Electronics Inc., 2016
Method for enhancing solar cell performance through optimized dopant activation in the semiconductor substrate. The method involves implanting dopant ions into the substrate, followed by controlled heat treatment that activates the dopants at a temperature lower than the substrate's native diffusion temperature. This dual-step process ensures the activation process occurs before the anti-outer diffusion film forms, resulting in improved dopant distribution and reduced doping loss. The heat treatment also enables precise control over the activation temperature and duration, allowing for optimal activation of the dopants while minimizing processing time and material waste.
42. Laser Doping Technique for Dual Dopant Incorporation in Back Contact Solar Cells
SOLEXEL INC, 2016
Laser doping method for creating high-efficiency back contact solar cells. The method employs laser doping to dope both boron and phosphorus into the solar cell structure, eliminating traditional doping techniques. The laser doping process enables precise control over dopant distribution and concentration, resulting in improved solar cell performance. The method also enables the creation of back contacts by selectively removing damage from the solar cell structure while maintaining contact integrity.
43. Selective Emitter Laser Doping Method with Controlled Angle Incidence and Surface Treatment for Impurity Distribution
Wenzhou Institute of Advanced Manufacturing Technology, Huazhong University of Science and Technology, HUAZHONG UNIVERSITY OF SCIENCE AND TECHNOLOGY WENZHOU ADVANCED MANUFACTURING TECHNOLOGY RESEARCH INSTITUTE, 2016
High-efficiency selective emitter laser doping method for solar cells that improves efficiency and reduces breakdown risk. The method employs a novel laser beam profile and surface treatment approach to precisely control impurity doping distribution in the emitter region. The technique uses a controlled angle of incidence for the laser beam to create a uniform energy density distribution across the wafer surface, while also enabling targeted phosphorus doping through surface modification. This approach enables selective emitter doping with reduced blue response degradation and localized breakdown risk compared to traditional scanning methods.
44. Laser-Induced Sulfur Doping Method for Silicon Wafers Forming Sulfur-Silicon Alloy Layer
Southwest University of Science and Technology, SOUTHWEST UNIVERSITY OF SCIENCE AND TECHNOLOGY, 2016
Method for enhancing visible and near-infrared light absorption in solar cells by doping sulfur on the surface of silicon wafers. The method employs a laser-induced sulfur doping process that selectively deposits sulfur onto the silicon surface, creating a sulfur-silicon alloy layer. This alloy layer enhances light absorption in the visible and near-infrared regions while maintaining transparency in the visible spectrum. The laser-induced process enables precise control over the sulfur distribution and layer thickness, allowing for efficient and cost-effective doping of solar cells.
45. Method for Forming Dual-Doped Semiconductor Substrate with Reduced Surface Recombination
LG ELECTRONICS INC, 2015
A method for creating a dopant layer in solar cells that prevents surface recombination of electrons and holes while maintaining sufficient thickness. The method involves doping a semiconductor substrate with a dopant of a first conductive type and a counter dopant of a second conductive type opposite to the first conductive type. The counter dopant concentration is less than the dopant concentration, which enables the formation of a dopant layer with a sufficient thickness while minimizing surface recombination. This approach enables the creation of solar cells with improved electrical performance while maintaining the necessary thickness for efficient photoelectric conversion.
46. Back-Contact Solar Cell with Laser-Doped Regions and Single-Step Electrode Screen Printing
AU OPTRONICS CORP, 2015
Solar cell with a simplified manufacturing process that enables high yield production of back-contact solar cells. The solar cell features a semiconductor substrate with a negative lightly doped substrate, a first type doped region, and a second type doped region. The manufacturing process involves laser doping the substrate with multiple openings, creating doped regions, and then forming electrodes through screen printing. The electrodes are then connected to the doped regions, and a protective layer and anti-reflective coating are applied. The process is followed by a thermal treatment step and surface roughening. This approach eliminates the need for multiple screen printing processes and thermal diffusion steps, resulting in a more straightforward manufacturing process with improved yield.
47. Method for Solar Cell Design with Localized Backpassivation and Precision Boron-Doped Back Contact Formation
JA SOLAR ENERGY TECHNOLOGY CO LTD, 2015
A novel method for optimizing solar cell design through localized backpassivation by precisely controlling the size and shape of the boron-doped back contact. The approach enables improved efficiency through reduced recombination losses, lower series resistance, and minimized contact resistance. The localized back contact is achieved by creating precise, hole-shaped channels within the passivation layer, which are then metallized with aluminum to form efficient contacts. This localized approach eliminates the conventional wide metallization patterns that can compromise efficiency, while maintaining the benefits of backpassivation.
48. Method for Forming Solar Cells with Dual-Step Laser Process for Selective Emitter Doping and Dielectric Layer Removal
REC SOLAR PRIVATE LTD, 2015
Method for forming high-efficiency solar cells with selectively doped emitters through optimized laser processing. The method employs two laser steps with distinct characteristics to create the selective emitter region. In the first step, a high-concentration dopant source material is locally introduced to generate the emitter region, while in the second step, a dielectric layer is locally removed to expose the semiconductor surface in the contact region. This dual-step approach enables precise control over the emitter region's doping concentration and surface preparation, allowing for improved spectral response and reduced metal terminal adhesion issues compared to conventional single-step laser doping techniques.
49. Laser-Induced Doping in Multi-Junction Solar Cell Structure with Interlaced P-Type Layers and P1-N Configuration
Shanghai Institute of Optics and Fine Mechanics, Chinese Academy of Sciences, SHANGHAI INSTITUTE OF OPTICS AND FINE MECHANICS CHINESE ACADEMY OF SCIENCES, 2015
A laser-based multi-junction solar cell structure that enables efficient solar energy conversion through selective doping of semiconductor material layers. The cell incorporates interlaced p-type layers and a p1-n structure that forms a sequence of solar energy cell slices. The selective doping process is achieved through laser-induced doping of the semiconductor material, eliminating the need for complex etching or chemical vapor deposition processes. This approach enables the formation of multiple solar cell layers in a single manufacturing process, significantly reducing production costs and complexity compared to conventional multi-junction solar cells.
50. Electrode with Dual-Doping Phosphorus Diffusion for Crystalline Silicon Solar Cells
SRPV HIGH-TECH CO LTD, Shangrao Optoelectronics High-Tech Co., Ltd., 2015
Selective emitting electrode for crystalline silicon solar cells that enables both heavy doping and shallow doping regions. The electrode achieves this through a controlled phosphorus diffusion process that simultaneously introduces heavy doping and shallow doping into the silicon lattice. The process involves temperature adjustment to optimize phosphorus diffusion rates, allowing the creation of both heavy and shallow regions in the electrode. This dual-doping capability enables improved photoelectric conversion efficiency in crystalline silicon solar cells.
Get Full Report
Access our comprehensive collection of 50 documents related to this technology
