Thermoelectric Cooling Systems for Solar Cells
Solar cell efficiency decreases markedly with rising temperature - typically 0.3% power loss per degree above 45°C. In utility-scale installations, panel temperatures can reach 65-75°C during peak operation, resulting in significant performance degradation and accelerated material aging across thousands of square meters of photovoltaic surface area.
The fundamental challenge lies in developing cooling solutions that can effectively manage temperature while minimizing parasitic power losses and adding minimal complexity to large-scale solar installations.
This page brings together solutions from recent research—including hybrid nanofluid cooling systems, integrated phase change materials, passive heat pipe arrangements, and thermoelectric cooling modules with enhanced thermal interfaces. These and other approaches focus on practical implementation at scale while maintaining the reliability and cost-effectiveness needed for commercial solar installations.
1. Photovoltaic Cooling System with Hybrid Nanofluid Crossflow and Local Jet Flow for Temperature Management
KING FAISAL UNIVERSITY, 2024
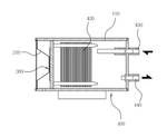
A photovoltaic cooling system for enhancing solar cell performance through targeted temperature management. The system employs a hybrid nanofluid-based cooling system that combines crossflow and nanofluid flow patterns to create localized temperature gradients. The cooling module features a local jet flow inlet directing vertical flow, a crossflow inlet directing horizontal flow, and an outlet for dissipating heat. The system integrates a thermoelectric generator to convert electrical energy into heat, enabling precise temperature control across the cooling module.
2. Hybrid Solar Panel with Integrated Refrigerant Lattice Structure and Dual Flow Paths
KUKDONG ENERGY CORP, 2024
A hybrid solar panel that enhances power generation efficiency by utilizing a thermally managed photovoltaic (PV) panel with integrated refrigeration. The PV panel features a lattice structure with a refrigerant flow path that connects to both longitudinal and transverse flow paths. The refrigerant guides heat generated by sunlight absorption towards the center of the panel, where it is absorbed by the PV cells. This targeted heat management enables enhanced cooling efficiency compared to conventional PV panels.
3. Photovoltaic Panel Thermal Management System with Integrated Phase Change Material, Thermoelectric Generator, and Heat Sink
KING FAHD UNIVERSITY OF PETROLEUM AND MINERALS, 2024
Thermal management system for photovoltaic panels that enhances power output and increases panel lifespan through controlled temperature management. The system integrates a phase change material (PCM) layer with a Seebeck thermoelectric generator (TEG) and a heat sink. The PCM absorbs solar radiation, releasing heat that is stored in the TEGs. The TEGs convert this stored heat into electrical energy, while the heat sink transfers the remaining heat to a water flow system. This closed-loop system maintains optimal operating temperatures for the PV panel, enabling increased efficiency and lifespan.
4. Photovoltaic Panel Cooling System with Integrated Thermal Management and Control
SOTEC INNOVATIONS LTD, 2024
Cooling system for photovoltaic solar panels through advanced thermal management. The system enables precise temperature control of solar panels, where deviations from the nominal operating temperature of 45°C result in power losses of up to 0.3%. The cooling system incorporates advanced thermal management technologies, including precise temperature monitoring, intelligent control, and innovative cooling architectures, to maintain optimal operating conditions for photovoltaic cells.
5. Photovoltaic Panel with Integrated Thermoelectric Modules for Heat-Driven Electricity Generation
KOREA INSTITUTE OF CIVIL ENGINEERING AND BUILDING TECHNOLOGY, 2023
Solar power generation system that utilizes thermoelectric modules to enhance efficiency by capturing heat generated during solar panel operation. The system integrates a photovoltaic panel with a thermoelectric cooling module that absorbs heat from the rear surface of the panel and uses it to generate electricity through the Seebeck effect. The cooling module regulates temperature to maintain optimal operating conditions, ensuring the photovoltaic panel's rear surface remains within a safe operating range. This approach enables significant power generation while minimizing secondary equipment costs.
6. Heat Dissipation Assembly with Thermoelectric Cooler and Enhanced Thermal Interface Materials
INVENTEC TECHNOLOGY CORP, 2023
A heat dissipation assembly for electronic devices that combines thermoelectric cooling with enhanced thermal interface materials. The assembly comprises a thermoelectric cooler with a cold surface facing away from the heat source, and a heat dissipation component with a cold surface facing the heat source. The heat dissipation component is thermally coupled to the heat source, while the thermoelectric cooler provides efficient heat transfer from the heat source to the environment. This assembly achieves superior heat dissipation compared to conventional configurations by leveraging the thermoelectric cooler's ability to efficiently transfer heat between the heat source and environment.
7. Method for Temperature-Regulated Active Cooling of Perovskite Solar Cells via Dynamic Thermal Monitoring
SIEMENS ENERGY GLOBAL GMBH & CO KG, 2023
A method for controlling active cooling of perovskite solar cells through temperature monitoring and active cooling. The method monitors the internal temperature of the solar cells and activates cooling when the temperature exceeds a predetermined threshold. This temperature monitoring enables the detection of thermal stress in perovskite solar cells, while the active cooling mechanism provides targeted temperature regulation to prevent irreversible damage. The cooling system can employ various methods such as liquid-based cooling, Peltier cooling, or radiation-based cooling, with the temperature monitoring system continuously monitoring the solar cell temperature.
8. Thermoelectric Device with Dual-Layer Photothermal and Radiative Cooling Structure
苏州大学, SOOCHOW UNIVERSITY, 2022
Thermoelectric power generation device that combines photothermal heating with deep space cooling, enabling continuous operation during both day and night conditions. The device comprises a thermoelectric power generation sheet with a dual-layer structure: a light-absorbing heat shield layer on top and a radiation cooling layer below. A reflective mirror is positioned on the radiation cooling layer, while a thermal insulation shell encloses the device. This dual-layer design enables simultaneous absorption of solar radiation and utilization of deep space cooling, significantly increasing power output compared to conventional photovoltaic systems.
9. Photovoltaic Thermoelectric Panel with Integrated Heat-Absorbing Backplate and Water Circulation Cooling Cavity
HUBEI JINFUYANG TECHNOLOGY CO LTD, 2021
A photovoltaic thermoelectric panel and integrated module with improved cooling and heat recovery for solar power generation. The panel has a photovoltaic module sandwiched between thermally conductive adhesive, backplate, and sealing ring. A heat-absorbing backplate with beads passes through the sealing ring. This forms a cavity around the photovoltaic module for water circulation cooling. The backplates and adhesive conductively connect the components. This allows capturing and transferring heat from the photovoltaics to the water for cooling and reuse.
10. Photovoltaic Module Cooling System with Heat Pipe-Based Passive Thermal Management
FORD GLOBAL TECHNOLOGIES LLC, Ford Global Technologies, Inc., 2021
A passive cooling system for photovoltaic modules in vehicles using heat pipes to dissipate heat from the solar cells. The heat pipes absorb heat from the cells, evaporate a working medium, and condense it to release the heat to a remote radiator, cooling the cells passively without active cooling components. This improves solar cell efficiency by reducing operating temperature.
11. Photovoltaic System with Integrated Thin-Film Cooling Sheet Featuring Multi-Path Through-Hole Channel Network
U1 University, RYU WON DAE, 2021
Solar cooling module and solar panel assembly that integrates heat management into photovoltaic systems. The module features a thin-film cooling sheet with strategically placed through-holes that branch into multiple paths, allowing the heat to be dissipated through a network of channels. The cooling sheet is supported by a heat-insulating sheet, which prevents heat transfer through the sheet. A specialized cooling channel design enables the cooling sheet to maintain its position even when it expands during thermal expansion. The assembly integrates the cooling sheet with the photovoltaic panel, eliminating the need for separate heat management systems.
12. Reflective Surface Configuration for Infrared Radiation Concentration in Solar Cell Cooling System
TOYOTA CENTRAL RES & DEV, 2021
Solar cell cooling device that utilizes infrared radiation to cool the solar cell while minimizing heat generation. The device employs a reflective surface with a specially designed shape to concentrate infrared radiation on a heat collection unit. This concentrated radiation heats the fluid flowing through the unit, which is then used to cool the solar cell through a thermoacoustic cooler. The reflective surface design enables efficient infrared radiation collection while preventing direct irradiation of the solar cell, thereby reducing heat generation.
13. Hybrid Solar Cell with Series-Connected Photovoltaic and Thermoelectric Modules
UNIVERSITY OF SOUTH FLORIDA, 2021
Hybrid solar cell design that enables enhanced power generation by combining photovoltaic cells with thermoelectric modules. The hybrid cell incorporates a photovoltaic cell connected in series with a thermoelectric module unit, where the thermoelectric module's positive terminal is connected to the photovoltaic cell's negative terminal. The thermoelectric module's hot side is oriented towards an external heat source, while the photovoltaic cell is oriented towards a light source. This configuration enables the generation of higher voltages by capturing waste heat from the external heat source and utilizing it to generate additional power through thermoelectric conversion.
14. Photovoltaic Panel with Integrated Heat Pipes and Thermoelectric Generators for Dual-Temperature Heat Management
IMAM ABDULRAHMAN BIN FAISAL UNIVERSITY, 2020
A photovoltaic panel cooling system that enhances solar panel efficiency through integrated heat management. The system comprises a photovoltaic panel with integrated heat pipes and thermoelectric generators, where the heat is transferred to a cooled water source from an air conditioner's condenser. The cooled water is then pumped through a network of heat pipes to the panel's back surface, where it absorbs heat from the panel's surface. This dual-temperature system enables both heat transfer and electricity generation, thereby increasing panel efficiency and reducing temperature-related degradation.
15. Thermoelectric Cooling System with U-Shaped Device Configuration and Gas Diffusion-Resistant Layers
SHEETAK INC, 2020
Thermoelectric cooling system that enables efficient, low-mass refrigeration using thermoelectric devices. The system comprises a thermoelectric panel with thermoelectric devices arranged in a u-shaped configuration, where the inner surface of the first layer and the outer surface of the second layer are thermally conductive. The panel is supported by pillars between parallel sides, with gas diffusion-resistant layers separating the layers. A top layer features cooling structures to dissipate heat. The system achieves high efficiency through optimal thermoelectric device arrangement and configuration, while eliminating the need for traditional compressors and refrigerant.
16. Closed-Loop Photovoltaic Panel Cooling System with Integrated Control Unit and Heat Exchanger
Istanbul Aydın University, 2020
A compact cooling system for photovoltaic panels that enables surface temperature reduction through a closed-loop heat management system. The system comprises a control unit, circulation pump, water tank, and heat exchanger, where the control unit monitors temperature and controls the circulation pump. The system utilizes a specialized heat transfer medium in the tank to absorb and dissipate heat from the photovoltaic panels, while the circulation pump circulates the heat transfer medium to maintain optimal temperature conditions. The system operates in a closed-loop configuration, eliminating the need for moving elements and maintaining consistent temperature across the panel surface.
17. Solar Cooling System with Direct-Contact Thermogenerator-Integrated Cooling Plate
BPE E K, 2019
A solar cooling system that integrates thermogenerator elements to enhance cooling performance while maintaining cost-effectiveness. The system comprises a thermogenerator element with a thermally contacting design, where the cold contact surface is connected to the cover plate of the cooling plate. This design enables direct heat transfer between the thermogenerator and the cooling plate, eliminating the need for conventional thermal interfaces. The system integrates with the solar panel array and can be controlled to provide both cooling and power generation.
18. Solar Cell Cooling System with Integrated Thermal Conductor and Back Surface Heat Dissipation Mechanism
CARBON TECH CO LTD, 2019
A method and apparatus for efficient cooling of solar cells through thermal linkages that enable rapid heat transfer to the back surface of the panel. The method involves integrating a thermal conductor between the solar cell and a non-light receiving surface of the panel, while also incorporating a heat radiation member or heat conductive member attached to the back surface of the solar cell. This configuration enables the thermal conductor to efficiently dissipate heat away from the solar cell, while the heat radiation member or heat conductive member provides additional thermal interface between the solar cell and the panel.
19. Refrigeration System with Integrated Photovoltaic Module and Encapsulated Latent Heat Energy Storage Devices
PIETRZAK ARND, 2019
A refrigeration system that enables direct operation of a refrigerated cell using solar power without the need for a network or battery. The system integrates a photovoltaic module with a refrigeration compressor system, where the refrigeration compressor is controlled by a controller. The system utilizes encapsulated latent heat energy storage devices, such as phase change material (PCM) packs, to maintain cooling even during periods of low solar radiation. The PCM packs are filled with paraffin or Saltydrin, which can be replenished through solar energy. This enables the system to operate continuously, even without direct solar power, by utilizing the stored energy from the PCM packs.
20. Solar Cooling System with Articulated Slats Incorporating Photovoltaic and Thermoelectric Modules
KING FAHD UNIVERSITY OF PETROLEUM AND MINERALS, 2019
A solar cooling system that optimizes energy harvesting through both photovoltaic and thermoelectric means. The system comprises a support structure with articulated slats that can be adjusted between open and closed positions. The slats are equipped with photovoltaic modules for generating electricity from sunlight, thermoelectric modules for converting temperature gradients into electrical power, and thermoelectric cooling modules for providing cooling when the system is operating. The system integrates a battery pack to store excess energy, enabling the system to operate efficiently and reliably.
21. Solar Cell Module with Integrated Thermoelectric Element and Water-Based Cooling System
DK Corporation, DK CO LTD, 2018
Solar heating system that optimizes power production by integrating thermoelectric heating with solar thermal energy. The system comprises a solar cell module, a thermoelectric element with heat absorption and generation capabilities, and a water-based cooling system. The thermoelectric element is integrated into the solar cell module's lower surface, and the water-based cooling system utilizes the heat generated by the thermoelectric element to cool the solar cell module. The system's control unit monitors both solar cell output and thermoelectric power consumption, adjusting the thermoelectric element's operation based on optimal power production conditions.
22. Compound Semiconductor Material with Rare Earth and Chalcogen Element Filler Strategy for Controlled Lattice Thermal Conductivity
LG CHEMICAL LTD, 2018
A novel compound semiconductor material with enhanced thermoelectric performance and electrical conductivity, particularly suitable for thermoelectric conversion devices, solar cells, and manufacturing processes. The material combines a rare earth element with chalcogen elements to form a single-element semiconductor, exhibiting improved thermoelectric figure of merit while maintaining electrical conductivity. The material achieves this through a novel filler strategy where rare earth elements are replaced by chalcogen elements in specific molar ratios, allowing controlled lattice thermal conductivity reduction and enhanced carrier dynamics.
23. Thermoelectric Conversion System with Integrated Heat-Insulating Cavity and Reflective Radiant Refrigeration Film
ENN Science and Technology Development Co., Ltd., ENN SCIENCE AND TECHNOLOGY DEVELOPMENT CO LTD, 2018
Thermoelectric conversion system that enables 24-hour uninterrupted energy harvesting from solar thermal sources. The system comprises a thermoelectric power generation element integrated into a heat-insulating cavity, a reflective radiant refrigeration film covering the cavity, and a heat-conductive sheet at the bottom of the cavity. The reflective film enhances heat transfer while the cavity provides thermal isolation, while the heat-conductive sheet facilitates heat transfer between the power generation element and the cavity walls. The system achieves continuous energy generation through the thermoelectric conversion process, eliminating the need for thermal energy storage or backup systems.
24. Integrated Thermoelectric Cooling System with Photovoltaic and Solar Thermal Components
Shanxi University, SHANXI UNIVERSITY, 2018
Thermoelectric cooling integrated system for efficient solar energy utilization through a novel thermoelectric cooling system that integrates with solar photovoltaic power generation and solar thermal heating. The system comprises a solar photovoltaic power generation system, a low temperature organic working power generation system, a solar thermal heating system, and a cooling hot chest system. The solar photovoltaic power generation system includes a photovoltaic component, a photovoltaic inverter system, a public power grid, a controller, and a water tank. The photovoltaic cell of the photovoltaic component is connected to a photovoltaic inverter system, and outputs of the photovoltaic inverter system are respectively connected to a utility grid and a controller. The photovoltaic module is connected to a water tank.
25. Solar Panel Array with Integrated Thermoelectric Generators and Infrared-Filtering Window Coating
GARY R GUSTAFSON, 2018
Solar panels integrated with thermoelectric generators and photovoltaic cells for enhanced energy conversion efficiency and thermal management. The system comprises a photovoltaic cell array with embedded thermoelectric devices, which convert heat generated by the photovoltaic cells into electrical energy. The thermoelectric devices are integrated into the photovoltaic cell array, while the photovoltaic cells are positioned behind a window coating to filter out infrared radiation. This dual-technology approach enables both efficient energy generation from solar radiation and effective heat management through thermoelectric conversion.
26. Solar Photovoltaic Thermal Device with Nanofluid Cooling, Thermoelectric Harvesting, and Phase Change Material Storage
CHEN LITAO, 2018
A solar photovoltaic thermal device that integrates nanofluid-based cooling with thermoelectric energy harvesting and phase change material storage. The device combines the benefits of nanofluid-based heat management with thermoelectric conversion and phase change material (PCM) storage, enabling rapid temperature regulation and stable water heating. The device achieves enhanced solar energy conversion through optimized cooling and enhanced thermal energy storage, making it particularly suitable for applications requiring both solar energy and domestic hot water.
27. Photovoltaic Panel Cooling System with Recirculating Fluid Ejector and Collection Tray
Fernando Fernández Cordova Sanz, FERNANDO FERNANDEZ DE CÓRDOBA SANZ, 2017
A cooling system and method for photovoltaic solar panels that maintains optimal operating temperatures while preventing overheating. The system comprises a fluid ejector at the upper edge of the panel, a collection tray fixed to the lower edge, and a discharge hose connecting the collection tray to the ejector. The system uses a continuous flow of fluid to remove excess heat from the panel surface, while the collection tray collects and guides the fluid to the ejector. The fluid is then recirculated through the system, maintaining optimal operating temperatures.
28. Thermoelectric Cooling System with Solar-Powered Peltier Device and Temperature-Controlled Module
ANDREW XIANYI HUANG, 2017
Solar-powered cooling system for vehicles and small spaces that uses solar panels to power a thermoelectric cooler. The system has solar panels to absorb and convert solar energy into electricity. The thermoelectric cooler has a Peltier device with a cold side connected to a heat sink inside the space and a hot side connected to an exterior heat sink. Fans can be added to circulate air over the cold side. A control module with a temperature sensor adjusts the cooler power based on interior temperature.
29. Solar Panel Cooling System with Dynamic Elevation and Azimuthal Tracking Mechanisms
KIM BOKYOON, 2017
A cooling system for solar panels that optimizes thermal management through precise tracking and elevation control. The system enables optimal solar energy conversion while minimizing thermal stress through dynamic elevation adjustments and precise azimuthal tracking. By combining these tracking capabilities with precise elevation control, the system ensures maximum energy conversion while preventing overheating that reduces efficiency.
30. Solar Cell Module with Integrated Dynamic Temperature Regulation System
YABES CO LTD, 2017
Solar cell power generation system with enhanced efficiency through active temperature management. The system integrates a cooling/heating device with a solar cell module, featuring a temperature control system that dynamically regulates the temperature of the solar cell module based on ambient conditions. The system employs a temperature sensor to monitor the internal temperature of the solar cell module, and a control unit that automatically adjusts the temperature of the solar cell module based on the sensor readings. When the solar cell module temperature exceeds a predetermined maximum or minimum threshold, the system transfers heat from the storage tank to the solar cell module or transfers cold water from the storage tank to the solar cell module. This temperature management strategy enables the solar cell module to maintain optimal operating conditions while maximizing energy output.
31. Solar Cell Panel Cooling System with Flow Path Management and Thermoelectric Refrigerant Cooling
YOO A YOUNG, 2016
Solar cell panel cooling system that optimizes energy consumption while maintaining power generation efficiency. The system employs a novel flow path management strategy to minimize refrigerant losses during cooling. When the cooling channel temperature exceeds the reference temperature, the system transfers the high-temperature refrigerant to a separate supply unit, where it is cooled using thermoelectric conversion. This approach eliminates the conventional re-cooling of the refrigerant, which wastes energy by circulating through an unnecessary cooling cycle. The system also incorporates a flow path management unit that dynamically transfers refrigerant between the cooling channel and supply units based on temperature conditions, further reducing energy losses.
32. Solar Photovoltaic Module with Integrated Heat-Dissipating Module for Thermal Management
SUZHOU FORCECON ELECTRIC CO LTD, 2016
A thermal management system for solar photovoltaic (PV) modules that enables efficient temperature control while maintaining high conversion efficiency. The system integrates a heat-dissipating module with the PV module, enabling the PV module to maintain optimal operating temperatures even under varying sunlight conditions. The heat-dissipating module is designed to dissipate heat generated by the PV module's photovoltaic cells, while maintaining thermal stability. This modular approach allows manufacturers to produce standard-sized PV modules with optimized thermal performance, eliminating the need for custom cooling solutions that are often required for large PV modules.
33. Integrated Solar Panel Cooling System with Thermally Coupled Heat Storage and Dissipation Elements
DUDAS MIRKO, 2016
Cooling system for solar panels that integrates heat storage and heat dissipation elements. The system comprises a heat storage element with a high specific heat capacity and a heat dissipation element with high thermal conductivity. The storage element is thermally connected to the solar panel element, while the dissipation element is thermally connected to the solar panel element. The system enables controlled temperature regulation between the storage and dissipation elements, allowing the solar panel to maintain optimal operation during peak energy production hours.
34. Refrigeration System with Integrated Solar-Powered Semiconductor Cooling and Heat Pipe Assembly
South China University of Technology, SOUTH CHINA UNIVERSITY OF TECHNOLOGY, 2016
Energy-efficient refrigeration system that integrates solar power generation with semiconductor cooling technology. The system comprises solar panels, voltage regulator modules, semiconductor coolers, heat pipes, and scattered solar panels connected to a voltage regulator module. The semiconductor coolers are bonded to the heat pipes, while the solar panels and voltage regulator module are connected to the output terminal. This configuration enables the system to harness solar energy to power the semiconductor cooling, achieving high efficiency and environmental benefits.
35. Concentrating Photovoltaic System with Integrated Thermally Conductive Interposer for Cell Cooling
CHENGDU JUHE TECHNOLOGY CO., LTD., Chengdu Juhe Technology Co., Ltd., 2016
A concentrating photovoltaic power generation system cooler that enables efficient cooling of photovoltaic cells during the concentration process. The cooler uses a novel thermal management system that integrates the photovoltaic cell with a thermally conductive interposer, allowing the cells to maintain optimal temperature while the system cools the interposer. This integrated design enables precise temperature control and rapid cooling during the concentration process, thereby preventing cell damage and maintaining system performance.
36. Thermoelectric Cooling System with Sub-Ambient Hot Side and Integrated Wetted Plate Fluid Reservoir
ZE KONTSENTREJT MENJUFEKCHURING KOMPANI OF AILEND, The Concentrate Manufacturing Company of Ireland, 2016
A thermoelectric cooling system that achieves high cooling capacity through a novel combination of passive and active cooling. The system employs a thermoelectric cooling module with a hot side at a temperature below ambient, surrounded by a medium with ambient temperature. The module incorporates a wetted plate with a fluid reservoir, where air passes through the plate to cool the fluid. By maintaining the hot side temperature below ambient, the system enables continuous cooling of the hot side, which in turn enables the thermoelectric cooling module to achieve higher cooling capacities compared to conventional cooling systems.
37. Solar Cell Module Cooling Device with Integrated Heat Sink and Cooling Plate System
EX SOLAR CO LTD, SEOUL ELECTRIC . COMPANY LTD, EX Solar Co., Ltd., 2016
A solar cell module cooling device that rapidly lowers the temperature of the solar cell by combining heat sink and cooling plate technologies. The device features a heat sink with multiple heat dissipation passages that form a structured flow path for heat transfer, while a separate cooling plate with a temperature difference generates cold air to cool the solar cell. The heat sink and cooling plate operate simultaneously or separately, with the heat sink providing thermal conductivity and the cooling plate enhancing heat transfer through convective cooling.
38. Cooling System with Integrated Temperature Monitoring and Control for Concentrated Photovoltaic Cells
CHENGDU JUHE TECHNOLOGY CO LTD, 2016
A cooling system for concentrated photovoltaic (CPV) power generation systems that enables rapid temperature reduction after curing. The system comprises a compact cooler with integrated temperature monitoring, a temperature control mechanism, and a power management interface. The cooler's upper surface features a heat sink, while the front features an inlet for the cooling medium. A switch controls the flow of the cooling medium, and a display screen shows the current temperature. The system is designed to rapidly cool the CPV cell after curing, ensuring reliable operation and preventing thermal damage to the photovoltaic cells.
39. Photovoltaic Module with Integrated Hollow Fiber Cooling and Thermally Conductive Layer
REPPICH MARCUS, 2016
A cooled photovoltaic module with improved thermal management and reduced material thickness. The module features a layer of thermally conductive material between the solar cells and the hollow fiber passages, which channels cooling medium through the fiber structure. This innovative design integrates the cooling system directly into the module structure, eliminating the need for separate cooling channels. The rigid panel design incorporates a fixed frame and base plate to maintain structural integrity.
40. Thermoelectric Module with High-Temperature Solar Cell and Integrated Heat Pipe for Enhanced Heat Transfer
ZHIGUO SHI, 2015
High-efficiency thermoelectric modules for solar power generation that can operate at higher temperatures and capture more heat to improve efficiency. The module uses a specialized solar cell that can withstand high temperatures, enclosed between a glass cover and metal plate with insulation. A heat pipe connects the module to a heat source collection point. When the solar cell generates heat, it quickly transfers it to the collection point via the heat pipe. When not in use, the heat pipe cools the cell to maintain suitable temperatures. This allows capturing more heat from the cell and using it for power generation, improving efficiency compared to conventional solar cells.
41. Solar Panel Cooling System with Integrated Thermally Conductive Phase Change Material
中国建筑科学研究院, China Academy of Building Research Tianjin Branch, CHINA ACADEMY OF BUILDING RESEARCH, 2015
An unpowered solar panel cooling system that eliminates the need for external power sources and conventional cooling mechanisms. The system employs a novel thermal management approach that utilizes a thermally conductive phase change material (PCM) to absorb and dissipate heat from the solar panel surface. The PCM material is integrated into the panel's structural components and is activated by ambient temperature changes, enabling continuous heat transfer without the need for electrical power. This approach enables efficient and reliable solar panel cooling without the complexity of conventional cooling systems.
42. Photovoltaic Panel Cooling System with Thermosetting Adhesive Film and Integrated Coil Heat Exchangers
YASMINE OULD-HAMOUDA, 2015
A cooling system for photovoltaic solar panels that utilizes a novel thermosetting adhesive film bonded to the rear face of the panel, with integrated coil heat exchangers. The system employs a single, integrated solution that replaces traditional cooling devices while maintaining electrical efficiency. The adhesive film, bonded to the panel's rear surface, contains the coil heat exchangers, which are positioned at the junction box of each solar panel. This configuration eliminates the need for separate cooling devices and enables continuous operation without fluid-based cooling systems.
43. Solar Panel Array with Integrated Thermoelectric Modules and Heat Exchanger for Concurrent Cooling and Power Generation
WEBB MARIA, 2015
Solar panel system with integrated thermoelectric cooling and power generation. The system comprises a solar panel array and a thermoelectric module array integrated into the panel, with a heat exchanger connecting the modules to a closed-loop cooling system. The thermoelectric modules are arranged between the solar cells and the heat exchanger, with their temperature differential creating a temperature gradient across the system that drives electrical current. This dual-function system enables both solar energy generation and thermal management, with the heat exchanger providing efficient cooling while the thermoelectric modules generate electrical power.
44. Photovoltaic Device with Square Tubular Cooling Pipe and Integrated Thermoelectric Elements
PANASONIC IP MAN CORP, 2015
Photovoltaic power generation device with enhanced thermoelectric conversion efficiency through improved heat transfer between the thermoelectric conversion element and the cooling pipe. The device features a square tubular cooling pipe with multiple thermoelectric conversion elements installed on each side surface. A solar cell array is integrated around the solar cells to create a continuous thermal interface. The insulation material around the solar cells and the high thermal conductivity paste between the solar cells and the cooling pipe enhance heat transfer, while maintaining structural integrity. This configuration effectively increases the contact area between the thermoelectric conversion element and the cooling pipe, thereby improving thermoelectric efficiency.
45. Solar Power Generation Device with Cylindrical Cooling Pipe and Integrated Thermoelectric Conversion Elements
PANASONIC CORP, 2015
Solar power generation device with enhanced thermal management. The device comprises a cylindrical cooling pipe with thermoelectric conversion elements integrated along its sides, solar cells positioned between the conversion elements, and a thermal insulation covering the solar cells and conversion elements. The insulation is designed to provide effective thermal protection while maintaining efficient solar energy conversion.
46. Thermo-Emitting Module with Linear PN-Junction Array and Transparent Solar Panel Integration for Radiation Energy Conversion
Federal State Budgetary Educational Institution of Higher Professional Education Dagestan State Technical University, DAGESTAN STATE TECHNICAL UNIVERSITY, FEDERALNOE GOSUDARSTVENNOE BJUDZHETNOE OBRAZOVATELNOE UCHREZHDENIE VYSSHEGO PROFESSIONALNOGO OBRAZOVANIJA DAGESTANSKIJ GOSUDARSTVENNYJ TEKHNICHESKIJ UNIVERSITET, 2015
A device for efficient cooling of electronic components through the conversion of radiation energy into electrical energy. The device employs a linear pn-junction array in a thermo-emitting module that produces both heat and light. The light is then amplified by a transparent solar panel array on both sides of the module, with the solar panels' radiation energy being converted back into electrical energy. This process creates a continuous loop where both heat and light are utilized to generate electrical power, eliminating the need for external heat sinks and heat transfer fluids.
Get Full Report
Access our comprehensive collection of 46 documents related to this technology
