Dual-Gas Atomic Layer Etching for Precise Metal Film Removal
Atomic layer etching (ALE) of metal films requires precise control at the nanoscale, where conventional plasma etching techniques can lead to surface damage and non-uniform removal. Current processes achieve etch rates of 0.2-0.5 nm per cycle, but maintaining consistent removal across high-aspect-ratio features while preventing re-deposition remains a significant technical hurdle.
The fundamental challenge lies in balancing the chemical reactivity of halogen-based etchants with the controlled removal of reaction products, all while preserving the underlying substrate integrity.
This page brings together solutions from recent research—including halogen and carbon-oxygen sequential exposures, β-diketone reaction mechanisms, controlled metal halide flow systems, and amine-based support gas techniques. These and other approaches focus on achieving atomic-scale precision while maintaining manufacturing compatibility and throughput requirements.
1. Atomic Layer Etching of Ruthenium Film Using Halogen and Carbon-Oxygen Sequential Exposures
TOKYO ELECTRON LTD, 2024
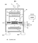
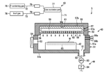
Etching ruthenium film in unwanted regions without plasma using atomic layer etching (ALE) process. The method involves exposing the ruthenium film to a halogen-containing gas followed by exposure to a carbon-oxygen mixture, repeating the steps to selectively remove ruthenium from undesired regions. This approach enables precise ruthenium removal through sequential self-controlled reactions at the atomic level.
2. Metal Etching Method Using Controlled Metal Halide and Carbon-Fluorine Gas Flow Rates
TOKYO ELECTRON LTD, 2024
Enhancing selectivity in metal etching through controlled metal halide gas flow rates. The method employs a processing gas containing carbon, fluorine, and metal halides while maintaining lower flow rates of the carbon-fluorine gas compared to nitrogen gas. This selective etching approach allows precise control over the etching process while maintaining the necessary metal halide content for effective etching of the target material.
3. Etching Method for High-Aspect-Ratio Features Using Controlled Fluorine-to-Oxygen Gas Ratio
APPLIED MATERIALS INC, 2024
Improved etching of high aspect ratio features in semiconductor structures by controlling the etching process to balance top-to-bottom loading. The method employs a controlled ratio of fluorine-containing precursors and auxiliary gases, specifically targeting a 1:1 fluorine-to-oxygen ratio, to selectively etch metal while preserving the structure's integrity. This approach enables precise control over the etching depth and pattern quality, particularly in deep structures where conventional wet etching may fail. The method is particularly effective for creating high-aspect-ratio features in 3D NAND structures.
4. Two-Stage Dry Etching Method for Copper Thin Films Using Non-Plasmaized Reaction Gas and Plasmaized Inert Gas
UNIV INHA RES & BUSINESS FOUND, 2024
A novel dry etching method for copper thin films that achieves nanoscale patterning without plasma-based etching. The method employs a non-plasmaized reaction gas containing an organic chelator that forms a copper compound layer on the copper thin film. This layer is then selectively removed using a plasmaized inert gas or inert gas mixture, with controlled temperature and exposure conditions. The process involves two-stage etching: first, a non-plasmaized reaction gas forms the copper compound layer, followed by a plasmaized inert gas or inert gas mixture to selectively remove the compound layer.
5. Selective Metal-Containing Layer Etching Method via Reaction-Based Approach in Semiconductor Fabrication
TOKYO ELECTRON LTD, 2024
A method for selectively removing metal-containing layers in semiconductor fabrication using a reaction-based approach. The process involves etching a metal-containing layer on a substrate while simultaneously forming a metal-containing layer on another substrate region. The metal-containing layer on the first substrate is selectively removed through a reaction with a base, while the metal-containing layer on the second substrate remains intact. This approach enables the precise removal of metal-containing layers while maintaining the integrity of the underlying semiconductor material.
6. Dry Etching Method Using β-Diketone and Halogen Gas Mixtures Without Plasma at Controlled Pressures
CENTRAL GLASS COMPANY LTD, 2024
A novel dry etching method for semiconductor devices that eliminates the need for plasma processing while maintaining high etch rates. The method employs β-diketone and halogen-containing gas mixtures as etching agents, which form complexes with metal oxides and nitrides to enhance etch properties. The etching process is performed at controlled pressures (0.1-101.3 kPa) without plasma, allowing precise control over etch conditions. This approach enables the use of conventional dry etching equipment while maintaining the benefits of dry etching. The method can be applied to various metal and oxide/nitride films, including those with different oxidation states and surface treatments.
7. Etching Process for Semiconductor Features with Metal Passivant in Nitrogen or Carbon Dielectric Layers
LAM RESEARCH CORP, 2023
Selectively etching semiconductor features in nitrogen or carbon containing dielectric layers or polysilicon layers under a mask while providing profile control and CD control. The etch process involves flowing an etchant gas with a metal containing passivant to simultaneously etch the features and passivate the sidewalls with metal. The metal passivant prevents necking and tapering of the features during etching. The metal passivant also improves selectivity compared to traditional hydrocarbon or fluorocarbon passivants. The metal passivant can be a halogen containing compound like carbon tetrafluoride or fluorohydrocarbons.
8. Dual-Gas Etching Method with Selective Metal Catalyst Deposition for High-Aspect-Ratio Silicon Memory Features
LAM RES CORP, 2023
Method for etching high-aspect-ratio memory features in silicon using selective etching of the etch front and liner regions. The method employs a dual-gas etching process that selectively etches the etch front regions while depositing a metal catalyst layer on the liner. The etching process creates a uniform metal catalyst layer on the etch front while maintaining the liner's structure. This approach enables precise control of etch front profiles without compromising liner integrity, particularly for high-aspect-ratio features where conventional sidewall deposition is challenging.
9. Vapor-Phase Etching System for Semiconductor Substrates with Halogen Source and LED-Assisted Thermal Control
LAM RES CORP, 2023
Etching semiconductor substrates using a vapor-phase reaction instead of plasma etching. The reaction involves a halogen source like hydrogen fluoride, an organic solvent like water, an additive containing a hydrogen fluoride complex former, and a carrier gas. The substrate is heated in the reaction chamber to drive the etching reaction. The vapor-phase etching allows selective removal of materials like oxides compared to nitrides or epitaxial layers. Rapid heating and cooling using LEDs aids throughput.
10. Atomic Layer Etching Method Utilizing Active Gas and Amine-Based Etching Support for Metal Thin Films on Semiconductor Substrates
DNF CO LTD, 2022
Atomic layer etching method for precise metal thin film removal from semiconductor substrates, enabling controlled etching at atomic layer resolution. The method employs a novel combination of active gas and amine-based etching support gases to achieve atomic layer precision. The active gas is applied first, followed by the etching support gas, which is specifically formulated to enhance etch selectivity and uniformity. This approach enables precise metal removal while minimizing reaction byproducts and defects.
11. Sequential Gas Introduction Method for Controlled Multi-Step Etching in Semiconductor Substrates
KOKUSAI ELECTRIC INC, 2022
A method for creating high-performance semiconductor devices through a novel etching process. The process involves sequentially introducing boron, halide, and hydrogen gases to a substrate during a multi-step etching cycle. The sequential etching approach enables the creation of complex patterns and structures by controlling the etching rates and conditions in a controlled manner, rather than applying uniform etching conditions across the substrate. This approach allows for precise control over the etching process and enables the creation of complex geometries and patterns in the semiconductor material.
12. Selective Metal Layer Etching via Hexafluoroacetylacetonate Vapor-Induced Volatilization
APPLIED MATERIALS INC, 2022
Selective etching of metal layers in semiconductor manufacturing using a novel approach that leverages hexafluoroacetylacetonate vapor to selectively etch metal surfaces. The process involves first oxidizing the metal surface to form a volatile compound, then exposing it to hexafluoroacetylacetonate vapor at elevated temperatures, and finally pumping the resulting volatile compound out of the chamber. This selective etching enables precise control over metal layer thickness without damaging the underlying substrate.
13. Etching Apparatus with Mixed Gas Supply for Selective Metal Film Etching in Semiconductor Devices
Tokyo Electron Limited, CENTRAL GLASS COMPANY LTD, TOKYO ELECTRON LTD, 2022
Etching method and apparatus for selectively etching metal films in semiconductor devices. The method employs a mixed gas supply system that combines etching gases like Hfac and nitrogen monoxide with a reducing gas like hydrogen. The system optimizes etching conditions based on the specific metal film composition, with optimal conditions determined by the film-forming method. This approach enables precise control over etching rates and surface roughness for both metal films, particularly when traditional wet etching methods are insufficient.
14. Dry Non-Plasma Semiconductor Substrate Treatment System with Anhydrous Halogen Compound Etching and Temperature-Controlled Metal Layer Removal
TOKYO ELECTRON LTD, 2022
Dry non-plasma treatment system and method for chemical treatment and heat treatment of semiconductor substrates. The system employs anhydrous halogen compounds to selectively etch metal layers while maintaining underlying materials intact. The treatment process involves controlled exposure to a halogen compound at first temperature setting followed by temperature increase to a second setting for metal removal. This approach enables precise control over etch selectivity between metals and underlying materials, enabling the fabrication of features with improved patterning and patterning control.
15. Selective Etching of Titanium-Containing Layers Using Halogen Gas Environment
DONGJING YILLIAKE CREATIVE JOINT STOCK MEETING AGENCY, 2022
Etching titanium-containing material layers with controlled selectivity to alternating metals and dielectrics through selective etching of a titanium-containing material layer using a halogen-containing gas environment. The method employs a controlled gas environment to selectively etch the titanium-containing material layer while maintaining the dielectric layer, enabling precise control over etch selectivity and pattern integrity.
16. Atomic Layer Etching Technique with Cycle-Based Alternating Etching and Purge for Enhanced Control
KOKUSAI ELECTRIC CORP, 2022
Atomic layer etching (ALE) technique for semiconductor devices and substrate processing apparatus that improves etching control through a novel cycle-based approach. The method involves alternating between etching and purge cycles to maintain precise etching conditions, eliminating the conventional pressure-dependent etching variability. The purge step helps maintain the etching environment, while the alternating cycles ensure uniform etching profiles across the substrate surface. This approach enables precise control over etching conditions, reducing the number of etching steps required to achieve complex patterning.
17. Non-Plasma Halogen Reactive Gas Method for Nanoscale Patterning of Copper Thin Films
INHA UNIVERSITY RESEARCH AND BUSINESS FOUNDATION, 2021
Dry etching method for copper thin films that achieves nanoscale patterning without plasma etching and re-deposition issues. The method employs a reactive gas containing a non-plasmaized halogen element to form a copper halide layer on the copper thin film. The layer is then selectively removed using plasma-activated inert gas or inert gas mixtures, achieving precise control over etch rates and patterns. This approach enables dry etching of copper thin films at nanometer scales without the challenges of plasma etching and re-deposition.
18. Method for Void-Free Tungsten Deposition Using Controlled Selective Etching with Surface Modification in Semiconductor Features
LAM RESEARCH CORP, 2021
A method for filling features in semiconductor devices using a controlled etching process to create void-free tungsten deposition. The method involves depositing a metal precursor, exposing the deposited metal to a halogen-containing gas to modify its surface, and then directing the metal to selectively etch the modified surface. This process enables complete tungsten deposition into features with small apertures, even when conventional methods fail due to incomplete deposition or non-conformal coverage. The etching process is precisely controlled to maintain the modified surface, allowing for complete tungsten deposition while preventing unwanted etching of the underlying barrier layer.
19. Semiconductor Etching Method with Temperature-Regulated Gas Supply for Transition Metal Complexation
HITACHI HIGH TECH CORP, 2021
A semiconductor manufacturing method for etching a film containing transition metals on a wafer surface. The method employs a controlled gas supply system that maintains the wafer temperature during complexation and subsequent etching steps. The system regulates the gas supply to create a temperature-dependent complexation region, where the transition metal film forms a stable organometallic complex. This controlled complexation region enables the formation of a uniform film structure during etching, while maintaining the film's stability across temperature ranges.
20. Dry Etching Method Using Halogen Fluoride Gas for Selective Metal Removal in Semiconductor Devices
SHOWA DENKO KK, 2021
Dry etching method for selectively removing metal-containing materials from semiconductor devices without plasma-based etching. The method employs a halogen fluoride-based dry etching gas that selectively etches metal-containing targets while leaving non-target areas intact. The etching process is performed at controlled temperatures and pressures, allowing precise control over the etching rate and selectivity. This approach enables the selective removal of metal-containing materials from semiconductor devices without compromising the integrity of the underlying structure.
21. Dual-Chamber Plasma Etching Method for Metal Wiring Layers with Sequential Reducing and Chlorine-Containing Gas Introduction
Tokyo Electron Limited, TOKYO ELECTRON LTD, 2021
Etching method for forming semiconductor structures through controlled plasma etching of metal wiring layers. The method employs a dual-chamber system where a reducing gas and chlorine-containing gas are combined to supply the plasma etching gas. The reducing gas is used to protect the semiconductor surface during the initial etching process, while the chlorine-containing gas is introduced during subsequent etching to prevent reaction with the semiconductor. This controlled etching sequence allows for precise control over the etching process while maintaining the semiconductor's integrity.
22. Atomic Layer Etching Method Using Halogen-Based Radicalized Gas in Sealed Chamber with Remote Plasma Generator
WONIK IPS CO LTD, 2021
Atomic layer etching method for isotropic surface processing of semiconductor substrates using a halogen-based radicalized gas. The method employs a sealed processing chamber with a remote plasma generator to supply a halogen-based gas radicalized by the plasma, which is then introduced to the substrate surface. This radicalized gas selectively etches the substrate surface while maintaining isotropic etching conditions, eliminating thermal shock-related issues associated with conventional HF-based etching.
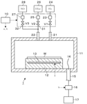
23. Apparatus and Method for Dual-Gas Etching of Molybdenum and Tungsten Films on Silicon Substrates with Simultaneous Oxidation
TOKYO ELECTRON LTD, 2021
Etching method and apparatus for selectively etching molybdenum and tungsten films onto silicon-containing substrates using a controlled dual-gas etching process. The method employs a chamber environment where the substrate is maintained in an oxidized state during the etching process, preventing the formation of pores and voids that can be exploited by etching gases. The oxidation step is performed simultaneously with the etching process, ensuring consistent etching conditions across the substrate surface. This dual-gas approach enables controlled etching while maintaining the oxidized state, thereby preventing the expansion of pores and voids that can occur during etching.
24. Plasma Etching Method Using Fluorine and Hydrogen Precursors for Selective Film Removal on Semiconductor Wafers
ASM IP HOLDING B V, 2021
Selective etching of a specific film on a semiconductor wafer prior to further processing. The method involves creating a plasma environment with a fluorine precursor gas and hydrogen precursor gas, while maintaining an inert gas flow. The fluorine precursor gas selectively reacts with the first layer, while the hydrogen precursor gas maintains the second layer intact. This selective etching process enables controlled removal of metal oxides and silicon oxides without damaging underlying layers.
25. Semiconductor Etching Apparatus Utilizing β-Diketone Complexing Gas for Transition Metal Films
HITACHI HIGH-TECHNOLOGIES CORP, 2020
Semiconductor manufacturing apparatus for etching metal films containing transition metal elements through complexing gas processing. The apparatus employs a complexing gas containing β-diketone that vaporizes in the vacuum environment, forming a chemisorbed complex with transition metal atoms. The complexed gas is then introduced into the processing chamber where it reacts with the metal film to achieve precise etching. This approach eliminates the need for oxidizing and reducing gases, which can lead to contamination and process instability. The complexing gas is specifically designed to form stable chemisorbates with transition metal atoms, enabling controlled etching while minimizing foreign substance generation.
26. Plasma Etching Method for Multilayer Magnetic Devices Using C-O-H Gas Composition with Targeted Metal Laminate Film Interaction
TOKYO ELECTRON LTD, Tokyo Electron Limited, 2020
Optimizing plasma processing for etching of multilayer magnetic devices by selecting the right etching gas composition. The method employs a gas containing C, O, and H to generate plasma in the processing vessel, while controlling the gas supply to specifically target the metal laminate film with a low melting point and boiling point. This enables efficient plasma generation and controlled etching, particularly for applications requiring precise vertical etching shapes.
27. Plasma Etching of Nickel Silicide Layers Using BCl3, CO, and Ar Gas Mixture with Volatile Byproduct Formation
APPLIED MATERIALS INC, 2020
Chemically assisted etching of nickel silicide layers in semiconductor devices using plasma processing. The etching process employs a controlled gas mixture of BCl3, CO, and Ar to selectively etch nickel silicide while preventing unwanted metal and compound deposition. The gas composition is optimized to form volatile silicon tetrafluoride (SiF4) and nickel carbonyl, which are then removed through water rinsing. This selective etching approach enables precise control over the metal profile while minimizing the formation of unwanted by-products.
28. Sequential Gas Supply Etching Apparatus with Reducing and Oxidizing Phases for Metal Film Processing
TOKYO ELECTRON LTD, 2019
Etching method and apparatus for metal film processing that employs a sequential gas supply sequence. The method involves reducing the metal film surface through a reducing gas supply, followed by an oxidizing gas supply that selectively targets the reduced surface. The oxidizing gas then reacts with the reduced surface to form a stable oxide layer, which is then etched using a specific etching gas composition. This sequential gas supply sequence enables controlled oxidation and etching of the metal film, achieving precise control over the film's surface properties.
29. Fluorine-Based Etching Process for Silicon with Enhanced Selectivity and High Rate on Titanium Films
TOKYO ELECTRON LTD, 2019
Etching silicon portions on semiconductor substrates with enhanced selectivity and high etch rates, particularly for titanium-based films in DRAM capacitors. The etching process employs a fluorine-containing gas and an inert gas in an excited state to achieve simultaneous high etch rates and selectivity across multiple film types, including silicon nitride and silicon dioxide. The process enables precise control over the etching conditions to achieve the required performance characteristics for DRAM capacitors.
30. Dry Etching Method for Copper Thin Films Using Piperidine-Based Organic Chelator and Argon Plasma
Inha University-Industry Cooperation Foundation, INHA UNIVERSITY RESEARCH AND BUSINESS FOUNDATION, 2019
Method for dry etching of copper thin films using a novel organic chelator material containing an NH group (amine) and Ar plasma. The method employs a mixed gas containing piperidine, alcohols (R-OH), and an inert gas, which is plasmaized to generate reactive species. The piperidine-based solution enhances etching selectivity by forming stable complexes with copper, while maintaining high etch rates. The solution is optimized for copper etching with a hard mask, achieving an etch angle of 70° or more. The method enables fast and selective etching of copper thin films without traditional photoresist patterning, enabling the development of copper-based interconnects for high-density semiconductor devices.
31. Cobalt Film Etching Using β-Diketone Gases with Precise Concentration Control and Low-Temperature Processing
TOKYO ELECTRON LTD, 2019
Etching of cobalt films using β-diketone gases to achieve controlled etching of fine cobalt wiring in semiconductor devices. The etching process involves a gas supply system where the etching gas concentration is precisely controlled, with a preferred ratio of 10-90% β-diketone to total gas. The process can be performed at temperatures as low as 150-250°C, allowing for high etch rates while maintaining structural integrity of the cobalt film.
32. Semiconductor Device Manufacturing Method with Dual-Gas Back-Etching Process
KOKUSAI ELECTRIC CORP, 2019
A method for manufacturing semiconductor devices that prevents damage to underlying films during back-etching. The method involves simultaneously supplying oxygen-containing and fluorine-containing gases to the substrate during back-etching, while maintaining a controlled atmosphere. This dual-gas approach prevents the formation of unwanted films between the back-etched metal and substrate surfaces, while protecting the underlying films from etching damage.
33. Plasma-Based Atomic Layer Etching Process with Acid Halide Adsorption and Rare Gas Plasma Exposure
KANTO DENKA KOGYO KK, 2019
Atomic layer etching (ALE) process that enables precise control over etching thickness to atomic layer levels through selective etching of surface components. The method employs a plasma-based etching process where acid halides are adsorbed onto the substrate surface, followed by controlled exposure to a rare gas plasma. The acid halides react with the surface, forming volatile compounds that are chemically adsorbed onto the substrate. This selective adsorption enables precise etching control by regulating the amount of etching species supplied, allowing for atomic layer thickness control. The process can be repeated multiple times to achieve atomic layer precision.
34. Atomic Layer Etching Process Using Organic Compounds for Controlled Thickness Removal of Metal-Containing Materials
BASF SE, 2019
Atomic layer etching process for metal- or semimetal-containing materials that enables precise control over material removal thickness independent of surface topography. The process involves bringing a metal- or semimetal-containing material into contact with an organic compound of general formula (I), (II), or (III) in the gaseous phase. The compound selectively etches the topmost atomic layer, allowing for precise control over material removal thickness through the use of a controlled etching environment.
35. Etching Method for Magnetic Memory Devices Using PF3 Gas for Selective Metal Interlayer Etching
Tokyo Electron Ltd., TOKYO ELECTRON LTD, 2018
Etching method for magnetic memory devices that enables precise control over etching conditions through selective etching of metal interlayers. The method employs a gas containing PF3 as the etching gas, which selectively vaporizes and sublimates at lower temperatures compared to traditional etching gases containing chlorine or fluorine. This selective etching enables precise control over etching conditions, including thickness control of the remaining insulating layer, while maintaining high etch rates. The method is particularly effective for MRAM devices with metal interlayers containing cobalt or palladium.
36. Plasma Processing Method with Ion Suppression for Selective Etching of Metal-Containing Films
APPLIED MATERIALS INC, Applied Materials Incorporated, 2018
Selective etching of metal-containing films in semiconductor devices through precise control of plasma species. The method employs an ion suppressor between the plasma and substrate to selectively remove ionized species, allowing controlled deposition of metal films while maintaining etch selectivity for silicon dioxide. The suppressor enables the generation of plasma with enhanced fluorine radical concentrations, enabling higher etch rates for metal films compared to silicon dioxide.
37. Etching Method and Device Utilizing Hydrofluoric Acid and Ammonium Fluoride for Titanium Nitride Films in Semiconductor Processing
HITACHI HIGH-TECHNOLOGIES CORP, 2018
Etching method and device for achieving high selectivity and isotropy in semiconductor processing, particularly for titanium nitride films in 3D NAND flash memory and FinFETs. The etching method employs a novel combination of hydrofluoric acid and ammonium fluoride, which enables precise control over the etching process at the atomic level while maintaining isotropic etching characteristics. This approach addresses the limitations of conventional wet etching techniques by eliminating the surface tension-driven pattern collapse issues associated with rinse liquids.
38. Atomic Layer Etching Method Utilizing Sequential Self-Limiting Gas Flow with Rotational Exposure
TOKYO ELECTRON LTD, 2017
Atomic layer etching (ALE) of thin films using a novel sequential self-limiting gas flow process. The method employs alternating exposures of a fluorine-containing gas and an aluminum-containing gas to etch metal oxide films, with each exposure step being rotated through a specific angle to achieve controlled etching. This sequential approach enables precise control of etch rates and film thickness while maintaining atomic-scale resolution.
39. Atomic Layer Etching of Transition Metals Using Complexing Agents to Form Volatile Metal Complexes
ROMERO PATRICIO EDUARDO, 2017
Atomic layer etching of transition metals and metal alloys using a novel approach that leverages complexing agents to form metal complexes on surfaces. The method involves generating metal halides on the target surface followed by complexation with chelating ligands, resulting in volatile etch fragments containing transition metals. These fragments are thermally stable and can be selectively etched at low temperatures, enabling precise patterning of transition metal-based materials in semiconductor manufacturing.
40. Plasma-Based Selective Dry Etching Method for Cobalt and Nickel with Sequential Precursor Treatment
APPLIED MATERIALS INC, 2017
Selective dry etching of metals like cobalt and nickel from semiconductor substrates through a novel plasma-based approach. The method involves pre-treating the metal surface with a plasma treatment that selectively reduces metal oxide to metal while physically dislodging crystalline regions. This pre-treatment creates a more uniform etch surface for subsequent etching sequences. The treatment sequence includes sequential exposure to a halogen-containing precursor followed by a carbon-and-nitrogen-containing precursor, which produces volatile etch products. The volatile etch products are removed, followed by a final etching sequence with a carbon-and-nitrogen-containing precursor. This approach enables selective etching of metals while maintaining control over the etch rate and pattern quality.
41. Plasma Processing Method for Metal Layer Etching Using Non-Sputtering Cyclic Plasma with Specific Gases
LAM RES CORP, 2017
Etching metal layers in semiconductor devices using plasma processing without sputtering, enabling controlled profile angle and sidewall polymer growth. The method employs multiple plasma cycles with specific etching gases (PF3, CO, NO) to selectively etch metal layers relative to the mask. This approach provides atomic layer etching control and improved feature profile control compared to traditional sputtering-based etching. The method can be applied to multiple metal layers in MRAM devices, enabling selective etching of different metal layers and minimizing chamber contamination.
42. Atomic Layer Etching Process for Metals Using Halide Modification and Plasma Activation with Controlled Bias Voltage
LAM RESEARCH CORP, 2017
Atomic layer etching (ALE) of metals, including hook metals, titanium, cobalt, titanium oxide, and metalloid aluminum, using a novel approach that enables precise control over metal surface modification and subsequent etching. The process involves exposing the metal surface to a halide chemical to form a modified surface layer, followed by plasma activation to remove the modified layer while maintaining a controlled bias voltage. This approach enables precise control over metal surface modification and etching, particularly challenging in conventional etching processes.
43. Vapor-Phase Etching Method with Dual-Chamber Pulse-Mode for Atomic Layer Precision in Copper Interconnects
ACM SEMICONDUCTOR EQUIPMENT CO LTD, 2017
Vapor-phase etching method for copper interconnect structures that enables precise control of etching conditions at atomic layer thicknesses. The method employs a pulse-mode etching process with two chambers: a diffusion chamber where etching occurs, and a reaction chamber where the etching gas is introduced and exhausted. This architecture prevents over-etching through collision effects while maintaining precise control over etching conditions. The method achieves atomic layer thickness control through the controlled introduction and exhaustion of etching gas, allowing precise etching of barrier layers in copper interconnects.
44. Three-Stage Etching Sequence for Cyclically Patterned Copper Interconnects in Semiconductor Devices
APPLIED MATERIALS INC, 2016
Cyclically patterning copper interconnects in semiconductor devices using a controlled etching process. The method employs a three-stage etching sequence: initial main etching to define feature boundaries, followed by flash cleaning to remove surface residues, and a final energy-driven clean to refine sidewall profiles. This sequential approach ensures precise control over etching selectivity and stop points, enabling the creation of high-aspect-ratio features with reduced feature size effects.
45. Cyclic Etching Method for Barrier Layer with High Selectivity Using Alternating Gas Mixtures
APPLIED MATERIALS INC, 2016
Method for etching a barrier layer with high selectivity to a metal layer in semiconductor manufacturing. The method employs a cyclic etching process that alternates between a breaking-through process to initially etch the barrier layer and a main etching process to incrementally remove the barrier layer. The breaking-through process uses a hydrogen-containing gas and inert gas mixture, while the main etching process uses fluorine-containing gas. This controlled etching sequence enables precise control over the barrier layer thickness and profile, allowing the formation of features with high selectivity to both the metal layer and hardmask layer.
46. Method for Selective Etching of Metal Films Using Chlorine-Containing Precursors and Localized Plasma Treatment
APPLIED MATERIALS INC, 2015
Selective etching of metal films using a novel approach that leverages chlorine-containing precursors to create volatile metal complexes. The method involves exposing metal films to chlorine-containing precursors while maintaining plasma-free regions for other materials. The chlorine is selectively removed, followed by the formation of volatile metal complexes through carbon-nitrogen precursors. These metal complexes desorb from the surface, enabling controlled removal of the metal layer while minimizing the removal of other materials. The localized plasma treatment of the metal oxide layer enhances the etch rate.
47. Cobalt Etching Method Using Fluorine Radicals with Temperature-Controlled Layer Exposure
APPLIED MATERIALS INC, 2015
Etching cobalt metal using fluorine radicals in a substrate processing chamber. The etching process involves maintaining the cobalt layer at temperatures below 300°C while exposing it to fluorine radicals from a plasma source. The fluorine radicals react with the cobalt layer to form stable cobalt fluorides, which are selectively removed at higher temperatures, resulting in a continuous fresh cobalt surface for subsequent etching operations.
48. Method for Selective Etching of Metal-Containing Materials Using Non-Plasma Halogen Precursors
APPLIED MATERIALS INC, 2015
Selective etching of metal-containing materials from silicon-containing films in semiconductor processing. The method involves exposing metal-containing materials to halogen-containing precursors in the substrate processing region, without plasma excitation of the halogen-containing species. This approach enables controlled selective etching of metal-containing materials while maintaining silicon-containing films.
49. Semiconductor Device Fabrication Using Dual-Step Dry Etching of Aluminum Film with Halogen and Inert Gas Etchants
KABUSHIKI KAISHA TOSHIBA, 2015
Manufacturing a semiconductor device with high accuracy by employing a dual-step dry etching process. The method involves first etching the aluminum film containing silicon using a halogen-based etchant to achieve desired thickness reduction. Subsequently, the aluminum film is etched using an inert gas-based etchant, which preserves the original surface profile and prevents etching-induced defects. This dual-step approach enables precise control over the aluminum film thickness while maintaining its original surface integrity, resulting in a semiconductor device with superior shape accuracy.
Get Full Report
Access our comprehensive collection of 49 documents related to this technology
