Mesoscopic Architecture for Perovskite Solar Cells
Mesoscopic architectures in perovskite solar cells operate at the critical interface between nanoscale charge dynamics and bulk power generation. Current designs achieve power conversion efficiencies above 26%, yet face persistent challenges in charge transport across multiple interfaces, where recombination losses and stability issues manifest at scales between 10-100 nanometers.
The fundamental challenge lies in orchestrating electron and hole transport across multiple functional layers while maintaining material stability and minimizing interfacial defects.
This page brings together solutions from recent research—including graded electron transport layers with controlled oxygen incorporation, quasi-two-dimensional perovskite structures, composite protection layers utilizing boron nitride and graphene, and novel optical matching strategies. These and other approaches focus on practical implementation while addressing both efficiency and long-term stability requirements for commercial deployment.
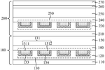
1. Perovskite Solar Cells with Graded SnOx/SnO2 Electron Transport Layer and Fullerene Interlayer
HANWHA SOLUTIONS CORP, 2024
Perovskite solar cells with improved electron transport layers that enhance efficiency and stability. The cells feature a graded electron transport layer that transitions from a SnOx precursor to a SnO2 precursor, with oxygen incorporation varying from the lower to the upper layer. This differential thin film architecture enables controlled oxygen incorporation, reducing defects and degradation while maintaining high carrier mobility. The system also incorporates fullerene-based electron transport layers between the perovskite and electron transport layers, further improving efficiency.
2. Perovskite Solar Cell with Ceria-Titanium Dioxide Composite and Titanium Disulfide Layers
Hunan Normal University, HUNAN NORMAL UNIVERSITY, 2024
A perovskite solar cell with enhanced efficiency and stability through a novel preparation method. The cell comprises a transparent conductive substrate, a ceria-titanium dioxide composite layer, a perovskite light-absorbing layer, a titanium disulfide layer, an antioxidant layer, and a metal electrode. The composite layer is prepared through a hydrothermal synthesis method, followed by the deposition of the perovskite light-absorbing layer using a gas phase method. The titanium disulfide layer is deposited using a thermal injection method, and a graphene film is deposited on the titanium disulfide layer using chemical vapor deposition. The metal electrode is deposited using screen printing. The cell achieves high photoelectric conversion efficiency while maintaining long-term stability compared to conventional perovskite solar cells.
3. Perovskite Solar Cell with Quasi-Two-Dimensional Structure Incorporating Fluorinated Organic Aromatic Ammonium Salt
CHENGDU UNIVERSITY OF INFORMATION TECHNOLOGY, 2024
A stable and efficient perovskite solar cell with enhanced performance through a novel quasi-two-dimensional perovskite structure. The device incorporates a transparent substrate, conductive anode, hole transport layer, perovskite photosensitive layer, electron transport layer, and metal cathode arranged sequentially from bottom to top. The quasi-two-dimensional perovskite, comprising a fluorinated organic aromatic ammonium salt, is introduced to the perovskite photosensitive layer at a controlled concentration. This modification enables improved photovoltaic efficiency while addressing the stability challenges associated with traditional perovskite materials.
4. Perovskite Solar Cell with TiO2-Based Window Layer and Anti-UV Hydrophobic Coating
Hunan Normal University, HUNAN NORMAL UNIVERSITY, 2024
A perovskite solar cell with enhanced stability and efficiency through a novel architecture. The cell features a transparent conductive substrate, a window layer, a perovskite light-absorbing layer, and an anti-UV hydrophobic layer distributed from bottom to top. The transparent conductive substrate is replaced with a TiO2-based window layer, followed by a perovskite light-absorbing layer deposited using a liquid phase method. The perovskite layer is then cured using a photocuring process, followed by deposition of an anti-UV hydrophobic layer. The cell's front and back electrodes are achieved through vacuum evaporation. This architecture combines the benefits of perovskite solar cells with improved stability and efficiency compared to conventional perovskite solar cells.
5. Heterojunction Trans-Perovskite Tandem Solar Cell with Multi-Layer Architecture and Indium Zinc Oxide Transparent Conductive Protection Layer
Ganzhou Chuangfa Optoelectronics Technology Co., Ltd., 2024
A fully vacuum process heterojunction trans-perovskite tandem solar cell that achieves high efficiency through a novel multi-layer architecture. The cell comprises a front metal conductor layer, a front amorphous structure transparent conductive protection, a perovskite absorption layer, a hole transport layer, and a heterojunction layer. The transparent conductive protection layer is made of indium zinc oxide (IZO) with a thickness of 50-200 nm and a resistivity below 7 x 10^4 Ω cm. The transparent conductive protection layer is integrated with the front metal conductor layer to provide a uniform and efficient electrical path. The perovskite absorption layer and hole transport layer are positioned between the transparent conductive protection layer and the heterojunction layer, while the heterojunction layer enables efficient charge separation and collection. This multi-layer design enables the tandem solar cell to achieve conversion efficiencies exceeding 26% through optimized charge transport and collection.
6. Perovskite Solar Cell with RGO/m-TiO2 Layer and Ultrasonically Treated TCG Substrate
ENGINEERING UNIV OF CHINESE PEOPLES ARMED POLICE FORCE, 2023
A perovskite solar cell with enhanced stability and efficiency through a novel RGO/m-TiO2 architecture. The cell features a titanium dioxide (TiO2) dense layer attached to the transparent conductive glass (TCG) substrate, followed by a mesoporous layer of RGO (Reduced Graphene Oxide) on top. The RGO/TiO2 layer is then connected to the TiO2 dense layer, forming a perovskite light-absorbing layer. The cell incorporates a hole transport layer and silver electrode. The TCG substrate is treated with ultrasonic and ozone after etching to enhance its conductivity. This architecture addresses the thermal and photodegradation challenges of traditional perovskite solar cells by integrating a dense TiO2 layer with a mesoporous RGO layer, which improves charge carrier mobility and stability.
7. Symmetrical Laminated Perovskite Solar Cell with Dual-Sided Charge Transport Layers and Glass Plate for Enhanced Light Transmission
YUNGU TECHNOLOGY CO LTD, 2023
A light-transmitting laminated perovskite solar cell and photovoltaic module that enhances visible light absorption while maintaining high efficiency. The cell architecture features symmetrically arranged perovskite absorption layers with charge transport layers on both sides, arranged between the electrodes. The perovskite absorption layers have absorption bands between 200-300 nm, and the charge transport layers are either electron or hole transport layers. The cell architecture incorporates a glass cover plate with a thickness that allows sequential stacking of the perovskite layers, with the width of the perovskite layer on the glass plate exceeding 2 microns. This design enables efficient light transmission while maintaining high solar conversion efficiency.
8. Perovskite Solar Cells with Boron Nitride and Graphene Composite Protection Layer
SHENZHEN HANKE NEW MATERIAL TECHNOLOGY CO LTD, 深圳市汉嵙新材料技术有限公司, 2023
Perovskite solar cells with enhanced stability and efficiency through a novel composite protection layer. The solar cells incorporate a boron nitride layer and graphene layer in sequential contact with the perovskite layer, forming a protective barrier that prevents degradation while maintaining charge transport properties. This composite structure enables improved long-term stability compared to conventional perovskite solar cells, particularly in applications requiring extended operational periods.
9. Layered Perovskite Solar Cell Structure for Photovoltaic Glass Integration
Zhongshan Wuhan University of Technology Advanced Engineering Technology Research Institute, WUHAN UNIVERSITY OF TECHNOLOGY ADVANCED ENGINEERING TECHNOLOGY RESEARCH INSTITUTE OF ZHONGSHAN CITY, 2023
Perovskite solar cell applied to a photovoltaic glass curtain wall. The cell includes a metal bottom electrode, an electron transport layer, a perovskite light absorption layer, hole transport layer and the top electrode that set gradually from bottom to top, metal bottom electrode is connected with first lead wire, the top electrode is connected with the second lead wire.
10. Perovskite Solar Cell with Transparent Base and Optical Matching Layer for Enhanced Light Transmission
GUANGXIN FILM CO LTD, 2023
Perovskite solar cells with enhanced photoelectric conversion efficiency achieved through the optimization of light transmission through the perovskite layer. The cell design incorporates a transparent base material with a conductive interlayer, followed by a perovskite layer, electron transport layer, and electrode layer. A novel optical matching layer is integrated between the conductive interlayer and electrode layer, ensuring optimal light transmission while maintaining electrical contact. This configuration enables the perovskite layer to absorb a broader spectrum of light, thereby increasing the overall conversion efficiency of the solar cell.
11. Perovskite Solar Cells with 3D/2D Heterojunction and Oleylammonium-Iodide Anchored Interface
KING ABDULLAH UNIVERSITY OF SCIENCE AND TECHNOLOGY, 2023
Perovskite solar cells with enhanced stability in ambient conditions through a novel 3D/2D perovskite heterojunction approach. The cells integrate a 2D perovskite layer directly on the 3D perovskite absorber, with the 2D layer anchored to the 3D structure through oleylammonium-iodide (OLAI) molecules. This architecture enables passivation of surface defects and ion migration, while maintaining high power conversion efficiency and long-term stability in ambient conditions. The 2D layer is specifically engineered to be passivated at the interface with the 3D perovskite, addressing the conventional limitations of conventional 2D perovskite passivation strategies.
12. Transperovskite Solar Cells with Conjugated Organic Molecule-Modified Perovskite Layer for Enhanced Carrier Mobility and Reduced Interface Recombination
UNIV KUNMING SCIENCE & TECHNOLOGY, 2023
High-performance transperovskite solar cells with improved stability, open-circuit voltage, and carrier mobility. The cells feature a bottom-to-top structure with a conductive glass substrate, a perovskite layer with a hole transport layer, a perovskite layer with a hole blocking layer, and a perovskite layer with a hole transport layer. The perovskite layer is modified with a conjugated organic molecule, specifically 3,6-dibromocarbazole, which enhances carrier mobility and reduces interface recombination through improved lateral transport within the perovskite lattice. The modified perovskite layer achieves higher open-circuit voltage and carrier mobility compared to conventional perovskite cells, while maintaining stability and mechanical integrity.
13. Perovskite-Based Semi-Transparent Solar Cells with Polyacrylic Acid-Enhanced Photoactive Layer
ENI SPA, 2023
Perovskite-based semi-transparent solar cells with improved power conversion efficiency and visible transmittance. The solar cells incorporate a photoactive layer comprising at least one polyacrylic acid polymer in an amount greater than or equal to 3% by weight, preferably between 4% and 15% by weight, with respect to the total weight of the perovskite precursors. The polyacrylic acid polymer enhances the perovskite's photoelectric properties while maintaining transparency. The solar cells achieve power conversion efficiency of 9.6% and average visible transmittance of 33.4% through a two-step deposition process.
14. Semi-Transparent Perovskite Photovoltaic Cells with Polysaccharide-Based Polymer Integration and Controlled Deposition
ENI S.P.A, 2023
Semi-transparent perovskite-based photovoltaic cells (PVs) that combine the power conversion efficiency of perovskites with transparency in the visible spectrum. The PVs incorporate a polysaccharide-based inert polymer in a controlled ratio to perovskite precursor, achieving a transparency range of 26.8% to 9.7% in the visible spectrum. The PVs can be used in building-integrated photovoltaics, windows, and other applications requiring high transparency while maintaining photovoltaic efficiency. The PVs can be prepared through a controlled deposition process that balances perovskite material deposition with the incorporation of the inert polymer.
15. Translucent Perovskite Solar Cells with Silver Grid Transparent Cathode and Ultra-Thin Metal Buffer Layer
ZHEJIANG NORMAL UNIVERSITY, 2023
Translucent perovskite solar cells with enhanced visible light transmission and efficiency, enabling building-integrated photovoltaics (BIPV) applications. The cells achieve superior performance through optimized perovskite active layer composition and buffer layer preparation. The transparent cathode is achieved through a novel silver grid line design, while the ultra-thin metal silver buffer layer is prepared using low-cost thermal evaporation. This approach enables the creation of transparent perovskite solar cells with photoelectric conversion efficiencies of up to 13.61% and average visible transmittance of 24.7%, while maintaining low production costs.
16. Transparent Oxide Electrode with Low-Temperature Sputtered Composition for Perovskite Solar Cells
Korea Electric Power Corporation, KOREA ELECTRIC POWER CORP, 2022
Transparent oxide electrode for perovskite solar cells with enhanced optical and electrical properties. The electrode is fabricated using a low-temperature, low-damage target sputtering process that produces a high-transmittance, low-resistance oxide material suitable for amorphous solar cells. The electrode's unique composition and deposition conditions enable superior optical performance while maintaining device stability and efficiency compared to conventional metal electrodes.
17. Perovskite Solar Cell with Multifunctional Tin Oxide Layer and Nanoparticle-Embedded Structure
Huaneng Renewables Corporation Limited, HUANENG NEW ENERGY CO LTD, China Huaneng Group Clean Energy Technology Research Institute Co., Ltd., 2022
A solar cell design that achieves high-performance perovskite solar cells through a novel stacking configuration. The cell comprises a transparent glass substrate, a transparent electrode layer, a hole transport layer, a perovskite active layer, a hole transport layer, a multifunctional tin oxide layer, and a metal counter electrode layer. The cell's structure features a 10-50 nm thick multifunctional tin oxide layer and 5-20 nm diameter tin oxide nanoparticles in the multifunctional tin oxide layer. This configuration enables efficient carrier collection and transport through the transparent electrode layer and hole transport layer, while minimizing carrier loss through the perovskite layer.
18. Perovskite Solar Cell with 4,4-Didodecylthiophene-2,2'-Bis-1,3-Dithiocyclopentadiene Hole Transport Layer Applied via Spin Coating
Hangzhou Xian Na Optoelectronics Technology Co., Ltd., HANGZHOU XIANNA OPTOELECTRONIC TECHNOLOGY CO LTD, 2022
A stable perovskite solar cell with enhanced energy conversion efficiency and long-term durability, achieved through the use of a novel hole transport layer material. The cell features a transparent conductive layer, electron transport layer, perovskite layer, hole transport layer, and metal electrode, with the hole transport layer comprising 4,4-didodecylthiophene-2,2'-bis-1,3-dithiocyclopentadiene dissolved in toluene and applied using a spin coating process. This material provides improved hole mobility and stability compared to conventional hole transport layers, enabling higher energy conversion efficiency and longer cell lifetimes.
19. Translucent Organic-Inorganic Hybrid Perovskite Solar Cells with Conductive Polymer-Modified Hole Transport Layers
UNIV CENTRAL SOUTH, 2022
Translucent organic-inorganic hybrid perovskite solar cells with improved stability through the use of conductive polymers as hole transport layers. The cells feature a transparent conductive glass substrate, followed by a tin oxide electron transport layer, organic-inorganic hybrid perovskite light-absorbing layer, and a conductive polymer-modified hole transport layer. The conductive polymer layer enhances hole transport properties while maintaining transparency, while the perovskite layer retains high photoelectric conversion efficiency. The combination enables stable semitransparent solar cells with enhanced performance compared to conventional opaque solar cells.
20. Translucent Perovskite Solar Cell with Hydroxyl-Modified Zinc Oxide Seed Layer and Metal Nanoarray Transparent Electrode
UNIV JINAN, 2022
A high-efficiency and stable large-area translucent perovskite solar cell with enhanced performance through optimized interface layer preparation. The cell features a conductive substrate layer, a hole transport layer, an electron transport layer, and a seed layer, all of which are formed through controlled laser scribing and atomic layer deposition processes. The seed layer is specifically prepared by hydroxyl-modified zinc oxide crystals grown at low temperature, which enhances the interface between the perovskite layer and the substrate. This seed layer architecture enables uniform and free interfaces, leading to improved power conversion efficiency and stability. The cell also employs a transparent electrode made by magnetron sputtering of platinum and silver metal nanoarrays.
21. Mesoscopic Perovskite Solar Cell with Sequential Transparent Conductive, Mesoporous Electron Transport, and Insulating Layers
HUAZHONG UNIVERSITY OF SCIENCE AND TECHNOLOGY, Huazhong University of Science and Technology, 2021
Mesoscopic perovskite solar cell with improved stability and efficiency through a novel architecture that integrates transparent conductive layers, mesoporous electron transport layers, and mesoporous insulating layers. The cell features a transparent conductive layer, a mesoporous electron transport layer, and a mesoporous insulating layer arranged in sequence from bottom to top. The perovskite material is filled within these layers, enabling the creation of a transparent solar cell with broadened absorption spectrum and enhanced stability. The cell can be fabricated into a colored transparent glass with power generation capability, offering a practical solution for building-integrated photovoltaics and energy-efficient applications.
22. Perovskite Solar Cell with Three-Layer Ultra-Thin Composite Transport Layer
HANGZHOU XIANNA OPTOELECTRONIC TECHNOLOGY CO LTD, 2021
A perovskite solar cell with a composite transport layer that enables high-performance solar cells with improved stability. The cell structure comprises a transparent substrate, a first electrode, a transmission layer, and a perovskite layer, with a three-layer ultra-thin composite transport layer. The transport layers are made from organic hole and electron transport materials, while the barrier layer is an organic insulating material. This configuration provides enhanced interface protection and mechanical strength compared to conventional sacrificial layers, while maintaining the organic transport layer's performance.
23. Solar Cell with Comb-Structured Transparent Conductive Layers for Enhanced Perovskite Absorption
Jiaxing Canadian Solar Photovoltaic Technology Co., Ltd., JIAXING CANADIAN SOLAR TECHNOLOGY CO LTD, 2021
Solar cell and battery pack that enhances perovskite solar cell efficiency by integrating transparent conductive layers between the perovskite absorption layer and the light-emitting layer. The transparent conductive layers, comprising sub-transparent conductive layers with comb-shaped structures, are strategically positioned to minimize shading loss and prevent light absorption by the transparent conductive layer. This configuration enables the perovskite absorption layer to absorb a significant portion of the incident light while maintaining high current generation, thereby increasing the overall solar cell efficiency.
24. Transparent Photovoltaic Glass with Mesoporous Layer and Two-Step Perovskite Preparation
RESEARCH & DEVELOPMENT INSTITUTE OF NORTHWESTERN POLYTECHNICAL UNIV IN SHENZHEN, 2021
Transparent photovoltaic glass with enhanced performance for building applications, particularly for architectural windows and electronic devices. The glass employs a two-step perovskite material preparation process that introduces a mesoporous layer to improve charge transport pathways. This enables the glass to efficiently convert solar energy into electrical power while maintaining transparency. The glass can be integrated with electrochromic devices or laminated solar cells, offering a versatile solution for building windows and electronic applications.
25. Transparent Solar Cell with Layered Structure Including ZnO and Perovskite Materials
WUHAN UNIVERSITY OF TECHNOLOGY, Wuhan University of Technology, 2021
Transparent solar cell that can be used in daily life like buildings, vehicles, mobile electronic equipment, greenhouses and the like, the application space of the solar cell is expanded, and the utilization efficiency of solar resources is increased. The cell includes a top glass substrate, a cell anode, a hole transport layer, a ZnO material layer, a perovskite material layer, a resistance transport layer, a cell cathode and a bottom glass substrate.
26. Translucent Perovskite Solar Cells with Enhanced Electron and Hole Transport Layers
BEIJING HONGTAI INNOVATION TECHNOLOGY CO LTD, 2020
Translucent perovskite solar cells with improved efficiency through enhanced electron and hole transport layers. The cells achieve higher photoelectric conversion efficiency by incorporating specific materials in the electron and hole transport layers, enabling efficient charge separation and collection. The novel design addresses the limitations of conventional perovskite solar cells in achieving commercial viability through improved optical transparency and reduced material costs.
27. Photovoltaic Cells with Perovskite Comprising Methylaminoethylammonium, Aniline, and Phenylammonium
HUNT PEROVSKITE TECHNOLOGIES L L P, 2020
Photovoltaic cells and devices that enhance solar energy conversion through novel materials and device architectures. The invention introduces a perovskite material comprising a specific composition of methylaminoethylammonium, aniline, and phenylammonium groups. This composition enables improved hole-transport properties and electron-transport capabilities in perovskite solar cells. The material is integrated into photovoltaic devices, where it enables enhanced light absorption and charge separation, leading to improved energy conversion efficiency.
28. All-Inorganic Perovskite Solar Cell with Rare Earth-Doped Yttrium Sodium Tetrafluoride Interlayer
XIDIAN UNIVERSITY, 2020
All-inorganic perovskite solar cell with improved spectral efficiency and stability through the incorporation of a rare earth element-doped yttrium sodium tetrafluoride layer between the transparent conductive substrate and electron transport layer. This layer enhances infrared absorption and expands the visible light absorption spectrum of perovskite solar cells, while maintaining the material's inherent stability and low-temperature processing requirements.
29. Solar Cell with Rare Earth Doped Down Conversion Layer for Enhanced Perovskite Absorption and Stability
XIDIAN UNIVERSITY, 2020
Solar cell with improved perovskite absorption and stability through a novel down conversion layer. The cell incorporates a transparent conductive substrate, a down conversion layer with rare earth element doping, an electron transport layer, a perovskite absorption layer, a hole transport layer, and a top electrode. The down conversion layer enables efficient conversion of UV light to visible light while maintaining perovskite material integrity. This approach addresses the limitations of conventional perovskite solar cells by addressing the UV light degradation issue through the down conversion layer.
30. Perovskite Solar Cell Architecture with Engineered Layer Structure and Component Configuration
SHANGHAI BAIHAO NEW MATERIAL CO LTD, Shanghai Baihao New Material Co., Ltd., 2020
Perovskite solar cells with enhanced efficiency through novel component designs. The invention introduces a perovskite solar cell architecture that incorporates a novel perovskite layer structure and a specific component configuration. The perovskite layer is engineered to optimize charge carrier transport and recombination, while the component configuration enables improved optical and electrical properties. The design enables significant improvements in solar cell efficiency compared to conventional perovskite solar cells.
31. Perovskite Tandem Solar Cell with Screen-Printed Mesoporous Electron Transport Layer and Insulating Layer
UNIV HUAZHONG SCIENCE TECH, 2020
A perovskite tandem solar cell that enables efficient conversion of solar energy through a novel preparation method. The cell comprises a perovskite solar cell as the top layer, with a mesoporous electron transport layer and insulating layer stacked from bottom to top. The mesoporous structure is prepared through screen printing, allowing for rapid and simple preparation of the perovskite material layers. This approach enables the creation of high-efficiency perovskite solar cells that can be used as the top layer in tandem solar cells, overcoming the limitations of conventional perovskite solar cells.
32. Translucent Perovskite Solar Cell with Integrated Grid Pattern Electrode Structure
KOREA ELECTRIC POWER CORP, 2020
Translucent perovskite solar cell with enhanced light transmission and efficiency. The cell comprises a transparent substrate, a transparent electrode, a charge transport layer, a perovskite photoactive layer, a second charge transport layer, a second transparent electrode, and a second transparent substrate. The transparent electrode is formed on the substrate, the charge transport layer is interposed between the electrode and the perovskite photoactive layer, and the perovskite photoactive layer is interposed between the charge transport layer and the second charge transport layer. A grid pattern is integrated into the electrode structure to enhance light transmission while maintaining structural integrity.
33. Perovskite Solar Cell with Hydrophobic Interface Layer Between Perovskite and Transport Layers
WUHAN UNIVERSITY OF TECHNOLOGY, Wuhan University of Technology, 2020
A stable perovskite solar cell with improved durability and long-term performance. The cell features a novel interface layer that prevents water absorption and degradation of the perovskite material. This hydrophobic layer is strategically positioned between the perovskite and transport layers, creating a hydrophobic barrier that shields the perovskite from water exposure. The cell's architecture combines a conductive substrate with a hydrophobic perovskite layer, a hole-transporting layer, and a metal counter electrode. The hydrophobic interface layer enhances the cell's stability and durability, enabling high-photovoltaic efficiency and long-term operation in ambient conditions.
34. Multilayer Perovskite Solar Cells with Band Gap-Selective Layered Absorption
FENGCHAO ENERGY TECHNOLOGY CO LTD, 2019
Perovskite solar cells with multilayer architecture that enhance efficiency through selective absorption of different wavelengths. The cells comprise a transparent conductive layer, electron transport layer, perovskite layer, hole transport layer, and electrode, with multiple continuous perovskite material layers with different band gaps. This multilayer structure enables the perovskite material layers to absorb light across a broader spectral range, particularly in the visible and near-infrared regions, while maintaining high open-circuit voltage and short-circuit current.
35. Solar Cell with Dual-Surface Porous Organic-Inorganic Perovskite Layer
SEKISUI CHEMICAL CO LTD, 2019
Solar cell with enhanced photoelectric conversion efficiency through a novel photoelectric conversion layer structure. The layer comprises an organic-inorganic perovskite compound with a porous structure on both surfaces, where the porosity is controlled to achieve optimal surface area and crystallinity. This layer architecture enables efficient electron-hole separation and transport across the solar cell's interface, significantly improving the overall conversion efficiency compared to conventional perovskite solar cells.
36. Double TCO Heterojunction Perovskite Photovoltaic Cell with Dual Substrate Configuration
YANCHUANG APPLIED MATERIALS CO LTD, Research and Applied Materials Co., Ltd., 2019
Double TCO heterojunction perovskite laminated photovoltaic cell with enhanced efficiency beyond 25% through a novel perovskite material system. The cell features a double TCO (transparent conductive oxide) heterojunction on both aluminum and zinc oxide substrates, with a transparent conductive film on both sides of the aluminum substrate. This configuration enables improved stability and weather resistance compared to traditional silicon-based photovoltaic cells, while maintaining high conversion efficiency.
37. Perovskite Solar Cell Module with Glass/ITO/TiO2 and Glass/ITO/NiOx/CH3NH3PbI3 Heterostructures
GUILIN UNIVERSITY OF TECHNOLOGY, 2019
Perovskite solar cell module with enhanced carrier transport and collection efficiency through novel glass structures. The invention features a perovskite solar cell module with a unique glass structure comprising a glass/ITO/TiO2 heterostructure at the top, followed by a glass/ITO/NiOx/CH3NH3PbI3 heterostructure at the bottom. This glass structure configuration enables improved carrier transport and collection through enhanced electron and hole transport properties, while maintaining stability and durability. The module achieves high open-circuit voltage values (up to 1.05V) and high short-circuit current densities (up to 30mA/cm2) compared to conventional perovskite solar cells.
38. Inorganic Flexible Transparent Solar Cell with Perovskite-Based Photovoltaic Layers and Variable Amplitude Zigzag Sipes
SHIJIAZHUANG TIEDAO UNIVERSITY, 2018
Inorganic flexible transparent solar cell with enhanced performance through perovskite-based photovoltaic layers. The cell comprises a substrate, a transparent conductive layer, a download current transport layer, a perovskite absorption layer, an upper carrier transport layer, and conductive electrodes. The perovskite absorption layer enables high light absorption, while the upper carrier transport layer facilitates efficient charge collection. The transparent conductive layer enables flexible device fabrication. The cell's flexible architecture enables wearable and foldable applications.
39. Translucent Perovskite Solar Cell with Ultra-Thin Silver Electrode and Anti-Reflective Layer
UNIV JINAN, 2017
Translucent perovskite solar cell with optimized electrode structure for energy conversion. The cell comprises a transparent electrode substrate, an electron transport layer, a light-absorbing layer, a hole transport layer, and a second transparent electrode substrate. The electrode structure features an ultra-thin silver (Ag) conductive layer and an anti-reflective layer, enabling high-efficiency light transmission while maintaining transparency. This novel electrode architecture addresses the limitations of traditional transparent electrodes in perovskite solar cells, enabling the creation of translucent solar cells with improved energy conversion efficiency and stability.
40. Perovskite Solar Cell with Broad-Spectrum Light Absorbing Layer Covering 400 nm to 2400 nm
Shunde Sun Yat-sen University Solar Institute, SHUNDE SYSU INSTITUTE FOR SOLAR ENERGY, 2017
A perovskite solar cell with enhanced broad-spectrum absorption, enabling efficient conversion of visible light into perovskite light absorption. The cell achieves this through a novel perovskite light-absorbing layer design that spans the entire visible spectrum, from 400 nm to 2400 nm, while maintaining the perovskite material's inherent photovoltaic properties. This broad-spectrum absorption enables the cell to capture a wider range of light energies, thereby increasing its overall photovoltaic efficiency.
41. Perovskite Solar Cell with Transparent Conductive Base and Charge Carrier Blocking Layers
NAT INST FOR MATERIALS SCIENCE, 2017
High-reliability perovskite solar cell with enhanced light irradiation tolerance, achieving photoelectric conversion efficiency above 20% while maintaining long-term stability. The cell incorporates a transparent conductive base, electronic blocking layer, perovskite layer, electron transport layer, hole blocking layer, and back electrode, with both electronic and hole blocking layers comprising charge carriers. The electronic blocking layer is specifically designed to enhance light absorption while maintaining charge carrier mobility, while the hole blocking layer incorporates metal ions to reduce charge carrier recombination. The transparent conductive base material ensures efficient light transmission, while the perovskite layer delivers high photoelectric conversion efficiency. The cell's design enables reliable operation under intense light conditions, making it suitable for large-scale solar panels.
42. Translucent Perovskite Solar Cell with Multi-Layer Semi-Transparent Functional Architecture
CHONGQING INST GREEN & INTELLIGENT TECHNOLOGY CAS, 2016
Translucent perovskite solar cell with enhanced light transmission through a novel multi-layer architecture. The cell comprises a transparent substrate, a first transparent electrode layer, a semi-transparent functional layer consisting of a hole transport layer, a perovskite light absorption layer, and an electron transport layer, and a second transparent electrode layer. The semi-transparent functional layer enables light transmission while maintaining the perovskite solar cell's optical properties.
43. Perovskite Solar Cells with Hybrid Structure and Insulating Buffer Layer Between Perovskite and Organic-Inorganic Layers
UNIVERSITY OF SCIENCE AND TECHNOLOGY BEIJING, 2016
High-efficiency perovskite solar cells with improved stability and optical performance through a novel hybrid structure. The solar cells feature a conductive substrate, a semiconductor oxide electron transport layer, a mesoporous layer, an organic-inorganic hybrid perovskite layer, a hole transport layer, and a metal counter electrode. The insulating buffer layer is strategically positioned between the perovskite layer and the organic-inorganic hybrid layer, enhancing device stability and optical efficiency.
44. Three-Dimensional Perovskite Solar Cell with Transparent N-Type Electrode and Porous Hole Transport Layer
DAEGU GYEONGBUK INSTITUTE OF SCIENCE AND TECHNOLOGY, 재단법인대구경북과학기술원, 2015
A three-dimensional perovskite solar cell that achieves high efficiency through a novel architecture. The cell comprises a transparent n-type electrode on a light-absorbing perovskite layer, with a porous hole transport layer formed on the electrode. This architecture enables efficient electron transport through the three-dimensional structure, while maintaining uniform hole transport across the perovskite layer. The transparent n-type electrode on the light-absorbing layer enables efficient current collection, while the porous hole transport layer enhances electron mobility.
45. Mesoporous Perovskite Solar Cell with Framework Layer via Mesoporous Oxide Synthesis Process
NORTH CHINA ELECTRIC POWER UNIVERSITY, 2015
Mesoporous perovskite solar cell with enhanced charge collection efficiency through a novel framework layer. The cell comprises a transparent conductive substrate, a dense layer, a framework layer with perovskite structure, a perovskite layer, a hole transport layer, and a counter electrode. The framework layer is created through a mesoporous oxide synthesis process, providing improved interface contact with the perovskite layer. This architecture enables superior charge collection and reduced transmission losses compared to conventional perovskite solar cells.
46. Perovskite Planar Heterojunction Solar Cells with Metal-Doped Semiconductor Oxide Layers and Multilayer Electron Transmission Structure
SUZHOU RUISHENG NANO SCIENCE & TECHNOLOGY CO LTD, 2015
Low-temperature perovskite planar heterojunction solar cells with enhanced efficiency and stability through novel multilayer architectures. The cells feature a transparent substrate, a hole transport layer, a perovskite active layer with enhanced light absorption and carrier mobility, a buffer layer, and an electronic transmission multilayer structure. The multilayer design improves electron conductivity and extraction efficiency while maintaining high transmittance properties. The buffer layer prevents interface exciton recombination and enhances device stability. The perovskite active layer incorporates metal-doped semiconductor oxide layers for enhanced conductivity and charge extraction.
47. Photovoltaic Cells with Composite Interfacial Layers and Multilayered Perovskite Active Structures
HUNT ENERGY ENTPR LLC, 2015
Photovoltaic cells and other electronic devices that enhance solar energy conversion through novel material architectures. The invention introduces composite interfacial layers and perovskite active layers that combine superior properties from each component. The composite interfacial layers, comprising interfacial material, mesoporous material, and charge transport material, provide enhanced surface contact and electrical conductivity. The perovskite active layers, incorporating charge transport materials, liquid electrolytes, and photoactive materials, enable efficient charge separation and carrier transport. The composite interfacial layers and perovskite active layers are arranged in sub-layers to achieve high contact surface areas, while maintaining optimal device performance.
48. Perovskite Solar Cell Incorporating Mesoporous SnO2 Structure
WUHAN UNIVERSITY, Wuhan University, 2015
Perovskite solar cell with enhanced conversion efficiency through a novel porous structure. The cell incorporates a mesoporous SnO2 material with a perovskite light-absorbing layer, where the mesoporous structure enables efficient light absorption while maintaining stability. This architecture combines the high absorption coefficient of perovskites with the superior light-harvesting properties of mesoporous materials, leading to improved conversion efficiency compared to conventional perovskite cells.
49. Photovoltaic Cells with Perovskite Active Layer and Mesoporous NiO and ZnO Interfacial Layers
HUNT PEROVSKITE TECHNOLOGIES LLC, 2015
Photovoltaic cells with enhanced performance through the integration of perovskite materials with mesoporous NiO and ZnO interfacial layers. The cells feature a perovskite active layer sandwiched between transparent conductive layers, with NiO and ZnO interfacial layers providing enhanced charge transport properties. This configuration enables improved charge collection efficiency and reduced material costs compared to traditional perovskite-based solar cells.
Get Full Report
Access our comprehensive collection of 49 documents related to this technology
