Self-Diagnostic Fault Detection Systems for Solar Cells
Solar cell degradation and faults can reduce system efficiency by up to 30% before conventional monitoring methods detect an issue. Current detection systems typically rely on power output measurements, which may not reveal early-stage defects or localized issues that affect individual cells or strings within a module.
The fundamental challenge lies in developing detection methods that can identify cell-level failures without requiring complex external sensing equipment or disrupting normal operation.
This page brings together solutions from recent research—including thermoelectric-powered bypass diode monitoring, DC current ripple pattern analysis, frequency-modulated light matrix techniques, and machine learning-based performance analysis. These and other approaches focus on enabling early fault detection while maintaining cost-effectiveness and reliability in field deployments.
1. Solar Module Fault Detection System with Thermoelectric-Powered Bypass Diode Monitoring
FOUNDATION FOR RESEARCH AND BUSINESS SEOUL NATIONAL UNIVERSITY OF SCIENCE AND TECHNOLOGY, Seoul National University of Science and Technology Industry-Academic Cooperation Foundation, 2023
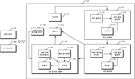
Self-powered solar module fault detection system that enables real-time monitoring of solar panel bypass diodes through a thermoelectric device. The system comprises a thermoelectric element in contact with the bypass diode, a power storage unit for storing generated thermoelectric power, a communication unit transmitting power information, and a determination unit that determines module fault status based on the communication unit's power output. The system operates by generating power from the thermoelectric element when normal operating conditions are met, and immediately detecting and reporting failure when the communication unit fails to transmit power within a predetermined time threshold. This enables rapid fault detection even in the absence of external power sources.
2. Solar Cell String Fault Detection System Utilizing Current Measurement and Comparative Analysis
QUALCOMM ATHEROS INC, 2023
Detecting solar cell string faults in solar power systems by analyzing current measurements. The system measures current from each solar string in a connection box, compares the measured current to the maximum current, and calculates the percentage of current reduction. This percentage is compared against the maximum current to identify strings with reduced output. The system can also detect faults by comparing current levels across multiple strings, enabling early detection of system-wide issues.
3. Solar Panel Failure Diagnosis via DC Current Ripple Pattern Analysis
TOKYO ELECTRIC POWER CO HOLDINGS INC, 2023
Failure diagnosis method, device, and system for solar panels that enables early detection of module failures through monitoring DC current ripple patterns. The method detects anomalies in DC current waveform characteristics, particularly an increase in ripple amplitude or frequency deviation, indicative of module failure. This approach bypasses traditional power monitoring methods by analyzing the DC current signal's inherent characteristics, eliminating the need for external power monitoring. The detection system continuously monitors DC current signals from the solar panel string, enabling early detection of module failures even when power output is not visibly affected.
4. Solar Cell Abnormality Detection System Using Time-Series Voltage Variation Analysis
PANASONIC IP MANAGEMENT CO LTD, 2023
Low-cost, high-accuracy system for detecting abnormalities in solar cells like decreased power generation and hot spots. The system periodically acquires the operating voltage of a solar cell string. If the time-series variation in voltage exceeds a threshold, it indicates an abnormality in the cell string. This allows detecting cell issues without additional environmental sensors.
5. Method for Detecting Partial Degradation in Solar Cells Using Parallel Resistance Model and AC Impedance Analysis
TOKYO GAS CO LTD, 2022
A method for detecting potential degradation in solar cells through early detection of partial degradation (PD) in the solar cell's internal resistance network. The method employs a parallel resistance model of the solar cell, which is generated from measurements of the cell's AC impedance. By analyzing the model's response to partial degradation, the method identifies changes in the parallel resistance that indicate degradation. This approach enables earlier detection of PD compared to traditional methods that rely on full degradation thresholds.
6. Photovoltaic Fault Detection System with Machine Learning-Based Performance Analysis
KOREA INSTITUTE OF ENERGY RESEARCH, 2022
Fault detection system for photovoltaic modules and strings that uses machine learning to analyze the performance of photovoltaic arrays. The system measures array performance from both the array and module perspectives, calculates a performance metric based on environmental conditions, and identifies faults by comparing measured performance against estimated performance. The system employs an AI algorithm to analyze the characteristic curves of both array and module levels, enabling accurate fault detection even when the array is composed of multiple modules.
7. Photovoltaic Cell Fault Detection via Frequency-Modulated Light Matrix Technique
JIAXING VOCATIONAL TECHNICAL COLLEGE, 2022
Photovoltaic cell fault detection using a modulated light matrix approach. The method involves generating modulated light signals at different frequencies to each photovoltaic cell, then superimposing these signals to form a total short-circuit current. By analyzing the amplitude of the generated photocurrents, the method can determine the presence and location of faults in individual cells, including cracking, contact resistance issues, and internal resistance variations. This approach enables precise fault location and characterization through the unique spectral signatures of each cell.
8. Photovoltaic Fault Detection via IV Curve Analysis and Signal Processing Techniques
COMMISSARIAT A LENERGIE ATOMIQUE ET AUX ENERGIES ALTERNATIVES, 2022
Detecting faults in photovoltaic systems using IV curves and advanced signal processing techniques. The method combines IV curve analysis with machine learning algorithms to identify and quantify faults in photovoltaic panels, strings, and fields. By leveraging IV curves and advanced signal processing, the method can accurately diagnose faults such as shading, dirt accumulation, short circuits, and bypass diode failures, enabling proactive maintenance and reducing system downtime.
9. Photovoltaic System with Module-Level Voltage Analysis and Integrated Environmental Diagnostics
DAEEUN CO LTD, 2022
Photovoltaic power generation system with enhanced diagnostic capabilities through data analysis of voltage and current measurements. The system identifies aging issues by comparing average module voltage across strings, rather than relying solely on string-level data. It employs statistical analysis to detect deviations from normal operation patterns, enabling accurate diagnosis of module and string failures. The system also incorporates environmental factors like solar radiation and temperature into its diagnostic framework, providing comprehensive analysis of system performance.
10. Device and Method for Diagnosing Current Mismatch Faults in Photovoltaic Modules via Voltage-Current Characteristic Analysis
Hefei University of Technology, HEFEI UNIVERSITY OF TECHNOLOGY, SUNGROW POWER SUPPLY CO LTD, 2022
Photovoltaic module fault diagnosis method and device for determining current mismatch faults in solar panels. The method involves measuring the voltage-current characteristic of the solar panel using a diagnostic tool, which analyzes the panel's behavior across different operating conditions. The diagnostic tool detects deviations in the panel's voltage-current curve indicative of current mismatches, such as those caused by shading or temperature variations.
11. Photovoltaic Array Fault Classification via Graph Signal Processing with Multi-Condition Analysis
ARIZONA BOARD OF REGENTS ON BEHALF OF ARIZONA STATE UNIVERSITY, 2021
Fault classification for photovoltaic arrays using graph signal processing. The method employs graph theory to develop a classification system that automatically identifies PV array faults beyond traditional diagnostic capabilities. It analyzes data from the PV array's power output, irradiance, and environmental conditions to classify faults into four distinct categories: standard test conditions, shading, degraded modules, and short circuits. The classification is achieved through a graph-based approach that leverages the properties of graphs to represent the PV array's behavior, enabling accurate fault detection and diagnosis.
12. Mesh Network-Based Distributed Monitoring and Control System for Solar Panels with DC Arc Fault Detection and Bypass Capability
CENTRINIX CORP, Centrinix Co., Ltd., 2021
Decentralized solar power generation monitoring and control system for solar panels using a mesh network. The system enables autonomous monitoring and control of individual solar panels through wireless mesh communication, enabling self-diagnosis and bypassing of faults. The system detects DC arc faults between panels and between panels and the panel itself, with automatic switching and bypassing of failed panels. The monitoring and control are achieved through a distributed architecture where each panel has its own monitoring and control unit, enabling continuous operation even during failures.
13. Photovoltaic Module with Integrated Chip-Level Monitoring and Fault Detection System
SHENYANG FURUN SOLAR ENERGY TECHNOLOGY DEVELOPMENT CO LTD, Shenyang Furun Solar Technology Development Co., Ltd., 2021
A photovoltaic module fault detection system for solar panels that enables real-time monitoring of module performance through integrated chip-level monitoring. The system comprises a photovoltaic cell module, an information transmission module integrated on the chip, a fault detection module, and an upper computer. The chip-based module contains monitoring circuits that continuously monitor the cell's electrical characteristics, while the information transmission module transmits data to the fault detection module for analysis. The fault detection module then identifies and reports any anomalies or potential issues through the upper computer, enabling proactive maintenance and early intervention.
14. Photovoltaic Panel Monitoring System with Fault Detection via Maximum Power Point Analysis and Variable Insolation Tracking
EL POWER CORP, L-Power Co., Ltd., Park Ki-joo, 2020
Fault diagnosis of solar power systems that prevents fires through enhanced monitoring of photovoltaic (PV) panel performance. The system analyzes PV array characteristics under normal and partial shading conditions to detect electrical faults. It tracks maximum power points and analyzes their behavior across varying insolation levels. The system sets specific detection criteria based on PV characteristic changes, enabling accurate fault detection even when partial shading occurs. This approach provides enhanced protection against electrical faults in solar power systems.
15. Solar Cell Module Diagnostic System with Integrated Electrical Measurement and Visual Inspection
KANEKA CORP, 2020
Accurately diagnosing abnormalities in solar cell modules using voltage and current measurements as well as visual inspection. The method involves connecting a detection circuit to one module to measure voltage and current, determining if there's an output abnormality based on those values. For visual inspection, applying voltage to all modules to emit light, taking images, and analyzing them to find appearance abnormalities. This allows both electrical and physical diagnosis of solar cell modules.
16. Photovoltaic System with Individual Solar Cell Voltage Sensors and Automated Bypass Units
HYUNTAI CO LTD, 2020
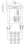
A solar cell voltage measurement system for individual fault diagnosis in photovoltaic systems. The system comprises a solar cell array with multiple solar cells connected in series or parallel, each with a bypass unit controlling electrical flow. A dedicated voltage sensor measures the array's output voltage. The system enables remote monitoring of individual solar cells through the sensor, with the bypass unit automatically switching between normal and bypass modes based on sensor output. A server manages the system, providing diagnostic capabilities through a network interface.
17. Solar Power System Fault Diagnosis Using Machine Learning with Dedicated Diagnostic Communication Unit and Anomaly Detection
JUNGWOO ELECTRONIC CO LTD, 2020
Fault diagnosis for solar power systems through advanced data analysis and machine learning algorithms. The system employs a dedicated diagnostic communication unit that receives monitored data from the solar panel, analyzes it using a data analysis unit, and employs a failure database to detect anomalies. The system incorporates preset parameters for detecting specific faults, such as aging, damage, or obstruction, and stores both the monitored data and the diagnostic results. This enables proactive maintenance by identifying potential issues before they cause system performance degradation.
18. Photovoltaic Module Fault Detection via Power Data Analysis Using Secondary Derivative of Power Output
BUKYUNG CO LTD, 2020
Determining the presence of aging photovoltaic module faults in a solar string system without installing individual voltage or current sensors. The method analyzes power data from the connected modules to detect abnormal power variations, specifically identifying deviations from the normal power-voltage characteristic curve. The analysis is based on a secondary derivative of the power output, which captures the aging-induced power waveform characteristics. By comparing the power output against predetermined thresholds, the system determines whether a module has reached an abnormal state.
19. Photovoltaic Module Fault Detection System with Integrated Measurement and Communication Modules
SHENYANG FURUN SOLAR ENERGY TECH DEVELOPMENT CO LTD, 2020
A photovoltaic module fault detection system for solar power generation that enables real-time monitoring of individual panel performance. The system comprises a photovoltaic cell module, an information transmission module, a fault detection module, and an upper computer. The information transmission module includes a measurement module, a code module, and a component communication module. The measurement module connects to the output terminal of the photovoltaic cell module, the encoding module connects to the input terminal of the component communication module, and the component communication module connects to the input terminal of the upper computer. This configuration enables precise monitoring of individual solar panels through their own measurement capabilities, while the upper computer processes and analyzes the data to identify potential faults.
20. Solar Photovoltaic Fault Detection System with Machine Learning-Driven Diagnostic Models and Real-Time Data Integration
WEI JUNG-TZUNG, 2020
Solar photovoltaic fault detection system and method that enables automatic, intelligent, and self-learning fault diagnosis through machine learning. The system combines numerical simulation modeling of the solar photovoltaic system with real-time data acquisition and measurement of environmental parameters. The simulation model is trained using a combination of initial data and actual system performance, and then corrected to improve accuracy. The system uses machine learning algorithms to establish multiple diagnostic models that can identify different types of faults based on the collected data. This enables rapid fault detection and diagnosis in solar photovoltaic systems, while also allowing for continuous model evolution and adaptation to changing system conditions.
21. Multi-Spectral Anomaly Detection System for Solar Cell Performance Analysis
TOKYO GAS CO LTD, 2020
A system for detecting and analyzing anomalies in solar cell performance through a multi-spectral monitoring approach. The system captures images of the solar panel array using visible light and thermal infrared sensors, then analyzes the data to identify potential issues. The system uses advanced algorithms to combine visible and infrared data, and employs machine learning to detect anomalies based on both spectral characteristics and temporal patterns. The system provides detailed information on the detected anomalies, including their location, nature, and potential impact on overall system performance.
22. Photovoltaic System Fault Diagnosis via Temperature and Voltage Monitoring with Failure Range Detection
Korea Institute of Energy Research, KOREA INSTITUTE OF ENERGY RESEARCH, 2020
Fault diagnosis for photovoltaic power generation systems that can detect failures in solar cell modules, inverters, and bypass diodes using temperature and voltage monitoring. The method involves: detecting temperature changes of solar cell modules in normal and faulty operation, setting a failure range, then checking working module temperatures against the range to diagnose failures. It also involves checking voltage when internal/surface temps are high to diagnose inverter faults, and comparing voltage with open-circuit voltage to diagnose module faults.
23. Photovoltaic System with Integrated Reverse Current Defect Detection and Analysis Mechanism
WP Corporation, WP CO LTD, 2019
A photovoltaic system with integrated defect detection that enables rapid diagnosis of microcracks and other defects in solar cell modules. The system employs a unique reverse current application method to analyze the module's electrical characteristics. When a module fails, the system measures its current-voltage characteristic to determine the root cause. This approach enables rapid detection of defects that are difficult to identify through visual inspection, significantly reducing the time and labor required for module replacement. The system integrates a camera for visual inspection, an IV curve analyzer, and an inflection point detector to provide detailed information on the module's condition.
24. Photovoltaic System Fault Diagnosis Using Metaheuristic Optimization for Simultaneous Open and Short Circuit Fault Detection and Localization
ABHIK HAZRA, 2019
A fault diagnosis approach for photovoltaic systems that simultaneously identifies open circuit and short circuit faults, along with their locations, through a metaheuristic optimization-based method. The approach leverages the maximum power point of the photovoltaic array as a key parameter to generate simulated power outputs that match both the measured and predicted power outputs. This enables the identification of faults through a single measurement, while the optimization algorithm predicts the fault pattern based on the measured power characteristics.
25. Solar Cell Module Diagnostic System with Light-Shielding Device for Monitoring Electrical Characteristics
FUJI ELECTRIC CO LTD, 2019
Solar cell module diagnostic system for detecting defects in photovoltaic power generation systems through early detection of partial failures. The system employs a light-shielding device that selectively blocks light from specific solar cell substrates, allowing monitoring of the underlying electrical characteristics. By analyzing the light current waveform patterns during the light-shielding operation, the system identifies deviations indicative of potential defects, such as contamination or structural damage. This approach enables early detection of partial failures before their cumulative impact causes system performance degradation, while maintaining the system's operational efficiency.
26. Solar Cell Inspection Device with Non-Volatile Diagnostic Data Retention and Self-Diagnostic Circuitry
HIOKI ELECTRIC WORKS, 2018
A solar cell inspection device that retains diagnostic information even after power is turned off. The device employs a self-diagnostic circuit that continuously monitors current flow in the solar cell string during power generation. When a failure is detected, the circuit stores the diagnosis result in a non-volatile memory. This allows the device to automatically switch to a diagnostic mode when power is turned off, enabling continued monitoring of the solar cell string even after the primary inspection is completed.
27. Solar Cell Module Failure Detection System with Environmental Data-Integrated Anomaly Analysis
LSIS CO LTD, 2018
A solar cell module failure detection system that optimizes maintenance through predictive analysis. The system monitors solar cell performance using environmental data, including temperature, humidity, and weather patterns. When a solar cell fails, it detects the power output anomaly and determines whether the failure is due to normal aging or environmental factors. This approach enables early detection of potential issues while considering the unique characteristics of each solar cell, such as aging and environmental factors. The system integrates environmental data into its failure detection algorithm, enabling more accurate prognostication of solar cell performance degradation.
28. Phase Detection Method for Identifying Solar Cell Faults via Voltage-Reference Phase Monitoring
UNIV TEIKYO, 2018
A novel method for identifying solar cell faults in solar panels using a phase detection system. The method employs a phase detection section that monitors the phase relationship between the solar panel's output voltage and a reference signal. When the phase deviation exceeds predetermined thresholds, it indicates an abnormal condition. This phase detection system can be integrated into the solar panel's power management system, enabling accurate fault detection even when current measurements are not available.
29. Solar Cell Monitoring System with Automatic Output Current Deviation Detection and Alert Mechanism
VISIONCOSMO Co., Ltd., Vision Cosmo Co., Ltd., 2018
Solar cell monitoring system that automatically detects and alerts on solar cell failures through continuous monitoring of their output current values. The system compares each solar cell's output to a reference range, and if a cell falls outside this range, it triggers a failure alert. This approach enables early detection of solar cell failures, enabling prompt maintenance and replacement while maintaining system performance.
30. Monolithic Photovoltaic Module with Integrated Fault Detection and Measurement Capabilities
CECEP (SHIZUISHAN) PHOTOVOLTAIC AGRICULTURE TECHNOLOGY CO., LTD., 中节能(石嘴山)光伏农业科技有限公司, 2018
Monolithic photovoltaic module fault self-checking solar module that eliminates the need for serial component disconnection. The module incorporates integrated fault detection and measurement capabilities through its monolithic structure, enabling comprehensive testing of entire module components without the need for sequential component removal. This approach achieves faster testing efficiency compared to traditional sequential testing methods, reduces measurement complexity, and eliminates the risk of wiring errors during recovery.
31. Photovoltaic Inspection System with Dual-Measurement for Simultaneous Reference and Failure String Current Analysis
HITACHI SYSTEMS CO LTD, 2018
Photovoltaic power generation inspection system for detecting solar cell module failures in solar power systems. The system employs a dual-measurement approach where output currents from both a reference string and failure string are measured simultaneously. The reference string is positioned closer to the solar panels than the failure string to minimize environmental variations. The system uses the reference string's output currents as a reference point to estimate failure clusters in the failure string, enabling accurate fault detection and diagnosis.
32. Solar Panel Fault Detection System Utilizing Voltage Monitoring and Comparative Analysis
TAIYO YUDEN CO LTD, 2017
A failure diagnosis system for solar panels that enables precise detection of module faults through voltage monitoring. The system monitors the generated voltage of a specific solar cell in a string and compares the voltage changes when the cell is shielded versus when it is active. When the voltage changes are significantly different, indicating a fault, the system determines the faulty module. This approach eliminates the need for extensive labor-intensive module inspection, particularly for large-scale solar farms where multiple modules must be inspected individually.
33. Photovoltaic System Self-Diagnosis Device with Selective Module Sensor Analysis
DAEEUN CO LTD, Daeun, 2017
Self-diagnosis device for photovoltaic systems that reduces data collection for module-level diagnostics. The device selectively analyzes sensor outputs from specific modules within a string, comparing their deviations from reference or average values to determine if the entire string is abnormal. This approach eliminates the need to measure individual module voltages, thereby minimizing data usage while maintaining diagnostic accuracy.
34. Method for Defect Detection in Solar Cells via Electrical Characteristic Correlation Analysis
INVENTEC SCIENCE AND TECHNOLOGY CO LTD, 2017
Detection method for solar cells with defects through analysis of electrical characteristics. The method involves calculating the electrical characteristics of defective and non-defective solar cells, then determining the correlation between electrical signals and defect occurrence. This enables the detection of defects without requiring additional equipment beyond standard inspection tools. The method specifically targets the areas where defects commonly occur in solar cells, such as the middle area for monocrystalline silicon cells and the edge area for polycrystalline silicon cells.
35. Modular Diagnostic System for Solar Cells with Automated Current Characteristic Monitoring and Pattern Recognition
FUJI ELECTRIC CO LTD, 2016
Diagnostic system for solar cells in photovoltaic power generation systems that enables early detection of module defects through automated monitoring of current characteristics. The system employs a modular architecture where current measurements are taken across the entire solar cell array, with specific current measurements taken at predefined intervals. This current data is then used to determine module health through pattern recognition algorithms that identify deviations from normal current behavior indicative of defects.
36. Photovoltaic Module Fault Diagnosis Using Multi-Period Solar Radiation and Temperature Analysis
HITACHI LTD, 2016
Diagnosing photovoltaic module faults in large-scale solar power systems through a novel diagnostic approach that leverages solar radiation data and temperature measurements. The method employs a multi-period analysis of solar radiation and temperature data to identify faults by comparing the number of defective modules during periods of high versus low solar radiation. This approach enables accurate fault detection without the need for additional measuring devices or communication links, while distinguishing between total module degradation and intermittent faults.
37. Solar Module Diagnostic System with Selective Module Performance Data Analysis
DAEEUN CO LTD, Dae-eun, 2016
Solar module diagnostic system that improves accuracy and speed by selectively analyzing module performance data. The system determines whether a solar string is abnormal by analyzing only the data from specific modules, then determines if there's an anomaly in those modules. This approach reduces the total number of data points required for diagnosis compared to conventional methods that compare all module output values. The system also enables more precise module identification by analyzing the specific performance metrics of each module in the string.
38. Solar Panel Failure Detection System Utilizing Continuous Power Output Monitoring
TOSHIBA CORP, 2016
Early failure detection system for solar panels that eliminates the need for traditional thermal monitoring methods. The system detects solar panel failures by continuously monitoring the generated power output from the panel, rather than relying on temperature-based indicators. This approach eliminates the risk of thermal damage from exposure to wind and rain, while maintaining reliability for monitoring panel performance.
39. Photovoltaic Diagnostic Device with Modular Selective Sensing and Array-Level Analysis
Song Ki-taek, SONGKI TAEK, 2016
Photovoltaic power generation diagnostic device using selective sensing of solar modules that improves diagnostic accuracy and reduces data requirements. The device employs a modular approach where sensors are strategically placed at specific points along the solar array to monitor module performance. The diagnostic server analyzes the sensor data to determine whether the entire array is abnormal, then selectively examines the module-level data to pinpoint the faulty component. This modular approach enables rapid diagnosis of array-level issues while maintaining diagnostic accuracy through selective sampling.
40. Photovoltaic Diagnostic System with Selective Sensor Control for Module Voltage Displacement Analysis
DAEEUN CO LTD, Dae-eun, 2016
Photovoltaic power generation diagnostic system using selective control of a sensor to accurately diagnose module-level issues. The system compares the relative displacement of measured voltage values across connected modules to determine if any module is out of balance. This approach enables rapid diagnosis of module-level faults without requiring comprehensive module-level monitoring, while maintaining accuracy through precise control of the measurement process.
41. String-Based Solar Module Fault Diagnosis System with Integrated Voltage Sensing and Current Measurement
DAEEUN CO LTD, 2016
System and method for efficient solar module fault diagnosis through a novel string-based approach. The system uses a series-connected array of solar modules with dedicated output voltage sensing and current measurement capabilities. When a module's output voltage exceeds the system's effective voltage, it triggers a diagnostic process that identifies the specific module(s) contributing to the voltage anomaly. This approach enables rapid and accurate diagnosis of solar module faults by focusing on the most critical voltage-related issues rather than individual module measurements. The system's string-based architecture ensures that diagnostic tests are conducted across the entire array, rather than isolating individual modules, thereby eliminating the need for extensive module-level testing.
42. Ground Fault Detection Circuit with Automatic Self-Diagnosis and Real-Time Monitoring for Solar Cells
MITSUBISHI ELECTRIC CORP, 2016
A ground fault detection circuit for solar cells that enables real-time diagnosis of circuit failure through automatic self-diagnosis. The circuit monitors the solar cell's ground fault current during operation and provides diagnostic feedback through its output voltage. If the fault detection circuit fails, the device automatically detects and displays whether the circuit is faulty or if the solar cell's ground fault is the cause. This enables rapid diagnosis and repair of circuit issues without requiring manual intervention.
43. Solar Power System Fault Detection with Integrated Real-Time Voltage and Current Monitoring
广东易事特电源股份有限公司, GUANGDONG EAST POWER CO., LTD., 2016
Fault detection apparatus and method for solar power generation systems that enables accurate and proactive monitoring of solar panel faults through real-time monitoring of voltage and current parameters. The system detects open circuit voltage and short circuit current across solar panel strings, enabling precise identification of faults and their location. This enables the system to automatically switch off faulty strings, eliminating the need for traditional fuse replacement. The detection and analysis capabilities are integrated into the control system, providing real-time monitoring and proactive fault management capabilities for solar power generation systems.
44. Correlation-Based Anomaly Detection Method for Solar Cells with Dynamic Threshold Adjustment
KYOCERA CORP, 2016
Detecting small solar cell anomalies in large-scale photovoltaic systems through a novel correlation-based method. The method calculates the correlation coefficient between solar irradiance and system output power, then identifies anomalies when this correlation drops below a predetermined threshold. The threshold is dynamically adjusted based on the system's current irradiance levels, ensuring accurate detection of both normal and abnormal conditions. This approach enables comprehensive monitoring of solar cell performance while maintaining operational stability.
45. Impedance Analysis Method for Solar Cell Module State Diagnosis Using Frequency-Variable Measurements and Temperature Data Integration
MITSUBISHI ELECTRIC CORP, 2016
Diagnosing the state of a solar cell module through impedance analysis. The diagnostic method employs a frequency-variable impedance measuring device connected to the solar cell module with a conductive frame. By measuring the frequency characteristics of the module's impedance, the method determines the equivalent circuit constant of the solar cell module. This constant is then used to determine the module's state based on the measured characteristics. The method incorporates temperature data to provide accurate diagnostics, enabling early detection of module deterioration through impedance analysis rather than power generation monitoring.
46. Solar Panel Anomaly Detection System with Signal-Level Monitoring and Multi-Position Measurement
PANASONIC IP MANAGEMENT CO LTD, 2015
Anomaly detection system for solar panels that improves accuracy through signal-level monitoring. The system employs a signal transmitter and receiver that transmit and receive signals along the solar panel string. The receiver measures signal levels at multiple positions along the string, enabling detection of anomalies at any point. The system's signal-level monitoring enables precise location of faults compared to traditional fixed-position monitoring methods.
47. Photovoltaic Fault Diagnosis System Integrating Infrared Imaging and Real-Time Parameter Analysis
SHANGHAI YANXIN ELECTRONIC TECHNOLOGY CO LTD, 2015
Real-time online diagnosis of photovoltaic component faults through a comprehensive approach that combines infrared imaging, sensor measurements, and advanced diagnostic techniques. The method enables accurate fault diagnosis of photovoltaic components through real-time monitoring of four critical parameters: current, short-circuit current, open-circuit voltage, and light intensity. By analyzing these parameters in real-time, the system can identify fault categories through advanced diagnostic algorithms that account for component aging and short-circuit conditions. The diagnostic results are transmitted to the monitoring system for immediate response.
48. Photovoltaic System with Condition-Based Diagnostic and Maximum Power Point Tracking
HITACHI APPLIANCES INC, 2015
A photovoltaic power generation system that monitors and diagnoses solar cell module health during operation. The system employs a condition-based diagnostic approach that automatically detects abnormal conditions in the solar cell module when it reaches predetermined threshold levels. This enables proactive maintenance by initiating diagnostic testing during periods of high irradiance, where the module's performance is typically optimal. The system incorporates a maximum power point tracking control mechanism to maintain optimal operating conditions.
49. Photovoltaic Module Abnormality Detection System Utilizing Power Generation Ratio Analysis
MITSUBISHI ELEC BUILDING TECHN, 2015
An abnormality detection system for solar cells in photovoltaic power generation systems that accurately identifies faulty modules through precise power generation ratio analysis. The system calculates the average power generation ratio from rated values and identifies the minimum power generation ratio among modules. It then determines modules based on the difference between the minimum ratio and the average ratio, ensuring accurate detection of faulty modules.
50. Junction Box-Integrated Solar Cell Diagnostic Device with Real-Time Monitoring and Fault Detection Capabilities
SDN Co., Ltd., SDN CO LTD, 2015
Solar cell diagnostic device for monitoring and fault diagnosis of solar cell strings. The device integrates into a junction box for solar cells, enabling real-time monitoring of string operation, including voltage and current measurements. The system employs advanced noise suppression and temperature monitoring capabilities to detect faults and optimize system performance. The device supports communication with external control systems and enables precise fault location through its internal monitoring capabilities.
Get Full Report
Access our comprehensive collection of 50 documents related to this technology
