Quantum Well Multi-Junction Flexible Solar Cells
Multi-junction quantum well solar cells face fundamental challenges in balancing current matching, strain management, and power conversion efficiency. Current laboratory devices achieve conversion efficiencies of 47.1% under concentrated sunlight, but maintaining these performance levels in flexible architectures requires precise control of quantum well structures where layer thicknesses range from 0.3 nm to 20 nm and barrier potentials reach 6245 kV/cm.
The engineering challenge centers on optimizing the intricate interplay between quantum well architecture, tunnel junction connectivity, and mechanical flexibility while preserving high minority carrier lifetimes and minimizing lattice defects.
This page brings together solutions from recent research—including stress-balanced multi-quantum well designs, radiative coupling mechanisms for current balancing, novel barrier layer configurations, and reverse-grown epitaxial structures. These and other approaches focus on practical implementations that maintain high beginning-of-life efficiency while enabling flexible form factors.
1. Multijunction Solar Cells with Quantum Well-Enhanced Radiative Coupling for Current Balancing
UNITED STATES OF AMERICA AS REPRESENTED BY THE SECRETARY OF THE AIR FORCE, 2024
Radiative coupling between sub-solar cells in multijunction solar cells enables current balancing through spontaneous recombination of electron-hole pairs. The technique utilizes quantum wells within the intrinsic region of the first sub-solar cell to create a radiative coupling pathway between the first and second sub-solar cells. By capturing carriers in the intrinsic region of the first sub-solar cell and sweeping them across the intrinsic region of the second sub-solar cell, excess current from the first sub-solar cell is transferred to the second sub-solar cell through radiative recombination, effectively balancing the current in the second sub-solar cell. This approach enables the creation of current-limiting sub-solar cells while maintaining high beginning-of-life efficiency.
2. Multi-Junction Solar Cells with Stress-Balanced Multi-Quantum Well Architecture and Tunnel Junction Connectivity
YANGZHOU CHANGELIGHT CO LTD, 2024
Multi-junction solar cells with improved efficiency through optimized bandgap engineering and structural design. The cells employ a novel multi-quantum well architecture where the middle and top sub-cells are connected through tunnel junctions, enabling enhanced spectral response and improved matching current between sub-cells. The design incorporates a stress-balanced multi-quantum well structure with undoped layers, where the quantum well is positioned in the intrinsic region. This configuration minimizes lattice defects while maintaining high minority carrier lifetimes. The cells achieve improved conversion efficiency through optimized sub-cell configurations and structural design.
3. Multi-Junction Solar Cells with Barrier Layers for Controlled Tensile Stress and Interface Flatness
YANGZHOU CHANGELIGHT CO LTD, 2024
Multi-junction solar cells with improved current matching through novel barrier layer designs. The invention introduces barrier layers with specific thickness ranges (1nm to 20nm) between the InGaAs well layer and the InGaAsP barrier layer, enabling optimal tensile stress balance while minimizing dislocations. This approach enables improved current matching between the top and middle cells, enhancing overall conversion efficiency. The barrier layer design enables controlled interface flatness and atomic interdiffusion, while maintaining sufficient tensile stress for carrier transport.
4. Solar Cell with Strained Quantum Well Structure and Reverse-Grown Epitaxial Wafer
CETC BLUE SKY TECH CO LTD, 2023
A solar cell with a strained quantum well structure that enhances load capacity through mid-bandgap broadening. The cell features a reverse-grown epitaxial wafer with a GaAs-based quantum well, comprising a GaAs base layer, a strained quantum well, and a series of tunnel junctions. The quantum well is engineered to have a barrier potential of 6245 kV/cm, with an intrinsic quantum well width of 0.3 nm, and a barrier height of 0.7 eV. The cell also includes a gradient buffer layer and an InGaAs sub-battery. The strained quantum well structure enables mid-bandgap broadening, while the tunnel junctions facilitate carrier collection and transport. The reverse growth process allows for the creation of the strained quantum well structure without requiring conventional growth conditions.
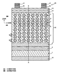
5. Quantum Well Multi-Junction Stacked Flexible Solar Cells with InGaAs/GaAsP Quantum Well Structure
SUZHOU INSTITUTE OF NANO-TECH AND NANO-BIONICS CAS, 2023
Quantum well multi-junction stacked flexible solar cells with improved photoelectric conversion efficiency. The solar cells feature a flexible substrate, an InGaAs bottom cell, a Bragg reflector, a quantum well intermediate cell, and a GaInP top cell, with the quantum well structure comprising an undoped InGaAs/GaAsP quantum well. The solar cells achieve higher conversion efficiency through optimized barrier layer thicknesses and structural design.
6. Lattice Mismatched Multi-Junction Solar Cell with Quantum Well Structures and GaAs-Based Layer Stack
TIANJIN LANTIAN SOLAR TECH CO LTD, 2023
High-efficiency lattice mismatched four-junction quantum well solar cell that improves conversion efficiency beyond the theoretical limits of conventional lattice-matched triple junction cells. The cell has multiple tunnel junctions and quantum well structures. The bottom junction is GaAs. Above that is a lattice mismatched AlGaAs junction. Then comes a GaAs quantum well layer followed by a graded buffer layer. Finally, the top junction is GaAs again. This multi-layer stack allows better bandgap matching and solar spectrum absorption compared to a simple triple junction.
7. Solar Cell with Quantum Well Structure and Multilayer Semiconductor Film
CHEONGJU UNIV INDUSTRY & ACADEMY COOPERATION FOUNDATION, 2023
Solar cell with a quantum well structure directly connected to a semiconductor pn junction structure. The cell features a quantum well insulating film and a semiconductor film with three or more alternating layers, where the quantum well insulating film is formed in a thickness range of 0.5 nm to 5 nm and the semiconductor film is formed in a width range of more than 5 nm and less than 5 nm. The cell incorporates an antireflection layer on top of the quantum well structure to prevent reflection of sunlight, and a metal layer that enables current flow through the quantum well structure. The cell achieves maximum power by optimizing the quantum well width and thickness to match the solar cell's energy gap.
8. Solar Cell with Quantum Well Structures Integrated at pn Junction
CHEONGJU UNIVERSITY INDUSTRY & ACADEMY COOPERATION FOUNDATION, 청주대학교 산학협력단, 2023
Solar cell with improved efficiency by adding quantum well structures directly connected to the pn junction of the cell. The quantum wells are sandwiched between the pn junction layers and the top and bottom electrodes. They have ultrathin insulating layers and narrow semiconductor layers alternating to form quantum wells. This allows tunneling of electrons between the wells and junction layers. It increases the bandgap and generates more electron-hole pairs from light absorption. The quantum wells can be formed on existing solar cell structures to enhance efficiency without major infrastructure changes.
9. Multi-Junction Solar Cell with AlInGaAs/GaAsP Multi-Quantum Well Structure and Optimized Layer Composition
YANGZHOU CHANGELIGHT CO LTD, 2022
Multi-junction solar cell with a multi-quantum well structure that improves efficiency compared to conventional lattice-matched multi-junction cells. The solar cell has a sequence of sub-cells on one side of the substrate. The middle sub-cell has a multi-quantum well structure with alternating AlInGaAs and GaAsP layers. The thickness and composition of the AlInGaAs layers are different to reduce atomic diffusion and improve band alignment. This mitigates issues of lattice mismatch and interfacial diffusion in the quantum well structure.
10. Multi-Junction Photovoltaic Device with Alternating Bandgap Quantum Well Layers and Tunnel Junction
Shanghai Gallium Core Technology Co., Ltd., 2022
Dual-spectrum thin film multi-junction photovoltaic device that enables self-adaptation to various incident light spectra. The device comprises a metal electrode, multiple quantum well layers with specific bandgap energies, and a tunnel junction. The quantum well layers are arranged in a sequence with alternating bandgap energies, and the tunnel junction connects the first and second quantum well layers. The device achieves high efficiency through its unique bandgap alignment and tunneling structure, allowing it to convert light across the visible spectrum.
11. GaAs Substrate Solar Cell with Nanopillar Structure and Intermediate Energy Band Formation
Nanjing Tech University, NANJING TECH UNIVERSITY, 2022
Intermediate zone solar cells that achieve higher conversion efficiency through a novel design approach. The solar cell incorporates a GaAs semiconductor substrate with a specially engineered nanopillar structure that creates an intermediate energy band. This band enables the absorption of both high-energy photons and low-energy photons, significantly increasing the solar spectrum utilization. The nanopillar design, which includes a specific arrangement of quantum dots, further enhances the solar spectrum absorption while minimizing carrier recombination. This results in a solar cell with an open-circuit voltage of over 60% and a conversion efficiency that surpasses traditional solar cells.
12. Optoelectronic Semiconductor Chip with Quantum Wells Near AlGaN Cover Layers and Specific Bandgap Properties
OSRAM OPTO SEMICONDUCTORS GMBH, 2021
Optoelectronic semiconductor chip with enhanced efficiency at low current densities through optimized quantum well design. The chip features a structure where radiation-active quantum wells are positioned close to AlGaN cover layers, with a minimum separation of 0.5 nm. This proximity enables efficient charge carrier recombination in the wells, leading to increased radiation emission. The design incorporates GaN-based quantum wells with specific bandgap properties, and features multiple AlGaN layers with optimized thicknesses. The combination of these elements enables high quantum yields at low current densities while maintaining forward voltage levels.
13. Incorporation of Strained Quantum Wells Between Base and Active Regions in Multi-Junction Solar Cells
Zhongshan Dehua Chip Technology Co., Ltd., ZHONGSHAN DEHUA CHIP TECHNOLOGY CO LTD, 2021
A method to enhance minority carrier collection in multi-junction solar cells by incorporating strained quantum wells between the base and active regions. The method introduces a strained quantum well between the base and active regions, which acts as a dislocation barrier and electron-hole recombination center. This quantum well structure is designed to match the optical band gap of the base material while maintaining lattice strain levels below 5%. The strained quantum well effectively compensates for lattice mismatch stresses and prevents dislocation propagation, thereby improving minority carrier collection efficiency and reducing recombination centers.
14. Multi-Junction Solar Cell with GaInP/GaInAs/Ge Structure and Optimized Lattice Matching
SANGNI DAOTE ELECTRONIC TECHNOLOGY CO LTD, Sunny Optical Technology Co., Ltd., Nanjing Austem Electronic Information Industry Research Institute Co., Ltd., 2021
Solar cell with enhanced efficiency through micro-nano architecture. The cell employs a novel multi-junction structure comprising GaInP/GaInAs/Ge photovoltaic cells with optimized lattice matching. This architecture addresses the traditional mismatched photocurrents in multi-junction solar cells by utilizing Ga0.99In0.01As as the middle layer, which has a narrower bandgap compared to Ga0.521n0.48P. The cell design enables improved efficiency through reduced internal quantum efficiency losses and enhanced overall conversion efficiency.
15. Quantum Well Solar Cells with Gradient Bandgap and Indium Content for Enhanced Light Absorption
GALLIUM ENTERPRISES PTY LTD, Gallium Enterprises Pty Ltd, 2020
Solar cells with improved light absorption and reduced stress through the use of quantum well structures with variable bandgaps. The cells incorporate multiple quantum well layers with different bandgap values, where the bandgap decreases as sunlight travels away from the surface. This design enables enhanced absorption across the solar spectrum while maintaining structural integrity. The quantum well layers are formed with varying indium content, with the highest content at the surface and decreasing as the layer moves further away from the incident solar radiation. The structure is grown on a substrate, with the quantum well layers sandwiched between barrier layers.
16. Stacked Optoelectronic Semiconductor Device with Quantum Well Structures and Tunnel Contacts
OSRAM OPTO SEMICONDUCTORS GMBH, 2020
Optoelectronic semiconductor device comprising stacked quantum well structures with distinct energy levels. The device comprises a first optoelectronic semiconductor component and a second optoelectronic semiconductor component stacked one above the other and electrically connected to one another via tunnel contacts. The first and second optoelectronic semiconductor components are made from semiconductor materials such as GaAs or GaP, with the first component having a multiple quantum well structure containing multiple identical unit cells arranged one above the other.
17. Multiple Quantum Well Structure with Alternating Quantum Barriers and Terminal Quantum Well Layer
UNIVERSITY OF SCIENCE AND TECHNOLOGY OF CHINA, 2020
A multiple quantum well structure for optoelectronic devices that improves quantum efficiency and reduces carrier recombination in the active region. The structure features an alternating pattern of quantum barrier layers and quantum wells, with the last quantum well layer positioned along the growth direction. This configuration enables efficient carrier confinement in the quantum wells while maintaining the barrier height across the active region, thereby enhancing light emission and reducing carrier recombination.
18. Solar Cell with Composition-Controlled Well-Barrier Interface in Multiple Quantum Well Structures
Yangzhou Qianzhao Optoelectronics Co., Ltd., YANGZHOU CHANGELIGHT CO LTD, 2019
Solar cell with improved interface quality between well and barrier layers in multiple quantum well structures. The cell achieves enhanced interface quality through a novel approach that addresses the interface diffusion issues typically encountered in GaInP/InGaAs/Ge lattice-matched solar cells. The solution involves a specific well-barrier layer composition that balances the diffusion rates of In and As atoms at the interface, enabling stable and efficient carrier transport across the multiple quantum well structure. This approach enables improved photovoltaic performance characteristics, including enhanced open-circuit voltage, fill factor, and overall efficiency.
19. Multi-Junction Solar Cell with Quantum Well Tunnel Junction and Epitaxially Grown Structure
YANGZHOU CHANGELIGHT CO LTD, 2019
Multi-junction solar cell with a quantum well structure tunnel junction that enables efficient conversion of solar energy. The cell incorporates a quantum well tunnel junction with a bandgap of 1.7 eV, which significantly enhances the tunneling current compared to conventional materials. The manufacturing process involves creating the quantum well structure through epitaxial growth of the tunnel junction, followed by the fabrication of the multi-junction solar cell architecture.
20. Tunnel Junctions with AlGaAs/GaAs Quantum Wells for III-V Multijunction Solar Cells
ALLIANCE SUSTAINABLE ENERGY, 2018
High-performance tunnel junctions for III-V compound semiconductor-based multijunction solar cells that achieve peak current densities exceeding 15 A/cm² under concentrated sunlight conditions. The tunnel junctions feature a p-type AlGaAs first layer with a concentration of at least 40%, followed by an n-type GaAs quantum well, and a n-type AlGaAs third layer. The design incorporates advanced semiconductor materials like InGaAsSb and InGaAsNSb, optimized quantum well thicknesses, and Se-doped layers to enhance optical transparency while maintaining high peak current densities.
21. Solar Cell with Multilayer Type II Quantum Well and Type I Quantum Dot Active Region Structure
Nanjing Tech University, NANJING TECH UNIVERSITY, 2017
Solar cell with improved photoelectric conversion efficiency through the use of a multilayer quantum well/1 type quantum dot structure in the active region. The cell features a lower electrode, a lower contact layer, a back field layer, an active region layer, a window layer, and an upper contact layer arranged from bottom to top. The active region layer comprises a multilayer type II quantum well/1 type quantum dot laminated structure, where the type I quantum dot layer is positioned on top of the type II quantum well layer. This configuration enables the efficient separation of electron and hole wave functions, which is critical for achieving high conversion efficiency in solar cells.
22. Optoelectronic Semiconductor Chip with Quantum Well Structure Featuring Variable Band Gap Layers
OSRAM OPTO SEMICONDUCTORS GMBH, 2017
Optoelectronic semiconductor chip with improved efficiency and aging characteristics through a novel quantum well structure. The chip features a p-type semiconductor region, an n-type semiconductor region, and an active region comprising multiple quantum well layers with different band gaps. The active region is specifically designed with a second quantum well layer having a band gap greater than the first, which enables enhanced radiative recombination and improved brightness. The second quantum well layer achieves its enhanced radiative recombination through a lower indium concentration compared to the first quantum well layers. The design ensures efficient carrier transport while minimizing Auger recombination and dopant diffusion, resulting in improved chip performance and reduced aging.
23. Stacked Multi-Junction Solar Cell with Metamorphic Buffer and GaInP/GaAs/GaInAsP Layers
AZUR SPACE SOLAR POWER GMBH, 2017
Stack-like multi-junction solar cell with enhanced radiation hardness and efficiency. The cell comprises multiple layers of semiconductor materials, including a GaInP-based emitter layer, a GaAs-based base layer, and a GaInAsP-based space charge zone layer. The layers are designed to optimize radiation resistance while maintaining high efficiency. The cell features a unique metamorphic buffer structure that increases the lattice constant of the GaInAsP layer while maintaining its phosphorus content and indium concentration. This buffer layer is formed between the GaInAsP space charge zone and the GaInP emitter layer. The cell achieves improved radiation hardness through the buffer's enhanced lattice constant and phosphorus content, while maintaining high efficiency through the optimized GaInP emitter layer.
24. Strained Quantum Well Thermal Photovoltaic Cell with InxGai-xSb/GaSb Multiple Quantum Well Structure Formed by Low-Pressure Metal-Organic Chemical Vapor Epitaxy
Jilin University, JILIN UNIVERSITY, 2017
A strained quantum well thermal photovoltaic cell comprising a GaSb-based InxGai-xSb/GaSb multiple quantum well structure, where the InxGai-xSb/GaSb multiple quantum well is formed using low-pressure metal-organic chemical vapor epitaxy (LP-MOCVD) technology on an n-type GaSb substrate. The multiple quantum well structure incorporates an intrinsic InxGai-xSb/GaSb intermediate band region, enabling enhanced spectral utilization through the formation of a bound state in the well material. This intermediate band enables efficient carrier transition from the well region to the conduction band, while the strained quantum well architecture improves thermal stability and reduces lattice mismatch effects. The cell achieves high conversion efficiency through the optimized combination of multiple quantum well structures and intrinsic InxGai-xSb/GaSb intermediate band.
25. Microlattice Mismatched Quantum Well Solar Cell with Controlled Indium Doping in GaInP/GaAs/GaInAs Layers
ZHONGSHAN DEHUA CHIP TECHNOLOGY CO LTD, 2016
Microlattice mismatched quantum well solar cell with improved efficiency through controlled In doping. The cell incorporates a GaInP top cell with a GaAs/GaInAs active layer, where the In content is precisely controlled to minimize lattice mismatch and dislocation generation. The In doping rate is optimized to balance the benefits of increased current density with reduced lattice strain, enabling efficient conversion of solar energy while maintaining device stability.
26. Solar Cells with Resonant Thermo-Tunneling in Engineered Quantum Wells
UNIV HOUSTON SYSTEM, 2016
Designing solar cells with enhanced carrier collection efficiency through the implementation of a resonant thermo-tunneling mechanism. This approach enables the sequential thermionic promotion and resonant tunneling of carriers through multiple quantum wells, where the confinement energies and barrier thicknesses are carefully engineered to facilitate this process. By leveraging resonant tunneling, carriers can be efficiently collected from the base and emitter regions, bypassing traditional radiative recombination limitations. This design enables solar cells to achieve efficiencies beyond the Shockley-Queisser limit, particularly in systems with shallow wells and strong band discontinuities.
27. Solar Cell with Multilayer Tunneling Quantum Well Structure for Enhanced Light Absorption
Cheongju University Industry-Academic Cooperation Foundation, CHEONGJU UNIVERSITY INDUSTRY & ACADEMY COOPERATION FOUNDATION, 2016
Solar cell with enhanced light absorption and reduced losses through a novel multilayer quantum well structure. The cell employs a tunneling quantum well between the electrodes, where semiconductor and insulator layers are alternately deposited to achieve optimal band alignment. This design enables efficient light absorption while minimizing surface reflection losses, quantum losses, and electron-hole recombination losses. The structure can be fabricated using atomic layer deposition, chemical vapor deposition, or sputtering, and the process can be optimized for various solar cell configurations. The quantum well architecture allows for flexible electrode selection and operation, enabling the creation of solar cells with high efficiency and low production costs.
28. Flexible Solar Cell with Adjustable Band Gap Quantum Well Structure and Precision Bandgap Control Method
Shenyang Institute of Engineering, SHENYANG INSTITUTE OF ENGINEERING, 2016
Flexible solar cell with adjustable band gap quantum well structure and preparation method for enhanced performance in flexible photovoltaic devices. The solar cell incorporates a quantum well with tunable bandgap that can be engineered to optimize the solar cell's performance characteristics, including efficiency and stability. The preparation method involves creating the quantum well through a novel process that enables precise control over the quantum well's bandgap width, enabling the creation of solar cells with tailored optical and electrical properties.
29. Photovoltaic Cell with Multijunction Structure and Quantum Dot-Enhanced Charge Carrier Tunneling
INTRIENERGY INC, 2016
Photovoltaic cell with improved efficiency through enhanced absorption sequence and matching current conditions in a multijunction structure. The cell comprises a first p-n junction layer with a higher bandgap than the second layer, followed by a tunnel junction layer, and then electrical conductors. The first layer contains quantum dots that facilitate tunneling of charge carriers to the second layer. The cell achieves higher power output by optimizing the energy sequence and current matching between the two junctions, enabling more efficient energy conversion from incident photons of different energies.
30. Solar Cell with Doped Quantum Well Structure in Middle Cell for Enhanced Carrier Transport
SHANGHAI INST SPACE POWER SOURCES, 2016
A solar cell with enhanced short-circuit current through the use of a quantum well structure in the middle cell. The cell employs a p-type quantum well in the middle cell, with the well and surrounding spacer layer intentionally doped to optimize carrier transport. This doping enables suppressed non-radiative recombination in the quantum well, leading to improved short-circuit current and conversion efficiency compared to conventional three-junction solar cells. The doping level and spacer thickness can be precisely controlled to achieve optimal performance.
31. Superlattice Semiconductor Solar Cell with Intermediate Energy Band Formation
SHARP KABUSHIKI KAISHA, 2015
A solar cell with enhanced photoelectric conversion efficiency through the creation of an intermediate energy band in a superlattice semiconductor structure. The structure comprises a barrier layer and quantum layer stacked alternately in the semiconductor, with the barrier layer having a wider band width than the quantum layer. This arrangement enables the formation of an intermediate energy band between the barrier and quantum layers, which facilitates the transfer of electrons between the valence and conduction bands. The intermediate energy band is particularly effective for achieving high electron mobility and efficient recombination processes.
32. Solar Cell with Quantum Well Structure and Barrier Layer for Enhanced Carrier Excitation and Mobility
TOYOTA JIDOSHA KABUSHIKI KAISHA, Toyota Motor Corporation, 2015
Solar cell with enhanced photoelectric conversion efficiency through a novel quantum structure-based architecture. The cell incorporates an intrinsic semiconductor layer (i-layer) with a quantum confinement region (QCR) that contains semiconductor material with a wider bandgap than the surrounding semiconductor material. The QCR is separated from the external n-type and p-type regions by a barrier layer, which is engineered to minimize carrier tunneling through the barrier. The QCR acts as a quantum well, enabling efficient carrier excitation and collection through tunnel conduction. The barrier layer is designed to optimize carrier mobility and absorption, while maintaining the required bandgap separation between the QCR and the external semiconductor layers. This architecture enables the cell to achieve higher photoelectric conversion efficiencies than conventional solar cells, particularly at room temperature.
33. Optical Device with Triple-Connected Quantum Well Structure and Decreasing Layer Thickness
GWANGJU INSTITUTE OF SCIENCE AND TECHNOLOGY, 2015
Optical device with improved light absorption in multi-quantum well structures through a novel quantum well architecture. The device comprises a triple-connected quantum well structure with three quantum well layers sandwiched between external barrier layers. Each quantum well layer has a thickness that is smaller than the previous layer, with the outer barrier layers having higher energy levels than the substrate. This configuration enables enhanced light absorption while maintaining optimal operating conditions.
34. Solar Cell with Multilayered Gallium Arsenide Quantum Dots in In0.75Ga0.25As Quantum Well
NATIONAL CHUNG HSING UNIVERSITY, 2015
Solar cell with gallium arsenide quantum dots in an In0.75Ga0.25As well, featuring improved photocurrent density and efficiency through multilayered quantum dot growth in the well. The solar cell comprises an n-type layer, an absorption layer with quantum well and capping layer, and a p-type layer. The absorption layer is coated with gallium arsenide quantum dots in the well, which are arranged in a multilayered structure. The solar cell achieves enhanced photocurrent density and efficiency by utilizing gallium arsenide quantum dots in the well, while maintaining open circuit voltage.
35. Quantum Well Solar Cell with Barrier Layer Having Energy Differential for Enhanced Carrier Extraction
NAT INST FOR MATERIALS SCIENCE, 2015
Quantum well solar cell with enhanced carrier extraction efficiency through optimized barrier layer design. The cell achieves improved solar conversion by selectively enhancing carrier extraction in the quantum well region, thereby reducing recombination losses. The design incorporates a barrier layer with a specific energy difference between its ground state and the conduction band edge of the semiconductor material, which enables efficient carrier collection in the well region. This selective carrier extraction enables higher solar conversion efficiency compared to conventional solar cells.
36. Photovoltaic Junction with Intrinsic Region Comprising Quaternary InGaAsP Quantum Wells
JDS Uniphase Corporation, JDS UNIPHASE CORP, 2015
Photovoltaic junction with intrinsic region featuring a series of quantum wells formed by quaternary InGaAsP materials. This composition enables the absorption limit of ternary GalnP materials to be extended to longer wavelengths, while maintaining compatibility with GaAs or Ge substrates. The quaternary material enables reliable, defect-free growth and disordered mixing of group III elements, with adjustable well and barrier thicknesses. The structure can be grown as part of a multi-junction optoelectronic device, with a GaAs or Ge substrate.
37. Superlattice Semiconductor Structure with GaAs/AlAs Barrier and InAs Quantum Dot Layer for Enhanced Carrier Extraction
SHARP KK, 2015
A light receiving element for solar cells that enhances carrier extraction efficiency through a novel superlattice semiconductor structure. The element comprises a barrier layer with alternating layers of GaAs and AlAs, followed by a quantum dot layer containing InAs. The barrier layer's Sb content ratio and quantum dot spacing are optimized to achieve maximum carrier extraction efficiency. The superlattice structure is sandwiched between p-type and n-type semiconductor layers, enabling efficient carrier collection through quantum dot absorption.
38. Solar Cell with Piezoelectric Field-Induced Carrier Desorption in Wurtzite Well Layer
JAPAN SCIENCE AND TECHNOLOGY AGENCY, 2015
Solar cell with enhanced photoelectric conversion efficiency through carrier lifetime extension. The cell employs a novel piezoelectric field generation mechanism in the well layer, where an electric field is applied to desorb generated carriers from the well layer to the barrier layer before recombination. This approach prevents localized wave function localization, enabling longer carrier lifetimes and improved conversion efficiency. The well layer is formed using a wurtzite crystal structure and strain, with a barrier layer comprising metal oxynitride materials. The cell achieves high efficiency through this novel carrier management strategy.
39. Solar Cell with Superlattice Structure Incorporating Quantum Dot Layers and Resonance Tunneling Mechanism
NATIONAL UNIVERSITY CORPORATION THE UNIVERSITY OF TOKYO, 2015
Solar cell with enhanced photovoltaic efficiency through a novel superlattice structure. The cell features a p-type semiconductor layer, an n-type semiconductor layer, and a superlattice semiconductor layer sandwiched between them. The superlattice layer comprises a barrier layer and quantum dot layers with different bandgaps, where each quantum dot contains an intermediate energy level. The barrier layer has an n-type dopant, and the superlattice layer has a specific doping concentration ratio between the quantum dot and barrier layers. This configuration enables the formation of a quantum well with multiple energy levels, where the intermediate energy levels can be controlled by the number of quantum dot layers. The superlattice layer's quantum levels interact through resonance tunneling, leading to enhanced carrier relaxation times and improved photovoltaic performance.
40. Solar Energy Battery with Two-Dimensional GaAs Quantum Well Structure and Metal Compound Layers Deposited by Molecular Beam Epitaxy
Chongqing Jiaxinmei Technology Co., Ltd., CHONGQING JIAXINMEI TECHNOLOGY CO LTD, 2015
A solar energy battery with improved efficiency through a novel quantum well structure. The battery employs a two-dimensional gallium arsenide (GaAs) quantum well architecture with metal compound layers, where the main material is deposited using molecular beam epitaxy (MBE). This design enables enhanced carrier mobility and reduced recombination rates in the quantum wells, leading to improved solar cell performance.
41. Multi-Junction Solar Cell with Lattice-Matched GaN/GaAs Layers on GaAs Substrate
UNIV BEIJING TECHNOLOGY, 2015
A high-efficiency multi-junction solar cell that achieves superior photoelectric conversion through a novel material combination approach. The cell incorporates a Ga-based multi-junction structure with lattice-matched GaN/GaAs layers, where the GaN layer is grown on a GaAs substrate. This configuration enables the creation of a GaN/GaAs lattice-matched structure while maintaining current matching, thereby overcoming traditional limitations of GaN/GaAs triple-junction solar cells. The cell achieves a record-breaking efficiency of 40.1% under 135 times condensing conditions, surpassing current commercial triple-junction solar cells.
Get Full Report
Access our comprehensive collection of 41 documents related to this technology
