Photonic Structures for Quantum Dot Solar Cells
Quantum dot solar cells face fundamental limitations in light absorption and carrier collection. Current devices exhibit external quantum efficiencies below 65% across the solar spectrum, with significant losses occurring at interfaces and through incomplete absorption in thin quantum dot layers measuring 80-150nm. These constraints directly impact power conversion efficiency, which typically ranges from 12-16% in laboratory conditions.
The key challenge lies in simultaneously optimizing optical absorption pathways and electronic transport while maintaining quantum confinement effects that enable bandgap tunability.
This page brings together solutions from recent research—including engineered wrinkle structures for enhanced light utilization, hybrid light-trapping architectures with nanopyramid arrays, multi-bandgap quantum dot stacks, and surface-modified ligand strategies. These and other approaches focus on practical implementation strategies to improve both absorption efficiency and carrier collection in working devices.
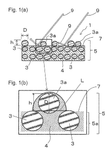
1. Lead Sulfide Quantum Dot Solar Cell with Engineered Zinc Oxide Wrinkle Structure as Electron Transport Layer
NINGBO INSTITUTE OF MATERIALS TECHNOLOGY AND ENGINEERING CHINESE ACADEMY OF SCIENCES, Ningbo Institute of Materials Technology and Engineering, Chinese Academy of Sciences, Ningbo Hangzhou Bay New Materials Research Institute, 2024
Lead sulfide quantum dot solar cell structure and method that enhances photoelectric conversion efficiency through an optimized electron transport layer. The cell architecture incorporates a zinc oxide film with an engineered optical wrinkle structure as the electron transport layer, which enables efficient light utilization by the photoactive layer. This unique layer design enables improved absorption and utilization of incident light, thereby increasing short-circuit current density.
2. Heterojunction PbS Quantum Dot Solar Cell with Nano-Patterned Layer and ZnO Nanoparticle PN Junction
SHENZHEN PLANCK QUANTUM SEMICONDUCTOR CO LTD, 2024
Heterojunction PbS quantum dot solar cell with enhanced light absorption and charge collection through nanostructured PN junction layers. The cell features a stacked glass substrate with a nano-patterned PbS quantum dot layer, followed by a PN junction layer with ZnO nanoparticles as optical antennas. The ZnO nanoparticles serve as efficient light-harvesting materials while maintaining electronic inertness, enabling improved charge collection and filling factor. The nanostructured architecture enables efficient light absorption and carrier transport through the PbS quantum dot layer, while the PN junction layer enhances charge collection at the contact interface.
3. Photoelectric Conversion Element with Dual-Ligand Quantum Dot Layers and Controlled Particle Size Distribution
PANASONIC IP MAN CO LTD, 2024
Photoelectric conversion element with enhanced sensitivity and reduced dark current through selective quantum dot layer engineering. The element comprises a photoelectric conversion layer, a first electrode, and a second electrode. The first electrode collects holes generated in the photoelectric conversion layer, while the second electrode collects electrons generated in the photoelectric conversion layer. The conversion layer consists of a first quantum dot layer and a second quantum dot layer. The first quantum dot layer contains quantum dots with a surface modified with a first ligand, while the second quantum dot layer contains quantum dots with a surface modified with a second ligand that is different from the first ligand. The second quantum dot layer has an ionization potential greater than that of the first quantum dot layer. The second quantum dot layer's particle size distribution is controlled to achieve a narrower distribution compared to the first quantum dot layer.
4. Quantum Dot Stacked Solar Cell with Magnetron Sputtered ITO and PbS Layers
UNIV DEZHOU, 2024
Quantum dot stacked solar cell with enhanced light energy utilization through a novel transparent conductive layer. The cell comprises a front cell, a transparent conductive intermediate layer, a rear cell, and a counter electrode. The transparent conductive layer is achieved by magnetron sputtering an ITO film with a thickness of 20 nm on the front cell. The rear cell is prepared by magnetron sputtering a PbS quantum dot layer with a thickness of 80 nm on the front cell. The counter electrode is a metal electrode. The transparent conductive layer significantly improves the light energy utilization rate of the solar cell by reducing transmission losses, while the PbS quantum dot layer enhances the conversion efficiency through its narrow emission spectrum.
5. Silver Telluride-Zinc Sulfide Core-Shell Quantum Dots with Controlled Thermal Synthesis and Enhanced Near-Infrared Emission
UNIVERSITY OF ELECTRONIC SCIENCE AND TECHNOLOGY OF CHINA, 2024
Silver telluride-zinc sulfide core-shell structure quantum dots for enhanced solar concentrator performance. The dots achieve high near-infrared emission while maintaining environmental safety through the use of silver telluride and zinc sulfide. The core-shell structure provides improved stability and photoluminescence quantum yield compared to conventional quantum dots. The preparation method enables the synthesis of these quantum dots through a controlled thermal treatment process that preserves their photoluminescent properties.
6. Hybrid Light Trapping Structure with Dielectric Nanopyramid Arrays and Reflective Layer for Quantum Dot Intermediate Band Solar Cells
INSTITUTE OF SEMICONDUCTORS CHINESE ACADEMY OF SCIENCES, 2023
A hybrid light trapping structure for quantum dot intermediate band solar cells that combines dielectric nanopyramid arrays with a reflective layer. The structure comprises a dielectric film on the upper surface of the solar cell, followed by a first dielectric nanopyramid array layer, and then a second dielectric nano-pyramid array layer on the lower surface of the solar cell. The reflective layer is positioned on the lower surface of the second dielectric nano-pyramid array layer. This configuration enhances light absorption by both increasing the light trapping effect of the dielectric nanopyramid array layer and reducing electrical losses through the reflective layer.
7. Photoelectric Conversion Element with Multi-Layer Quantum Dot Arrangement and Surface-Modifying Ligands
PANASONIC IP MAN CO LTD, 2023
Photoelectric conversion element with improved sensitivity and dynamic range through quantum dot-based light detection. The element comprises a photoelectric conversion layer comprising three or more quantum dot layers, each with surface-modifying ligands that modify the quantum dot surfaces. The quantum dot layers are arranged with specific bandgap energy relationships, where the energy of the quantum dot closer to the first electrode is smaller than the energy of the quantum dot closer to the second electrode. This arrangement enables the conversion of visible light into electrical signals across a broad spectral range, with the quantum dot energy matching the desired detection wavelength.
8. Quantum Dot Solar Cell with Stacked Multi-Bandgap Quantum Dot Layers
INSTITUTE OF SEMICONDUCTORS CHINESE ACADEMY OF SCIENCES, 2023
Multi-intermediate band quantum dot solar cell with improved efficiency by using multiple quantum dot layers with different bandgaps to absorb a broader range of low-energy photons. The cell has a stack of quantum dot layers on an N-type semiconductor, each layer having a different bandgap. This allows absorption of sub-bandgap photons that cannot be absorbed by a single intermediate band. The layers are sandwiched between N-type and P-type semiconductors to form a solar cell.
9. Quantum Dot Solar Cell Light Trapping Structure with Asymmetrically Bent Nanowires on Pyramid Frustums
INST SEMICONDUCTORS CAS, 2022
A light trapping structure for quantum dot solar cells like InAs/GaAsSb to improve absorption over a wide wavelength range. The structure consists of densely arranged curved nanowires growing out of pyramid-shaped frustums. The nanowires bend more at one end near the frustum top compared to the other end. This asymmetric bending provides enhanced light trapping by scattering and total internal reflection. The structure can be fabricated using plasma etching. It reduces reflectance below 1500 nm and has an average reflectance of less than 5% in the 300-1300 nm range.
10. Quantum Dot-Based Transparent Solar Cells with Short-Wavelength Absorption and Emission Conversion
TRULY SEMICONDUCTORS CO LTD, 2022
Transparent solar cells that maximize the utilization of short-wavelength light in solar cells. The cells employ a quantum dot-based photovoltaic layer that absorbs and converts short-wavelength radiation, while simultaneously emitting longer wavelengths through excited state conversion. This dual-function layer enables efficient conversion of both visible and ultraviolet light, thereby increasing overall solar cell efficiency. The transparent cathode layer is optimized for maximum absorption of the absorbed short-wavelength light, while the encapsulation layer provides reflective protection for the excited quantum dot material.
11. Solar Cells with Quantum-Structured Materials and Wide Band Gap Emitter-Depletion Architecture
MAGNOLIA SOLAR INC, 2022
Solar cells with quantum-structured materials and/or layers of quantum-structured materials incorporated therein achieve high open circuit voltages through novel device architectures. The cells incorporate a wide band gap material in both the emitter and depletion region adjacent to the emitter, with a wider energy gap extended emitter structure featuring material in both the emitter and depletion region. This design enables improved carrier collection while minimizing dark current, particularly in optically-thin solar cells.
12. Quantum Dot Solar Cell with Semiconductor Nanopore Structures and Dielectric Layers Forming Quantum Dot Intermediate Zone
NANJING TECH UNIVERSITY, Nanjing Tech University, 2021
Quantum dot intermediate zone solar cell with semiconductor nanopore structure that achieves higher efficiency than traditional quantum dot solar cells by exploiting the unique optical properties of quantum dot interband transitions. The cell incorporates periodic semiconductor nanopore structures with dielectric layers that contain quantum dots and spacers, enabling the creation of a quantum dot intermediate zone. The dielectric layers are composed of quantum dots and a spacer layer, with the buffer layer forming a type II quantum dot structure. This arrangement enables the creation of an intermediate zone with enhanced absorption of photons below the semiconductor bandgap, while maintaining carrier recombination rates. The cell achieves higher efficiency than conventional quantum dot solar cells through the controlled absorption of photons in the intermediate zone.
13. Shell-Core Nanowire Architecture with Quantum Dot Coating and Outer Shell Layer for Enhanced Electron-Hole Separation
CHONGQING UNIVERSITY OF SCIENCE & TECHNOLOGY, 2021
A shell-core nanowire solar cell architecture that improves efficiency and reduces degradation compared to conventional quantum dot solar cells. The shell-core nanowire structure has a bottom electrode, nanowires growing vertically from it, quantum dots on the nanowire surface, an outer shell layer, and top electrode. The nanowires and quantum dots form an inner core for electron transmission, separated by the shell for hole extraction. This prevents charge recombination between the electrodes. The core-shell nanowire array allows efficient electron and hole extraction while minimizing losses and corrosion compared to flat quantum dot layers.
14. Solar Cell with Quantum Dot Superlattice Charge-Selective Emitter for Hole Transport
NAT UNIV CHUNGBUK IND ACAD COOP FOUND, 2021
Solar cell with enhanced efficiency through selective hole transport through a quantum dot structure. The solar cell features a charge-selective emitter layer with a superlattice quantum dot structure that selectively passes electrons while allowing holes to pass through. This selective hole transport enables efficient separation of charge carriers, significantly reducing recombination losses and increasing overall solar cell efficiency.
15. Method for Growing Multilayer Quantum Dots on Chamfered Substrates
SOUTH CHINA UNIVERSITY OF TECHNOLOGY, South China University of Technology, 2020
A method for preparing high-efficiency quantum dot solar cells by growing multilayer quantum dots on chamfered substrates. The chamfered substrate provides enhanced uniformity and control over the quantum dot growth process, while the chamfered surface inhibits dot migration. This approach enables precise control over the quantum dot layer thickness and distribution, leading to improved solar cell performance.
16. Schottky Junction Solar Cell with Graphene-Interfaced InAs Quantum Dot Epitaxial Structure
SOUTH CHINA UNIVERSITY OF TECHNOLOGY, South China University of Technology, 2020
A Schottky junction solar cell with enhanced efficiency through a novel epitaxial structure. The invention introduces a single-layer graphene layer between the InAs quantum dot array and the GaAs substrate, effectively preventing inter-diffusion between the quantum dots and the substrate. This structural modification enables improved interface quality, reduced defect density, and enhanced quantum dot stability, leading to higher conversion efficiency in solar cells.
17. Quantum Dot Solar Cell with Multi-Bandgap Nanocrystal Ensemble for Enhanced Infrared Photovoltaic Efficiency
THE GOVERNING COUNCIL OF THE UNIVERSITY OF TORONTO, 2020
A quantum dot-based solar cell that achieves record-breaking power conversion efficiency (PCE) in infrared (IR) photovoltaics through a novel multi-bandgap quantum dot ensemble approach. The ensemble consists of semiconductor nanocrystals with different bandgaps, which are individually synthesized and then blended together in a solution. By carefully controlling the relative concentrations and bandgaps of the different nanocrystals, the ensemble can be engineered to absorb and convert IR light across the solar spectrum, resulting in a Voc of 0.4 V and Jsc of 3.7 mA/cm², surpassing previous records for both parameters. The ensemble's optical properties are optimized through band-filling and Fermi-level modulation, enabling efficient charge transport through low-defect-density pathways. This approach decouples the traditional Voc-Jsc trade-off, enabling the realization of high PCE values in IR photovoltaics.
18. Quantum Dot Solar Cells with Adjustable Ligand for Controlled Aggregation and Uniform Distribution
DAEGU GYEONGBUK INSTITUTE OF SCIENCE AND TECHNOLOGY, 2020
Quantum dot solar cells with improved photoelectric conversion efficiency through controlled aggregation and enhanced light absorption. The solar cells incorporate a ligand that can be well adsorbed to a photocathode and can be easily adjusted in length, enabling uniform distribution of quantum dots on the surface of the photocathode. The adsorbent is specifically designed to facilitate controlled aggregation of the quantum dots between the photocathode surface and the scattering layer, while maintaining optimal light absorption properties. This approach addresses the traditional limitations of quantum dot solar cells by enabling both uniform distribution of the quantum dots and controlled aggregation between the photocathode surface and the scattering layer.
19. Solar Cell with Nanorod Lattice Photonic Crystal and Graphene Quantum Dot Layer
National Research Nuclear University MEPhI (Moscow Engineering Physics Institute), FEDERAL STATE AUTONOMOUS INSTITUTION OF HIGHER EDUCATION NATIONAL RESEARCH NUCLEAR UNIVERSITY MYTHI, 2019
A solar cell design that enhances both absorption and charge transport efficiency through a novel photonic crystal structure. The device features a two-dimensional photonic crystal plate with a periodic lattice of nanorods, which is sandwiched between a graphene-based hybrid material layer containing quantum dots. The photonic crystal structure enhances absorption across the solar spectrum while the graphene layer provides efficient charge carrier transport between the quantum dots and electrodes. The design addresses stability concerns by eliminating organic components and incorporating inorganic materials that resist degradation in humid environments.
20. All-Solid-State Solar Cells with Simultaneous Quantum Dot and Photovoltaic Layer Deposition
UNIV HEFEI TECHNOLOGY, 2019
All-solid-state solar cells based on simultaneous deposition of quantum dots and a novel preparation method achieve high efficiency, low cost, and stability through a novel device architecture. The solar cells employ quantum dots as light-absorbing materials, which are deposited simultaneously with the photovoltaic layer through a novel deposition process. This approach eliminates the need for organic solvents and high-temperature processing, while maintaining the quantum dot's inherent properties. The device architecture enables efficient charge carrier collection and transport, resulting in improved photovoltaic performance compared to conventional quantum dot solar cells.
21. Transparent Solar Cell with Nanorod Photonic Crystal and Graphene-Quantum Dot Hybrid Layer
National Research Nuclear University MEPhI (Federal State Autonomous Educational Institution of Higher Education), FEDERAL STATE AUTONOMOUS EDUCATIONAL INSTITUTION OF HIGHER EDUCATION NATIONAL RESEARCH NUCLEAR UNIVERSITY MEPHI, 2019
A transparent solar cell design with improved efficiency by capturing more light in the near-infrared region. The solar cell has a transparent plate with a two-dimensional photonic crystal structure of nanorods. Between the rods is a hybrid material made of graphene derivatives and quantum dots in an electrolyte. This hybrid layer absorbs more near-infrared light due to the quantum dots. The graphene derivatives enhance charge carrier generation. The transparent conductive layer on the rod surfaces helps extract the carriers. The photonic crystal reflects and guides light into the active layer.
22. Light Absorption Layer with Quantum Dots and Intermediate Band in Semiconductor Matrix
KAO CORP, 2019
A light absorption layer for solar cells that enables efficient two-stage light absorption through the formation of an intermediate band in a semiconductor matrix. The layer comprises quantum dots dispersed in a bulk semiconductor with a bandgap energy between 2.0 eV and 3.0 eV, forming an intermediate band. The quantum dots are exchanged with a halogen-containing ligand, resulting in a layer with an external quantum yield difference of 0.005% or more at 500 nm, 0.004% or more at 600 nm, and 0.002% or more at 900 nm. This layer enables the absorption of light in the 500 nm and 900 nm regions through the intermediate band, while maintaining a high quantum yield compared to traditional two-stage absorption methods.
23. Quantum Dot Photovoltaic Devices with Vapor-Deposited Cadmium Oleate Precursor for Quantum Dot Formation
TCL CORP, 2018
Quantum dot photovoltaic devices with enhanced performance through optimized material preparation. The method involves vapor-depositing a cadmium oleate precursor on the hole transport layer, followed by deposition of a quantum dot material. The cadmium oleate precursor is prepared through refluxing a mixture of cadmium oleate and trioctylphosphine at elevated temperatures under nitrogen atmosphere. This precursor is then used to form the quantum dot material, which is then deposited on the hole transport layer. The cadmium oleate precursor enables the formation of high-quality quantum dots with controlled size and composition, while the vapor deposition process provides precise control over the quantum dot distribution and thickness.
24. Photoelectric Conversion Device with Quantum Dots Having Complementary Energy Band Structures
KYOCERA CORP, 2018
A photoelectric conversion device that enhances carrier collection efficiency by incorporating quantum dots with complementary energy band structures. The device comprises a semiconductor layer with a quantum dot layer that contains quantum dots with energy band structures different from the semiconductor layer. This configuration enables the formation of a quantum confinement energy level that is aligned with the semiconductor bandgap, thereby creating a localized energy band structure that enhances carrier mobility and collection efficiency.
25. Composite Structure with Two-Dimensional Photonic Crystal Layer and Random Metal Pyramid Groove Arrangement
TAIYUAN UNIVERSITY OF TECHNOLOGY, Taiyuan University of Technology, 2018
A composite structure comprising a photonic crystal layer and a metal pyramid groove structure enhances wide-spectrum light absorption. The structure integrates a two-dimensional photonic crystal layer with a random metal pyramid groove structure at its bottom. The pyramid groove structure, with its random arrangement of triangular facets, provides a high-efficiency light absorption mechanism across a broad spectral range, particularly in the visible and near-infrared regions. The photonic crystal layer enables efficient light trapping and confinement, while the metal pyramid structure enhances absorption through its specific optical properties.
26. Solar Cell with Multilayer Type II Quantum Well and Type I Quantum Dot Active Region Structure
Nanjing Tech University, NANJING TECH UNIVERSITY, 2017
Solar cell with improved photoelectric conversion efficiency through the use of a multilayer quantum well/1 type quantum dot structure in the active region. The cell features a lower electrode, a lower contact layer, a back field layer, an active region layer, a window layer, and an upper contact layer arranged from bottom to top. The active region layer comprises a multilayer type II quantum well/1 type quantum dot laminated structure, where the type I quantum dot layer is positioned on top of the type II quantum well layer. This configuration enables the efficient separation of electron and hole wave functions, which is critical for achieving high conversion efficiency in solar cells.
27. Photoelectric Conversion Film with Quantum Dot Rod Array and Insulating Interstitial Material
KYOCERA CORP, 2017
A photoelectric conversion film and device that enhances light absorption through quantum dot integration. The film comprises a quantum dot array with dense quantum dot rods arranged in a specific pattern, where the gap between the rods is filled with an insulating material. The film is used as a photoelectric conversion layer between two conductor layers in photovoltaic devices.
28. Solar Cell with Quantum Dot and Barrier Layer Superlattice Structure
UNIV TOKYO, 2017
A solar cell with enhanced quantum dot absorption through a novel superlattice structure. The cell incorporates a quantum dot layer composed of direct bandgap semiconductor material, which absorbs light in the visible spectrum, and a barrier layer made of indirect bandgap material. The barrier layer is alternately stacked with the quantum dot layer, creating a superlattice structure that enhances the absorption of light in the visible spectrum through quantum confinement effects. This arrangement enables efficient conversion of visible light into electrical current while maintaining high carrier extraction efficiency.
29. Quantum Dot Solar Cells with Self-Assembled Monolayer Interface Incorporating Pi-Pi Interaction
UNIST(ULSAN NATIONAL INSTITUTE OF SCIENCE AND TECHNOLOGY), 울산과학기술원, 2017
Quantum dot solar cells with enhanced efficiency through a novel interface modification. The solar cells incorporate a self-assembled monolayer (SAM) layer at the interface between the quantum dot layer and a metal oxide layer, which contains a benzene ring with pi-pi interaction. This SAM layer protects the quantum dots from ligand exchange damage during the deposition process, leading to improved photovoltaic performance. The solar cells achieve a power conversion efficiency of 10.7% and demonstrate enhanced current density, voltage, and charging efficiency compared to conventional quantum dot solar cells.
30. Composite Structure with Photonic Crystal Layer and Metal-Coated Random Groove Layer for Enhanced Electromagnetic Absorption
Taiyuan University of Technology, TAIYUAN UNIVERSITY OF TECHNOLOGY, 2017
A composite structure for enhanced broadband absorption of electromagnetic radiation, particularly in the near-infrared spectrum. The structure comprises a photonic crystal layer with a periodic triangular groove pattern on the surface of a non-metallic substrate, followed by a metal-coated random groove layer. The photonic crystal layer is filled with a polymer or colloidal quantum dot material, while the metal-coated random groove layer is formed by arranging random triangular grooves on the substrate surface. This composite structure achieves superior broadband absorption beyond the conventional Yablovitch limit by leveraging the unique optical properties of both photonic crystal structures and metal-coated random grooves.
31. Quantum Dot-Sensitized Solar Cell with CuxSe Shell Layer and Continuous Ion Layer Adsorption Photoanode
TIANJIN SANAN OPTOELECTRONICS CO LTD, 2017
Solar cell with enhanced photoelectric conversion efficiency through a novel quantum dot-sensitized structure. The solar cell comprises a conductive substrate, a photoanode, a quantum dot sensitizer, an electrolyte, a counter electrode, and a transparent conductive glass. The quantum dot layer is a CdS, CdSe, or CdTe quantum dot layer, with a CuxSe shell layer. The shell layer is a CuxSe or CuxTe layer. The sensitization layer is formed by depositing a photoanode on the substrate using a continuous ion layer adsorption and reaction method, followed by the deposition of a quantum dot layer on the photoanode. The sensitization layer is then encapsulated with the electrolyte and completed with the counter electrode.
32. Intermediate-Band Solar Cells with Quantum Dot and Nanowire Array Composite Structure
UNIV BEIJING POSTS & TELECOMM, 2016
Intermediate-belt solar cells combining quantum dots and nanowire arrays to enhance light absorption and spectral range. The composite structure incorporates quantum dots that absorb light in the intermediate band, while nanowire arrays act as light traps to capture and concentrate this absorbed light. This dual-function architecture enables improved light absorption beyond traditional solar cells, with enhanced spectral range and increased light trapping efficiency.
33. Quantum Dot Solar Cell with Damping Layer for Intermediate Band Fermi Level Stabilization
UNIV BEIJING INF SCI & TECH, 2016
Intermediate band quantum dot solar cell with enhanced efficiency through a novel damping layer design. The cell incorporates a damping layer between the quantum dot array and the p-type semiconductor layer, which prevents space charge expansion and maintains the intermediate band's half-filled state. This configuration enables the formation of a flat Fermi level in the intermediate band, significantly improving the conversion efficiency of the intermediate energy band in the solar cell.
34. Photoelectric Conversion Layer with Aligned Quantum Dots and Protruding Middle Dot Configuration
KYOCERA CORP, 2016
A photoelectric conversion layer for solar cells that enhances absorption and efficiency through a novel quantum dot arrangement. The layer comprises a quantum dot-containing structure with aligned quantum dots along the layer thickness, where each dot is connected by a protruding middle dot. This configuration enables efficient carrier collection while minimizing reflection losses, thereby increasing conversion efficiency. The layer's unique structure enables precise control over dot alignment and protrusion geometry, allowing optimal quantum dot packing and absorption.
35. Photoelectric Conversion Layer with Quantum Dot-Integrated Columnar Structure in Uniform Semiconductor Film
KYOCERA CORP, 2016
A photoelectric conversion layer for solar cells that enhances carrier collection efficiency by integrating quantum dots into a uniform semiconductor material film. The layer comprises a columnar member that extends between adjacent quantum dot integrated portions, with each portion having a uniform semiconductor material composition. This design enables carrier collection through enhanced carrier mobility and reduced carrier recombination, while maintaining high open circuit voltage through optimized bandgap alignment.
36. Solar Cells with GaInNAs/InGaAs Quantum Dot Superlattice Structures
SUZHOU INST NANO TECH & NANO BIONICS CAS, 2016
Solar cells with improved conversion efficiency through the use of quantum dot superlattice structures. The cells incorporate a GaInNAs/InGaAs superlattice structure in the active region, with an additional InGaAs superlattice junction. This configuration enables a shared active region thickness, eliminating the thickness-related interface defects and growth issues typically encountered in traditional multi-junction solar cells. The superlattice structure provides enhanced carrier mobility and reduced recombination centers, leading to enhanced conversion efficiency.
37. Solar Cell with Quantum Dot and Quantum Wire Integrated Photoelectric Conversion Layer
KYOCERA CORP, 2016
Solar cell with enhanced photoelectric conversion efficiency through the integration of quantum dots and quantum wires within a quantum dot-based photoelectric conversion layer. The solar cell features a quantum dot integrated portion with quantum wires that exhibit a bandgap of 1.7 ± 0.2 eV and diameters between 2-6 nm. The quantum wires are arranged in a 10% or greater diameter ratio, enabling multiple quantum dot absorption across a wide spectral range. This architecture enables higher photoelectric conversion efficiency compared to conventional solar cells with single-junction photovoltaic cells.
38. Quantum Dot Solar Cell with Interstitial Quantum Dot Layer Between p-n Semiconductor Layers
KYOCERA CORP, 2016
Quantum dot solar cell with enhanced carrier collection efficiency through optimized quantum dot arrangement. The cell features a quantum dot layer sandwiched between p-type and n-type semiconductor layers, with the quantum dots arranged to fill the space between the p-type and n-type base portions. This configuration enables carriers generated in the quantum dots to be more effectively collected and converted into electrical charge.
39. Photoelectric Conversion Element with Nanowire-Embedded Semiconductor and Quantum Dot Barrier Layer Configuration
NATIONAL UNIVERSITY CORPORATION TOKYO UNIVERSITY, 2016
A photoelectric conversion element that achieves high photoelectric conversion efficiency through controlled carrier transport. The element comprises a semiconductor layer, a wire layer containing nanowires extending in columns along the thickness direction of the semiconductor layer, and a barrier layer that surrounds the quantum dot layers in a direction perpendicular to the thickness direction. The barrier layer has a bandgap larger than the bandgap of the quantum dot layer in the direction perpendicular to the thickness direction, with the barrier layer's thickness determined to allow tunnel conduction. This configuration enables efficient carrier transport between the quantum dot layers and the barrier layers, with the barrier layers selectively positioned to control the carrier flow.
40. Quantum Dot Solar Cell with CuInS2/ZnS Core-Shell Structure
Jilin University, JILIN UNIVERSITY, 2016
Environmental-friendly quantum dot solar cell that achieves high efficiency through a novel CuInS2/ZnS core-shell quantum dot structure. The solar cell employs CuInS2/ZnS core-shell quantum dots as the active layer, with the ZnS shell providing enhanced stability and durability. The ZnS shell wraps around the CuInS2 core, forming a stable and efficient material system that maintains the solar cell's performance characteristics while eliminating the need for heavy metals. The manufacturing process involves a simple and environmentally friendly method of preparing the ZnS shell-coated CuInS2/ZnS quantum dots. This approach enables the production of high-efficiency solar cells with reduced environmental impact.
41. Solar Cell with ZnO Nanorods and Integrated Hole Block and Quantum Dot Layers
UNIV OF ELECTRO-COMMUNICATIONS, 2016
Solar cell with improved efficiency through enhanced surface passivation of ZnO nanorods. The cell incorporates a hole block layer between the ZnO nanorods and a p-type quantum dot layer between the nanorods and electrodes. The quantum dot layer is made of PbS, PbSe, or CuInS2, which are semiconductor materials that can be used to enhance the solar cell's light absorption and charge carrier collection. The hole block layer and quantum dot layer work together to improve the solar cell's open circuit voltage and short circuit current.
42. Quantum Dot Solar Cell with Alternating Bandgap Layers and Columnar Carrier Collection Units
KYOCERA CORP, 2016
Quantum dot solar cell with enhanced carrier collection properties through optimized quantum dot arrangement. The cell features alternating quantum dot layers with different bandgaps, where each layer contains columnar carrier collection units extending in the thickness direction. These collection units are positioned at regular intervals in the layers, creating a uniform carrier distribution across the solar cell surface. By arranging the collection units in a specific pattern, the distance between them varies, enabling more efficient carrier collection while minimizing local carrier depletion. The arrangement also enables uniform carrier collection across the solar cell surface, resulting in improved photoelectric conversion efficiency.
43. Quantum Dot Solar Cell with Curved Side Surface Quantum Dot Film Architecture
KYOCERA CORP, 2016
Quantum dot solar cell with enhanced carrier collection through optimized quantum dot film architecture. The cell features a substrate, a quantum dot integrated film with curved side surfaces, and an electrode layer. The curved side surfaces of the quantum dot integrated film create a unique interface geometry where carriers can more effectively interact with the columnar body. This design enables improved carrier collection and increased photoelectric conversion efficiency compared to conventional solar cells.
44. Quantum Dot Composite with Biomineralized Quantum Dots in Semiconductor Matrix for Uniform Film Formation
KYOCERA CORP, 2015
Quantum dot composite for solar cells that achieves high efficiency through a novel approach. The composite comprises semiconductor particles with quantum dots in a matrix containing a semiconductor material, where the quantum dots are precipitated from a metal compound solution through biomineralization. This composite is integrated into a solar cell structure, where the matrix particles surround the quantum dots to form a uniform film. The composite's unique structure enables high quantum efficiency through the formation of a uniform quantum dot distribution across the matrix.
45. Solar Cell with Quantum Dot Layer Featuring Size-Graded Band Structure for Coherent Mini-Band Formation
KYOCERA CORP, 2015
Solar cell with enhanced carrier extraction efficiency through a novel quantum dot layer design. The solar cell features a quantum dot layer sandwiched between p-type and n-type semiconductor regions, with the quantum dot layer's band structure engineered to create a coherent mini-band across the entire layer. This is achieved by gradually increasing the quantum dot size as it transitions from the central portion to the semiconductor interfaces, effectively creating a resonant tunneling effect between adjacent quantum levels. The design enables efficient carrier extraction from the quantum dot layer to the p-type and n-type semiconductor regions, overcoming conventional limitations in carrier collection.
46. Quantum Dot Nanomaterials with Vertically Correlated Charge-Embedded Quantum Dots in Doped Semiconductor Layers
MITIN VLADIMIR, 2015
Quantum dot (QD) nanomaterials with vertically correlated QDs and built-in charge, enabling improved photocarrier lifetime and electron coupling to infrared radiation. The QDs are formed in a semiconductor material with doped layers, where each layer comprises vertically correlated QDs with built-in charge. The QDs have long photocarrier lifetimes due to the charge barriers preventing photoelectron capture, and the correlated QD positions in adjacent layers enhance electron coupling to radiation. This QD structure enables enhanced absorption of infrared radiation while maintaining carrier lifetimes.
47. Photovoltaic Cell Optical Absorber Layer Incorporating Broad-Spectrum Quantum Dots
PETHURAJA GOPAL G, 2015
Enhancing the efficiency of photovoltaic cells through the use of quantum dots in their optical absorber layers. The quantum dots, which can be made from various semiconductor materials such as PbS, GaSb, InSb, InAs, and CIS, are engineered to cover a broad spectrum of solar energy, including infrared, visible, and ultraviolet light. By incorporating these quantum dots into the optical absorber layer, the photovoltaic cells can achieve higher conversion efficiencies compared to conventional solar cells. The quantum dots enable the separation of charge carriers as soon as they are generated, significantly reducing charge recombination and increasing overall efficiency.
48. Solar Cells with Three-Layer Quantum Dot Configuration and Low-Resistance Barrier Layer
KYOCERA CORP, 2015
Solar cells with enhanced photoelectric conversion efficiency through the application of quantum dots. The solar cells incorporate quantum dots in a three-layer configuration with a barrier layer surrounding the quantum dots. The barrier layer has a specific resistance lower than the quantum dots in the central portion, enabling carrier collection. The barrier layer's thickness can be controlled to optimize carrier collection efficiency. The solar cells achieve improved conversion efficiency by maximizing carrier collection through the barrier layer while maintaining high quantum confinement. The barrier layer's transparency is achieved through the use of a transparent conductive film, such as AZO, with a bandgap of 3.5 eV or less.
49. Quantum Dot Solar Cell with Perpendicular Photodetector Layer and Core-Shell Quantum Dot Architecture
KYOCERA CORP, 2015
Quantum dot solar cell with enhanced light absorption and carrier generation through a novel photodetector design. The cell features a photodetector layer containing quantum dots with a core-shell structure, where the semiconductor core serves as the active photovoltaic material. The photodetector layer is arranged in a direction perpendicular to the photovoltaic layer, enabling efficient light absorption and carrier generation. The photodetector layer's unique architecture enables efficient reflection of incident light, while the core-shell structure of the quantum dots enhances carrier excitation and recombination. This architecture significantly improves the solar cell's light absorption efficiency compared to conventional photodetector designs.
Get Full Report
Access our comprehensive collection of 49 documents related to this technology
