Techniques to Improve Carrier Mobility in Quantum Dot Solar Cells
Quantum dot solar cells face persistent challenges in carrier mobility, with typical electron mobilities ranging from 10⁻³ to 10⁻¹ cm²/V·s—orders of magnitude lower than bulk semiconductors. This limitation stems from quantum confinement effects and the presence of surface ligands that create potential barriers between adjacent quantum dots, significantly impacting charge transport and overall power conversion efficiency.
The fundamental challenge lies in enhancing carrier mobility without compromising the quantum confinement properties that make these materials valuable for solar energy harvesting.
This page brings together solutions from recent research—including ligand engineering approaches, heterostructured interfaces, carbon-coated quantum dots, and multi-layer architectures with engineered band alignments. These and other approaches focus on practical strategies to optimize charge transport while maintaining the advantageous optical properties of quantum dot systems.
1. Heterojunction PbS Quantum Dot Solar Cell with Nanostructured PN Junction Layers and ZnO Nanoparticles
SHENZHEN PLANCK QUANTUM SEMICONDUCTOR CO LTD, 2024
Heterojunction PbS quantum dot solar cell with enhanced light absorption and charge collection through nanostructured PN junction layers. The cell features a stacked glass substrate with a nano-patterned PbS quantum dot layer, followed by a PN junction layer with ZnO nanoparticles as optical antennas. The ZnO nanoparticles serve as efficient light-harvesting materials while maintaining electronic inertness, enabling improved charge collection and filling factor. The nanostructured architecture enables efficient light absorption and carrier transport through the PbS quantum dot layer, while the PN junction layer enhances charge collection at the contact interface.
2. Photoelectric Conversion Element with Multi-Layer Quantum Dot Structure and Energy-Gradient Bandgap Configuration
PANASONIC IP MAN CO LTD, 2023
Photoelectric conversion element with improved sensitivity and dynamic range through quantum dot-based light detection. The element comprises a photoelectric conversion layer comprising three or more quantum dot layers, each with surface-modifying ligands that modify the quantum dot surfaces. The quantum dot layers are arranged with specific bandgap energy relationships, where the energy of the quantum dot closer to the first electrode is smaller than the energy of the quantum dot closer to the second electrode. This arrangement enables the conversion of visible light into electrical signals across a broad spectral range, with the quantum dot energy matching the desired detection wavelength.
3. Quantum Dot Solar Cell with Stacked Multi-Bandgap Quantum Dot Layers
INSTITUTE OF SEMICONDUCTORS CHINESE ACADEMY OF SCIENCES, 2023
Multi-intermediate band quantum dot solar cell with improved efficiency by using multiple quantum dot layers with different bandgaps to absorb a broader range of low-energy photons. The cell has a stack of quantum dot layers on an N-type semiconductor, each layer having a different bandgap. This allows absorption of sub-bandgap photons that cannot be absorbed by a single intermediate band. The layers are sandwiched between N-type and P-type semiconductors to form a solar cell.
4. Layered Light Absorption Structure with Ferroelectric Nanoparticles and Semiconductor Quantum Dots for Solar Cells
HUBEI UNIVERSITY, 2023
Broad-spectrum, high-absorptivity light absorption layer for solar cells with improved efficiency compared to conventional layers. The layer comprises a ferroelectric nanoparticle layer, a semiconductor quantum dot layer, and an underlying substrate. The ferroelectric nanoparticles and quantum dots absorb light across a wide spectrum. The ferroelectric nanoparticles have high absorption in the visible region, while the quantum dots absorb in the UV-blue range. This broadens the overall absorption spectrum compared to just quantum dots. The ferroelectric layer also improves light absorption by scattering and trapping light. The layer preparation involves depositing the layers using techniques like pulsed laser deposition.
5. Solar Cell with Carbon Quantum Dot Modified Layer and Multilayer Electrode Structure
YUNNAN NORMAL UNIVERSITY, 2023
Solar cell with enhanced photoelectric conversion efficiency through the incorporation of carbon quantum dots. The solar cell comprises a metal electrode, hole transport layer, carbon quantum dot modified layer, calcium layer, electron transport layer, and transparent electrode. The carbon quantum dots are specifically designed to enhance charge carrier mobility and absorption in the solar cell's perovskite layer, leading to improved conversion efficiency.
6. Solar Cells with Quantum-Structured Layers and Wide Band Gap Extended Emitter Architecture
MAGNOLIA SOLAR INC, 2022
Solar cells with quantum-structured materials and/or layers of quantum-structured materials incorporated therein achieve high open circuit voltages through novel device architectures. The cells incorporate a wide band gap material in both the emitter and depletion region adjacent to the emitter, with a wider energy gap extended emitter structure featuring material in both the emitter and depletion region. This design enables improved carrier collection while minimizing dark current, particularly in optically-thin solar cells.
7. Lead Sulfide Quantum Dot/Polymer Hybrid Solar Cells with Thiol Ligand Interface Layer
UNIV SOOCHOW, 2022
Lead sulfide quantum dot/polymer hybrid solar cells that achieve high efficiency through controlled interface engineering. The hybrid cells incorporate an interface layer with thiol ligands between the lead sulfide quantum dots and polymer matrix, which enhances charge transport and optoelectronic properties. The interface layer selectively passesivates the quantum dot/polymer interface, reducing energy band bending and charge accumulation, while maintaining the quantum dot's photovoltaic properties. This approach enables near-infrared photovoltaic devices with improved charge transport characteristics compared to conventional lead sulfide solar cells.
8. Intermediate Tandem Layer with Quantum Dots for Photovoltaic Devices
LONGJI GREEN ENERGY TECH CO LTD, 2022
Intermediate tandem layer for photovoltaic devices that eliminates potential barrier layers between cells, thereby improving efficiency and open-circuit voltage. The layer comprises a barrier material and quantum dots dispersed within it, which are formed through controlled crystallization processes. This structure enables carrier tunneling recombination to be minimized by preventing the formation of reverse potential barriers between cells. The layer can be deposited between the upper and lower battery cells in a photovoltaic device.
9. Quantum Dot Photovoltaic Device with Zinc-Doped Metal Oxide Electron Transport Layer and Optimized Spin Coating Conditions
TCL TECHNOLOGY GROUP CORP, 2022
Quantum dot photovoltaic device with enhanced optoelectronic performance through improved electron transport layer preparation. The device comprises a conductive glass substrate, an electron transport layer, a quantum dot photosensitization absorption layer, and an anode. The electron transport layer is prepared by vacuum coating a zinc-doped metal oxide film onto the substrate, followed by spin coating a quantum dot photosensitization absorption layer. The device achieves improved electron transport layer properties by optimizing spin coating conditions, including speed and time, while maintaining the structural integrity of the zinc-doped metal oxide film.
10. Solar Cell with Charge-Selective Emitter Layer Incorporating Quantum Dot Superlattice for Enhanced Hole Transport
NAT UNIV CHUNGBUK IND ACAD COOP FOUND, 2021
Solar cell with enhanced efficiency through selective hole transport through a quantum dot structure. The solar cell features a charge-selective emitter layer with a superlattice quantum dot structure that selectively passes electrons while allowing holes to pass through. This selective hole transport enables efficient separation of charge carriers, significantly reducing recombination losses and increasing overall solar cell efficiency.
11. Photovoltaic Junctions with Quantum Dot Thin Films and Engineered Bandgap Semiconductor Acceptors
UNIVERSITY OF SOUTH CAROLINA, 2020
Photovoltaic junctions with improved optoelectronic properties through controlled synthesis of semiconductor and metal components. The junctions incorporate quantum dots as light-absorbing materials, with the dots dispersed as a thin film on the semiconductor acceptor surface. The acceptor material is engineered to have a slightly larger bandgap than the light-absorbing material, enabling efficient absorption across a broad spectral range. The junction architecture combines a light-absorbing material with a semiconductor acceptor and a metallic contact, enabling efficient charge collection while maintaining optoelectronic performance.
12. Method for Growing Multilayer Quantum Dots on Chamfered Substrates for Solar Cells
SOUTH CHINA UNIVERSITY OF TECHNOLOGY, South China University of Technology, 2020
A method for preparing high-efficiency quantum dot solar cells by growing multilayer quantum dots on chamfered substrates. The chamfered substrate provides enhanced uniformity and control over the quantum dot growth process, while the chamfered surface inhibits dot migration. This approach enables precise control over the quantum dot layer thickness and distribution, leading to improved solar cell performance.
13. Zinc Sulfide Photodetector with Carbon Quantum Dot Carrier Transport Layer
Nanjing University of Information Science and Technology, NANJING UNIVERSITY OF INFORMATION SCIENCE & TECHNOLOGY, 2020
Zinc sulfide (ZnS) carbon quantum dot solar-blind ultraviolet detector with enhanced photocurrent and responsivity through the use of carbon quantum dots as a carrier transport layer. The detector comprises a ZnS photodetector layer with a carbon quantum dot layer as the carrier transport layer, where the carbon quantum dots facilitate rapid electron-hole separation through their high electron mobility and thermal conductivity. This hybrid layer architecture significantly improves the detector's performance compared to traditional ZnS detectors, enabling higher responsivity and improved detection capabilities in the solar-blind ultraviolet region.
14. Quantum Dot Heterojunction Solar Cells with Multiferroic/Ferroelectric Layer Integration
NAJINGTECH CO LTD, 2019
Quantum dot heterojunction solar cells with enhanced photoelectric conversion efficiency through the integration of quantum dots with multiferroic/ferroelectric layers. The heterojunction structure combines a quantum dot light-absorbing layer with a multiferroic/ferroelectric layer, enabling efficient charge separation and carrier transport. This architecture addresses the limitations of conventional solar cells by addressing carrier diffusion limitations and enhancing photocurrent generation. The multiferroic/ferroelectric layer provides improved electron transmission and charge transport properties, while the quantum dot layer enhances light absorption. The heterojunction architecture enables high-efficiency solar cells with improved water-splitting capabilities.
15. All-Solid-State Solar Cells with Simultaneously Deposited Quantum Dots and Novel Device Architecture
UNIV HEFEI TECHNOLOGY, 2019
All-solid-state solar cells based on simultaneous deposition of quantum dots and a novel preparation method achieve high efficiency, low cost, and stability through a novel device architecture. The solar cells employ quantum dots as light-absorbing materials, which are deposited simultaneously with the photovoltaic layer through a novel deposition process. This approach eliminates the need for organic solvents and high-temperature processing, while maintaining the quantum dot's inherent properties. The device architecture enables efficient charge carrier collection and transport, resulting in improved photovoltaic performance compared to conventional quantum dot solar cells.
16. Light-Absorbing Layer with Quantum Dots and Intermediate Band Structure for Two-Stage Absorption
Kao Corporation, KAO CORP, 2019
A light-absorbing layer for solar cells that enables efficient two-stage light absorption through a novel intermediate band structure. The layer comprises a bulk semiconductor with a bandgap energy of 2.0 eV or more and 3.0 eV or less, combined with quantum dots that are dispersed in a matrix of the semiconductor. The quantum dots contain a halogen element ligand, which enables efficient absorption of light in the 500 nm to 900 nm range through a two-step process. The layer's intermediate band structure facilitates further absorption of light in the 600 nm to 900 nm range, leading to improved quantum yield and enhanced solar conversion efficiency.
17. Quantum Dot Ink Manufacturing Method Involving Phase-Transfer Ligand Exchange for Uniform Dispersion
Kookmin University Industry-Academic Cooperation Foundation, Kookmin University Industry Academy Cooperation Foundation, 2019
Quantum dot ink manufacturing method for solar cells that achieves high efficiency and uniformity through a simplified process. The method involves preparing a two-component solution containing quantum dots capped with a ligand and an inorganic compound, followed by a phase-transfer exchange reaction to replace the ligand with a shorter-molecular-weight ligand. The resulting quantum dots are dispersed in a solvent to produce a uniform quantum dot ink. This approach enables the production of high-quality quantum dots with reduced surface defects, improved charge mobility, and enhanced photoelectric conversion efficiency, while maintaining the simplicity of the process compared to conventional ligand exchange methods.
18. Semiconductor Photoconverters with InGaAs Quantum Dots on GaAs Heterostructures Featuring Stress-Relieved Absorption
OBSCHESTVO S OGRANICHENNOY OTVETSTVENNOSTYU SOLAR DOTS, Limited Liability Company Solar Dots, SOLAR DOTS LLC, 2018
Semiconductor photoconverters using quantum dots in GaInAs-based heterostructures achieve higher efficiency than traditional cascading structures by leveraging stress-relieved quantum dot absorption. The technology employs InGaAs quantum dots grown on GaAs surfaces with 20-50% indium concentration, providing enhanced absorption beyond the GaInAs bandgap while maintaining current matching with GaInAs-based photovoltaic cells. This approach enables improved spectral sensitivity matching across the GaInAs bandgap, resulting in higher photocurrent densities compared to conventional cascading structures.
19. Plasma Droplet Epitaxial Gallium Arsenide Quantum Dot Solar Cell with Metal Nanoparticle Spatial Arrangement via Mask Etching
University of Electronic Science and Technology of China, UNIVERSITY OF ELECTRONIC SCIENCE AND TECHNOLOGY OF CHINA, 2018
Plasma droplet epitaxial gallium arsenide quantum dot solar cell with improved efficiency through controlled metal nanoparticle deposition. The method employs a mask etching process to create precise metal nanoparticle structures adjacent to quantum dots, enabling precise control over their spatial arrangement. This approach enables the formation of regular and ordered quantum dot structures, which are essential for achieving high efficiency in quantum dot solar cells.
20. Solar Cells with ZnSe/ZnS Colloidal Quantum Dots Featuring Core-Shell Structure and Layer-by-Layer Deposition
BINZHOU UNIVERSITY, 2017
Solar cells with enhanced spectral response through the use of ZnSe/ZnS colloidal quantum dots. The solar cells incorporate ZnSe/ZnS colloidal quantum dots with negatively charged sulfhydryl groups and positively charged amino groups, which form a core-shell structure. These colloidal quantum dots are prepared through surface electrostatic interaction and are deposited in a layer-by-layer fashion onto a Si-based solar cell surface. The ZnSe/ZnS colloidal quantum dots enable efficient transfer of ultraviolet photons to the solar cell, thereby improving its spectral response beyond the conventional Si-based solar cells.
21. Solar Cell with Multilayer Type II Quantum Well and Type I Quantum Dot Active Region Structure
Nanjing Tech University, NANJING TECH UNIVERSITY, 2017
Solar cell with improved photoelectric conversion efficiency through the use of a multilayer quantum well/1 type quantum dot structure in the active region. The cell features a lower electrode, a lower contact layer, a back field layer, an active region layer, a window layer, and an upper contact layer arranged from bottom to top. The active region layer comprises a multilayer type II quantum well/1 type quantum dot laminated structure, where the type I quantum dot layer is positioned on top of the type II quantum well layer. This configuration enables the efficient separation of electron and hole wave functions, which is critical for achieving high conversion efficiency in solar cells.
22. Solar Cell with Quantum Dot Superlattice Structure for Enhanced Visible Spectrum Absorption
UNIV TOKYO, 2017
A solar cell with enhanced quantum dot absorption through a novel superlattice structure. The cell incorporates a quantum dot layer composed of direct bandgap semiconductor material, which absorbs light in the visible spectrum, and a barrier layer made of indirect bandgap material. The barrier layer is alternately stacked with the quantum dot layer, creating a superlattice structure that enhances the absorption of light in the visible spectrum through quantum confinement effects. This arrangement enables efficient conversion of visible light into electrical current while maintaining high carrier extraction efficiency.
23. Solution-Based Passivation of Semiconductor Nanoparticles Using Cationic Reagents
GOVERNING COUNCIL OF THE UNIV OF TORONTO, 2017
Passivation of semiconductor nanoparticles using a solution-based approach to achieve high efficiency solar cells. The method involves treating semiconductor quantum dots with a solution containing a cationic reagent that selectively binds to surface anions, followed by treatment with a cation-containing reagent. This process forms a passivated core with cations, which enables the formation of high-efficiency solar cells through the absorption of visible and infrared light. The solution-based approach eliminates the need for organic ligands, enabling nanocrystal-to-nanocrystal passivation and improved carrier mobility.
24. Quantum Dot Solar Cells with Self-Assembled Monolayer Interface Incorporating Benzene Ring for Ligand Exchange Protection
UNIST(ULSAN NATIONAL INSTITUTE OF SCIENCE AND TECHNOLOGY), Ulsan National Institute of Science and Technology, 2017
Quantum dot solar cells with enhanced efficiency through a novel interface modification. The solar cells incorporate a self-assembled monolayer (SAM) layer at the interface between the quantum dot layer and a metal oxide layer, which contains a benzene ring with pi-pi interaction. This SAM layer protects the quantum dots from ligand exchange damage during the deposition process, leading to improved photovoltaic performance. The solar cells achieve a power conversion efficiency of 10.7% and demonstrate enhanced current density, voltage, and charging efficiency compared to conventional quantum dot solar cells.
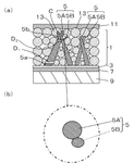
25. Photoelectric Conversion Device with Selectively Doped Quantum Dot Layers Exhibiting Bandgap Energy Differentiation
KYOCERA CORP, 2017
A photoelectric conversion device that enhances conversion efficiency through selective doping of quantum dots. The device comprises a semiconductor material with a quantum dot layer 7A and layer 7B, where the quantum dot layer 7A has a lower bandgap energy compared to layer 7B. This creates a bandgap energy difference between the two layers, enabling the formation of an energy band that directs photoelectrons from layer 7A to layer 7B. By selectively doping layer 7A with a dopant that introduces a valence difference between the semiconductor material and the dopant, the energy band can be engineered to direct photoelectrons from layer 7A to layer 7B, thereby improving conversion efficiency.
26. Quantum Dot Solar Cell with Variable Dopant Concentration and Particle Size-Dependent Bandgap
CONTINENTAL AUTOMOTIVE GMBH, 2016
Quantum dot solar cell with enhanced carrier mobility and efficiency through optimized quantum dot arrangement. The cell features a quantum dot layer with a higher concentration of n-type dopant atoms compared to p-type dopant atoms, and the quantum dot layer with smaller average particle size has a higher bandgap energy. This arrangement enables the quantum dot layer with the smaller particle size to absorb light at longer wavelengths, while the n-type layer absorbs light at shorter wavelengths. The optimized arrangement maximizes carrier mobility and light absorption, leading to improved solar cell efficiency.
27. Photoelectric Conversion Layer with Quantum Dot Integrated Semiconductor Film and Columnar Members
KYOCERA CORP, 2016
A photoelectric conversion layer for solar cells that enhances carrier collection efficiency by integrating quantum dots into a uniform semiconductor material film. The layer comprises a columnar member that extends between adjacent quantum dot integrated portions, with each portion having a uniform semiconductor material composition. This design enables carrier collection through enhanced carrier mobility and reduced carrier recombination, while maintaining high open circuit voltage through optimized bandgap alignment.
28. Strained Heterojunction Quantum Dot Solar Cell with Ge/Si Structure and Adjustable Si Layer Thickness for Strain Management
JIANGSU ELECTRIC POWER COMPANY, Jiangsu Electric Power Company, NANJING POWER SUPPLY COMPANY JIANGSU ELECTRIC POWER CO, 2016
Solar cell device based on strained heterojunction quantum dots that improves efficiency through controlled strain management. The device comprises a Ge/Si quantum dot structure grown on a doped silicon substrate, where the Ge quantum dots exhibit strain-dependent energy band characteristics. The strain is managed by varying the thickness of the Si thin film layer, which in turn influences the internal Ge quantum dot strain. This controlled strain environment enables precise tuning of the forbidden band width, enhancing the matching between the quantum dots and the solar spectrum. The device achieves improved conversion efficiency through optimized quantum dot energy levels.
29. Solar Cell with Quantum Dot and Quantum Wire Integrated Photoelectric Conversion Layer
KYOCERA CORP, 2016
Solar cell with enhanced photoelectric conversion efficiency through the integration of quantum dots and quantum wires within a quantum dot-based photoelectric conversion layer. The solar cell features a quantum dot integrated portion with quantum wires that exhibit a bandgap of 1.7 ± 0.2 eV and diameters between 2-6 nm. The quantum wires are arranged in a 10% or greater diameter ratio, enabling multiple quantum dot absorption across a wide spectral range. This architecture enables higher photoelectric conversion efficiency compared to conventional solar cells with single-junction photovoltaic cells.
30. Solar Cell with Silicon Nanocrystals and Silicon Dioxide Layer Forming Quantum Well
SEIKO EPSON CORP, 2016
A solar cell with improved photoelectric conversion efficiency through the use of nanocrystal grains as quantum dots. The solar cell employs silicon nanocrystals as quantum dots and a silicon dioxide dielectric layer, which enables efficient carrier extraction through the formation of a quantum well. The nanocrystal grains have a bandgap that is significantly smaller than the silicon dioxide dielectric layer, allowing the quantum well to be formed with a bandgap of 7.9 eV. This enables the creation of a quantum well with a continuous electron energy band, where electrons can be efficiently excited to the conduction band and collected as current. The silicon nanocrystals are dispersed with good controllability through a controlled precipitation process, allowing precise control over the quantum well's bandgap and carrier distribution.
31. Quantum Dot Solar Cell with Interstitial Quantum Dot Layer Between p-n Semiconductor Layers
KYOCERA CORP, 2016
Quantum dot solar cell with enhanced carrier collection efficiency through optimized quantum dot arrangement. The cell features a quantum dot layer sandwiched between p-type and n-type semiconductor layers, with the quantum dots arranged to fill the space between the p-type and n-type base portions. This configuration enables carriers generated in the quantum dots to be more effectively collected and converted into electrical charge.
32. Photoelectric Conversion Element with Nanowire Columnar Structure and Quantum Dot Encapsulation by Tunneled Barrier Layers
NATIONAL UNIVERSITY CORPORATION TOKYO UNIVERSITY, 2016
A photoelectric conversion element that achieves high photoelectric conversion efficiency through controlled carrier transport. The element comprises a semiconductor layer, a wire layer containing nanowires extending in columns along the thickness direction of the semiconductor layer, and a barrier layer that surrounds the quantum dot layers in a direction perpendicular to the thickness direction. The barrier layer has a bandgap larger than the bandgap of the quantum dot layer in the direction perpendicular to the thickness direction, with the barrier layer's thickness determined to allow tunnel conduction. This configuration enables efficient carrier transport between the quantum dot layers and the barrier layers, with the barrier layers selectively positioned to control the carrier flow.
33. Quantum Dot Solar Cell with Multi-Section Carrier Collection Architecture
KYOCERA CORP, 2016
Quantum dot solar cell with enhanced carrier collection efficiency through optimized carrier transport pathways. The cell incorporates a quantum dot integrated portion with a specially designed carrier collection architecture that enables efficient collection of carriers from the quantum dot layer to the substrate interface. The collection architecture comprises multiple carrier collection sections with different orientations, ensuring optimal carrier transport through the semiconductor layers. This design enables improved carrier collection and increased photoelectric conversion efficiency compared to conventional designs.
34. Quantum Dot Solar Cell with Alternating Bandgap Layers and Columnar Carrier Collection Units
KYOCERA CORP, 2016
Quantum dot solar cell with enhanced carrier collection properties through optimized quantum dot arrangement. The cell features alternating quantum dot layers with different bandgaps, where each layer contains columnar carrier collection units extending in the thickness direction. These collection units are positioned at regular intervals in the layers, creating a uniform carrier distribution across the solar cell surface. By arranging the collection units in a specific pattern, the distance between them varies, enabling more efficient carrier collection while minimizing local carrier depletion. The arrangement also enables uniform carrier collection across the solar cell surface, resulting in improved photoelectric conversion efficiency.
35. Quantum Dot Solar Cell with Curved Side Surface Quantum Dot Film Architecture
KYOCERA CORP, 2016
Quantum dot solar cell with enhanced carrier collection through optimized quantum dot film architecture. The cell features a substrate, a quantum dot integrated film with curved side surfaces, and an electrode layer. The curved side surfaces of the quantum dot integrated film create a unique interface geometry where carriers can more effectively interact with the columnar body. This design enables improved carrier collection and increased photoelectric conversion efficiency compared to conventional solar cells.
36. Solar Cell with Heterojunction Structure Combining Carbon Quantum Dots and Silicon Nanowires
Hefei University of Technology, HEFEI UNIVERSITY OF TECHNOLOGY, 2016
A solar cell with enhanced efficiency through a novel heterojunction structure combining carbon quantum dots (CQDs) with silicon nanowires. The cell features a N-type silicon substrate with a metal back electrode layer, followed by a thin layer of N-type silicon nanowires on the surface. Above this nanowire layer, a P-type carbon quantum dot thin film is deposited, followed by a metal electrode layer. The carbon quantum dot layer serves as a photoactive material, while the metal electrode layer enables efficient electron transport. The nanowire structure enhances carrier collection and light absorption, while the carbon quantum dot layer provides a high-efficiency photocatalyst. This architecture enables high-efficiency solar cells with improved light absorption and electron collection compared to conventional solar cells.
37. Solar Cell with Multilayered Gallium Arsenide Quantum Dots in Indium Gallium Arsenide Quantum Well
NATIONAL CHUNG HSING UNIVERSITY, 2015
Solar cell with gallium arsenide quantum dots in an In0.75Ga0.25As well, featuring improved photocurrent density and efficiency through multilayered quantum dot growth in the well. The solar cell comprises an n-type layer, an absorption layer with quantum well and capping layer, and a p-type layer. The absorption layer is coated with gallium arsenide quantum dots in the well, which are arranged in a multilayered structure. The solar cell achieves enhanced photocurrent density and efficiency by utilizing gallium arsenide quantum dots in the well, while maintaining open circuit voltage.
38. Light Receiving Element with GaAs/AlAs Superlattice and InAs Quantum Dot Layer
SHARP KK, 2015
A light receiving element for solar cells that enhances carrier extraction efficiency through a novel superlattice semiconductor structure. The element comprises a barrier layer with alternating layers of GaAs and AlAs, followed by a quantum dot layer containing InAs. The barrier layer's Sb content ratio and quantum dot spacing are optimized to achieve maximum carrier extraction efficiency. The superlattice structure is sandwiched between p-type and n-type semiconductor layers, enabling efficient carrier collection through quantum dot absorption.
39. Quantum Dot Composite with Biomineralized Semiconductor Particles in Uniform Matrix Film
KYOCERA CORP, 2015
Quantum dot composite for solar cells that achieves high efficiency through a novel approach. The composite comprises semiconductor particles with quantum dots in a matrix containing a semiconductor material, where the quantum dots are precipitated from a metal compound solution through biomineralization. This composite is integrated into a solar cell structure, where the matrix particles surround the quantum dots to form a uniform film. The composite's unique structure enables high quantum efficiency through the formation of a uniform quantum dot distribution across the matrix.
40. Solar Cell with Quantum Dot Layer Featuring Graded Size-Induced Mini-Band Structure
KYOCERA CORP, 2015
Solar cell with enhanced carrier extraction efficiency through a novel quantum dot layer design. The solar cell features a quantum dot layer sandwiched between p-type and n-type semiconductor regions, with the quantum dot layer's band structure engineered to create a coherent mini-band across the entire layer. This is achieved by gradually increasing the quantum dot size as it transitions from the central portion to the semiconductor interfaces, effectively creating a resonant tunneling effect between adjacent quantum levels. The design enables efficient carrier extraction from the quantum dot layer to the p-type and n-type semiconductor regions, overcoming conventional limitations in carrier collection.
41. Single-Crystal Polyhedral Quantum Dots with Variable Planar Surfaces for Enhanced Light Absorption
CONTINENTAL AUTOMOTIVE GMBH, 2015
Quantum dots for solar cells that enhance light absorption beyond conventional semiconductor structures. The quantum dots are composed of single-crystal polyhedral structures with a polyhedral shape surrounded by planes, with particle sizes between 1-10 nm. These quantum dots are deposited on the solar cell surface, where they absorb light across a broad spectrum due to their unique structural properties. The quantum dots enable higher light absorption efficiency compared to conventional semiconductor structures, thereby achieving theoretical limits of solar cell efficiency.
42. Photovoltaic Cells with Quantum Dot-Enhanced Optical Absorber Layers Covering Broad Spectrum
PETHURAJA GOPAL G, 2015
Enhancing the efficiency of photovoltaic cells through the use of quantum dots in their optical absorber layers. The quantum dots, which can be made from various semiconductor materials such as PbS, GaSb, InSb, InAs, and CIS, are engineered to cover a broad spectrum of solar energy, including infrared, visible, and ultraviolet light. By incorporating these quantum dots into the optical absorber layer, the photovoltaic cells can achieve higher conversion efficiencies compared to conventional solar cells. The quantum dots enable the separation of charge carriers as soon as they are generated, significantly reducing charge recombination and increasing overall efficiency.
43. Solar Cells with Quantum Dots in Three-Layer Configuration Featuring Low-Resistance Barrier Layer and Transparent Conductive Film
KYOCERA CORP, 2015
Solar cells with enhanced photoelectric conversion efficiency through the application of quantum dots. The solar cells incorporate quantum dots in a three-layer configuration with a barrier layer surrounding the quantum dots. The barrier layer has a specific resistance lower than the quantum dots in the central portion, enabling carrier collection. The barrier layer's thickness can be controlled to optimize carrier collection efficiency. The solar cells achieve improved conversion efficiency by maximizing carrier collection through the barrier layer while maintaining high quantum confinement. The barrier layer's transparency is achieved through the use of a transparent conductive film, such as AZO, with a bandgap of 3.5 eV or less.
44. InGaAs Quantum Dot Solar Cell with Epitaxial Growth and Composite Anti-Reflection Coating
SUZHOU QIANGMING PHOTOELECTRIC CO LTD, 2015
InGaAs quantum dot solar cell with optimized structure and materials for enhanced efficiency. The solar cell employs a novel epitaxial growth process that incorporates a specific anti-reflection coating strategy to improve the quantum dot solar cell's performance. The coating, comprising a composite of magnesium fluoride and zinc sulfide, provides a high-quality surface for the quantum dot layers, while the pressure welding and packaging process ensures precise assembly of the solar cell components. The optimized structure enables the creation of high-density, multiple-layer quantum dot solar cells with improved absorption matching to the solar energy spectrum.
45. Solar Cell with Strain-Engineered Quantum Dots on Silicon Substrate for Enhanced Light Absorption
Jiangsu Electric Power Company Nanjing Power Supply Company, JIANGSU ELECTRIC POWER CO, STATE GRID CORPORATION OF CHINA, 2015
A solar battery that utilizes strain-engineered quantum dots to enhance light absorption and conversion efficiency. The solar cell incorporates strain-modulated quantum dots within a silicon substrate, where the strain engineering enables precise control over the forbidden band width. This enables optimal matching between the quantum dot's energy levels and the solar spectrum, resulting in improved conversion efficiency compared to conventional quantum dot solar cells. The strain engineering process involves creating strain-induced lattice distortions in the silicon substrate, which are then used to create the quantum dots. The resulting solar cells achieve higher efficiency through enhanced light absorption and collection.
Get Full Report
Access our comprehensive collection of 45 documents related to this technology
