Laser Scribing Techniques for Solar Cell Module Integration
Laser scribing in solar cell manufacturing requires precise control of beam characteristics across multiple material layers. Current processes must maintain positioning accuracy within 10-20 micrometers while managing thermal effects that can propagate up to 100 micrometers from the scribe line. These tolerances become particularly critical when scribing through functional layers that range from 100 nanometers to several micrometers in thickness.
The fundamental challenge lies in achieving high-speed, precise material removal while preventing thermal damage, micro-cracks, and electrical degradation in the surrounding cell structure.
This page brings together solutions from recent research—including selective absorption layers for thermal damage mitigation, stationary laser modules with sequential processing capabilities, and controlled beam positioning systems for stress minimization. These and other approaches focus on maintaining cell efficiency while enabling high-throughput manufacturing processes.
1. Precision Laser Machining Using Controlled Beam Spot Size for Photovoltaic Trench Formation
NETHERLANDS ORGANIZATION FOR APPLIED SCIENTIFIC RESEARCH TNO, Netherlands Organisation for Applied Scientific Research TNO, 2024
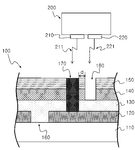
Precision laser machining for photovoltaic manufacturing through controlled spot size optimization. The method employs laser scribing with precisely controlled beam spot sizes to achieve precise trench formation while minimizing collateral damage. The laser beam's Rayleigh length and divergence are optimized to ensure precise spot placement and minimize material exposure. This approach enables the creation of precise photovoltaic structures without the need for large, expensive needle arrays or high-power laser systems.
2. Solar Cell with Laser-Induced Strip-Shaped Dicing and Microcrack Mitigation
Suzhou Canadian Solar Power Technology Co., Ltd., CHANGSHU CSI ADVANCED SOLAR INC, SUZHOU CSI SOLAR TECHNOLOGIES CO LTD, 2024
Solar cell with enhanced microcrack resistance and improved dicing performance. The solar cells feature a unique dicing process that creates strip-shaped cells through mechanical fragmentation rather than traditional wafering. The process utilizes high-frequency laser pulses to break the solar cells into uniform strips, eliminating the formation of microcracks during the dicing process. This approach enables the creation of high-quality solar cells with reduced material waste and improved dicing characteristics. The solar cells are then assembled into photovoltaic modules with improved mechanical integrity and reduced manufacturing defects.
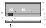
3. Laser Scribing Device and Method with Stationary Laser Module and Sequential Layer Processing for Thin Film Solar Cells
RENSHUO SOLAR SUZHOU CO LTD, 2023
Laser scribing method and device for thin film solar cells that avoids issues of electric leakage and improves scribing accuracy. The method involves moving the solar cell substrate relative to a stationary laser module, instead of moving the laser module. This allows scribing all layers except the front electrode with the first laser, then scribing the front electrode with the second laser. The first laser's wider scribing width prevents electric leakage between modules. The device has a base plate and a parallel-moving light source module with linear motors. Two lasers are integrated on the module and move together with the substrate.
4. Solar Cell with Non-Invasive Functional Layer Laser Marking
ZHEJIANG JINKO SOLAR CO LTD, 2023
Solar cell with a marking method that avoids damaging the silicon wafer during cell production. The marking is done on a functional layer formed on the cell's front surface instead of directly on the wafer. Low-power lasers are used to create indentations in the functional layer for cell tracking. This allows identification without penetrating the wafer and preventing damage. The indentations are shallow and confined to the functional layer.
5. Device for High-Speed Non-Destructive Scribing of Solar Cells with Mounting Frame and Sequential Laser System
FUNING GCL SYSTEM INTEGRATION TECHNOLOGY CO LTD, Funing GCL Integration Technology Co., Ltd., 2023
Non-destructive scribing device for high-speed solar cells that enables precise material processing while maintaining product integrity. The device features a mounting frame that supports a conveyor belt and a laser system, with the laser and nozzle group positioned in a controlled sequence. The mounting frame is equipped with a correction mechanism for aligning the material feed position. The conveyor belt transports the solar cells, and the laser system sequentially cuts and cools the material. The device's flexibility allows for simultaneous processing of multiple solar cell fragments.
6. Laser Scribing System with Controlled Beam Positioning for Stress Minimization in Solar Cells
ZHONGWEI NEW ENERGY CO LTD, 2022
Reducing material loss during laser scribing of solar cells by optimizing the laser scribe process. The laser scribe process is improved by controlling the laser beam position during scribing to minimize stress concentrations and cracking in the solar cell structure. The process achieves high scribe rates while maintaining precise control over the laser beam position to prevent uneven scribe lines and stress concentrations. This approach enables laser scribing of solar cells with enhanced material integrity and reduced material loss during the process.
7. Semiconductor Layer with Selective Absorption for Mitigating Thermal Damage in Laser-Induced Groove Formation
LG ELECTRONICS INC, 2022
Reducing thermal damage in laser-induced groove formation in solar cells by employing a novel semiconductor layer that selectively absorbs laser energy. The layer, comprising a material with a higher absorption coefficient than the substrate, is integrated into the solar cell's semiconductor layer. This selective absorption enables thermal damage mitigation during laser groove formation, particularly when using laser wavelengths below 600 nm. The layer can be formed on the substrate's rear surface or in the semiconductor layer, and its absorption characteristics can be optimized for specific laser wavelengths.
8. Method for Manufacturing Solar Cells with Laser-Assisted Metallization Contacts and Bonding
SUNPOWER CORP, 2021
A method for manufacturing solar cells with integrated metallization contacts through laser-assisted patterning and bonding. The process involves creating laser-assisted metallization contacts on solar cells through laser patterning of metal foil, followed by bonding the metal foil to the solar cell backside. The metallization contacts are formed using laser-assisted patterning of metal foil, and the bonding process enables direct electrical connection between the metal foil and the solar cell backside. The metallization contacts are then integrated into a solar cell string along with conventional interconnects, enabling efficient and reliable solar cell connections.
9. Sequential Laser Scribing and Splitting Method for Photovoltaic Module Chip Cutting
Deyun Chuangxin Technology Co., Ltd., DEYUN CHUANGXIN TECHNOLOGY CO LTD, 2021
Method and photovoltaic module for reducing cutting efficiency loss of solar cell chips, particularly in laser-sliced photovoltaic modules. The method involves sequential laser scribing followed by controlled laser splitting, where the laser cuts the battery chip during manufacturing, reducing fragmentation and damage. This approach enables efficient cutting without requiring the entire chip, thereby minimizing post-processing losses.
10. Method for Laser-Assisted Selective Doping in Solar Cell Dicing Operations
MATSUSHITA ELECTRIC INDUSTRIAL CO LTD, 2020
Manufacturing method for solar cells that maintains power generation efficiency during cutting operations. The method involves preparing solar cells for dicing by arranging dopants on one surface and doping with laser irradiation. The dopants create regions with different impurity concentrations on the surface facing the laser, while maintaining the dopant concentration on the back surface. This creates a selective doping pattern that ensures the laser energy is focused on the area with higher dopant concentration, preserving the solar cell's electrical properties during cutting.
11. Method for Forming Solar Cell Strings Using Laser-Cut Conductive Pillar Interconnects
ZHEJIANG AIKO SOLAR ENERGY TECH CO LTD, 2020
A novel method for producing solar cell strings that eliminates the risk of cracking during soldering. The process involves creating a matrix of interconnects on the solar cell surface before assembly. The interconnects are formed through a series of laser cuts through the cell's silicon layer, creating conductive pillars that are then connected to the cell's front grid lines. The pillars are positioned to ensure that they are in contact with the front grid lines, while the interconnects are positioned to be in contact with the back grid lines. This configuration prevents the formation of cracks during soldering, while maintaining the structural integrity of the solar cell string.
12. Laser-Assisted Method for Precise Through Groove Formation in Solar Cells
WKCERGY SUZHOU PHOTOVOLTAIC TECH CO LTD, 2020
A method for creating through grooves in solar cells through precise laser cutting, enabling efficient and controlled structural modification. The method employs a laser to selectively cut through the solar cell's thickness while maintaining cell integrity, eliminating the need for mechanical cutting techniques that can damage the cell structure. The laser is programmed to alternate its cutting path through the cell, ensuring precise control over the groove's orientation and depth. This laser-assisted cutting approach enables the creation of through grooves in solar cells without disrupting the cell's structural integrity, making it particularly suitable for manufacturing solar cells with complex geometries.
13. Photovoltaic Cell Processing Device with Laser Scribing and Integrity-Preserving Welding System
ZHEJIANG TRUNSUN SOLAR CO LTD, Zhejiang Chuangsheng Photovoltaic Energy Co., Ltd., 2020
A photovoltaic cell processing device that enables precise cutting and welding of half-cell batteries without compromising their structural integrity. The device employs a laser scribing system to create precise cut lines in the wafer surface, followed by a specialized welding process that preserves the battery's structural integrity. The device's unique approach ensures that the back grid line remains intact during the welding process, eliminating potential cracking and fragmentation issues that can occur when welding exposed battery edges.
14. Method for Laser Scribing and Cleaning in Transparent Solar Cell Component Fabrication
BEIJING SIFANG AUTOMATION . LTD, 2019
A method for preparing transparent solar cell components that enables high-speed production of light-transmissive solar cells while maintaining power generation characteristics. The method employs a laser cleaning and scribing process to create precise, insulated regions within the solar cell, followed by a second laser treatment to remove the thin film layer while maintaining the scribed regions. This approach enables the creation of transparent solar cell components with both high transmission efficiency and reliable power generation. The laser cleaning step is performed without damaging the power generation areas, while the second laser treatment precisely removes the thin film without causing short circuits. The laser processing speed of 30 cm/s is significantly higher than traditional machining methods, enabling faster production rates while maintaining operational reliability.
15. P-Type PERC Double-Sided Solar Cell with Backside Aluminum Grid and Laser-Defined Grating Lines
ZHEJIANG AIKO SOLAR ENERGY TECH CO LTD, 2019
A P-type PERC double-sided solar cell with enhanced efficiency through a novel double-side architecture. The cell features a backside aluminum grid with laser-defined grating lines, enabling improved light transmission and carrier transport between the front and back surfaces. This architecture replaces the conventional all-aluminum rear field with a patterned backside structure, while maintaining the PERC technology that enables high-efficiency solar cells. The cell's unique double-side design provides superior performance compared to conventional single-side PERC cells.
16. Laser Scribing System with Dual-Zone Simultaneous Cutting and Disk Indexing Mechanism
SUZHOU CHENZHENG SOLAR EQUIPMENT CO LTD, 2019
A multifunctional laser scribing system for photovoltaic module production that enables simultaneous laser cutting of solar cells in two dedicated zones. The system comprises a frame, loading/unloading mechanism, rotating picking device, disk indexing mechanism, CCD camera, laser cutting unit, and two laser scribing units. The laser cutting unit is positioned in one zone, while the disk indexing mechanism enables simultaneous laser cutting in the other zone. The system features an automatic cell feeding mechanism that transports cells to the laser cutting unit, ensuring efficient production while maintaining high cell quality.
17. In-Situ Laser Scribing Apparatus with Integrated Diode-Pumped Solid-State Laser for Direct Photovoltaic Material Processing
SHENGXIAN COMMERCE AND TRADE CO LTD, Shengxian (Shanghai) Trading Co., Ltd., Shengxian (Shanghai) Commerce and Trade Co., Ltd., 2018
In-situ laser scribing apparatus for manufacturing thin-film solar cells and other semiconductor devices. The apparatus enables direct laser scribing of photovoltaic materials in their native form, eliminating the need for vacuum chambers and vacuum sputtering. The system employs a laser diode pump source and a high-power diode-pumped solid-state laser, which are combined in a single apparatus. The laser scribes the photovoltaic material directly, enabling faster and more efficient processing compared to traditional vacuum-based techniques.
18. System and Method for Laser Scribing Solar Panels with Arbitrary Line Shapes and Patterns
THE CHINESE UNIVERSITY OF HONG KONG, 2018
System and method for laser scribing solar panels and solar panels, and more specifically, to laser scribing lines with arbitrary shapes and patterns on solar panels, and solar panels board. The system enables precise laser inscription of complex patterns on solar panels by creating custom laser lines with curved shapes and varying line spacing. This approach addresses the challenges associated with conventional laser scribing techniques, particularly for thin film solar panels on flexible substrates, by enabling the creation of precise and controlled laser lines.
19. Solar Cell Fabrication Using Laser Patterned Ion-Implanted Etch-Resistant Layers
SUNPOWER CORP, 2018
Solar cell fabrication process that enables high-throughput production of solar cells with improved efficiency through laser patterning of ion-implanted etch-resistant layers. The process uses laser scribing to create trench/p-polysilicon junctions in implanted regions, followed by selective etching to preserve the implanted regions while creating trenches in the substrate. This laser patterning enables the formation of self-aligned trench/p-polysilicon junctions at the center of implanted lines, where high boron implant doses and out-diffusion concentrations are typically found. The laser patterning enables the creation of trench/p-polysilicon junctions with improved electrical properties compared to conventional mask-based patterning techniques.
20. Method for Manufacturing Solar Cells Using Overlapping Laser-Induced Breakdown Spectroscopy Scribing Patterns with Controlled Overlap and Scan Period
LG ELECTRONICS INC, 2018
A method to manufacture solar cells through a novel scribing process that minimizes thermal damage during the cutting process. The method employs an integrated scribing pattern where two parallel laser-induced breakdown spectroscopy (LIBS) patterns are created in the solar cell surface. The laser patterns are designed to overlap in a controlled manner, with each pattern having a specific scan period and open section. This pattern arrangement ensures that the laser energy is concentrated in the overlapping regions, reducing thermal damage by preventing the formation of recombination sites. The overlapping pattern design also enables the laser to maintain its oscillation frequency during the cutting process, while the open sections allow the cell to cool. This approach enables the creation of solar cells with improved power conversion efficiency while minimizing thermal damage.
21. Laser-Scribing Method for Solar Panels Using Image-Processed Coordinate Transformation
THE CHINESE UNIVERSITY OF HONG KONG, 2018
A method for laser-scribing solar panels with precise, patterned lines that maintain their shape during the scribing process. The method employs image processing to transform captured line coordinates into scribing coordinates, ensuring accurate alignment of subsequent laser lines. This approach eliminates the conventional issues of pattern distortion caused by thermal expansion and substrate movement during laser inscription. The method enables the creation of complex patterns with precise control over line geometry, enabling artistic designs on solar panels while maintaining performance characteristics.
22. Full-Laser Scribing Method for CIGS Thin-Film Solar Cells with Sub-Micron Line Widths and Edge Integrity
BEIJING SIFANG AUTOMATION CO LTD, BEIJING SIFANG CRENERGEY OPTOELECTRONICS TECHNOLOGY CO LTD, 2018
A full-laser scribing method for high-efficiency CIGS thin-film solar cells that achieves sub-micron line widths and eliminates edge breakage through focused laser operation. The method uses a laser with repetition frequency up to 30 MHz to enable precise line formation with widths as low as 200 μm. The laser beam is focused onto the solar cell surface or through a substrate, enabling precise control over scribing parameters. This approach significantly improves processing speed compared to traditional mechanical needle scribing methods, while maintaining high efficiency and reducing production costs.
23. Laser Scribing Device with Tandem Configuration and Integrated Dust Collection for Silicon Solar Cells
Qingdao Ruiyuan Dingtai New Energy Technology Co., Ltd., QINGDAO RUIYUAN DINGTAI NEW ENERGY TECHNOLOGY CO., LTD., 2018
Laser scribing device for silicon-based solar cells that enables efficient and environmentally friendly photovoltaic assembly. The device employs a tandem laser configuration with front and rear laser paths, along with a dust collection system and a blowing system. The tandem arrangement enables simultaneous laser cutting and surface cleaning, while the dust collection system prevents silicon contamination. The device's unique configuration allows for both precise cutting and thorough surface preparation, thereby enhancing photovoltaic efficiency and reducing post-processing waste.
24. Solar Cell with Laser-Scribed Symmetrical Multi-Gate Structure
Yingli Energy (China) Co., Ltd., YINGLI ENERGY CO LTD, 2018
A solar cell with optimized multi-gate structure that minimizes package loss and improves power density. The cell features a laser-scribed middle region that divides the solar cell into two symmetrical halves, each comprising a multi-gate structure. This design enables the cell to be fabricated using standard glass processing techniques, eliminating the need for specialized glass preparation steps. The symmetrical design ensures uniform cell performance across the module, while the multi-gate structure enhances current collection efficiency.
25. Method for Precision Scribing of Solar Cells Using Laser Irradiation and Simultaneous Cleaning Gas Application
LG ELECTRONICS INC, LG Electronics Inc., 2018
Method for manufacturing solar cells by dividing them into smaller units through controlled scribing, while maintaining power generation efficiency. The process involves positioning the solar cells on a jig with their front and rear surfaces exposed, then creating a controlled scribe groove through laser irradiation. A specialized cleaning gas is applied simultaneously to the laser-irradiated surface to prevent dust accumulation. This approach enables precise scribing while preserving the solar cell's power generation capabilities.
26. High-Density Solar Panels with Overlapped Photovoltaic Strip Elements and Laser-Ablated Scribe Regions
SOLARIA CORP, 2017
Manufacturing high-density solar panels using overlapped photovoltaic strip elements to increase power output while reducing series resistance losses. The process involves creating multiple parallel photovoltaic strips on a substrate, where each strip is a portion of a cell. The strips are arranged in a pattern to achieve higher power density, with each strip having a specific thickness and width. The process involves laser ablation of the substrate to create scribe regions, which are then selectively removed to create the strips. This approach enables the creation of high-power solar panels with reduced series resistance while maintaining efficient current flow.
27. Double-Sided PERC Solar Cell with Laser-Based Alignment for Aluminum Paste Positioning
浙江爱旭太阳能科技有限公司, ZHEJIANG AIKOSOLAR TECHNOLOGY CO LTD, 2017
A double-sided PERC solar cell with laser alignment enables precise positioning of aluminum paste during printing. The method employs laser marking to accurately determine the laser slotted position relative to the wafer edges, ensuring consistent printing alignment. This laser-based alignment system eliminates the traditional edge-based alignment method, which can introduce irregularities in the wafer shape. The laser alignment process enables precise control over the aluminum paste distribution during printing, resulting in improved solar cell performance and reduced defect rates.
28. Thin-Film Solar Cell Panel Laser Scribing System with Sequential Process and Frequency-Adjusted Multi-Laser Alignment
MANUFACTURING INTEGRATION TECHNOLOGY LTD, 2017
Laser scribing of thin-film solar cell panels through a novel sequential process. The process employs a linear drive system with multiple laser sources that operate at distinct frequencies, creating a space between the input and output stations. The laser beams pass through a transparent substrate while maintaining a precise vertical alignment, enabling parallel scribing of thin-film layers on the front and rear electrodes. The process achieves parallel strip division by monitoring the reference edge of the workpiece and adjusting laser beam frequencies for precise alignment. This sequential approach enables efficient parallelization of the solar cell's front electrode while maintaining electrical isolation between parallel strips.
29. Method for Laser-Defined Slot Openings in Aluminum Paste Alignment for PERC Solar Cell Backside Processing
ZHEJIANG AIXU SOLAR ENERGY TECH CO LTD, 2017
A method for preparing high-efficiency P-type PERC solar cells using laser alignment to improve precision in aluminum paste placement during backside processing. The method employs a laser to create precise slot openings for the aluminum paste, enabling accurate alignment of the laser grooves with the edge of the silicon wafer. This laser marking process eliminates the traditional edge alignment method's limitations, resulting in improved precision and reduced defect rates in PERC solar cell production.
30. Integrated Laser Scribing and Adhesive Application Tool with Continuous Conveyor System
ALMOGY GILAD, 2017
A multi-operation tool for laser scribing and adhesive application on photovoltaic cells. The tool integrates a laser scribing station and an adhesive printing station into a single system that moves along a continuous conveyor path. The cell platform continuously traverses this path, allowing cells to be processed from loading through lasing and printing without reversing direction. This eliminates the sequential nature of traditional laser cutting and bonding operations, enabling continuous processing of solar cells.
31. Multi-Step Solar Cell Scribing with Nanosecond Laser and Mechanical Cutting Operations
Taiwan Semiconductor Manufacturing Company Limited, TAIWAN SEMICONDUCTOR MANUFACTURING COMPANY LTD, 2017
Solar cell laser scribing method that enables precise and efficient patterning of solar cells through a multi-step process. The method employs a nanosecond laser cutting operation followed by controlled mechanical cutting operations to create scribe lines in solar cells. The laser cutting step selectively removes material in the scribing area, while subsequent mechanical cuts maintain the integrity of the underlying solar cell structure. This approach eliminates thermal damage and fragmentation typically associated with conventional laser scribing, ensuring high-quality cell separation and maintaining cell efficiency.
32. Manufacturing Method for Thin-Film Solar Cells on Flexible Stainless Steel Substrates with Laser Scribing and Insulating Layer Protection
BEIJING SIFANG CHUANGNENG PHOTOELECTRIC TECH CO LTD, 2017
Method for manufacturing thin-film solar cells on flexible stainless steel substrates using laser scribing. The method employs a stainless steel substrate with an insulating layer, followed by laser scribing of the solar cell components. The laser scribing process uses defocusing to prevent damage to the insulating layer during the laser operation. This approach enables the fabrication of solar cells on flexible stainless steel substrates without the need for screen printing or traditional internal battery series connections.
33. Method for Integrated Laser Scribing and Annealing in Thin Film Solar Cell Fabrication
LG CHEMICAL LTD, 2016
A method for manufacturing thin film solar cells that enables simultaneous patterning of photovoltaic cells and their electrical connections. The method integrates photovoltaic cell fabrication with patterning and electrical assembly in a single process, eliminating the need for separate patterning steps. The photovoltaic cells are patterned by laser scribing, followed by deposition of a transparent electrode layer that is then laser annealed to form conductive regions at the patterned positions. This integrated patterning and assembly approach enables efficient production of solar cells with integrated photovoltaic cells and electrical connections, while minimizing processing steps and defects.
34. Roll-to-Roll Fabrication Method for Laser-Etched Silicon-Based Thin-Film Solar Cells on Flexible Substrates
SHANGHAI INSTITUTE OF SPACE POWER-SOURCES, 2016
A method for preparing laser-insulated silicon-based thin-film solar cells on flexible substrates through a roll-to-roll process. The method involves forming the solar cell structure on a flexible substrate roll, etching the solar cell structure from the front side, and then cutting the solar cell into individual cells through the laser-etched grooves. The solar cells are then slit to create individual cells. This approach enables the production of solar cells with uniform electrical insulation, improved weather resistance, and enhanced durability on flexible substrates.
35. Interdigitated Back Contact Solar Cells with Laser-Processed Contact Isolation and Junction Emitters
LEVY DAVID HOWARD, 2016
Low-cost interdigitated back contact solar cells that achieve high efficiency through a novel laser-transfer process. The solar cells incorporate heterojunction or tunnel junction emitters with laser-processed contacts, where the laser process creates isolated regions between the contacts and semiconductor layers. This approach eliminates the conventional front-side contacts and their associated processing steps, while maintaining efficient charge carrier transport mechanisms. The laser process enables precise control over contact isolation and semiconductor layer doping, enabling high-efficiency solar cells with reduced manufacturing complexity and cost.
36. Thin Film Solar Cell with Laser-Induced Layer Separation and Etching for Reduced Electrode Contact Resistance
SUNSHINE PV CORP, 2016
Manufacturing a thin film solar cell with reduced contact resistance between electrode layers through a novel patterning process. The process involves mechanically separating the absorbing and buffer layers between adjacent cells using laser-induced removal, followed by laser-induced etching to create a trench at a predetermined depth. This separation enables precise control over the secondary layer thickness, specifically targeting the back electrode layer where contact resistance typically occurs. The laser etching process preserves the underlying electrode structure while selectively removing the secondary layer, thereby enhancing the solar cell's photoelectric conversion efficiency.
37. Automated Photovoltaic Scribing System with Conveyor-Integrated Dynamic Laser Positioning and Feedback Control
SOLARCITY CORP, 2016
A system for precise photovoltaic structure scribing that automates the division of solar cells into strips through automated groove creation. The system uses a conveyor belt to move the solar cells under a laser scribing apparatus, which simultaneously scribes a predetermined groove depth on the photovoltaic structure surface. The system employs a feedback loop to dynamically adjust the scribing tool position based on the conveyor speed, ensuring consistent groove depth while maintaining structural integrity. This automated process enables precise division of solar cells into strips, eliminating manual alignment challenges that are typically encountered in traditional photovoltaic manufacturing.
38. Laser Scribing Method for Internal Interconnection of Flexible Copper-Inhibited Selenium Thin-Film Solar Cells
CHINA ELECTRONIC TECHNOLOGY GROUP CORPORATION NO.18 RESEARCH INSTITUTE, 2016
Flexible copper-inhibited selenium thin-film solar cell interconnection method for flexible substrates. The method employs a combination of laser scribing techniques to create precise internal connections between solar cells in a flexible substrate. The process involves sequential laser scribing of the internal p-n junctions using both 1064nm and 532nm wavelengths, followed by injection of insulating glue through the scribed channels. This enables reliable and efficient interconnection of flexible solar cells on flexible substrates.
39. Laser Scribing Method for Encoding Unique Identifiers on Crystalline Silicon Solar Cell Wafers
Han's Laser Technology Industry Group Co., Ltd., HANS LASER TECHNOLOGY INDUSTRY GROUP CO LTD, 2016
A method for tracking crystalline silicon solar cell wafers through laser scribing, enabling precise identification and classification of individual wafers during manufacturing. The method involves creating precise laser grooves on the wafer surface using a focused laser beam, which are then encoded with unique identifiers. The encoded grooves serve as a permanent mark on the wafer surface, enabling accurate tracking and classification during the manufacturing process. This approach eliminates the need for traditional cutting and inspection methods, while maintaining high precision and reliability.
40. Manufacturing Method for Solar Cells Using Spatially Varying Intensity Gradient Laser Patterning Technique
THE CHINESE UNIVERSITY OF HONG KONG, The Chinese University of Hong Kong, 2016
Manufacturing method for solar cells that enhances energy density through optimized patterning. The method employs a novel patterning technique that utilizes spatially varying intensity gradients to create a laser beam spot profile. This approach eliminates the conventional intensity gradient issue that limits laser beam spot size, thereby increasing the energy density of the laser beam. The patterning technique enables the production of high-efficiency solar cells without compromising laser beam quality.
41. Method for Laser-Scribed Thin-Film Solar Cells Using Controlled Insulating Tape Ablation
GUANGDONG HANERGY THIN FILM SOLAR POWER CO LTD, Guangdong Hanergy Thin Film Solar Co., Ltd., 2015
A method for producing laser-scribed thin-film solar cells through controlled laser ablation of insulating tapes. The method enables precise laser etching of insulating layers without the need for manual tape removal, eliminating the manual labor and environmental concerns associated with traditional laser scribing techniques. The laser ablation process creates the necessary insulating layers while maintaining the solar cell's structural integrity, enabling high-performance solar cells with improved edge insulation.
42. Automated Laser Scribing System for Solar Cells with Integrated Precision Processing Techniques
WUHAN DR LASER TECHNOLOGY CO LTD, 武汉帝尔激光科技有限公司, 2015
Fully automatic laser scribing of solar cells through advanced automation and processing techniques. The invention enables high-volume production of solar cells through a fully automated laser scribing system that combines advanced processing technologies with high-precision laser cutting capabilities. The system employs advanced automation and processing techniques to achieve high-volume production of solar cells while maintaining high precision and quality.
43. Method for Laser-Induced Patterning of Solar Cell Base and Emitter Regions via Selective Ablation of Passivation Layers
SOLEXEL INC, 2015
A novel method for laser-induced damage-free patterning of solar cell base and emitter regions through selective laser ablation of transparent passivation layers. The process involves depositing a laser-absorbent passivation layer on the solar cell surface, patterning it using laser ablation, and then annealing the patterned layer to create crystalline regions. This approach eliminates the need for conventional doping and patterning steps while preserving the underlying silicon structure. The laser-absorbent passivation layer is selectively removed through annealing, allowing precise patterning of the crystalline regions.
44. Method for Fabricating Back-Contact Solar Cells Using Screen Printing and Laser Ablation with Doped Region Formation
University of Stuttgart, 2015
A method for producing high-efficiency back-contact solar cells using screen printing and laser ablation techniques. The process involves creating precise doped regions on the back of the solar cell through laser doping, followed by local opening of contact areas through laser ablation. The printed contacts are then deposited on the back surface, with an anti-reflective coating applied to the front side. This integrated approach enables precise control over the doped regions and contact patterns, while minimizing the number of lithography steps required for patterning and metal deposition.
45. Multi-Axis Scribing Apparatus with Stage and Needle Movement for Parallel Thin Film Patterning
SAMSUNG SDI CO LTD, 2015
A scribing apparatus for manufacturing solar cells through a novel, multi-axis scribing process that enables simultaneous patterning of multiple thin film layers. The apparatus employs a stage and needle installation unit that moves both the stage and the scribing needles during the process, enabling parallel scribing of multiple scribing lines across the substrate. This multi-axis capability allows for efficient patterning of multiple thin film layers, including light absorption layers, reflective layers, and transparent electrodes, while maintaining high precision and control over the scribing process.
46. Single-Pulse Laser Ablation Method for Dielectric Layers in Solar Cells
SUNPOWER CORP, 2015
A novel method for ablating dielectric layers in solar cells using a single laser pulse. The method employs a laser with a pulse duration of 1-10 microseconds to generate a burst of energy that selectively perforates the dielectric layers, particularly the amorphous silicon layer, while maintaining structural integrity. The laser pulse is synchronized with the dielectric layer's thermal expansion properties to ensure precise ablation of the desired layer thickness. This approach enables efficient dielectric ablation without requiring multiple laser pulses or specialized equipment, while preserving the solar cell's structural integrity.
47. Three-Beam Laser Cutting Method for Selective Electrode Layer Removal in Thin Film Solar Cells
NEXPOWER TECHNOLOGY CORP, 2015
Laser cutting method for removing thin film solar cell structures through selective removal of electrode layers using three laser beams. The method employs a three-beam laser cutting process where the first beam removes the back electrode and light-absorbing layer, the second beam removes the front electrode layer, and the third beam removes the remaining layer. The second and third beams have different diameters and wavelengths compared to the first beam, enabling precise selective removal of the electrode layers while minimizing damage to the underlying layers.
48. Laser Scribing Method for Compound Thin-Film Solar Cells Using Ultrashort Pulse Beams
NAT INST OF ADV IND & TECHNOL, 2015
Method for producing high-efficiency compound thin-film solar cells through laser scribing of thin-film solar cell structures. The method employs a laser scribing process that selectively removes a defined width of the solar cell structure, rather than the conventional mechanical scribing method. The laser scribing process uses ultrashort pulse laser beams to selectively remove the solar cell structure, preserving the light absorption layer while creating precise groove patterns. This approach enables the creation of solar cells with reduced dead area, improved module integration, and enhanced conversion efficiency compared to conventional laser scribing methods.
49. Method for Producing Thin-Film Solar Cells Using Controlled Thermal Gradient with Perpendicular Groove Formation
HONDA MOTOR CO LTD, 2015
Method for producing high-efficiency thin-film solar cells through a novel approach to removing thermal damage from the back surface electrode during laser processing. The method involves creating a controlled thermal gradient by forming a perpendicular groove at a specific distance from the modified end surface, allowing the thermal damage to be selectively removed while preserving the structural integrity of the solar cell. This approach enables the production of solar cells with improved electrical performance compared to conventional methods.
Get Full Report
Access our comprehensive collection of 49 documents related to this technology
