Organic-Inorganic Tandem Solar Cells
Modern tandem solar cells combine organic and inorganic materials to overcome the Shockley-Queisser efficiency limit of single-junction devices. While silicon cells achieve ~26% efficiency, adding a perovskite top cell can theoretically push combined efficiency beyond 43%. However, current laboratory devices struggle with interface recombination losses and stability challenges at the critical organic-inorganic boundary.
The fundamental challenge lies in engineering stable interfaces between dissimilar materials while maintaining efficient charge transport across the junction.
This page brings together solutions from recent research—including mutually doped connection layers, optimized tunneling structures, textured substrate architectures, and novel electrode designs. These and other approaches focus on practical implementations that can scale beyond laboratory demonstrations while maintaining long-term stability.
1. Solar Cell with Integrated Mutually Doped Connection Layer for Tandem Configuration
SHENZHEN HEIJING PHOTOELECTRIC TECH CO LTD, 2024
A solar cell with improved tandem solar cell performance through the use of a mutually doped connection layer. The connection layer integrates the hole transport layer from the perovskite top cell and the N-type electron selection layer from the heterojunction bottom cell, eliminating the need for separate tunneling layers. This design eliminates contact resistance and recombination losses typically associated with conventional tandem solar cells.
2. Tandem Solar Cell Module with Perovskite Layer and Dual Transport Layer Configuration
SHANGRAO JINKO SOLAR TECHNOLOGY DEVELOPMENT CO LTD, 2024
Solar cell module with improved efficiency and reliability through a tandem structure featuring a perovskite compound layer. The module comprises a perovskite layer, a transport layer, and a second transport layer, with the perovskite layer forming a thick film and uniform composition. The second transport layer is arranged below the perovskite layer and has a different material or structure. The perovskite layer is connected to a bottom electrode, while the second transport layer is connected to a bottom electrode. The perovskite layer is stacked on top of the transport layers, forming a tandem structure with a larger area than the perovskite layer. The module achieves enhanced efficiency through the tandem architecture while maintaining reliability through the single-layer second transport layer.
3. Tandem Solar Cell with Specific Perovskite Layer Configuration and Side Insulating Layer
SHANGRAO XINYUAN YUEDONG TECH DEVELOPMENT CO LTD, 2023
Solar cell with enhanced tandem structure that achieves higher efficiency and reduced current leakage through optimized perovskite layer design. The cell comprises a tandem structure with two photoelectric conversion layers, each featuring a perovskite compound layer, transport layers, and electrodes. The perovskite layers are arranged in a specific configuration to minimize current leakage while maintaining high photoelectric conversion efficiency. The cell architecture incorporates a side insulating layer that abuts the perovskite layers, with a pad electrode and busbar electrodes extending along the minor axis. This configuration enables the tandem structure to achieve improved tandem efficiency while maintaining current leakage properties.
4. Laminated Tandem Solar Cells with Sequentially Arranged Sub-Cells and Tunneling Structure Featuring Auxiliary Layer
NINGDE CONTEMPORARY AMPEREX TECHNOLOGY CO LTD, Contemporary Amperex Technology Co., Limited (CATL), 2023
Laminated solar cells with improved efficiency and stability through a novel tandem architecture. The cells comprise a first sub-cell with a light-absorbing layer, a transport layer, and a second sub-cell with a transport layer, light-absorbing layer, and transport layer. The sub-cells are arranged in a specific sequence along the incident solar direction, with the second sub-cell having a transport layer between its light-absorbing layer and transport layer. The sub-cells are joined by a tunneling structure with a body layer and an auxiliary layer, where the auxiliary layer is between the body layer and the transport layer in the second sub-cell. This configuration enables enhanced carrier transport efficiency while maintaining stability through the auxiliary layer.
5. Three-Tandem Perovskite/Silicon Solar Cell with Middle Contact Layer and Buried Contacts
KING FAHD UNIVERSITY OF PETROLEUM AND MINERALS, 2023
Three-tandem (3T) perovskite/silicon (PVT)-based tandem solar cell that achieves high power conversion efficiency through a novel tandem architecture. The cell comprises an antireflection coating, a transparent conductive oxide layer, a hole transport layer, a perovskite layer, an electron transport layer, and buried contacts. The perovskite layer serves as the top sub-cell, while the silicon solar cell acts as the bottom sub-cell. The middle contact layer enables current collection between the two sub-cells. The cell achieves efficiency of 25% and demonstrates improved performance compared to conventional 2T and 4T tandem architectures.
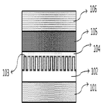
6. Tandem Solar Cells with Textured Silicon Substrates and Intermediate Ordering-Inducing Layer for Controlled Perovskite Growth
LONGI GREEN ENERGY TECHNOLOGY CO LTD, 2023
Tandem solar cells that achieve higher photoelectric conversion efficiency through a novel approach to forming functional layers on textured silicon substrates. The cells employ a textured silicon substrate as the bottom cell, with a perovskite absorption layer grown on a second ordering-inducing layer located between the bottom cell and the hole transport layer. The second ordering-inducing layer acts as an intermediate layer that enables controlled growth of the perovskite absorption layer, while the hole transport layer grows in an ordered manner with improved crystallinity and grain size. This approach addresses the challenges of forming uniform layers on textured substrates, particularly in perovskite solar cells where conventional solution-based deposition methods face issues of material accumulation and disorder.
7. Tandem Laminated Solar Cell with Stacked Perovskite and Silicon Layers
YUNNAN NORMAL UNIVERSITY, 2023
A tandem laminated solar cell with improved conversion efficiency by using a stack of perovskite and silicon layers instead of a single layer. The cell has a sequence of transparent electrode, electron transport layer, perovskite layer, silicon layer, hole transport layer, and carbon electrode. The perovskite layer absorbs short wavelength light, while the silicon layer absorbs long wavelength light, expanding the response range and increasing absorption. The layers are fixedly connected and prepared using deposition or spin coating methods.
8. Solar Cell with Organic Light-Absorbing Layer Featuring Donor-Acceptor Material Separation
珠海富山爱旭太阳能科技有限公司, Zhejiang Aiko Solar Energy Technology Co., Ltd., ZHEJIANG AIKOSOLAR TECHNOLOGY CO LTD, 2023
A solar cell with improved light absorption and transmission through a novel organic light-absorbing layer design. The layer comprises a donor material and an acceptor material, allowing separate absorption and transmission paths for light. This separation enables enhanced light absorption by the donor material and efficient light transmission by the acceptor material, resulting in improved overall photoelectric conversion efficiency. The layer is deposited using a solution coating method, enabling precise control over its composition and thickness.
9. Tandem Solar Cell with Tunnel Oxide and Phosphorus-Doped Polysilicon Connection Layer
LONGi Green Energy Technology Co., Ltd., LONGI GREEN ENERGY TECHNOLOGY CO LTD, 2023
A tandem solar cell with improved performance through a novel connection layer design. The cell comprises a bottom cell, a top cell, and a connection layer arranged between them. The connection layer incorporates a tunnel oxide layer, a phosphorus-doped polysilicon film, and a metal oxide layer in sequence from bottom to top. The phosphorus-doped polysilicon film is prepared through a thermal evaporation process before metal oxide deposition, followed by annealing treatment to enhance its properties. This connection layer architecture enables the perovskite cell to establish a direct electron-hole recombination pathway while maintaining the crystalline silicon cell's performance.
10. Tandem Solar Cell with Integrated Doped Electron Transport Layer Tunnel Junction
VALSTYBINIS MOKSLINIU TYRIMU INSTITUTAS FIZINIU IR TECHNOLOGIJOS MOKSLU CENTRAS, 2022
A two-terminal tandem solar cell design with a simplified structure and improved efficiency compared to conventional tandem cells. The cell has a layered structure with a silicon base, emitter, electron transport layer, tunnel junction, and perovskite layer. The tunnel junction is formed by doping a region of the electron transport layer adjacent to the silicon emitter during deposition. This eliminates the need for additional processing steps and materials like tunnel junction layers to connect the silicon and perovskite cells. The doped junction provides low resistance contact while being transparent to higher energy silicon cell photons. This reduces power losses and improves overall efficiency compared to separate tunnel junctions.
11. Tandem Solar Cell with Cadmium Selenide Top Cell and Crystalline Silicon Bottom Cell
UNIV HUAZHONG SCIENCE TECH, 2022
A tandem solar cell made by stacking a cadmium selenide (CdSe) top cell and a crystalline silicon bottom cell. The CdSe cell absorbs high-energy light and the silicon cell absorbs lower energy light, improving overall conversion efficiency beyond what a single CdSe or silicon cell can achieve. The CdSe cell is made by evaporating CdSe onto a transparent electrode, and the silicon cell is made by growing silicon layers on a substrate. The cells are then stacked and connected in series to create the tandem solar cell.
12. Tandem Solar Cell with Transparent Conductive Oxide Junction Layer and Perovskite Active Layer
COMMISSARIAT ENERGIE ATOMIQUE, 2022
A simplified tandem solar cell structure that achieves comparable photoelectric performance to conventional tandem structures while reducing fabrication complexity. The structure comprises a transparent conductive oxide (TCO) layer and a perovskite active layer, with a conductive transparent oxide junction layer that serves both as a recombination junction and load selection interface. The TCO layer enables direct contact between the perovskite active layer and the silicon substrate, while the TCO junction layer facilitates efficient current collection. This architecture eliminates the need for multiple interfaces and series resistances typically present in conventional tandem structures.
13. Tandem Solar Cell with Stacked Selenium-Doped Cadmium Telluride and Perovskite Photovoltaic Cells Featuring Distinct Layer Configuration
CNBM OPTOELECTRONIC MATERIALS CO LTD, 2022
A tandem solar cell comprising two photovoltaic cells with different bandgaps, where the tandem cell achieves improved efficiency by stacking the cells. The tandem cell comprises a substrate, light absorption layer, back contact buffer layer I, back contact buffer layer II, and back electrode layer arranged in sequence. The selenium-doped cadmium telluride cell has a substrate, light absorption layer, back contact buffer layer I, back contact buffer layer II, and back electrode layer, while the perovskite cell has a substrate, hole transport layer, light absorption layer, and back electrode layer. The selenium-doped cadmium telluride cell is arranged opposite to the perovskite cell, with the negative electrode of the selenium-doped cadmium telluride cell facing the perovskite cell's positive terminal.
14. Tandem Solar Cell Structure with Copper-Based Chalcogenide and Perovskite Cells Featuring Tunneling Interconnect
SHENZHEN INSTITUTES OF ADVANCED TECHNOLOGY, 2022
A tandem solar cell structure that improves overall efficiency by combining a copper-based chalcogenide cell with a perovskite cell. The two cells are stacked in sequence with an interconnect between them. The copper-based cell can be cadmium zinc tin selenide, indium gallium selenide, or indium selenide. The copper-based cell provides the bottom cell with a wider bandgap and better match to the perovskite cell's bandgap. The tunneling interconnect allows charge transfer between cells. The stack is built by sequentially growing the cells using vacuum deposition.
15. Solar Cell with Perovskite Photovoltaic Layer and Metal Oxide Intermediate Layer in Metal Anode Structure
SEKISUI CHEMICAL CO LTD, 2022
A solar cell that achieves both high durability and enhanced photoelectric conversion efficiency through a novel anode structure. The solar cell comprises a perovskite-based photovoltaic layer, a metal oxide intermediate layer, and a metal anode. The perovskite layer is combined with the metal oxide intermediate layer and metal anode to form a solar cell with improved durability and photoelectric conversion efficiency compared to conventional solar cells.
16. Multi-Layered Transparent Tandem Organic Solar Cells with Selective UV and IR Blocking and Enhanced Infrared Absorption
NORTH CAROLINA STATE UNIVERSITY, 2022
Transparent tandem organic solar cells that combine power generation and thermal insulation capabilities through a novel multi-layered architecture. The cells employ a series of interconnecting organic active layers with selective blocking of UV and IR wavelengths, while maintaining high transparency. A reflective mirror on the rear sub-cell enhances infrared energy absorption, while a DBR on the rear sub-cell prevents infrared transmission. This configuration enables visible light transmission while achieving high power conversion efficiency and thermal insulation performance.
17. 3-Terminal Tandem Solar Cell with Perovskite Layer and Differential Polarity Front and Back Contacts
CENTRE NATIONAL DE LARECHERCHE SCIENTIFIQUE, 2022
3-terminal tandem solar cell with improved efficiency and cost-effectiveness. The cell features a perovskite-based photovoltaic layer with a front and back interface, and a novel design where the front contacts have different polarities compared to the back contacts. This configuration enables current matching between the front and back layers while maintaining the conventional comb-toothed architecture. The cell architecture combines the benefits of conventional tandem cells with the advantages of perovskite-based photovoltaics, achieving higher efficiency and reduced manufacturing costs.
18. Multi-Junction Tandem Organic Solar Cells with Plasmonic Nanostructures and Bandgap-Optimized Subcells
CHAIRMAN DEFENCE RESEARCH & DEVELOPMENT ORGANISATION, 2021
Multi-junction tandem organic solar cells with plasmonic nanostructures achieve enhanced absorption and efficiency through the combination of organic semiconductor materials and metallic nanostructures. The tandem cells feature a bottom subcell with a high-bandgap material and a top subcell with a low-bandgap material, connected in series or parallel. The bottom subcell contains metallic nanostructures like Ag nanostars, which significantly improve absorption beyond the bandgap limit of the organic material, while the top subcell retains the organic material. This configuration enables efficient absorption across the solar spectrum, with the bottom subcell absorbing light in the visible and near-infrared regions and the top subcell absorbing light in the visible region.
19. Tandem Solar Cell with Metal Oxide and Polymer-Based Interconnection Layer
Kyungpook National University Industry-Academic Cooperation Foundation, KYUNGPOOK NATIONAL UNIVERSITY INDUSTRY-ACADEMIC COOPERATION FOUNDATION, 2021
Tandem solar cell with enhanced efficiency through a novel interconnection layer. The cell features a front and rear cell junction with an interconnection layer comprising a metal oxide, p-type metal, and a neutral polymer. This layer acts as a connecting layer between the front and rear cells, enabling efficient electron-hole recombination while maintaining transparency. The interconnection layer's thickness can be precisely controlled to balance electron transport and light transmission. The cell achieves power conversion efficiencies of 11.5% to 17% through optimized layer configurations.
20. Perovskite Solar Cell with Organic Compound-Enhanced Hole Transport Layer
SEKISUI CHEMICAL CO LTD, 2021
A solar cell with enhanced photoelectric conversion efficiency and thermal stability through a novel hole transport layer design. The cell incorporates a perovskite solar cell structure with an organic-inorganic perovskite photoelectric conversion layer, featuring a hole transport layer between the perovskite layer and the external electrode. The hole transport layer is engineered to incorporate specific organic compounds, such as lithium or magnesium bis(trifluoromethanesulfonimide), which enhance hole mobility while maintaining thermal stability. This design enables high-efficiency solar cells with improved thermal resistance compared to conventional perovskite solar cells.
21. Interconnecting Layer for Tandem Solar Cells with Chromium and Molybdenum Trioxide Bilayer
US GOV AIR FORCE, 2021
An interconnecting layer for tandem solar cells that enables efficient charge carrier collection between subcells through chemically inert interface formation. The layer consists of a bilayer of chromium (Cr) and molybdenum trioxide (MoO3) deposited on a substrate, with a thickness of at least 2 nm. This bilayer provides a chemically stable interface between the photovoltaic layers, while maintaining transparency over 80% in the visible spectrum. The bilayer enables the direct collection of electrons from the front subcell and holes from the back subcell at the interface, without compromising the integrity of the photovoltaic layers.
22. Silicon-Based Double-Sided Organic/Inorganic Heterojunction Solar Cells with Controlled Substrate Thickness
TONGWEI SOLAR ENERGY CO LTD, Tongwei Solar Co., Ltd., 2020
Silicon-based double-sided organic/inorganic heterojunction solar cells that enhance efficiency through optimized substrate thickness. The invention achieves improved cell performance by precisely controlling the thickness of the silicon substrate, enabling more efficient energy conversion while maintaining structural integrity.
23. Organic-Inorganic Hybrid Solar Cell with Transparent Conductive Oxide Electrode Layer
LG CHEM LTD, LG Chem, Ltd., 2020
Organic-inorganic hybrid solar cell with enhanced interface properties and improved current density and energy conversion efficiency. The cell incorporates a transparent conductive oxide (TCO) electrode layer, which replaces conventional metal electrodes. The TCO layer enables direct contact between the organic absorber and metal electrode, enhancing interface characteristics and stability. The hybrid cell architecture combines the advantages of both organic and inorganic materials, offering improved performance compared to conventional solar cells.
24. Organic-Inorganic Composite Solar Cells with Perovskite Layer Directly Interfaced to Transparent Conductive Electrode and Integrated Hole Transport Layer
LG CHEMICAL LTD, 2019
Organic-inorganic composite solar cells with enhanced stability and efficiency, particularly suitable for low-light applications. The cells employ a perovskite-based photoactive layer that directly interfaces with a transparent conductive electrode, while a hole transport layer is integrated between the electrode and the perovskite layer. This configuration enables superior performance under low-light conditions compared to conventional solar cells, while maintaining the benefits of perovskite materials. The manufacturing process involves forming a transparent conductive electrode, creating the perovskite photoactive layer directly on the electrode, and then integrating a hole transport layer between the electrode and the perovskite layer.
25. Parallel Double-Junction Organic/Inorganic Hybrid Solar Cell with Tandem Architecture and Sputtered ITO Surface
UNIV NANKAI, 2018
A parallel double-junction organic/inorganic hybrid solar cell that enables efficient conversion of wide-spectrum solar radiation through a novel tandem architecture. The cell employs a substrate with a sputtered indium-doped tin oxide (ITO) surface, followed by a spin-coated active layer comprising PTB7 and silicon quantum dots. The PCnBM active layer is then deposited on the ITO surface. A zinc oxide nanoparticle layer is applied on top, followed by vacuum-evaporated aluminum electrodes. The cell achieves enhanced absorption of the solar spectrum through the complementary absorption characteristics of the PTB7 and PCnBM active layers.
26. Copper-Inhibited Selenium Perovskite Tandem Solar Cell with Mo/CuZn Metal Layer and Catalytic Electrode Configuration
KAISHENG PHOTOVOLTAIC MATERIALS CO LTD, 2018
A copper-inhibited selenium perovskite tandem solar cell with improved efficiency and durability. The cell employs a novel preparation method that replaces conventional Cu with a copper-free Mo/CuZn metal layer, which enhances the cell's electrical properties while maintaining its structural integrity. The cell architecture features a catalytic electrode, hole transport layer, perovskite layer, insulating layer, and front electrode, with the conductive metal layer on the base glass serving as a critical interface between the perovskite and electrodes. This design enables the incorporation of Cu without compromising the cell's overall performance, while maintaining the benefits of the perovskite material.
27. Flexible Solar Cell with Barrier Layer Encapsulation of Photoelectric Conversion and Insulating Layers
SEKISUI CHEMICAL CO LTD, 2018
Flexible solar cell with enhanced durability through a novel barrier layer configuration. The cell comprises a flexible base material, an insulating layer, an electrode, a photoelectric conversion layer containing an organic-inorganic perovskite compound, a counter electrode, and a barrier layer. The barrier layer seals both the photoelectric conversion layer and the insulating layer, preventing moisture ingress and maintaining the perovskite photoelectric conversion layer integrity.
28. Organic-Inorganic Composite Solar Cell with Dual-Layer Perovskite Structure and Stabilized Transport Layers
LG CHEMICAL LTD, 2017
Organic-inorganic composite solar cell with enhanced stability and efficiency through a two-layer structure. The cell features a light-absorbing layer comprising a perovskite material with a basic structure of a metal halide ion, a hole transport layer, and an electron transport layer. The perovskite layer undergoes phase transition at specific temperatures, while the hole and electron transport layers maintain stability across this temperature range. This dual-layer architecture ensures structural integrity and maintains the perovskite's optical properties, enabling high-efficiency solar cells with improved stability compared to conventional single-layer perovskite solar cells.
29. Thin-Film Tandem Solar Cells with Crystalline Semiconductor and Perovskite Layer Integration
SOLAR-TECTIC LLC, 2017
Thin-film tandem solar cells with optimized architectures for efficient photovoltaic conversion. The design integrates two thin-film layers, with one being a crystalline semiconductor material like Si and the other an intrinsic perovskite material, to create a tandem structure. The perovskite layer serves as a charge separation mechanism, while the Si layer acts as a hole transporter. The tandem architecture achieves optimal charge transport and separation through precise interface engineering, with the perovskite layer providing charge separation while the Si layer facilitates hole transport. The design enables high-efficiency tandem solar cells with reduced processing complexity compared to traditional monolithic cells.
30. Tandem Organic Photoelectric Conversion Element with Bulk Heterojunction Architecture and Layered Wavelength-Specific Absorption
KONICA MINOLTA HOLDINGS INC, 2017
A tandem organic photoelectric conversion element that achieves high efficiency and durability through a novel bulk hetero junction architecture. The element comprises a p-type semiconductor material, an n-type semiconductor material, and multiple layers of organic photovoltaic material. The photovoltaic material layers are combined in a tandem configuration, with the p-type material absorbing shorter wavelengths and the n-type material absorbing longer wavelengths. The photovoltaic material layers are fabricated through a solution process, allowing precise control over their properties. The tandem architecture enables efficient conversion of visible light across a broader spectral range compared to conventional single-layer photovoltaic materials, while maintaining high carrier mobility and durability.
31. Laminated Tandem Solar Cells with Perovskite Top Cell and Silicon Bottom Cell
SUZHOU GCL SYSTEM INTEGRATION TECHNOLOGY INDUSTRY APPLICATION INSTITUTE CO LTD, 2016
Laminated solar cells with improved efficiency through matching top and bottom cells. The cells employ a tandem architecture where the top cell is made from a perovskite material and the bottom cell is made from a silicon material. The perovskite top cell achieves higher efficiency than silicon, but the silicon bottom cell provides a stable base for the perovskite top cell. The laminated structure ensures optimal energy transfer between the two cells, with the perovskite top cell absorbing high-energy photons and the silicon bottom cell absorbing lower-energy photons.
32. Tandem Solar Cells with Dual Donor-Acceptor Heterojunctions and Wide Bandgap Interlayer
UNIV MICHIGAN REGENTS, 2016
High-efficiency tandem solar cells that achieve maximum power conversion through optimized photovoltaic interfaces. The tandem cell comprises two donor-acceptor heterojunctions, where the first donor material forms a donor-acceptor junction with the first acceptor material, and the second donor material forms a donor-acceptor junction with the second acceptor material. The cell incorporates a thick, absorbing subcell with a separation between absorption maxima to minimize spectral overlap and maximize photocurrent. The subcells are separated by a layer comprising a wide energy gap material and either an electron or hole conducting material, which enhances charge collection while maintaining transparency.
33. Hybrid Photovoltaic Cell with Layered Thin Film and Bulk Solar Cell Structure Featuring Dual Band Gap Junctions
SOL VOLTAICS AB, 2016
A hybrid photovoltaic cell combining a thin film solar cell with a bulk solar cell in a single structure. The cell comprises a thin film solar cell disposed in a first layer, with a junction with a first band gap corresponding to a first spectral range; a bulk solar cell disposed in a second layer, positioned below the first layer, having a junction with a second band gap, which is smaller than said first band gap and corresponding to a second spectral range.
34. Stacked Organic-Perovskite Photovoltaic Device with High Energy Bandgap Perovskite Layer
NEWSOUTH INNOVATIONS PTY LTD, 2016
Organic photovoltaic (OPV) devices that achieve higher power conversion efficiency (PCE) through a novel stacked configuration. The devices integrate organic photovoltaic cells with perovskite solar cells, where the perovskite cells have a higher energy bandgap. The perovskite cells are positioned below the organic cells, allowing the organic cells to absorb photons from the perovskite cells. This configuration enables the perovskite cells to contribute significantly to the overall PCE, while the organic cells provide the majority of the absorption. The stacked configuration enables improved absorption and conversion efficiency compared to conventional OPV devices.
35. Hierarchical Organic-Inorganic Hybrid Solar Cell with Multilayer Zinc Oxide and Organic Semiconductor Structure
BEIJING UNIVERSITY OF CHEMICAL TECHNOLOGY, Beijing University of Chemical Technology, 2016
Organic-inorganic hybrid solar cells comprising a photoanode prepared through a novel hierarchical structure comprising a conductive substrate, a zinc oxide seed layer, a one-dimensional zinc oxide and organic semiconductor material mixed layer, and an organic semiconductor layer. The structure is divided into four distinct layers: a conductive substrate layer, a zinc oxide seed layer, a one-dimensional zinc oxide and organic semiconductor material mixed layer, and an organic semiconductor layer. This hierarchical architecture enables efficient carrier transfer and collection through the formation of continuous sub-carrier transport paths, while maintaining the benefits of both organic and inorganic materials.
36. Tandem Solar Cells with Organic Hole-Transport Layer and Perovskite Absorber
BASF SE, 2016
Organic-inorganic tandem solar cells with enhanced power conversion efficiency. The cells integrate a hole-conducting layer comprising organic hole-transporting materials, a perovskite absorber layer, and a transparent conductor layer. The organic hole-transporting materials enable efficient hole transport across the perovskite layer, while the perovskite layer provides high absorption efficiency. The transparent conductor layer ensures efficient charge collection. The integrated architecture achieves high power conversion efficiency through optimized layer stacking and material properties.
37. Hybrid Solar Cell Structure with Organic Layer on Metal Oxide Buffer for Enhanced Charge Separation and Electron Mobility
LG CHEMICAL LTD, 2015
Organic-inorganic hybrid solar cells that achieve higher power conversion efficiency through a novel approach to combining organic and inorganic photovoltaic materials. The hybrid solar cells integrate an organic photovoltaic layer with an inorganic material layer, where the organic layer is formed on a metal oxide buffer layer. This configuration enables enhanced charge separation and electron mobility through the buffer layer, while maintaining the inorganic material's inherent photovoltaic properties. The hybrid structure can be used in both conventional and inverted architectures, offering improved efficiency compared to conventional organic solar cells.
38. Tandem Photovoltaic Cells with Shared Electrode Layer and Distinct Semiconductor Photoactive Layers
MERCK PATENT GMBH, 2015
Tandem photovoltaic cells that achieve higher efficiency through optimized electrode configurations. The cells integrate photoactive layers with different types of semiconductors between electrodes, with a shared electrode layer between the photoactive layers. This configuration enables the generation of equal current from both photoactive layers, thereby maximizing overall efficiency. The shared electrode layer serves as a common interface between the photoactive layers, while the individual photoactive layers provide distinct charge carrier generation mechanisms. The shared electrode layer can be achieved through a liquid-based coating process, enabling uniform charge carrier generation across the cell.
39. Hybrid Tandem Solar Cell with Organic-Inorganic Stacked Architecture and Amorphous Silicon Oxide Interlayer
RESEARCH & BUSINESS FOUNDATION SUNGKYUNKWAN UNIVERSITY, Korea Institute of Science and Technology, KOREA INSTITUTE OF SCIENCE AND TECHNOLOGY, 2015
Organic-inorganic hybrid stacked solar cell that achieves higher efficiency through a novel tandem architecture. The cell comprises a transparent conductive film, a first organic solar cell unit with a p-type semiconductor layer, an intrinsic semiconductor layer, and an n-type semiconductor layer, followed by a second organic solar cell unit with a p-type semiconductor layer, an intrinsic semiconductor layer, and an n-type semiconductor layer. A thin film of amorphous hydrogenated silicon oxide is interposed between the first and second organic solar cell units, and a rear electrode is positioned on the second organic solar cell unit. This tandem architecture enables direct conversion of sunlight into electricity by stacking organic photovoltaic cells on top of inorganic photovoltaic cells.
40. Double-Sided Thin-Film Solar Cell with Magnesium Cadmium and Copper Indium Gallium Selenide Layers on Transparent Substrate
JIANGXI UNIVERSITY OF TECHNOLOGY, 2015
Double-sided thin-film solar cell with high efficiency and low cost by using magnesium cadmium (Cd-MgxTe) and copper indium gallium selenide (CuInxGaxSe2) on both sides. The cell structure is a transparent substrate with a magnesium cadmium top cell absorbing short-wavelength light on one side and a copper indium gallium selenide bottom cell absorbing long-wavelength light on the other side. This allows selective absorption of different solar spectrum parts to improve overall efficiency. The magnesium cadmium and copper indium gallium selenide materials have compatible bandgaps and lattice constants to enable junctionless tandem cells.
Get Full Report
Access our comprehensive collection of 40 documents related to this technology
