Photocatalytic Hydrogen Production Using Solar Cells
Converting solar energy into hydrogen through photocatalysis presents significant efficiency challenges. Current photocatalytic systems achieve solar-to-hydrogen conversion efficiencies of only 1-2% under laboratory conditions, with real-world performance further limited by light absorption constraints, charge carrier recombination, and catalyst degradation over time.
The fundamental challenge lies in simultaneously optimizing light harvesting, charge separation, and catalytic activity while maintaining long-term stability under concentrated solar illumination.
This page brings together solutions from recent research—including dual radiation source integration, novel semiconductor architectures with shaped nanoscale particles, thermoelectric heat management systems, and specialized UV photoconcentrators. These and other approaches focus on practical implementations that can scale beyond laboratory demonstrations while maintaining cost-effectiveness.
1. Photocatalytic Hydrogen Production System with Dual Radiation Source Integration and Specialized Solar Window
FLINDERS UNIV, 2024
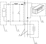
Photocatalytic hydrogen production via a novel system that combines high-energy and low-energy radiation sources to split water into hydrogen and oxygen. The system employs a specially designed window that directs both UV and IR components of solar radiation onto a photocatalyst, enabling the simultaneous absorption of high-energy UV radiation for water splitting and the utilization of low-energy IR radiation to enhance reaction kinetics. The system achieves continuous hydrogen production through a continuous flow of water through the photocatalyst while maintaining optimal operating conditions.
2. Vertically Arranged Photoreactor System with Internal Tubes and Solar Reflector for Photocatalytic Water Splitting
TEWER ENGINEERING S L, 2024
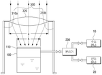
Solar hydrogen production system that enables efficient and cost-effective hydrogen generation through photocatalytic water splitting. The system comprises a vertically arranged photoreactor with internal tubes containing photocatalysts, where concentrated sunlight is absorbed by the tubes and distributed to the photocatalysts. The system incorporates a novel solar reflector design that maximizes internal surface area while minimizing secondary reflector requirements. The system integrates a thermal energy generation unit with a demister to produce water vapor, which is then directed into the photoreactor. The system achieves higher hydrogen production rates compared to conventional photocatalytic systems through optimized tube geometry and concentrated sunlight absorption.
3. Integrated Photovoltaic and Photocatalytic Hydrogen Production System with Variable Amplitude Zigzag Sipes
XIAN JIAOTONG UNIVERSITY, Xi'an Jiaotong University, 2024
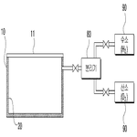
A photovoltaic power generation coupled with photocatalytic hydrogen production system that achieves enhanced energy conversion efficiency through a novel integrated approach. The system comprises a photovoltaic power generation unit, a photocatalytic hydrogen production unit, and a gas collection system. The photovoltaic power generation unit is equipped with a photovoltaic cell array, while the photocatalytic hydrogen production unit is equipped with a photocatalyst layer. The gas collection system comprises a gas flow meter, gas storage tank, and gas-liquid separator. The photovoltaic cell array absorbs solar radiation, which is then converted into electrical energy. The photocatalytic hydrogen production unit absorbs infrared radiation and converts it into hydrogen gas. The gas flow is directed to the gas-liquid separator, where it is separated from the photovoltaic cell array. The separated gas is then stored in the gas storage tank for potential use in hydrogen production. This integrated system enables the efficient conversion of solar radiation into both electrical energy and hydrogen, thereby achieving enhanced energy conversion efficiency compared to traditional photovoltaic systems alone.
4. Photoelectric Cell with Doped Silicon Carbide Electrodes for Enhanced Photocatalytic Water Splitting
THE YELLOW SIC HOLDING GMBH, 2024
A photoelectric cell for hydrogen production through enhanced photocatalytic water splitting utilizing silicon carbide (SiC) electrodes. The cell features a SiC layer with controlled doping, where the doping concentration and purity are optimized to achieve sufficient charge carrier lifetime. The SiC layer is fabricated through a novel process that preserves the intrinsic properties of SiC while enabling efficient charge carrier generation. The resulting SiC electrode exhibits improved photocatalytic activity compared to conventional glass-based electrodes, enabling more efficient water splitting and hydrogen production.
5. Pan-Ultraviolet Photoconcentrator with Integrated UV-Emitting Components and Reflective Wall for Photocatalytic Reaction Tank
INSTITUTE OF PROCESS ENGINEERING CHINESE ACADEMY OF SCIENCES, 2023
Pan-ultraviolet photoconcentrator for hydrogen production through photocatalytic decomposition of water, utilizing concentrated UV light to enhance photocatalytic efficiency. The system employs a reaction tank with integrated UV-emitting components, a reflective wall, and a power adjustment unit. The UV light is concentrated through reflective components to focus the energy onto the reaction tank, where water decomposes into hydrogen and oxygen through photocatalytic decomposition. The concentrated light source is controlled by the power adjustment unit to optimize the photocatalytic process.
6. Semiconductor-Based Photocatalytic Hydrogen Production System with Shaped Nanoscale Particles on Transparent Membranes
TECHNION RES & DEVELOPMENT FOUND LTD, 2023
Photocatalytic hydrogen production through semiconductor-based water splitting utilizing shaped nanoscale semiconductors immobilized on transparent membranes. The system integrates a transparent container with a pressurized water source, a pressurized electron donor source, and a membrane containing shaped semiconductor particles with embedded seeds. The particles are arranged in a controlled arrangement within the membrane, where they photocatalyze water to produce hydrogen, oxygen, and depleted water. The membrane can be periodically replaced to maintain optimal performance, enabling continuous hydrogen production through photocatalytic water splitting.
7. Photocatalytic Hydrogen Production System with Integrated Heat Management and Thermoelectric Generation
ZHEJIANG GAOSHENG PHOTOTHERMAL POWER GENERATION TECHNOLOGY RESEARCH INSTITUTE CO LTD, Zhejiang Gaosheng Solar Thermal Power Generation Technology Research Institute Co., Ltd., 2023
A photocatalytic hydrogen production system that enhances solar water splitting efficiency through a novel heat management architecture. The system comprises a concentrating heat collection component that captures and distributes sunlight to the photocatalytic reaction zones, while a thermoelectric power generation mechanism is integrated below the reaction zones. This configuration enables the system to achieve higher photocatalytic efficiency by optimizing heat management and energy conversion between the concentrated sunlight and the reaction zones. The system employs a semiconductor-based thermoelectric generator that operates between the concentrated sunlight and the reaction zones, providing a closed-loop energy conversion mechanism that enhances the overall photocatalytic performance.
8. Photocatalyst for Enhanced Solar-Driven Hydrogen Production via Water Splitting
Hohhot United Dingsheng Solid Waste Treatment Co., Ltd., 2023
Solar hydrogen production method through photocatalytic water splitting utilizing a novel photocatalyst that enhances light response, separation efficiency, and electron-hole pair dynamics. The photocatalyst enables efficient hydrogen evolution through continuous and long-duration production, overcoming traditional limitations of solar-to-hydrogen conversion methods. The photocatalyst's enhanced light response capability, superior separation efficiency, and optimized reaction conditions enable high-performance hydrogen production while minimizing energy requirements.
9. Photocatalytic Water Splitting Device with Transparent Reaction Unit and Solar Concentrator Assembly
INSTITUTE OF PROCESS ENGINEERING CHINESE ACADEMY OF SCIENCES, Institute of Process Engineering, Chinese Academy of Sciences, 2023
Photocatalytic water splitting device for producing hydrogen through controlled illumination of water. The device comprises a transparent surface reaction unit and a concentrator assembly that focuses concentrated solar energy onto the reaction unit. The concentrator's reflective surface enhances light absorption while maintaining structural integrity. The reaction unit contains a photocatalytic material that converts water into hydrogen under controlled illumination conditions, with the device achieving efficiencies of up to 100 times concentrated sunlight.
10. Integrated Solar Photocatalytic Hydrogen Production and Fuel Cell System with Molecular Sieve Membrane Gas Separator and Gas Turbine
NORTH CHINA ELECTRIC POWER UNIVERSITY, North China Electric Power University, 2023
Solar photocatalytic hydrogen production fuel cell power generation system utilizing photocatalytic hydrogen production and fuel cell technology for efficient and reliable hydrogen production. The system integrates a photocatalytic reactor, gas turbine, and fuel cell to produce high-purity hydrogen while utilizing excess oxygen from the fuel cell. The system employs a molecular sieve membrane gas separator to separate hydrogen from the exhaust gas, ensuring safe operation and preventing hydrogen explosion. The system also incorporates a gas turbine to generate electricity from the exhaust gas, enabling comprehensive energy recovery.
11. Integrated Solar Concentrating Photovoltaic-Photothermal-Hydrogen Production System with Parabolic Reflective Surface and Total Reflection Cone
BEIJING INSTITUTE OF TECHNOLOGY, 2023
A household solar concentrating photovoltaic-photothermal-hydrogen production system integrates solar concentrator, photovoltaic photothermal module, and electrolytic water hydrogen production module to provide green hydrogen and oxygen gas and heat energy for cooking. The system comprises a parabolic reflective surface and a total reflection cone in the concentrating module, which concentrate solar energy onto the photovoltaic cell while maintaining high efficiency. The photovoltaic cell generates electrical energy, which is then fed into the hydrogen production module to electrolyze water and produce hydrogen and oxygen. The system also incorporates a heat exchange system to utilize waste heat from the photovoltaic cell, enabling efficient energy conversion and utilization.
12. Photocatalytic Hydrogen Production Apparatus with Dual-Conversion Optical System for Spectrum Separation and Enhancement
HITACHI LTD, 2023
Hydrogen production apparatus that efficiently separates and refines hydrogen from water through a novel photocatalytic system. The apparatus employs a dual-conversion optical system that separates sunlight into visible and ultraviolet components, with the ultraviolet component being converted to visible light. The visible light is then directed to the photocatalyst, where water decomposition occurs, while the ultraviolet component is converted to visible light. This dual-conversion approach enables the photocatalyst to harness a broader spectrum of sunlight, including infrared components, to enhance hydrogen production efficiency.
13. Photocatalytic Hydrogen Production Device with Dual-Stage Gas Separation and Integrated Heat Management System
ZHEJIANG GAOSHENG PHOTOTHERMAL POWER GENERATION TECHNOLOGY RESEARCH INSTITUTE CO LTD, 2023
A photocatalytic hydrogen production device that achieves efficient hydrogen separation while minimizing external heating requirements through a novel dual-stage gas separation system. The device employs a photocatalytic reactor with integrated gas handling, where protective gas is delivered through a separate delivery system while hydrogen and oxygen are separated through a molecular membrane gas separator. The device incorporates an integrated heat management system that utilizes a heat-absorbing material within the photocatalytic reactor to maintain operating temperatures without the need for external heating equipment. This design enables the separation of hydrogen and oxygen while maintaining optimal operating conditions, thereby overcoming the limitations of conventional one-step photocatalytic hydrogen production methods.
14. Solar-Driven Photoelectric-Thermochemical Hydrogen Production System with Frequency Division and Integrated Spectrum Utilization
UNIV ZHEJIANG, 2023
A solar-driven photoelectric-thermochemical hydrogen production system that maximizes solar energy utilization through frequency division of the solar spectrum. The system employs a concentrator assembly to enhance solar intensity, a frequency division assembly to split the spectrum, a photovoltaic-waste heat utilization device to capture and convert waste heat into electrical energy, a photoelectrolysis device to produce hydrogen through electrolysis, and a thermochemical reaction device to convert waste heat into hydrogen through photocatalytic and pyrolytic reactions. The system achieves higher energy conversion efficiency by using the full spectrum of solar radiation, including UV light, and converting it into clean hydrogen through a combined photoelectric and thermochemical process.
15. Integrated Solar Photocatalytic Hydrogen Production Device with Heat Transfer Fluid Circulation System
Nanjing Xuqing New Material Technology Co., Ltd., 2023
A solar photocatalytic hydrogen production device that integrates a solar heating system with a compact photocatalytic reactor. The device comprises a solar heating system that includes a heat collection portion and a liquid storage tank, where the heat collection portion is connected to the liquid storage tank through a heat transfer fluid circulation path. The solar heating system is specifically designed to efficiently utilize solar energy to generate heat, which is then used to activate the photocatalytic reaction in the reactor compartment. This integrated design enables the production of hydrogen through photocatalytic decomposition while achieving higher efficiency and device compactness compared to traditional photocatalytic systems.
16. Photocatalyst Comprising Semiconductor and Metal Cyanometallate for Visible Light-Induced Water Splitting
UNIV KYOTO, 2023
Photocatalyst for hydrogen generation, water splitting system, and method for hydrogen production that enables efficient water decomposition using visible light. The photocatalyst comprises a semiconductor material that absorbs visible light and a metal cyanometallate supported on the semiconductor. The metal cyanometallate transfers electrons to holes generated in the semiconductor, facilitating water oxidation and oxygen production. This photocatalyst system achieves solar energy conversion efficiency of 5% or higher through enhanced light utilization compared to conventional photocatalysts.
17. Photovoltaic Hydrogen Production System with Hierarchical Control for Dynamic Energy Flow Regulation
SICHUAN HUANENG HYDROGEN ENERGY TECHNOLOGY CO LTD, 2022
Off-grid photovoltaic hydrogen production system that optimizes energy conversion from renewable sources to hydrogen while enhancing overall system efficiency. The system integrates photovoltaic power generation, electrolysis of water, and hydrogen storage through a hierarchical control architecture that dynamically regulates energy flow between these components. The system monitors and analyzes energy consumption patterns across multiple energy sources, predicting and managing power fluctuations to maximize energy conversion. This architecture enables the efficient production of hydrogen from renewable energy sources while maintaining reliable power supply and hydrogen storage.
18. Photoelectrochemical Cell System with Transparent Solar Cell Architecture for Dual Functionality
Solar Light Co., Ltd., SOLAR LIGHT CO LTD, 2022
Transparent solar cell-based photoelectrochemical cell system that enables simultaneous power generation and hydrogen production through a single transparent solar cell architecture. The system comprises a transparent solar cell as the photoanode, a photocathode layer, and a transparent electrode layer. The transparent solar cell functions as both the photoanode and photocathode, while the photocathode layer provides the necessary hydrogen production capability through water decomposition. This integrated architecture enables continuous energy generation through sunlight while simultaneously producing hydrogen through photocatalytic water splitting. The system achieves a transmittance of 60% or more in the visible spectrum, making it suitable for building-integrated energy systems.
19. Integrated Solar Hydrogen Production System with Fresnel Lens and Spectroscope for Photocatalytic Seawater Conversion
HANGZHOU DIANZI UNIVERSITY, 2022
A solar hydrogen production system that integrates solar energy generation, seawater desalination, and photocatalytic hydrogen production through a novel optical system. The system comprises a Fresnel lens, spectroscope, solar power generation device, reaction chamber, honeycomb activated carbon, gas storage device, and fresh water collection device. The Fresnel lens collects concentrated solar energy, while the spectroscope selectively separates UV and IR light. The solar power generation device drives the system, while the reaction chamber utilizes a photocatalytic catalyst to convert seawater into hydrogen. The system achieves high efficiency by utilizing the spectroscope's selective transmission of UV and IR light.
20. Photoelectrochemical Hydrogen Production Module with Integrated Semiconductor Photocatalysts and Dual Gas Generation Spaces
SUZHOU GH NEW ENERGY TECHNOLOGY CO LTD, 2022
Integrated photoelectrochemical hydrogen production module that enables efficient and economical hydrogen production through a novel combination of semiconductor photocatalysts and solar-powered electrolysis. The module comprises a solar cell panel with two separate gas generation spaces, where the solar cell's electrodes are connected to the panel's electrodes. The solar cell's ion exchange membrane enables selective gas exchange between the two gas generation spaces. This design eliminates the need for separate photovoltaic and electrolytic cells while maintaining high efficiency through optimized gas exchange and electrolyte management.
21. DC-Coupled Photovoltaic Hydrogen Production System with Integrated Single-Stage DC/DC Conversion and Dynamic Auxiliary Power Regulation
SHANDONG SEA HYDROGEN ENERGY SCIENCE AND TECHNOLOGY LIMITED CO, 2022
A DC-coupled photovoltaic off-grid hydrogen production system that enables efficient hydrogen production through a single-stage power conversion process. The system integrates a photovoltaic array, electrolyzer, and auxiliary power source into a single DC/DC conversion unit, eliminating the need for separate power conversion stages. The system achieves stable operation by dynamically regulating the auxiliary power source based on the photovoltaic array's output, ensuring optimal hydrogen production while maintaining system stability.
22. Photocatalyst Comprising Dual Metallic Compounds for Tandem Photoelectrochemical Cells
INSTITUTE OF TECHNOLOGY PETRONAS, 2021
A novel photocatalyst for photoelectrochemical cells (PECs) that enables efficient water splitting through tandem arrangement with dye solar cells. The photocatalyst comprises two metallic compounds that respond to different light wavelengths, enhancing photocatalytic performance beyond conventional single-material systems. This tandem architecture enables higher voltage generation by capturing a broader spectrum of light, particularly in the visible region. The photocatalyst's unique composition enables stable operation in water, while its sacrificial reagent capability prevents hydrogen evolution into water. This configuration enables hydrogen production through unassisted photocatalysis, offering a sustainable alternative to traditional solar-powered hydrogen generation.
23. Integrated Solar-Powered Proton Exchange Membrane Electrolysis Device with Multi-Channel Solar Collector and Anode Catalyst Coatings
FUSION WELCOME FUEL UNIPESSOAL LDA, 2021
A device for generating hydrogen from concentrated sunlight through direct coupling of solar energy with proton exchange membrane electrolysis. The device integrates a concentrated sunlight collection system with a proton exchange membrane water electrolysis cell, featuring an integrated solar collector with multiple flow channels, a specially designed anode zone with individual catalyst coatings, and a heat exchanger. The system maintains optimal operating conditions through mechanical compression and thermal management.
24. Hydrogen Gas Generation Process via Water Photolysis Using Manganese Dioxide Photocatalyst and Membrane Oxygen Separation
INST POLITECNICO NACIONAL, 2021
A process for generating hydrogen gas from water using concentrated solar energy and manganese dioxide as a photocatalyst. The process involves the photolysis of water to produce oxygen, which is then separated through a membrane separation process. The oxygen is then converted to hydrogen through a simple reaction with manganese dioxide, generating a bubbly gas mixture that can be collected. This process eliminates the need for artificial light sources, electrolysis, or high-temperature carbon dioxide production, making it an environmentally friendly alternative to traditional hydrogen production methods.
25. Solar and Hydrogen Energy Integration System with Electrolysis-Based Hydrogen Production and Storage
HYUNDAI MOTOR CO, 2020
A solar and hydrogen energy combined power conversion system that improves energy efficiency in an environmentally friendly and efficient manner through photovoltaic power generation and hydrogen production and storage through reforming. The system uses a solar panel to generate electricity which can be used to produce hydrogen through electrolysis. The hydrogen is then stored and can be used to generate electricity when needed. This allows maximizing the use of solar power by converting excess solar electricity to hydrogen during the day and using it as backup power at night or when solar production is low. The system also has controls to optimize hydrogen production based on solar availability and storage levels.
26. Concentrating Fixed Film Solar Photocatalytic Reactor with Parabolic Light Distribution and Integrated Gas-Liquid Separation System
UNIV XI AN JIAOTONG, 2020
A concentrating fixed film solar photocatalytic hydrogen production device that improves the efficiency of hydrogen production through enhanced light distribution. The device comprises a liquid storage tank, a base, a support, a photocatalytic reactor, a concentrating component, and a gas-liquid separator. The concentrating component is a specially designed fixed film structure that utilizes parabolic concentrator technology to concentrate solar energy while distributing it optimally across the photocatalytic reactor. The device incorporates a conical stirring barrel with a stirring rod for reaction solution mixing, a feeding hole at the top for liquid input, and a water outlet hole at the bottom for liquid collection. This innovative design enables precise control over the concentration of light and photocatalytic activity, thereby enhancing the conversion efficiency of solar energy into hydrogen.
27. Integrated Photovoltaic and Electrolysis System with Direct Current Storage for Hydrogen Production
ZHUHAI HENGQIN BOXIN ENERGY CONSTRUCTION CO LTD, 2020
A system for producing hydrogen from solar energy that integrates photovoltaic power generation with hydrogen production. The system employs a high-efficiency solar power generation system, a battery pack, a DC boost unit, a DC bus, and a DC gas reaction electrolysis device to generate direct current power. This DC power is then transmitted to a storage battery pack, where it is stored. The storage battery pack serves as the primary source of hydrogen production through gas reaction electrolysis. This direct conversion of solar energy into hydrogen enables efficient energy storage and distribution, offering a new approach for renewable energy applications.
28. Solar Hydrogen Production Device with Integrated Catalytic Layer and Waterproof Barrier on Water-Splitting Electrode
UNIV NATIONAL CHIAO TUNG, 2019
Solar hydrogen production device for water bodies that utilizes a water-splitting electrode with integrated catalytic layer, employing a waterproof barrier between the electrode and the water body. The device features a solar cell with a waterproof layer, a conductive layer on the back electrode, and a water-splitting electrode on the opposite side of the conductive layer. The catalytic layer is positioned between the conductive layer and the water-splitting electrode, enabling efficient water splitting while preventing water contact with the electrode. The device incorporates a buoyancy-enhancing system for stable deployment on the water surface.
29. Photocatalytic Water-Splitting Hydrogen Generator with Wavelength-Specific Activation
NIE XILIANG, 2019
On-demand hydrogen generator for fuel cell applications that eliminates the need for large storage tanks. The system utilizes photocatalytic water-splitting technology to generate hydrogen through controlled photocatalytic reactions, eliminating the need for traditional storage tanks. The photocatalytic system is engineered to operate at specific wavelengths that match the energy requirements of the water-splitting process, enabling efficient hydrogen production. The system can be integrated into various applications, including fuel cell vehicles, generators, power stations, and batteries, while providing a reliable and efficient means of hydrogen delivery.
30. Photocatalytic Water Splitting System with Morphology-Controlled Semiconductor for Charge Separation
Dalian Institute of Chemical Physics, Chinese Academy of Sciences, DALIAN INSTITUTE OF CHEMICAL PHYSICS CHINESE ACADEMY OF SCIENCES, 2019
A photocatalytic water splitting system that enables efficient hydrogen production from solar energy through a novel photocatalyst design. The system employs a semiconductor photocatalyst with controlled morphology to facilitate redox reactions, where photogenerated charge is separated between crystal planes. The photocatalyst is combined with an electrolyte solution containing electron carriers and protons, which are transported to a photoelectrocatalytic cell for hydrogen production. This integrated approach enables high-efficiency water splitting through controlled charge separation, enabling large-scale solar hydrogen production.
31. Mobile Photocatalytic Hydrogen Production System with Solar-Tracking Concentrator and Integrated Photoreactor
INSTITUTUL NAT DE CERCETARE DEZVOLTARE PENTRU ELECTROCHIMIE SI MATERIE CONDENSATA INCEMC TIMISOARA, 2019
A mobile photocatalytic hydrogen production system utilizing concentrated solar energy and advanced photocatalytic technology. The system integrates a concentrator with a photoreactor mounted on a telescope, enabling precise tracking of solar radiation throughout the photocatalytic process. This configuration enables optimal temperature control and photocatalytic activity, while the telescope enables real-time monitoring of the sun's movement. The system converts photocatalytic hydrogen production into electricity through a combustion cell, offering a sustainable alternative to traditional hydrogen production methods.
32. Hydrogen Generator with Solar Concentrator and Inclined Support for Uniform Photocatalyst Illumination
JEONG HO GAB, Jeong Ho-gap, JEONG SUN IL, 2018
A hydrogen generator that enhances photocatalytic water decomposition efficiency through concentrated sunlight illumination. The system comprises a reaction tank with a plate containing photocatalyst, a solar concentrator to focus sunlight onto the plate, and an inclined support structure to direct the concentrated light onto the photocatalyst. The concentrator is designed to optimize the photocatalyst's response to intense sunlight while maintaining uniform illumination across the plate surface. The system's inclined support structure enables precise control over the angle of the concentrator, ensuring optimal light distribution for enhanced photocatalytic activity.
33. Hydrogen Generation Device with Controlled Lens Rotation and Tilt Mechanism for Photocatalytic Water Splitting Using Concentrated Sunlight
JEONG HO GAB, Jeong Ho-gap, JEONG SUN IL, 2018
A device for generating hydrogen using concentrated sunlight through photocatalytic water splitting. The device employs a specially designed optical system with precisely controlled lens rotation and positioning to maximize the photocatalyst's photoresolving power. The system incorporates a controlled tilt mechanism, which enables the lens to focus sunlight onto the photocatalyst while maintaining optimal angle conditions. The device is integrated with a compact solar collector and water tank, with the photocatalyst positioned at the center of the collector. The system features automatic tilt and rotation control, allowing precise control over the photocatalyst's position and energy distribution.
34. Integrated Solar Photocatalytic Apparatus with Condensing Mirror and Catalytic Box for Hydrogen Production
FOSHAN TENGLI NEW ENERGY TECH CO LTD, 2018
Solar photocatalytic hydrogen production apparatus that enables efficient hydrogen generation from renewable solar energy. The apparatus comprises a condensing mirror, catalytic box, and gas storage tank. The catalytic box is positioned above the condensing mirror through a bracket, with mirrors on both sides and a focusing mirror on the top. The apparatus integrates the catalytic box, condensing mirror, and gas storage tank in a single system, enabling concentrated sunlight to be focused onto the catalytic reaction site. The system is optimized for high-efficiency hydrogen production while minimizing energy consumption through the use of solar concentrator technology.
35. Integrated Solar Energy System with Photocatalytic Hydrogen Generation and Photovoltaic Power Conversion
UNIV TSINGHUA, 2018
A combined system for generating hydrogen and photovoltaic power through comprehensive utilization of solar energy. The system employs a photocatalytic device to convert solar energy into hydrogen, while simultaneously generating power through conventional photovoltaic cells. This integrated approach leverages the unique spectral characteristics of solar energy to achieve efficient energy conversion across multiple frequency bands. The system enables the simultaneous production of hydrogen and photovoltaic power, addressing the challenge of harnessing solar energy in a way that maximizes its potential.
36. Integrated Solar Water Decomposition Device with CZTS Solar Cell and BiVO4 Photoanode for Visible Light-Driven Hydrogen Production
SOUTH CHINA NORMAL UNIVERSITY, 2018
A solar water decomposition device that produces hydrogen using visible light energy without external power. The device comprises a CZTS solar cell, a BiVO4 photoanode, a wire, and a Pt sheet. The CZTS solar cell and BiVO4 photoanode are connected by the wire, while the CZTS solar cell is integrated with the BiVO4 photoanode package. The device achieves hydrogen production through visible light absorption by the BiVO4 photoanode, which cleaves water at a lower voltage than conventional semiconductor materials. The Pt sheet provides additional catalytic activity. This integrated system enables direct sunlight-based hydrogen production through a self-sustaining photocatalytic process.
37. Photocatalyst with Surface Plasmon Resonance and p-n Junction Interface for Extended Charge Carrier Lifetime
SABIC GLOBAL TECHNOLOGIES BV, 2017
Photocatalysts that enhance hydrogen production from water through improved charge carrier lifetime, enabling more efficient water splitting reactions. These photocatalysts combine a surface plasmon resonance material with a p-n junction interface in a semiconductor material, where the plasmon resonance enhances charge carrier transfer and recombination delay. The material's p-n junction and metal surface plasmon resonance properties work in concert to slow electron-hole recombination, allowing more electrons and holes to participate in the water splitting reaction. This approach enables photocatalysts to achieve higher hydrogen production rates compared to conventional materials, particularly under conditions with lower light intensities.
38. Mixed Phase Titanium Dioxide Nanoparticles with Adjustable Anatase-to-Rutile Ratio and Isothermal Conversion for Enhanced Charge Carrier Transfer
SABIC GLOBAL TECHNOLOGIES BV, 2017
Mixed phase titanium dioxide photocatalysts that enable efficient water splitting through enhanced electron-hole transfer efficiency. The photocatalysts consist of titanium dioxide nanoparticles with a mean size of 95 nm or less and a specific phase ratio of anatase to rutile. The anatase-to-rutile ratio can be adjusted between 1.5:1 and 10:1. These nanoparticles undergo isothermal heating to form mixed phase TiO2, where the anatase phase is converted into the mixed phase form. The mixed phase TiO2 exhibits improved charge carrier transfer properties compared to conventional single phase TiO2, particularly at elevated temperatures. The photocatalysts can be prepared through controlled heating of anatase nanoparticles to achieve the desired phase ratio.
39. Photocatalytic Electrolysis Hydrogen Generation System with Integrated Solar Concentrator and Heat Recovery Mechanism
TOKYO UNIVERSITY OF SCIENCE, 2017
A hydrogen generation system that continuously produces hydrogen gas while separating oxygen gas through a photocatalytic electrolysis process. The system employs a built-in electrode made of a photocatalyst that generates hydrogen gas when exposed to light, with the photocatalyst being arranged in a plate-like configuration within the receiver. The photocatalyst's photocurrent is amplified by increasing the light intensity through a solar concentrator, enabling enhanced hydrogen production. The system incorporates a heat recovery system to utilize the generated heat energy, enabling continuous operation.
40. Hybrid Photovoltaic and Photocatalytic Hydrogen Production System with Nano-Pore Light-Absorbing Layer
LEE KUANG WU, Li Guangwu, 2017
A solar continuous power generation system that enables efficient, sustained energy production through a novel hybrid approach combining photovoltaic cells with hydrogen production. The system comprises a composite photovoltaic power generation device featuring a light-absorbing layer with nano-pore effect, where sunlight excites semiconductor material, and a photocatalytic hydrogen production apparatus that converts light-induced hydrogen into a stored gas. The stored gas is then released through a controlled heating or decompression process to generate electricity through a fuel cell. This system enables continuous power generation by leveraging both solar energy and hydrogen production, overcoming traditional limitations in solar energy utilization.
41. Floating Pontoon System with Integrated Photovoltaic Panels and Photocatalytic Water Decomposition for Hydrogen Generation
WACOM R & D CORP, 2016
A hydrogen generation system that harnesses sunlight to produce hydrogen through photocatalytic decomposition of water, with integrated rainwater collection and storage. The system comprises a floating pontoon with integrated photovoltaic panels and hydrogen storage facilities. The pontoon is deployed between the equator and the Tropic of Capricorn, where it collects and stores rainwater. The hydrogen production system utilizes the collected rainwater as a raw material for hydrogen generation, providing a reliable and renewable energy source. The system integrates with existing infrastructure, with the pontoon serving as a floating storage platform for hydrogen.
42. Photocatalytic Hydrogen Generation Cell with Visible Light Absorbing Photocatalyst and Solid Electrolyte for Electron Transport
IBM, 2016
A photocatalytic hydrogen generation cell that utilizes concentrated sunlight to split water while providing both visible and thermal energy. The cell comprises a photocatalytic material sandwiched between electrodes, with a solid electrolyte separating the photocatalyst from the electrodes. The photocatalyst absorbs visible light, while the solid electrolyte facilitates electron transport through a concentration gradient. The cell is optimized for concentrated sunlight absorption through carefully designed optical and structural arrangements, enabling efficient water splitting and hydrogen production.
43. Energy Conversion System with Photocatalyst and UV Radiation Converter for Enhanced Sunlight Utilization
H1 ENERGY B V, 2015
Energy conversion system that enhances sunlight utilization through a photocatalytic process. The system comprises a solar cell and a photocatalyst, with the photocatalyst containing an inorganic material with an absorption edge between 400 and 700 nm, particularly between 450 and 650 nm. The photocatalyst is combined with a second material that facilitates water conversion to hydrogen. The system includes a converter that partially converts UV radiation into low-energy radiation, which is then used to enhance the photocatalytic process. This system enables efficient conversion of visible light into hydrogen, thereby increasing overall energy conversion efficiency beyond conventional silicon-based solar cells.
44. Photocatalytic Hydrogen Production Apparatus with Integrated Light Source and Complex Photocatalyst Structure
STANLEY ELECTRIC CO LTD, 2015
Hydrogen production apparatus that enables efficient photocatalytic hydrogen generation through a novel, compact design. The apparatus comprises a photocatalyst, water, and a specially optimized light source that enables uniform illumination of the photocatalyst's complex structure. The light source is positioned near the photocatalyst's surface, ensuring optimal energy transfer while minimizing light loss. This design enables the generation of hydrogen from water through photocatalytic water decomposition, eliminating the need for separate light sources and increasing surface area for efficient energy conversion.
45. Integrated Photovoltaic and Electrolysis System with Hydrogen Storage and Variable Amplitude Sipes
Southeast University, SOUTHEAST UNIVERSITY, 2015
A solar energy system that integrates photovoltaic (PV) power generation, light heating, and hydrogen production to achieve high-efficiency power generation and storage. The system comprises a PV array, electrolysis system for hydrogen production, DC/DC converter, controller, DC bus, direct current load, and hydrogen storage system. The PV array generates electricity, which is converted to DC power by a DC/DC converter. This DC power is then used to drive the electrolysis process, where water is split into hydrogen and oxygen. The hydrogen is stored in a hydrogen storage system, while the oxygen is released as heat. The system enables stable and reliable power generation through the PV array, hydrogen production, and energy storage, addressing the challenges of solar energy intermittency and storage requirements.
46. Photocatalyst with Metal Nanoparticles Partially Encased by Semiconductor Support
SAUDI BASIC INDUSTRIES CORP, 2015
Photocatalyst for generating diatomic hydrogen from hydrogen-containing precursors through water photolysis, comprising a semiconductor support with metal nanoparticles deposited on the support. The metal nanoparticles are selectively covered by a thin layer of semiconductor support, which enhances hydrogen generation by limiting the formation of water and preventing its recombination with metal particles. The photocatalyst achieves superior diatomic hydrogen production by maintaining the metal's catalytic activity while preventing unwanted reactions with water.
47. Photocatalytic Hydrogen Production Apparatus with Liquid Light Source and Oxygen-Regulating Separator
STANLEY ELECTRIC CO LTD, 2015
Hydrogen production apparatus that generates hydrogen through photocatalytic water splitting using a photocatalyst and light. The apparatus comprises a hydrogen generation tank containing water and photocatalyst, a separating member that separates the tank from the hydrogen generation chamber, and a novel liquid light source that irradiates the photocatalyst with visible light. The separating member is designed to maintain oxygen levels while allowing the photocatalyst to be exposed to light, enabling efficient hydrogen generation.
48. Photocatalytic Hydrogen and Oxygen Generation System with Optical Fiber-Integrated Sunlight Concentration and Delivery
STANLEY ELECTRIC CO LTD, 2015
A hydrogen and oxygen generation system that harnesses sunlight to produce hydrogen and oxygen through photocatalytic decomposition. The system employs a device comprising multiple lenses collecting sunlight, optical fibers propagating the light, and a photocatalyst integrated into a container. The photocatalyst is positioned at the end of the optical fibers, which are connected to the end of the optical fibers emanating from the lenses. This configuration enables efficient light propagation and collection of sunlight while directing it onto the photocatalyst. The system can be integrated into a container with a liquid containing water, where the photocatalyst is activated by UV light emitted by the lenses.
49. Photocatalyst Comprising Semiconductor and Cobalt Phosphide for Enhanced Electron Transfer
UNIV HONG KONG CHINESE, 2015
A photocatalyst for efficient hydrogen production from water through solar-driven photocatalytic reactions. The photocatalyst combines a semiconductor material with a phosphorus-based active component, specifically CoP (cobalt phosphide), which enables enhanced electron transfer capabilities under solar irradiation. This combination achieves higher photocatalytic efficiency compared to traditional photocatalysts like Pt, while maintaining the cost-effectiveness of hydrogen production. The photocatalyst design enables the generation of hydrogen directly from water without the need for expensive co-catalysts like Pt.
Get Full Report
Access our comprehensive collection of 49 documents related to this technology
