Research Developments in Eyelash Applicator
Modern eyelash applicators face significant technical challenges in achieving consistent cosmetic results. Current manual application methods result in variations of 0.2-0.5mm in placement accuracy, while professional technicians spend an average of 90-120 minutes per full set of extensions. These inefficiencies stem from the precise control needed to manipulate individual lashes measuring just 0.05-0.1mm in diameter.
The core challenge lies in developing mechanisms that can reliably separate, align, and secure individual lashes while maintaining the ergonomic requirements for precise human control.
This page brings together solutions from recent research—including curved support devices with pivoting grip mechanisms, sequential lateral taping methods, elastically deformable base plates, and integrated adhesive application systems. These and other approaches focus on improving application accuracy and reducing treatment time while maintaining consistent cosmetic results.
1. Integrated Eyelash Curler and Mascara Applicator with Detachable Brush and Dual-End Assemblies
Hu Jianguo, JIANGUO HU, 2023
An eyelash curler and mascara applicator combined into a single device to improve the effectiveness of eyelash styling. The device has a shaping assembly with an eyelash comb at one end and an accommodating assembly with a mascara bottle and brush at the other end. The brush can be detached from the curler and used to apply mascara after styling the lashes. This allows vertical and horizontal shaping of lashes followed by mascara application in one tool, providing better styling results compared to separate curler and applicator.
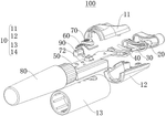
2. Curved Support Device with Pivoting Gripping Arms and Sliding Lock for Eyelash Extension Application
LAPLANTE LANA JEANAN, 2018
A device and method to accelerate applying eyelash extensions by separating and holding individual lashes. The device has a curved support with gripping arms on each end. The arms pivot and lock together around the lashes. It has a sliding locking mechanism to release the arms. The curved support bends and converges the lashes for easier access and faster application. This allows applying extensions one by one with separated lashes instead of isolating each lash individually.
3. False Eyelash Applicator with Elastically Deformable Base Plate and Convex Pressing Portion
HAN YONG HO, Han Yong-ho, 2017
An applicator for false eyelashes that allows easy attachment and reduces falling off. The applicator has a base plate with a pressing portion that grips the eyelash strands. The base plate elastically deforms to release the lashes. The pressing portion has a convex end that contacts the base plate when deformed. This opening shape allows easy removal of the lashes from the applicator. The applicator also has a compression part that contacts the base plate to further secure the lashes. It attaches to the base plate via a fixing part. The applicator is made of flexible material like PP. The shape of the base plate matches the eyelid curvature to better fit the eyelids.
4. Eyelash Coating Tool with Curvature-Conforming Coating Member and Rotating Mechanism
FIGLA CO LTD, 2015
An eyelash coating tool that allows accurate and easy application of cosmetics like mascara to eyelashes while minimizing mold complexity and cost compared to conventional tools. The tool has a unique coating member shape that matches the curvature of the upper, lower, left, and right eyelashes. This avoids the need for multiple molds for different lash shapes. The tool also has a rotating mechanism to easily apply the coating to all eyelashes. The coating member has a thin center portion and thicker outer portions that can flex during use. This provides deformation for better coating performance while still allowing mold release. The tool's shape and flexibility accurately coat eyelashes regardless of curvature.
5. Ergonomic Eyelash Mascara Applicator with Stabilizing Handle and Squeeze-Loadable Reservoir
AVON PROD INC, 2014
Ergonomic eyelash mascara applicator that allows easier and more efficient application of mascara. The applicator has a handle shape that stabilizes during use and prevents rotation. It can be comfortably held between thumb and fingers. The applicator head has a brush with larger bristle area contact for better coverage. The applicator fits into a reservoir to load mascara without inserting the brush. The reservoir has flexible walls that accommodate mascara and a chamber. The applicator reversibly attaches to the reservoir. This allows loading by squeezing the reservoir rather than dipping the brush. The reservoir shape enables easy filling and mascara flow through pores when squeezed.
6. Handheld Device with Rotating Coupled Grips and Lever-Actuated Gear Mechanism for Attaching Artificial Eyelashes
University-Industry Foundation, Ulsan National Institute of Science and Technology, UNIST ACADEMY-INDUSTRY RESEARCH CORP, 2013
Device for attaching artificial eyelashes to natural eyelashes that improves accuracy and efficiency compared to manual application. The device has a handheld body with grips at each end. The inner grip has a rotating projection and hole to couple it to the body. The outer grip has a rotating hole and projection to couple it to the body. A lever extends from one end of the inner grip. The inner and outer grips have gears. Moving the lever forward rotates both grips together to grip natural and false eyelashes between them. A spring keeps the grips open when not operated. This allows automated, simultaneous gripping of both lashes for faster, accurate attachment compared to manual application.
7. Eyelash Extension Device with Integrated Adhesive Application Mechanism
UNIST ACADEMY IND RES CORP, 2013
An attachment mechanism for extending eyelashes that provides an easy and quick way to attach false eyelashes without the need for manual application. The mechanism involves a device that attaches false eyelashes directly to the natural lashes using adhesives. This allows for quick and convenient extension of eyelashes without the time-consuming and cumbersome process of manually applying false lashes. The device could potentially include a molded structure that holds the false lashes in place while applying the adhesive.
8. Modular Eyelash and Eyebrow Applicator with Integrated Brush, Comb, and Curler Sections
CHANEL PARFUMS BEAUTE, 2009
Applicator for applying makeup to eyelashes and eyebrows that provides functions like elongation, volume, curling, and separation. The applicator has a brush section to load and apply product, a comb section to separate lashes, and a curler section to lift and shape lashes. The brush can be replaceable to easily swap out for different products. The comb and curler sections can have different shapes and materials for customization.
9. Cosmetic Applicator with Intersecting Multi-Row Tooth Configuration and V-Shaped Notches
OREAL, 2006
An applicator for applying cosmetics to hair like eyelashes or eyebrows that allows catching and smoothing the hair while applying product. The applicator has a support with multiple closely spaced rows of teeth that intersect the support axis. This configuration allows capturing hair between the teeth without losing grip. The teeth have bases that may touch and converge towards the support. The overlapping tooth rows form V-shaped notches for hair entry. The teeth can have fillers to prevent hair snagging. The applicator can have bristles, foam wipers, and a receptacle. The teeth are molded into the applicator and stem.
10. Cosmetic Applicator with Dual Row Integrated Teeth and Magnetic Support
GUERET JEAN-LOUIS H, 2006
A device for applying cosmetics like mascara to eyelashes and eyebrows that has a compact design with a high number of teeth for better coverage. The device has a support with two rows of teeth extending over at least a quarter of the length. The teeth are integrated with the support as a single piece. The first and second rows have teeth extending towards the ends. This allows more teeth in a compact space without increasing overall size. The teeth faces can be planar for better fiber contact. The teeth alignment along parallel lines helps prevent fibers from getting stuck. The support and teeth can have magnetic properties. The device can have a wiper to clean the applicator.
11. Applicator System with Curved, Irregularly Shaped Teeth for Cosmetic Product Application
GUERET JEAN-LOUIS H, 2002
An applicator system for applying cosmetic products like mascara and eyeliner to eyelashes and eyebrows. The system has an applicator with a curved row of closely spaced teeth that take hold of the lashes better than wider spaced teeth. The teeth have irregular shapes with protrusions and recesses to engage the lashes smoothly. The applicator also has a receptacle for product and a wiper to clean excess off. This allows loading the applicator in the container, wiping off excess, and applying product to lashes/eyebrows. The curved teeth shape and close spacing provide better hold and spread compared to wider spaced teeth.
Get Full Report
Access our comprehensive collection of 11 documents related to this technology
