Research Developments in Mascara Applicator
Modern mascara application presents distinct engineering challenges in fluid dynamics and material interfaces. Laboratory testing shows that standard mascara formulations exhibit non-Newtonian behavior with viscosities ranging from 300-5000 cP, while bristle-product interactions occur across microscopic scales of 10-100 micrometers, affecting both product distribution and lash separation.
The fundamental challenge lies in designing applicator systems that can precisely control product dosage and distribution while adapting to the varied geometries of natural lashes.
This page brings together solutions from recent research—including curved tapered cores with spindle-shaped bristle arrangements, flocked tip technologies with metal wire cores, and dual-curved pressing bodies with integrated supply systems. These and other approaches focus on achieving consistent application while preventing common issues like clumping and uneven coverage.
1. Detachable Eyelash Brush with Perimeter Bristles and Sealing Cap Assembly
Foshan Hantan Jun Cosmetics Co., Ltd., 2024
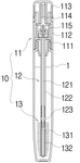
Eyelash brush for mascara application that prevents mascara from sticking to the brush rod and drying out. The brush has soft bristles around the perimeter of the rod instead of bristles attached to the rod. This allows mascara to be picked up by the bristles without clinging to the rod. The brush also has a mascara tube with a sealing cap. The cap has a rubber pad with a tapered slope and through hole. The mascara can be applied to the brush by pressing it against the pad, which prevents mascara from entering the tube through the through hole. This prevents mascara from drying out in the tube. The brush head can be detached and cleaned separately from the tube.
2. Mascara Applicator with Curved Tapered Core and Spindle-Shaped Bristle Tip
FAIRYDROPS INC, 2023
Mascara applicator with a unique brush shape that allows easy application of mascara from the root of the eyelashes near the eyelid margin. The applicator has a curved core with bristles protruding around its entire circumference. The curved core tapers to a point at the applicator tip. The bristles form a spindle shape at the tip. The core and bristle arrangement allows close contact with the eyelashes at the root when applying mascara. The curved shape and bristle distribution match the eyelid curvature.
3. Mascara Applicator with Rotatable Handle and Internal Brush Rotation Mechanism
ANHUI JUSU HIGH TECH IND CO LTD, 2023
A mascara applicator with a rotatable handle that allows easy and even application of mascara without manual rotation. The applicator has a protective shell with a rotatable connection to a handle shell. Inside the protective shell is a mascara-holding device with a coating brush. The brush fits snugly in a grooved ring with a rubber insert to prevent sliding. This configuration allows the user to twist the handle to rotate the brush inside the protective shell, simplifying mascara application and preventing uneven coating or smudging. The rotatable connection also makes it easy to remove and replace the brush for cleaning or refilling.
4. Mascara Applicator with Fan-Shaped Tip and Rotating Brush Roller
SHANGHAI YANGMING PLASTICS TECH CO LTD, 2022
Mascara applicator that prevents misapplication by having a fan-shaped tip. The applicator has a bottle body with a head and coating head. The head prevents mascara overflow and the coating head has a rotating brush roller with bristles. The applicator uses an internal mechanism to squeeze mascara from the bottle into the coating head. This allows the user to easily apply mascara without the risk of misapplication by providing a fan-shaped tip with bristles to coat the lashes. The rotating brush roller helps distribute the mascara evenly.
5. Mascara Applicator with Curved Rod for Unobstructed One-Handed Dual-Eye Application
John Butcher, 2021
Mascara applicator system that allows one-handed application of mascara to both eyes without blocking the mirror view. The applicator has a curved or inclined section on the elongated rod connecting the handle to the brush head. This allows the brush to swing outwards parallel to the handle midline when applying mascara to the left eye, without reversing grip or compromising angle. The curved section balances the brush position when switching eyes.
6. Handheld Device Integrating Eyelash Curler and Mascara Applicator with Combined Grip and Dual Assembly
Annette D. Dudas, 2019
A handheld device that combines an eyelash curler and mascara applicator in one tool. The device has a grip, a mascara assembly, and an eyelash curling assembly. The user holds the grip and uses the mascara applicator to apply mascara to their lashes. Then they can use the curling assembly to bend and style their lashes. This eliminates the need for separate tools and steps in the eyelash enhancement process.
7. Mascara Brush with Integrated Storage Cavity, Hollow Bristles, and Rotatable Piston Mechanism
SHANGHAI YANGMING PLASTIC TECHNOLOGY CO LTD, 2019
Mascara brush that improves convenience and control of mascara application. The brush has a storage cavity in the brush head, hollow bristles, and a piston mechanism. The piston consists of a suction rod inside the brush shaft. When the user rotates the suction head, it pushes the piston to squeeze mascara from the bristles. This allows controlled mascara release without pushing mascara out directly. The user can also remove the brush assembly from the bottle to apply mascara. The piston prevents accidental spraying.
8. Mascara Applicator Set with Dual Curved Pressing Bodies and Integrated Mascara Supply System
SHISEIDO CO LTD, 2018
Mascara applicator set that allows curling and applying mascara at the same time to easily and efficiently curl lashes and keep the curl for longer. The set has a mascara container, a mascara supply tool, and a mascara transfer tool. The transfer tool has two curved pressing bodies that sandwich the lashes between them. One body has an upward-curved surface and the other has a downward-curved surface. This shape allows curling the lashes while transferring mascara. The transfer tool can also have a groove to guide the lashes. The supply tool pumps mascara onto the pressing surfaces. This enables simultaneous curling and mascara application without pushing the lashes down.
9. Cosmetic Application Tool with Flocked Tip and Metal Wire Core
KAO CORP, 2018
A cosmetic application tool for applying cosmetics like mascara to eyelashes and eyebrows in a way that prevents clumping and hair bundling. The tool has a grip portion and a coating portion with a flocked tip. The flocked tip has a metal wire core covered in fine fibers. This design allows the cosmetic to evenly coat the entire brush, including the tip, and also adhere well to short eyelashes. The metal wire core provides followability and the flocked fibers dense retention.
10. Mascara Applicator with Dual Pivoting Sections and Threaded Container Interface
MINORU KANEMATSU, 2018
Mascara applicator with a unique design to prevent mascara scattering when removing it from the container. The applicator has two pivoting coated sections that close together when not in use. The container has threaded sections that screw together to secure the applicator in place. This prevents the applicator from suddenly popping out and spreading mascara when removed from the container. The applicator can be pulled out by unscrewing the threaded sections while holding the handle.
11. Dual-Brush Mascara Applicator with Separating Arms and Dual Portal Squeegees
Lisa Hatch, 2018
Mascara applicator with two brushes that can be separated and closed to apply mascara to both upper and lower lashes simultaneously. The applicator has arms with handle portions that spread apart to separate the brushes. This allows the brushes to be placed on opposite sides of a lash. When pressure is released, the arms close together, applying pressure to both brushes on the lash. This enables applying mascara to both sides at once. The applicator container also has dual portals with squeegees to remove excess mascara from the brushes.
12. Mascara Brush with Adjustable Sliding Mechanism and Deformable Section for Eyelash Curling
Kolmar Korea Co., Ltd., 2018
Mascara brush that can curl eyelashes without needing a separate eyelash curler. The brush has a sliding member that can extend and contract. When the member is contracted, it compresses a deformable brush section. This deformed section curls the eyelashes when mascara is applied. The sliding member can be moved by pressing a lifting/lowering member. The lifting member has a fixing groove and protrusion that detachably attach to fix the sliding member position. This allows adjusting the curl angle of the deformed brush section.
13. Double-Ended Mascara Brush with Dual-Diameter Silicone Heads and Variable-Length Bristles
Shantou Wanbang Cosmetics Co., Ltd., SHANTOU MONBON COSMETICS CO LTD, 2017
Double-headed mascara brush with one end for thickening lashes and the other end for lengthening. The brush has a handle with a double-ended brush body. The larger-diameter end has a silicone brush head for thickening lashes near the root. The smaller-diameter end has a tapered silicone brush head with shorter bristles for elongating lashes. The brush body also has side walls with bristles of varying lengths to conform to eyelash curves. The dual-headed brush allows customized application for thicker and longer lashes.
14. Mascara Container with Dual Brushes Having Variable Comb Heights and Surface Grooves
INTERWORK KOREA CO LTD, 2017
Mascara with dual brushes that can apply mascara uniformly, curl lashes, and improve usability. The mascara has two brushes, one on each end of the container, with different height comb sections. This allows the brushes to combine and curl lashes better compared to a single brush. The comb sections have higher hardness than the brush sections. The brushes have cosmetics grooves on their surfaces. This helps apply mascara uniformly and prevents clumping. The mascara also has grips on the lid for easier opening and closing.
15. Dual-Function Cosmetic Applicator with Retractable Eyeliner and Mascara Brushes
POPE EMMETT PIERRE, 2017
A multifunction cosmetic applicator that allows applying both eyeliner and mascara with a single device. It has an elongated pen-like shape with a retractable brush tip and a mascara brush. The brushes are enclosed inside the device when not in use. To apply eyeliner, the user extends the brush tip and squeezes a plunger to dispense liner fluid. For mascara, they retract the brush tip and extend the mascara brush. This allows conveniently applying both eyeliner and mascara with a single device.
16. Mascara Brush with Elastic Member for Bristle Flexibility and Vibration Transfer
JO JI WON, 2016
Mascara brush with an integrated elastic member to improve mascara application and eyebrow makeup. The brush has an elastic member between the mascara body and the steel wire of the brush. This provides elasticity to the brush bristles. When applying mascara, the user's eyebrow movements create vibrations that transfer to the brush. This evenly distributes the mascara liquid, increases eyebrow curling effect, and improves combing. The elastic member can be an integral coil in the steel wire or an inserted coil spring. The mascara body may also be made of elastic material.
17. Mascara Device with Dual Applicators and Segregated Chambers for Targeted Application
Judith L. Grabo, 2016
Mascara device with multiple applicators and chambers to provide better mascara application and prevent waste. The device has a housing with separate chambers for each applicator. One chamber has a larger brush tip for upper lashes and the other has a smaller tip for lower lashes. This allows targeted application without cross-contamination. The smaller tip also fits inside the larger one for easy storage.
18. Mascara Container with Integrated or Removable Lower Lash Line Lifting Applicator
LG HOUSEHOLD & HEALTH CARE LTD, 2016
Mascara container with an applicator designed to lift the lower lash line without using fingers during mascara application. The applicator has a unique shape that helps lift the lower lashes when pressed against the eye. It can be integrated into the container or removable. The applicator may have features like a widening bottom, curved ends, concave surfaces, or a matching shape to the container. This prevents contamination from fingers, improves hygiene, and makes it easier to apply mascara to the lower lashes.
19. Mascara Applicator with Dual Brushes on Reversible Arms and Pressure-Activated Opening Mechanism
LASH DUET LLC, 2016
Dual brush mascara applicator with reversible arms that open and close when squeezed. The applicator has two brushes on separate arms that can spread apart when pressure is applied to the handles. This allows the brushes to be positioned on opposite sides of an eyelash. When pressure is released, the brushes return to their closed position, applying pressure to the lashes. This enables applying mascara to both sides simultaneously. The applicator can also have a movable outer container that actuates when pressed to open the arms.
20. Mascara Coating Apparatus with Interchangeable Brush Heads and Insertion Port
Lg life health, LG Household & Health Care Ltd., 2016
Mascara coating apparatus with interchangeable brush heads to allow customization of mascara application effects. The apparatus has a container to hold mascara, an insertion port on the container, and multiple mascara brushes with different shapes and features. The user can switch between the brushes to get specific effects like volume, curl, length, or neatness when applying mascara. This allows tailoring the mascara application to personal preferences and needs, rather than relying on the fixed brush in a single mascara tube.
21. Silicone Mascara Brush with Comb-Shaped Section and Piston-Operated Dispensing System
AMOREPACIFIC CORP, 2015
A silicone mascara brush that safely and evenly applies mascara and curls eyelashes without injury. The brush has a silicone comb-shaped section instead of hard bristles. The silicone allows the eyelashes to pass through easily without catching or pulling. The mascara is dispensed from a piston-operated container to prevent over-applying. A dial knob raises the piston to dispense mascara onto the brush. The brush has a detachable shoulder to prevent excessive mascara from entering the container. The silicone comb, gentle dispensing, and detachable shoulder prevent eyelash injury and ensure even mascara application.
22. Cosmetic Application Tool with Flocked Tip and Metal Wire Core
KAO CORP, 2015
A cosmetic application tool for evenly applying mascara to eyelashes and brows. The tool has a grip portion and an application portion with a flocked tip. The flocked tip has a metal wire core covered in finer fibers. This allows the tool to apply mascara smoothly to the inner and outer corners of the eyes without clumping. The tool can also be designed to fit inside a mascara container with a flexible ironing valve to easily access and remove excess product.
23. Curved Eyelash Mascara Applicator with Spirally Wound Brush and Flocked Tip
KAO CORP, 2015
Eyelash mascara applicator with a curved shape from brush to tip to better coat all eyelash types. The applicator has a spirally wound brush section with finer fibers added to prevent lumps. The curved shape follows the natural eyelid curve to reach inner, outer, and lower lashes. This prevents uneven coating and hair bundles. The applicator also has a flocked tip for precise application. The curved shape and fine fibers are key features for even mascara application on all lashes.
24. Mascara Container with Button-Activated Extendable Lower Brush for Clamping and Curling Lashes
Richcos Co., Ltd., CTK CO LTD, CMI Tech Korea, 2015
Mascara with a button-operated lower brush that clamps and curls the lower lashes. The mascara has a container with a movable lower brush that can extend and retract inside. A button on the cap activates a spring-loaded rod to push the lower brush forward. This allows the user to easily clamp and curl the lower lashes without needing a separate curler. The upper brush coils like a normal mascara. The lower brush has a semi-circular groove to match the upper brush shape.
25. Mascara Applicator with Rotatable Brush and Semi-Elliptical Supports
FSK Color, 2014
Mascara with a rotating brush to improve volume, curling, length, and cleanliness when applying mascara. The mascara has a container, handle, and rotatable brush at the end of a support inserted into the container. The rotating brush allows twisting motion when applied to lashes for better effects compared to a fixed brush. The rotatable brush assembly can have semi-elliptical supports and guide holes for rotating movement.
26. Mascara Applicator with Rotating and Bending Prism-Shaped Brush Head
SHISEIDO COMPANY LTD, 2014
Mascara applicator that allows easy and effective application of mascara to eyelashes. The applicator has a rotating and bending brush head that applies mascara by forming a right angle between the brush and wand axes. This allows the brush to reach the root of the lashes for better curl and coverage. The brush head rotates and bends as it extends from the wand. The rotating movement is limited by abutting plane parts on the wand and brush. The brush head has a prism shape with a ridge that forms an acute angle when bent. This design enables the brush to rotate and bend as it extends, allowing it to reach the root of the lashes for better curl and coverage.
27. Mascara Brush with Alternating Cotton and Nylon Bristles for Even Application
AMOREPACIFIC CORP, 2014
Eyelash mascara brush with alternating cotton and nylon bristles to apply mascara more evenly. The brush has a handle with a central mascara base. Below the base, the brush has a cotton bristle section followed by a nylon bristle section. The cotton section wicks mascara and the nylon section distributes it evenly on the lashes.
28. Mascara Container with Rotatable Brush Assembly
FSKCOLOR, 2014
Mascara product with a rotating brush to enhance eyelash volume, curl, length, and cleaning. The mascara container has a rotatable brush assembly that extends into the container when the knob is attached. The brush can be rotated by twisting the knob to volumize, curl, lengthen, and clean the eyelashes as mascara is applied. This allows more versatility in mascara application compared to a fixed brush.
29. Double-Ended Mascara Brush with Distinct Application and Cleaning Protrusions
DIEM System, D E M SYSTEM CO LTD, 2013
A double-ended mascara brush with one side for applying mascara and the other side for cleaning to efficiently organize and remove excess mascara. The brush has two protrusions on opposite ends of the handle. The first protrusion has a mascara application brush, while the second protrusion has a mascara cleaning brush. This allows applying mascara with one brush and then cleaning excess from the lashes with the other brush without contaminating the main application brush.
30. Mascara Brush with Curved Shape and Omnidirectional Bristle Arrangement
SHISEIDO CO LTD, 2013
Eyelash mascara brush design for applying voluminous and omnidirectional mascara that expands in all directions. The brush has a unique shape that fits the natural curve of the eyelash, raises the lashes, contacts the base of the lashes, and expands mascara in all directions including the inner corners, outer corners, and lower lashes. This allows uniform mascara coverage and volume from all angles. The brush has a shape that mimics the natural eyelash curve and allows mascara to be applied evenly from the base to the tip, expanding outwards.
31. Mascara Brush with Flexible Core and Variable Hair Distribution
ALCAN PACKAGING BEAUTY SERVICES, 2013
A brush for applying mascara or similar products that has a core made of flexible plastic and hair radiating out from the core. The core can have a shape-retaining wire inside to maintain its shape. The hair is distributed along the core length and covers most of it. The hair sequences can have uneven intervals on the core circumference to create varied effects. The hair length can gradually increase or decrease along the core length. The brush can have zones with different hair densities. The brush can have a handle section without hair at the proximal end. This allows customization of the brush shape and density without needing molded hair segments.
32. Mascara Brush with Cylindrical Shaft and Wave-Patterned Bristles Featuring Spherical Convex Tips
AYA:KK, 2013
A mascara brush with a unique brush head design that applies mascara evenly to lashes and prevents clumping. The brush has a cylindrical shaft with radially spreading or orthogonal brush bristles. The bristles have multiple spherical or elliptical convex tips arranged close together in a wave-like pattern along the shaft. This shape and arrangement of bristles allows for precise mascara application, preventing clumps and ensuring even distribution. The brush can be used repeatedly without adding excess mascara by dipping it in the container, as the bristle tips scoop up the desired amount.
33. Mascara Brush with Adjustable Angle Mechanism and Roller Ball Applicator
HONG JEOUGWOOK, Hong Ra-hee, 2013
Adjustable mascara brush that allows the user to control the angle of the brush when applying mascara. The brush has a movable soldae that can be adjusted to the desired angle. This is achieved by a fixed soldae with a stopper that holds the movable soldae in place at the desired angle. The user can rotate a cap to adjust the angle of the movable soldae relative to the fixed soldae. This allows customizing the brush angle for comfortable application. The movable soldae has a roller ball that contacts the eyelashes. When the cap is tightened, the roller ball is held at the adjusted angle. This prevents swaying during use. The adjustable brush provides stability and convenience compared to fixed angle brushes.
34. Mascara Applicator with Pivot-Connected Rotating Brush and Fixed Handle
??????, AMOREPACIFIC CORP, 2012
A mascara applicator with a rotating brush to apply mascara evenly to eyelashes without getting it on the skin around the eyes. The applicator has a fixed handle and a rotating brush connected by a pivot joint. This allows the brush to swing outward when pressed against the eyelashes, coating them without rotating the applicator. The fixed handle prevents the mascara from smudging on the skin. The rotating joint allows the brush to swing freely for application.
35. Handheld Mascara Applicator with Contoured Housing and Retractable Brush Mechanism
BRUFF CHRISTOPHER, 2011
A handheld mascara applicator with a unique design that provides quick, even, and mess-free mascara application. The device has a contoured housing shape that matches the user's eyelid and brow curve. An activation lever raises a contoured mascara brush into the housing opening when pressed, coating the lashes in a single stroke. The brush retracts when the lever is released. This allows easy and consistent mascara application with one press.
36. Mascara Brush with Detachable Bendable Base for Angle Adjustment
AMOREPACIFIC CORP, ??????, 2011
Mascara brush design that allows customizable angle adjustment to improve mascara application. The brush is detachable from the mascara container and has a bendable section at the base. This allows the user to bend the brush to a desired angle for curling and volumizing eyelashes. It prevents mascara liquid from accumulating in the bendable section and eliminates issues like getting mascara on the face.
37. Mascara Applicator with Diverging Bristle Configuration and Fan-Shaped Brush Head
PARFEM ZHIVANSHI SA, PARFY LIVELY SA, GIVENCHY PERFUME SA, 2010
Mascara applicator with a unique brush shape to improve mascara application. The applicator has a wand with bristles that diverge significantly from the tip end. The bristles fan out at an angle of at least 230 degrees relative to the wand's center. This wider, fan-shaped brush head helps separate and coat individual eyelashes without clumping, especially on shorter lashes. It also allows applying mascara to the entire lash length without forming lumps. The brush shape is optimized to match the natural distribution of eyelashes.
38. Mascara Aid Device with Curved Tapered Applicator Tip and Recessed Mascara Holder
HEO GWEON, 2010
A mascara aid device that helps apply mascara to lower lashes without smudging or getting it on the skin. The device has a curved, tapered applicator tip that fits snugly under the lower lid. The tip has a recessed section to hold mascara. The user applies mascara to the tip, then slides the device under the lower lid to coat the lower lashes. The tapered shape prevents the device from pushing up the lid and getting mascara on the skin. The recessed section keeps the mascara from smearing on the lid.
39. Mascara Applicator with Dual Coating Members and Interlocking Assembly Mechanism
?????, 2010
Mascara applicator with spreadability and ease of assembly. The applicator has a handle, stem, and two coating members. The first coating member is on the stem and engages the handle. The second coating member is on the handle and has horizontal bristles. The first member has a recess and hold-down section that fits into the handle. The second member sandwiches between the first and handle. This allows assembly by fitting the second member into the handle then the first member into the second member. The bent hold-down section of the first member allows easy assembly without distorting the first member.
40. Cosmetic Applicator with Multi-Directional Movable Head and Actuation Mechanism
WYATT PETER JONATHAN, 2010
Cosmetic applicator for improved mascara application to eyelashes. The applicator has a movable head that can be actuated in various ways to enhance coverage and separation of eyelashes. The head can move axially, rotate, oscillate, and vibrate. The motion is controlled by actuators, motors, and transmissions. The movable head design allows targeted application of mascara to eyelashes without clumping or smearing.
41. Dual-Brush Mascara Applicator with Wire-Bound and Injection Molded Brushes
ECKERS LORENZ, 2008
Mascara applicator with two brushes, one wire-bound and one injection molded, to provide better eyelash separation and mascara application. The wire-bound brush has filaments held between twisted wires like traditional mascara brushes. The injection molded brush has soft, elastic fingers. This combination allows more efficient combing of eyelashes due to the wire brush separating them and the molded brush coating them. The two brushes can have different mascara formulations to suit user needs.
42. Mascara Applicator with Distinct Lash Pressing and Coating Sections on a Single Shaft
KAO CORP, 2008
A mascara applicator with a separate section to press and separate eyelashes, in addition to the mascara coating section. The applicator has a support shaft with a mascara coating brush at the tip. But it also has a separate section with a comb or press mechanism further down the shaft to manipulate the lashes. This prevents mascara from the coating section transferring to the lash pressing section and staining the area around the eyes.
43. Mascara Application Tool with Parallel Alternating Coating and Scraping Heads
KAO CORP, 2008
Mascara coating tool for applying mascara to eyelashes more efficiently and effectively. The tool has alternating coating and scraping heads arranged in parallel. The coating heads apply mascara to the eyelashes, while the scraping heads remove excess mascara. This prevents clumping and allows applying a full coat in fewer strokes compared to traditional mascara brushes. The tool also features a curved mascara formula to enhance curl.
44. Mascara Applicator with Flat Cross-Section Brush and Graduated Bristle Length
KOSE CORP, 2007
Mascara applicator with a brush section that has a flat cross section and bristles that gradually increase in length from the tip to the shaft. This unique brush shape allows even application of mascara to the inner and outer corners of the eyes without clumping in the middle. The flat brush section ensures contact with the eyelid, while the graduated bristle length prevents excess mascara buildup.
45. Mascara Applicator with Integrated Heated Curling and Simultaneous Mascara Application Mechanism
KAO CORP, 2007
A mascara applicator that integrates eyelash curling and mascara application in one device. The applicator has curling means to hold and shape the lashes, mascara adhering means to apply mascara, and mascara supplying means. The curling and mascara application are done simultaneously by bringing the curling head and head receiving member together. The curling head has heating to set the lashes, then mascara is applied while they are still curled. This avoids re-curling after mascara, prevents smudging, and provides clump-free, long-lasting curls.
46. Mascara Brush with Integrated Curler and Dual Brush Configuration
?????, JANG UP SYSTEM CO LTD, 2006
Mascara brush with integrated eyelash curling functionality to simplify and shorten the makeup process. The brush has an applying brush for applying mascara and a curling brush on the same handle. The curling brush is positioned in a cutout on the side of the applying brush. This allows applying mascara with one brush and then curling the lashes without needing a separate tool. The curling brush has a floor with troughs to comb and curl the lashes. The brushes are connected to prevent separation. A ring at the base of the applying brush fits over the curling brush to secure it.
47. Mascara Applicator with Manually Rotatable Stem and Integrated Brush
ALCAN PACKING BEAUTY SERVICES, 2006
Cosmetic mascara applicator with a rotating stem for easier application and brushing. The applicator has a head, stem, and brush. The stem can rotate when the head is gripped. This allows the user to rotate the brush while applying mascara, making it easier to coat the lashes evenly. The rotating stem is housed in a cavity in the head and activated by a manual mechanism. The applicator screws onto the mascara tube for storage.
48. Mascara Brush with Adjustable Curvature via Screw-Activated Deformation Mechanism
AMOREPACIFIC CORP, ??????, 2006
Deformable mascara brush that can transform into curved or straight shapes to better contour and volumize eyelashes. The brush has a screw-on bar that attaches to the base and deforms the brush shape when screwed in or out. This allows selective customization of the brush curvature for curling or straight application. The deformable feature eliminates the need for multiple specialized brushes by providing versatility in one brush.
49. Mascara Brush with Notched, Discontinuous Arc-Shaped Bristles for Linear Arrangement
SANO SHOKAI:KK, 2006
Mascara brush with bristles that have a notch to prevent clumping and provide even mascara application. The brush has discontinuous arc-shaped bristles that are linearly arranged in both the axial and circumferential directions around the brush core. The notches in the bristles prevent clumping and allow the mascara to smoothly transfer to the lashes without sticking together. The arc shape and linear arrangement of the bristles enable combing the lashes for even coating.
50. Mascara Applicator with Integrated Lash Curling and Thermal Mascara Adherence Mechanism
KAO CORP, 2006
A mascara applying device that simultaneously curls lashes and applies mascara to prevent smudging and improve usability. The device has a mascara adhering mechanism that uses thermal transfer or heat fusion to attach mascara directly to the lashes instead of applying it separately. It also has a mirror to confirm the lashes before use. This prevents the mascara from bleeding, clumping, or curling off due to repeated applications. The device aims to prolong mascara effect and improve usability by simplifying the process and preventing damage to the lashes.
Get Full Report
Access our comprehensive collection of 65 documents related to this technology
