Ultrasonic Methods for Dermal Matrix Restructuring
Ultrasonic dermal treatments operate within precise acoustic parameters, delivering energy at frequencies between 10 kHz and 50 MHz to achieve tissue temperatures of 40-65°C at depths up to 3mm. These interventions must carefully balance energy delivery with tissue response, as excessive thermal elevation or mechanical stress can lead to unintended damage in surrounding structures.
The fundamental challenge lies in achieving targeted matrix restructuring while maintaining the integrity of adjacent tissue layers and managing the complex interactions between ultrasonic waves and varying dermal compositions.
This page brings together solutions from recent research—including sequential RF-ultrasound combinations, moisture-responsive intensity modulation systems, multifocal transducer arrays, and active ingredient-enhanced transmission methods. These and other approaches focus on optimizing treatment efficacy while preserving tissue safety and patient comfort.
1. Skin Treatment Device with Sequential RF Heating and Focused Ultrasound Coagulation Mechanism
LUTRONIC CORP, Lutronic Corporation, 2024
Skin treatment device using focused ultrasound and RF energy to shorten treatment time and increase recovery effect. The device uses RF energy to heat the treatment area to a temperature that increases ultrasound transmission efficiency. Then focused ultrasound is applied to coagulate the tissue. This two-step process improves ultrasound penetration and cell activity while avoiding excessive damage.
2. Method Utilizing Low-Energy Ultrasound and Cosmetic Active Medium for Skin Surface Treatment
OREAL, 2024
Less invasive method for reducing wrinkles on the skin surface using a combination of a medium containing cosmetic actives and ultrasound waves with lower energy than high intensity focused ultrasound (HIFU). The method involves applying the medium to the skin and then delivering focused or unfocused ultrasound waves through it. The ultrasound waves propagate into the skin to depths of 3 mm and produce localized temperature increases of 40-65°C for short periods. The lower energy ultrasound is more tolerable on the skin compared to HIFU. The actives in the medium improve wrinkles when combined with the ultrasound.
3. Ultrasonic Skin Treatment Device with Adjustable Energy Levels and Delivery Patterns for Targeted Tissue Modulation
JEISYS MEDICAL INC, 2023
Ultrasonic skin treatment device that selectively provides fat reduction, fat increase, or elasticity enhancement based on applied ultrasound energy levels and patterns. The device uses a specialized control unit that enables targeted fat reduction, fat increase, or elasticity enhancement by applying specific ultrasonic energy levels to the skin layers. The device can use dot or linear ultrasound delivery methods to focus energy at varying depths and move horizontally. It applies energies like 0.1-0.3J to increase fat, 0.2-0.6J to reduce fat, and 0.2-0.6J to boost elasticity. By tailoring ultrasound dosage and patterns, the device aims to avoid tissue damage and promote selective fat, elasticity, or both changes.
4. HIFU Device with Skin Moisture-Responsive Intensity Modulation and Detachable Ultrasound Cartridge
ADC CO LTD, 2023
High intensity focused ultrasound (HIFU) device for skin treatments that improves efficiency and stability by varying the ultrasound intensity based on skin moisture levels. The device has a detachable ultrasound cartridge that outputs focused ultrasound to the skin. A control module in the handpiece measures skin moisture using sensors and adjusts the ultrasound cartridge's driving power amplitude. The cartridge then changes the ultrasound intensity accordingly. This allows customized treatment intensity based on skin hydration to enhance effectiveness and minimize discomfort.
5. Ultrasound Device with Multifocal Transducer Emitting Variable Amplitude and Work Cycle for Subcutaneous Tissue Treatment
SAENZ JULIA JOSE MANUEL, 2023
Ultrasound device for selective treatment of subcutaneous tissue like adipose and connective tissue to rejuvenate and reshape the body without cell death or burns. The device has a multifocal ultrasound transducer that emits a low intensity, low frequency sound field with varying amplitude and work cycle. This focuses energy over a wider area than conventional ultrasound, reducing metabolic load and permeability to induce physiological lipolysis and tissue remodeling without saturation. The multifocal beam avoids cell death and cavitation effects. The device excites at frequencies selective to fat diameters and uses long off-times between bursts to expel heat.
6. Non-Invasive Skin Treatment Using Ultrasonic Waves with Active Ingredient-Infused Medium
OREAL, 2023
Reducing wrinkles on the skin using a non-invasive method that combines a medium containing cosmetic actives with ultrasonic waves. The method involves applying a medium with active ingredients like hyaluronic acid to the skin, then applying focused pulsed ultrasonic waves to propagate through the skin. This method aims to improve wrinkles without invasive needles or injections. The ultrasonic waves can be customized to generate local temperature rises in the skin. The medium with active ingredients enhances the effects of the ultrasound on the skin.
7. Skin Treatment System Utilizing Cosmetic Medium with Low-Energy Ultrasound Wave Application
LOREAL, 2023
Reducing wrinkles on the skin using a combination of a cosmetic medium and low-energy ultrasound waves. The method involves applying a medium containing cosmetic actives like hyaluronic acid, peptides, and ceramides to the skin. Ultrasound waves with frequencies between 10 kHz and 50 MHz are then applied to the skin through the medium. The ultrasound waves propagate into the skin to depths up to 3 mm, generating localized temperature rises. This less-invasive approach improves wrinkles by combining cosmetic benefits from the medium with targeted skin heating from the ultrasound.
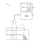
8. Hands-Free Ultrasonic System with Fixed Panels and Neural Network-Driven Depth Control for Skin and Fat Treatment
INES VERNER RASHKOVSKY, 2022
A hands-free ultrasonic skin tightening and body contouring system that provides effective treatment of both skin laxity and fat deposits in a single device. The system uses fixed treatment panels that wrap around body organs like the abdomen. Ultrasound imaging is used to determine the correct depth for treatment. The system has temperature sensors on the panels to monitor the skin and fascia during treatment. A neural network algorithm computes the depth indication. The ultrasound energy heats the subcutaneous fat and fascia while keeping the epidermis cooled below damaging temperatures. The system aims to achieve both tightening and contouring in one device with precise depth control and visualization.
9. Focused Ultrasound System with Movable Transducer Applicator and Integrated Cooling Mechanism
SOFWAVE MEDICAL LTD, 2022
A system for treating skin using focused ultrasound to reduce wrinkles and tighten skin. The system includes an applicator with multiple ultrasound transducers that can be moved across the skin to emit unfocused ultrasound energy. The applicator also has cooling capabilities to prevent thermal damage to the skin surface. The system can personalize treatment parameters like energy intensity and duration based on factors like skin composition, wrinkle depth, and pain sensitivity. The goal is to deliver safe, effective ultrasound skin treatments without damaging nerves or causing excessive pain.
10. Ultrasound System with Multiplexed Focal Area Control for Cosmetic Treatment
ULTHERA INC, 2021
A system and method for non-invasive ultrasound cosmetic treatments that can safely and effectively perform various processing and imaging procedures to induce visible and effective cosmetic results via thermal pathways. The system allows separating the ultrasound treatment beam into multiple focal areas to treat multiple cosmetic areas simultaneously or sequentially. It uses techniques like amplitude modulation, phase shift, and polarization to dynamically control the number, shape, size, and thermal state of the treatment areas over time. The system has an ultrasound probe with a transducer, switches, and a moving mechanism to guide the focal points in sequences. It can apply ultrasound therapy to tissues at multiple locations at depth of focus.
11. Portable Ultrasonic Stimulator with Alternating Low and High Frequency Output for Variable Skin Interaction
SU GUN LEE, 2021
Portable ultrasonic stimulator that provides a high skin-tightening effect by alternately outputting low-frequency ultrasonic waves with high temperature rise in skin and high-frequency ultrasonic waves to degrade skin aging materials. The device has a controller that adjusts the frequency of current output over time to alternately provide low and high frequency ultrasonic waves. This allows using a single device to provide both skin tightening effects using ultrasonic waves of different frequencies.
12. Ultrasound Skin Treatment System with Adaptive Transducer Control and Impedance Monitoring
SOFWAVE MEDICAL LTD, 2021
Ultrasound skin treatment system that improves efficiency and reliability of the applicator by monitoring and adjusting performance over time. The system has a control console and an applicator with multiple ultrasound transducers. The console can activate and deactivate the transducers separately, measure impedance on each, and detect relative changes. If changes exceed a threshold, it modifies treatment parameters like frequency, amplitude, or transducer activity. This adapts treatment to maintain effectiveness as transducer performance degrades. The applicator has features like isolated wiring, sealing fluid, and printed circuitry between transducers to prevent fluid ingress and isolate electrical circuits.
13. Skin Treatment Device with Integrated Ultrasound and High Frequency Units Featuring Replaceable Cartridges and Adjustable Ultrasound Focal Length
Ecodm Lab Co., Ltd., ECO DM LAB Co., Ltd., 2020
Skin beauty device that combines ultrasound and high frequency for more effective skin treatment. The device has replaceable cartridges for both ultrasound and high frequency units. The ultrasound unit has a contact area on the skin surface, and the high frequency unit surrounds it with contact areas. This allows applying both modalities simultaneously to the same skin region. The ultrasound cartridge can adjust the focal length by varying the distance from the skin. This maximizes the combined effects of ultrasound and high frequency for penetration and collagen regeneration.
14. Skin Care Device with Ultrasonic Oscillator and Electrical Stimulation Unit
ELIMTEK CO LTD, 2020
A skin care device that combines ultrasonic waves and electrical stimulation to improve skin moisture, elasticity, regeneration, and anti-inflammation by increasing permeation. The device has a main body with an ultrasonic oscillator generating different ultrasonic wavelengths. The handpiece contacts the skin and selects the wavelengths. It also has an electrical stimulation unit with a temperature sensor, chip, and electrode pad to change the skin's electrical environment and promote cell metabolism.
15. Method for Enhancing Epidermal Drug Delivery via Ultrasound-Induced Cavitation with Specific Pressure and Duty Cycle Parameters
BIO INFRA LIFE SCIENCE INC, Bioinfra Life Science, 2020
A method to increase cell viability in the skin using ultrasound irradiation and drug delivery. The method involves applying a drug and epidermal delivery system to the skin, followed by ultrasound irradiation at specific parameters. The ultrasound pressure is 0.5-1 MPa and duty cycle is 1-5%. This promotes drug absorption into the skin without side effects. The ultrasound parameters were optimized to generate cavitation in the epidermis and enhance drug delivery. Redensyl, a hair growth drug, was used as an example. The ultrasound irradiation apparatus positions the ultrasound generator near the skin to deliver the optimized ultrasound parameters.
16. Ultrasound Irradiation Method with Specific Parameters for Enhanced Cell Survival
BIO INFRA LIFE SCIENCE INC, Bioinfra Life Science, 2020
Non-invasive, painless method to increase cell survival by irradiating ultrasound without drugs. The ultrasound parameters are critical to avoid damage: pressure 0.5-1 MPa, duty 1-5%, intensity 167-417 mW/cm2, frequency 0.5-4.6 MHz, duration <10 min. The ultrasound generator is positioned near the epidermis. It increases cell viability without side effects compared to drugs.
17. Method for Enhancing Cell Viability via Low Intensity Ultrasound with Specific Pressure and Duty Cycle Parameters
BIOINFRA LIFE SCIENCE INC, 2020
Method to increase cell survival using low intensity ultrasound irradiation for applications like wound healing. The technique involves delivering ultrasound with specific parameters to the epidermis to enhance cell viability. The ultrasound pressure is 0.5-1 MPa and duty cycle is 1-5%. The irradiation time is less than 10 minutes. This non-invasive, painless method can be used to improve cell survival without side effects in short application times. It can potentially be applied to treat wounds and promote hair growth using low intensity ultrasound.
18. Handheld Ultrasound Probe with Targeted Subcutaneous Energy Delivery and Wireless Control
GUIDED THERAPY SYSTEMS L L C, Guided Therapy Systems, LLC, 2020
Improving skin appearance using ultrasound energy to non-invasively enhance skin quality. The method involves delivering ultrasound to subcutaneous tissue beneath the skin surface to create biological effects. This improves aspects like elasticity, pore size, texture, hyperpigmentation, scars, collagen, wrinkles, and sagging. The ultrasound avoids avoiding interstitial tissue to maximize efficacy. The system is a handheld probe with an ultrasonic transducer, controller, and wireless interface for targeted treatment.
19. Ultrasound Therapy System with Digital Resonance Frequency Control and Mist Delivery Mechanism
ALLIQUA BIOMEDICAL INC, 2019
Non-contact, low-frequency, highly efficient ultrasound therapy system that delivers ultrasonic therapy treatments via a mist to a patient wound to promote wound healing. The system uses digital controls to maintain the ultrasound driver at the resonance frequency of the transducer. This allows efficient operation near the resonance point without the stability issues of analog controls. The digital frequency generator and phase detector are used to lock the frequency at resonance. This provides safe, portable, and accessible ultrasound therapy that can be used in homecare settings without specialized oversight.
20. System with Integrated Diagnostic and Therapeutic Ultrasound for Targeted Skin Treatment
ANGELSEN BJOERN A J, 2019
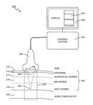
A system for treating wrinkles and rejuvenating skin using focused ultrasound therapy. The system uses a diagnostic ultrasound component to image the skin depth and determine optimal therapy locations. It then applies focused ultrasound foci at those locations using a therapeutic component. This allows personalized treatment based on skin thickness. The diagnostic component can also measure tissue parameters during therapy to optimize energy deposition. The system aims to provide more effective and customized ultrasound skin rejuvenation by leveraging diagnostic ultrasound for planning and monitoring.
21. Focused Ultrasound System for Targeted Subcutaneous Tissue Modification with Integrated Imaging
GUIDED THERAPY SYSTEMS LLC, 2018
Non-invasive treatment of subcutaneous tissues like muscles, cartilage, and fat using focused ultrasound energy to achieve effects like brow lifts, blepharoplasties, and ear reshaping without surgery. The ultrasound is targeted at specific depths to ablate, cut, coagulate, manipulate, or paralyze the tissues. Ultrasound imaging is used to visualize the tissue motion during treatment.
22. Method for Controlled Tissue Ablation Using Sequential Low-Power and Continuous High-Intensity Focused Ultrasound with Barrier Formation
SONACARE MEDICAL LLC, 2018
A method for delivering high intensity focused ultrasound (HIFU) to ablate tissue while preventing unintended post-focal ablation. The method involves creating focal lesions using HIFU at lower power levels to cover a portion of the targeted volume. These lesions act as barriers to prevent further HIFU application from propagating beyond them. After creating the initial lesions, continuous HIFU is applied using an "always ON" technique to ablate the remaining volume. The initial lesions both ablate tissue and create barriers to protect adjacent tissue from unintended ablation.
23. Adjustable Ultrasound Transducer Assembly for Layer-Specific Dermal Treatment
LOREAL, 2018
Dermal device for targeted ultrasound therapy that allows customization of the focal point to treat specific layers of skin. The device has an adjustable ultrasound transducer assembly that can be moved relative to the skin to modify the focal point. This allows tailoring the treatment to target specific skin layers. The device can also have cartridges with offsets or membranes to further adjust the focal point. Additionally, the device can be used with dermal topicals in the cartridges to enhance the therapy.
24. Ultrasound-Induced Adipocyte Membrane Disruption Using Dual-Frequency Mushroom-Shaped Sonotrode
ALMA LASERS LTD, 2017
Selectively damaging adipose tissue beneath the skin using ultrasound waves to trigger delayed cell death of adipocytes without rupturing them. The technique involves delivering ultrasound energy with a mushroom-shaped sonotrode that vibrates in two resonant frequencies: parallel to the ultrasound propagation axis for deep penetration, and normal to it for transverse waves. This scatter the waves and damages adipocyte membranes without rupturing them. The transverse waves deform the membranes, triggering delayed cell death without collateral damage. The longitudinal waves penetrate deeper. The technique aims to damage >70% of adipocytes within 3 days without rupturing >2% within 30 mins.
25. Ultrasound System with Adjustable Focus and Energy for Creating Microscopic Thermal Ablation Zones in Skin Layers
GUIDED THERAPY SYSTEMS LLC, 2017
Ultrasound treatment system for deeper penetration and customizable depth of thermal injury zones to treat photoaged skin beyond the superficial layers. The system uses focused, unfocused, and defocused ultrasound to create arrays of microscopic thermal ablation zones in the epidermis, dermis, mid-dermis, and deep dermis by adjusting focusing, energy levels, and timing cadence. It combines imaging and therapy in a probe for localization and monitoring during treatment. This allows treating deeper components of photoaged skin than optical methods like fractional photothermolysis.
26. Multifrequency Ultrasound Transducer System with Frequency-Specific Biological Response Initiation
GUIDED THERAPY SYSTEMS LLC, 2017
A non-invasive combined ultrasound treatment system that uses multiple ultrasound frequencies to initiate different biological responses for tissue rejuvenation. The system has a transducer that delivers concentrated ultrasound to stimulate hemostasis, mid-frequency ultrasound for revascularization, and low-level ultrasound for stable cavitation. This multifrequency approach aims to combine different ultrasound effects to initiate responses like hemostasis, angiogenesis, tissue regeneration, and stable cavitation for tissue rejuvenation.
27. Ultrasound Treatment System with Ultra-High Frequency Transducers for Superficial and Internal Region Targeting
GUIDED THERAPY SYSTEMS LLC, 2017
Ultra-high frequency ultrasound treatment system for minimally invasive therapy that enables extracorporeal treatment of superficial regions and internal superficial regions in a single device. The system uses ultra-high frequency transducers (>20 MHz) that can focus energy deeply into tissues without needing to penetrate intervening layers. This allows treating superficial regions externally and internal superficial regions minimally invasively by varying the frequency. The high frequencies provide controlled treatment at high acoustic intensities with moderate power. The transducers can be applied directly to the skin or inserted into tissue to reach internal targets. Feedback control adjusts frequency for optimal conversion efficiency.
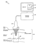
28. Method and System for Targeted Ultrasound-Induced Thermal Ablation of Stretch Marks
GUIDED THERAPY SYSTEMS LLC, 2016
A method and system for treating stretch marks using focused, unfocused, or defocused ultrasound to ablate the affected skin and underlying tissue in a targeted manner. The ultrasound energy is delivered to produce small zones of thermal injury at specific locations matching the stretch marks. This allows selective ablation of the stretched skin and fascia while sparing surrounding tissue. It aims to treat stretch marks more effectively and efficiently without causing chronic injury compared to whole-thickness ablation methods.
29. Cosmetic Device with Sonic and Ultrasonic Energy Delivery via Slim Waveguides for Enhanced Compound Absorption
BOCK ROBERT T, 2016
A cosmetic device that uses sonic and ultrasonic energy to enhance the absorption of cosmetic compounds into the skin. The device uses lower intensity ultrasound combined with low frequency sonic vibrations to penetrate through the outer layer of the skin without excessive tissue heating. It also includes a skin cleansing step to remove contaminants that reduce penetration. The ultrasound is focused into small areas using slim waveguides.
30. Medical Device with Dual Transducer and Integrated Imaging Probe for Focused Ultrasound Emission
Hironic Co., Ltd., HIRONIC CO LTD, 2016
High-intensity focused ultrasound (HIFU) medical device for non-invasive skin treatments like wrinkle removal and collagen remodeling. It uses a dual transducer setup inside the device housing, with two ultrasound transducers emitting simultaneously to a common focal point. This avoids damaging surrounding tissue by reducing the intensity of each transducer. An embedded image probe captures ultrasound images of the treatment area. An independent touch screen allows customizing ultrasound parameters. The device has separate control for intensity and imaging. It prevents overexposure by displaying predetermined parameterized images for treatment sites. The dual transducers and imaging improve accuracy, safety, and reproducibility compared to single-transducer devices.
31. Ultrasound Device with Dual-Frequency Transducers and Integrated Cooling for Concurrent Fat Heating and Skin Tightening
LUMENIS LTD, 2016
Dual-frequency ultrasound device for treating skin by simultaneously heating fat and tightening skin with one probe. The device has multiple ultrasound transducers that can operate at different frequencies. This allows selective treatment of deeper fat layers without overheating the shallower skin layers. The device can also have features like cooling plates, sequential activation, and angled transducers to optimize treatment effectiveness.
32. Integrated Delivery Unit for High-Intensity Focused Ultrasound Adjuvant with Peptide-Based Components
HIRONIC CO LTD, 2016
High-intensity focused ultrasound (HIFU) treatment adjuvant containing skin wrinkle improving and soothing components to enhance and calm wrinkle reduction in HIFU treatment. The adjuvant is applied to the treated area after HIFU irradiation to improve wrinkles and mitigate side effects like burning and stinging. The adjuvant can contain peptides like Acetyl Hexapeptide-8, Acetyl Hexapeptide-30, Madecassoside, Carnosine, and Palmitoyl Pentapeptide-4. The adjuvant is processed and applied using a dedicated unit integrated into the HIFU system. This allows targeted delivery of the adjuvant to the treated site after HIFU exposure.
33. Transdermal Drug Delivery System Utilizing Focused Ultrasound with Specific Frequency and Intensity Parameters
GUIDED THERAPY SYSTEMS LLC, 2015
Enhancing transdermal drug delivery and effectiveness using focused ultrasound energy to drive medicants through skin layers. The method involves applying ultrasound pulses with specific frequencies, peak intensities, and pulse widths to modulate cell membranes and tissues. It enables delivering medicants deeper into the skin beyond the stratum corneum by disrupting barriers, increasing permeability, and enhancing diffusion. The technique can also numb tissue during treatment to reduce pain.
34. High Intensity Focused Ultrasound System with Beam Parameter Adjustment Based on Skin Intersection Analysis
THERACLION SA, 2015
Reducing skin damage during high intensity focused ultrasound (HIFU) treatment of tissue by optimizing beam parameters based on skin interception. The method involves calculating the intersection area between the HIFU beams and the skin surface for each sub-beam. The power and duration of each sub-beam are then adjusted proportionally to the intersection area compared to the total power and duration. This prevents overheating shallow skin areas by reducing the power there while maintaining sufficient energy for deeper treatment.
35. Ultrasound Therapy System with Adjustable Focus and Depth-Variable Energy Delivery for Skin Layers
GUIDED THERAPY SYSTEMS LLC, 2014
Ultrasound therapy system for treating photoaged skin that uses focused, unfocused, and defocused ultrasound at varying depths to achieve therapeutic effects in epidermal, dermal, mid-dermal, and deep dermal layers. The system has an imaging/therapy probe, control system, and display. It allows precise, adjustable ultrasound energy delivery to treat photoaging components at different depths using focusing, unfocusing, and defocusing techniques. Ultrasound imaging is also used for feedback control and monitoring during treatment.
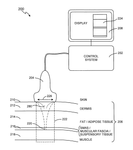
36. Focused Ultrasound System for Noninvasive Deep Tissue Tightening with Imaging and Energy Delivery Control
GUIDED THERAPY SYSTEMS LLC, 2014
Noninvasive face lifting and deep tissue tightening using focused ultrasound therapy. The method involves imaging the treatment area, delivering ultrasound energy at specific depths and timings to shrink the underlying connective tissue, and monitoring before, during, and after treatment. This allows targeted tightening of the superficial muscular aponeurosis system (SMAS) without removing skin or fat. The ultrasound energy is precisely focused to avoid unwanted heating of overlying layers.
37. Focused Ultrasound Wrinkle Removal Device with Piezoelectric Element and Protruding Pressure Applicator
LEE SUN-KEE, Lee Seon-gi, Terranova Co., Ltd., 2013
Wrinkle removal device using focused ultrasound to selectively tighten and coagulate targeted areas for wrinkle removal without damaging surrounding skin. The device has a piezoelectric element to generate focused ultrasound waves. It also has a protruding portion to apply pressure on the skin. The protruding portion guides the focused ultrasound into the body at the targeted location. An absorbent sheet absorbs any ultrasound transmitted to the sides. This prevents unnecessary areas from being affected by the focused ultrasound.
38. Focused Ultrasound and Radiofrequency Energy Skin Treatment with Temperature-Dependent Conductivity Enhancement
SYNERON MEDICAL LTD, 2013
Non-invasive skin treatment using focused ultrasound and radiofrequency (RF) energy to improve skin appearance. The method involves applying focused ultrasound energy to targeted volumes below the skin surface to heat and treat the tissue. RF energy is then applied to the same volumes to enhance the effect. The RF energy is induced by the temperature dependence of tissue conductivity. The focused ultrasound preheating enhances the RF treatment by increasing conductivity.
39. Method for Collagen Synthesis Stimulation via Low-Intensity Ultrasound Application
EYESEL CO LTD, 2012
Promoting skin elasticity and reducing wrinkles using low-intensity ultrasound. The method involves applying low-intensity ultrasound (100-300 mW/cm2) to the skin for 120 seconds. This stimulates collagen synthesis in skin fibroblasts, improving elasticity and reducing wrinkles. It can be used in cosmetic devices to enhance skin health. The ultrasound penetrates the skin without harm and promotes collagen production.
40. Applicator with Ultrasound Transmitter and Receiver for Real-Time Tissue Temperature Monitoring and Control
SYNERON MEDICAL LTD, 2012
Real-time ultrasound monitoring and temperature control during cosmetic treatments like fat reduction, skin tightening, and wrinkle reduction. The method uses ultrasound to accurately monitor tissue temperature during treatment. An applicator with ultrasound transmitter and receiver is placed on the skin. The transmitter emits a ultrasound pulse at Brewster's angle into the tissue. The receiver detects the reflected pulse. Changes in ultrasound speed indicate temperature changes. The controller analyzes the ultrasound signals in real-time, compares to threshold limits, and takes actions based on criticality. This allows precise temperature control during cosmetic treatments to avoid skin damage.
41. High Intensity Focused Ultrasound System with Shock Wave-Induced Mechanical Disruption and Boiling Detection Mechanism
UNIVERSITY OF WASHINGTON, 2011
Non-invasive tissue treatment using high intensity focused ultrasound (HIFU) that induces mechanical disruption with minimal thermal damage. The method involves generating shock waves using a specific pulsing protocol that induces millisecond boiling to mechanically damage tissue. The pulsing parameters like peak positive pressure, shock wave amplitude, frequency, repetition rate, pulse length, duty cycle are optimized to limit thermal coagulation. The HIFU system can also detect boiling and tissue erosion to differentiate mechanical effects from thermal effects. Applications include bulk ablation of benign and malignant tumors with reduced collateral tissue damage.
42. Method for Tissue Treatment Using High-Intensity Ultrasound Pulses with Sub-70 ms Duration
PALOMAR MEDICAL TECH INC, 2010
A method for treating tissue using high-intensity ultrasound pulses to generate small lesions below the skin surface. The method involves applying very short duration (less than 70 ms) ultrasound pulses to specific tissue locations. This allows coagulation at or below the pain threshold. The short pulses prevent significant heating and cavitation. By using a scanning device to deliver ultrasound to multiple locations, it enables treating larger areas with less total energy. This allows cosmetic and therapeutic applications with less discomfort and risk compared to prolonged high-energy pulses.
43. Method for Skin Lesion Treatment Using Dual-Intensity Focused Ultrasound with Variable Energy Application
SANGHVI NARENDRA T, 2010
A method for treating skin lesions using focused ultrasound that simultaneously removes the targeted lesion and triggers an immune response to destroy distant lesions. The treatment involves applying low-energy, high-intensity focused ultrasound (LO-HIFU) and high-energy, high-intensity focused ultrasound (HI-HIFU) to the targeted lesion. The LO-HIFU disrupts cell membranes and releases molecules, while the HI-HIFU causes heating and protein release. This dual ultrasound treatment removes the targeted lesion and provokes an immune response that eliminates other lesions.
44. Non-Invasive Deep Tissue Tightening Device with Focused Ultrasound and Surface Cooling Assemblies
VYTRONUS INC, 2009
A non-invasive device for deep tissue tightening of skin without needles or ultrasound imaging. The device uses focused ultrasound to heat and shrink collagen below the skin surface, combined with surface cooling to prevent surface damage. The device has a handheld ultrasound transducer assembly and a cooling assembly. It delivers ultrasound energy to treat the subdermal tissue without direct contact to avoid pain and invasiveness. The cooling assembly chills the skin surface as the device is placed adjacent to prevent surface overheating.
45. Ultrasonic Device with Sub-3 MHz Emission for Enhanced Cosmetic Integration via Skin Contact Surface
BEIERSDORF AG, 2009
Reducing signs of skin aging like wrinkles, expression lines, and skin texture improvement using a low-frequency ultrasonic device. The device has a contact surface and an ultrasonic generator that emits ultrasound at frequencies below 3 MHz. Applying a cosmetic preparation to the skin and then using the ultrasonic device to massage it into the skin enhances incorporation compared to manual application. The low-frequency ultrasound promotes better penetration and absorption of the cosmetic ingredients into the skin.
46. Patch with Integrated Ultrasonic Generator and Reservoir for Enhanced Transdermal Delivery of Active Compounds
BEIERSDORF AG, 2008
A patch for reducing wrinkles using ultrasound to enhance penetration of active ingredients into the skin. The patch contains a reservoir for wrinkle-reducing substances and an ultrasonic generator to vibrate the active ingredients into the skin. This increases their absorption compared to applying the substances directly. The ultrasonic vibrations also stimulate cell metabolism to further enhance wrinkle reduction. The patch adheres to the skin using an adhesive layer.
47. Focused Ultrasound System for Subcutaneous Tissue Modification with Integrated Imaging
BARTHE PETER G, 2008
Non-invasive treatment of subcutaneous tissues like muscles, fat, and cartilage using focused ultrasound energy. The method involves applying ultrasound at specific depths to ablate, cut, coagulate, manipulate, or paralyze the tissues without surgery. Applications include brow lifts, blepharoplasties, and cartilage shaping. Ultrasound imaging is used to visualize the tissue movement during treatment.
48. Ultrasound-Induced Gene Expression Modulation for Enhanced Retinoic Acid Synthesis in Cells and Tissues
RIDGWAY JONATHAN, 2008
Using ultrasound to enhance retinoic acid production in cells and tissues to treat skin conditions and stimulate bone and cartilage growth. Ultrasound exposure increases expression of genes involved in retinoic acid synthesis and metabolism. This leads to higher levels of retinoic acid, which can improve skin radiance, reduce wrinkles, treat acne, and stimulate bone and cartilage growth.
49. Composition and Technique for Transdermal Delivery of Bioactive Agents via Ultrasound and Penetration Enhancers
WANG CHING HUA, 2006
Formula and method for delivering bioactive substances through the skin or mucous membranes using ultrasound and skin penetration enhancers. The formula contains bioactive substances and skin absorption enhancers. Ultrasound is applied at specific frequencies and powers to promote penetration. This allows deeper delivery into tissue compared to ultrasound alone. The enhancers disrupt skin barriers while ultrasound enhances convection and diffusion.
50. Ultrasound System with Lens-Attached Generator for Focused Beam Convergence
YOUNG MICHAEL JOHN RADLEY, 2003
A focussing ultrasound system for non-invasive tissue treatment using an ultrasound generator attached to a lens. The lens is affixed to the generator and has a curved shape to focus the ultrasound beam. This allows targeted treatment of deep tissue like blood vessels or hair follicles without damaging surrounding tissue. The lens can be plano-concave to converge the beam. The system provides a compact, durable, and cost-effective alternative to curved piezoceramic transducers for focused ultrasound applications like medical treatments and cosmetic procedures.
Get Full Report
Access our comprehensive collection of 56 documents related to this technology
