Techniques to Improve CIGS Solar Cell Efficiency
CIGS (Copper Indium Gallium Selenide) solar cells have demonstrated laboratory efficiencies of 23.35%, yet commercial modules typically achieve only 15-17% efficiency. This gap represents both a challenge and an opportunity, as factors including interface recombination, band gap engineering, and layer uniformity contribute to efficiency losses in practical CIGS implementations. Recent metrology data confirms that carrier transport across interfaces and the quality of the absorber layer remain critical limiting factors in CIGS performance.
The fundamental challenge in CIGS solar cell development lies in simultaneously optimizing optical absorption, charge separation, and electrical conductivity while maintaining cost-effective manufacturing processes.
This page brings together solutions from recent research—including bifacial designs with novel passivation layers, nanorod-based absorber structures, tandem architectures with perovskite top cells, and composite transport layers using carbon nanotubes and silver nanowires. These and other approaches provide pathways for manufacturers to exceed 20% efficiency in commercial CIGS modules while preserving the material's inherent advantages in flexibility and reduced material usage.
1. CIGS/Perovskite Tandem Solar Cell with Nanorod-Based Absorber and Monolithic Structure
NIGDE OEMER HALISDEMIR UENIVERSITESI REKTOERLUEGUE, 2025
A CIGS/perovskite tandem solar cell with enhanced efficiency and cost-effectiveness, achieved through the use of nanorod-based CIGS absorber layers and a monolithic tandem structure. The CIGS nanorods are fabricated using a high-angle deposition technique, exhibiting superior optical absorption compared to conventional thin films. The tandem structure is formed by directly depositing perovskite layers onto the CIGS nanorod absorber, with a CdS buffer layer and SnO2 electron transport layer. The device demonstrates high efficiency values, exceeding 15% for rigid substrates and 10% for flexible substrates, while maintaining a low cost and enabling mass production on flexible polyimide substrates.
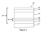
2. Bifacial Thin-Film Solar Cell with Rear Passivation Layer of TiOx or TaOx and Selective Conductive Thin Film Pattern
KOREA INSTITUTE OF SCIENCE AND TECHNOLOGY, 2025
Bifacial thin-film solar cell with enhanced rear-side performance through a novel interface engineering approach. The cell features a rear passivation layer of TiOx or TaOx between the rear transparent electrode and the CIGS absorber layer, which reduces interfacial recombination and enhances carrier transport. A conductive thin film pattern is selectively formed on the rear passivation layer to create ohmic contact between the absorber layer and the rear electrode. This design enables efficient carrier collection on both the front and rear sides of the cell, achieving improved bifacial performance.
3. Tandem Solar Cell with Transparent Conductive Layer and Complete Back Structure
JINKO SOLAR CO LTD, 2025
A tandem solar cell with improved efficiency, comprising a thin-film solar cell and a bottom cell stacked in a first direction. The bottom cell includes a transparent conductive layer, a doped conductive layer, an intrinsic amorphous silicon layer, a substrate, a second doped conductive layer, and electrodes. The transparent conductive layer is between the thin-film solar cell and the doped conductive layer, and the electrodes are formed on the second doped conductive layer. The doped conductive layer includes a doped amorphous silicon layer or a doped microcrystalline silicon layer. The bottom cell has a complete back structure, eliminating metal-semiconductor contact and reducing contact recombination between the cells.
4. Thin-Film Solar Cell with P-Type Semiconductor Hole Transport Layer and Metal Oxide Stabilizing Layer
LUXEMBOURG INSTITUTE OF SCIENCE AND TECH, 2025
A thin-film solar cell structure and manufacturing process that improves efficiency by introducing a hole transport structure between the back electrode and absorber layers. The structure comprises a p-type semiconductor hole transport layer and a metal oxide stabilizing layer that blocks diffusion of the hole transport layer during high-temperature processing. The stabilizing layer is formed on top of the hole transport layer, which is directly deposited on the back electrode layer. This double-layer structure provides thermal stability and passivation effects similar to conventional Ga grading, enabling high-efficiency thin-film solar cells.
5. Thin-Film Photovoltaic Device with Rear-Positioned Bifacial Enhancement Layers for Selective Short-Wavelength Absorption
FIRST SOLAR INC, 2024
Enhancing the bifacial efficiency of thin-film photovoltaic devices through the use of specific bifacial enhancement layers. These layers are positioned closer to the back interface of the absorber layer compared to the front interface, and they selectively absorb light with wavelengths below a specific cutoff frequency. The enhanced absorption of shorter wavelengths enables increased quantum efficiency compared to standard bifacial photovoltaic devices, where the enhancement layer is positioned closer to the front interface.
6. Efficiency Investigation and Modeling of an Ultra Thin-film CIGS Solar Cell using WxAMPS
Kashfi Barua Riea, Rocky Chakma - Al-Kindi Center for Research and Development, 2024
The highly efficient CIGS thin-film solar cell is numerically investigated in this paper using solar simulator software wxAMPS (Analysis of Microelectronic and Photonic Structures). WxAMPS is a customized simulation software package mainly used for photovoltaic cells, which supports quick data input and enhanced visualization with its improved user interface. Copperindiumgalliumdiselenide Cu(In, Ga)Se2 (CIGS) is a semiconductor material with chalcopyrite crystal structure that has high conversion efficiency and structural stability. CIGS model- ZnO: Al/ZnO/CdS/CIGS/Mo/substrate is mainly experimental research that considers the physical characteristics, dimensions, and thicknesses of the different layers. The bilayer window and absorber layer with different thicknesses are the critical factors that influence solar cell performance. The bilayer window concept can assist in reducing the loss at the window layer. In this paper, through the numerical simulation, the highest conversion efficiency was achieved, 18.7%, with an optimum bandgap of 1.12 eV with 3000 nm thickness of the abso... Read More
7. Expanding the Notch Region by Adjusting the Copper Growth Profile for High-Efficiency Flexible Cu(In,Ga)Se<sub>2</sub> Solar Cells
Hui Yan, Wuji Wang, Jun Luo - American Chemical Society (ACS), 2024
Flexible CIGS solar cells, with their adjustable band gap for future flexible tandem solar cells and flexibility for roll-to-roll manufacturing, have the potential to be used in a wide range of applications. However, flexible CIGS solar cells are always manufactured at relatively low temperatures, where Cu diffusion has a substantial impact on the CIGS surface state and defect formation. To address these issues, we designed a new CIGS growth profile in this work by carefully examining the effects of different locations of excess Cu in the third stage of the CIGS deposition profile. The results showed that adding more Cu to the middle part of the third stage can enhance the crystal quality, expand the GGI grading notch region, move the GGI minimum to the CdS side, cause a
8. Swarm‐Optimized ZnO/CdS/CIGS/GaAs Solar Cell for Enhanced Efficiency and Thermal Resilience
Habib Ullah Manzoor, Tareq Manzoor, Sajjad Hussain - Wiley, 2024
Optimizing solar cell design is vital for boosting efficiency, cutting production costs, and meeting the increasing demand for renewable energy solutions. Through meticulous adjustments in material compositions and device architectures, optimization enhances energy conversion efficiency, making solar power more competitive and adaptable across various applications. This article presents the optimization and efficiency enhancement of a ZnO/CdS/CIGS solar cell with GaAs. The optimization process utilizes the particle swarm optimization algorithm with a stepbystep approach. Solar cells are designed using SCAPS1D software, and optimization is performed using Python. The optimized ZnO/CdS/CIGS solar cell achieves an efficiency of 32.4%, which rises to 44.7% upon integrating a GaAs layer. Further efficiency gains are observed, reaching 53.2% through back contact optimization, providing a power density of 54 mW cm 2 . Optimization also notices a significant improvement in quantum efficiency. The cells are tested under concentrated solar irradiance (100010 000 W m 2 ) and temperatures ... Read More
9. Scalable CIGS Solar Cells Employing a New Device Design of Nontoxic Buffer Layer and Microgrid Electrode
Inchan Hwang, Myounghyun Lee, Ahreum Lee - American Chemical Society (ACS), 2024
The efficiency of copper indium gallium selenide (CIGS) solar cells that use transparent conductive oxide (TCO) as the top electrode decreases significantly as the device area increases owing to the poor electrical properties of TCO. Therefore, high-efficiency, large-area CIGS solar cells require the development of a novel top electrode with high transmittance and conductivity. In this study, a microgrid/TCO hybrid electrode is designed to minimize the optical and resistive losses that may occur in the top electrode of a CIGS solar cell. In addition, the buffer layer of the CIGS solar cells is changed from the conventional CdS buffer to a dry-processed wide-band gap ZnMgO (ZMO) buffer, resulting in increased device efficiency by minimizing parasitic absorption in the short-wavelength region. By optimizing the combination of ZMO buffer and the microgrid/TCO hybrid electrode, a device efficiency of up to 20.5% (with antireflection layers) is achieved over a small device area of 5 mm 5 mm (total area). Moreover, CIGS solar cells with an increased device area of up to 20 mm 70 mm (to... Read More
10. Heterojunction Solar Cell with Composite Intrinsic Amorphous Silicon Layer and Textured Substrate
ANHUI HUASUN ENERGY CO LTD, 2024
A heterojunction solar cell with improved efficiency, comprising a textured semiconductor substrate layer, a P-type amorphous silicon layer, an intrinsic amorphous silicon layer, and an N-type amorphous silicon layer. The intrinsic layer is a composite structure comprising a bottom intrinsic layer and a wide-band-gap intrinsic layer, with the wide-band-gap layer having a bandgap greater than the bottom layer. The cell exhibits enhanced light trapping and reduced parasitic absorption, resulting in improved conversion efficiency.
11. Optimization CIGS/CIGS Tandem Solar Cells by Adjusting Layer Thickness Using Silvaco-Tcad
Bahareh Boroomandnasab, Mohammad Hossein Zolfaghari - Apex Publishing, 2024
This research designed and simulated CIGS/CIGS back-to-back solar cells using Silvaco-Atlas software. We considered CIGS absorbing layer thickness and sub-cells as critical parameters to optimize the performance of the CIGS/CIGS tandem solar cell. The research comparatively examined the effect of different electrode metals, such as molybdenum, aluminum, titanium, and silver, on the efficiency. The electrical parameters of the best CIGS/CIGS tandem solar cell configuration were a short-circuit current density (Jsc) of 15.65 mA/cm, an open-circuit voltage (Voc) of 1.86 V, a fill factor (FF) of 86.04%, and a conversion efficiency () of 27.12%. The optimal CIGS absorbing layer thickness of the top and bottom cells corresponding to the maximum conversion efficiency obtained were 0.17 and 6.3 m, respectively. In contrast, the optimal thickness of the Cds layer was 0.04 m. Silver had the best performance in connecting layers between several metals. The results can be used to develop low-cost and high-efficiency solar cells.
12. Study of the second-generation of CdTe and CIGS thin film PV modules under natural sunlight conditions
Katarzyna Dyndał, J. Sanetra, К. Marszałek - UK Zhende Publishing Limited Company, 2024
There is a significant amount of research in the literature concerning the performance of solar panels operating during outdoor exposure, but the full topic is not yet exhausted. One of the reasons is that the photovoltaic cell technology is constantly evolving. In this paper, a comparison of two types of CdTe and CIGS modules operated with a nominal power of 80 W and 140 W, respectively is studied. The module tests were performed under external conditions during autumn, winter, spring, and summer from October 2019 to July 2020 in the temperate climate of Mikinia, South Poland. The photovoltaic panels were connected to the electric grid via microinverters. During the tests, the temperature of the panels was monitored. To determine the influence of solar radiation on the energy conversion efficiency of photovoltaic panels, a pyranometer installed in the plane of the panels was used. Based on the monitoring of the atmospheric conditions and the measurement of instantaneous power, the efficiency of the modules is determined.
13. Radiation resistant chalcopyrite CIGS solar cells: proton damage shielding with Cs treatment and defect healing <i>via</i> heat-light soaking
Tzu‐Ying Lin, Chi-Feng Hsieh, Ayaka Kanai - Royal Society of Chemistry (RSC), 2024
Cu(In, Ga)Se 2 (CIGS) solar cells are recognized as next-generation space technology due to their flexibility, lightweight nature, and excellent environmental stability.
14. Effect of Temperature to Fabrication Cigs Solar Cell Using the Sputtering Method
Nurul Lathii Fatul Chamidah, Nandang Mufti, Atika Sari Puspita Dewi - EDP Sciences, 2024
Copper-indium-gallium diselenide (CuInGaSe2) or CIGS is one of the most promising materials for thin film solar cell applications. CIGS solar cells were deposited by sputtering method on ZnO/ZnS/CIGS/Mo arrays. Various parameters in sputtering greatly influence the efficiency of CIGS solar cells such as temperature. Thermal parameters are used to compare the effect of the CIGS layer on optimizing the efficiency of CIGS solar cells. The results show that the CIGS layer deposited using temperature has a crystalline structure, besides that the resulting efficiency is also higher than CIGS solar cells deposited without temperature, namely 0.177%.
15. Top cell design and optimization of all-chalcopyrite CuGaSe<sub>2</sub>/CuInSe<sub>2</sub> two-terminal tandem solar cells
Jiancheng Zhong, Xiaotian Zhang, Changqing Lin - Acta Physica Sinica, Chinese Physical Society and Institute of Physics, Chinese Academy of Sciences, 2024
Solar cells have attracted much attention, for they can convert solar energy directly into electric energy, and have been widely utilized in manufacturing industry and peoples daily life. Although the power conversion efficiency (PCE) of single-junction solar cells has gradually improved in recent years, its maximum efficiency is still limited by the Shockley-Queisser (SQ) limit of single-junction solar cells. To exceed the SQ limit and further obtain high-efficiency solar cells, the concept of tandem solar cells has been proposed. In this work, the chalcopyrite CuGaSe<sub>2</sub>/CuInSe<sub>2</sub> tandem solar cells are studied systematically in theory by combining first-principle calculations and SCAPS-1D device simulations. Firstly, the electronic structure, defect properties and corresponding macroscopic performance parameters of CuGaSe<sub>2</sub> (CGS) are obtained by first-principles calculations, and are used as input parameters for subsequent device simulations of CGS solar cells. Then, the single-junction CGS and CuInSe<sub>2</... Read More
16. Evaluation of Cigs and Cdte Thin-Walled Solar Photovoltaics as Potential Energy Capture Systems for Electric-Vehicle Charging Stations: A Comparative Case Study in India
Ashwin Jacob, L. Jino, J. Bhasker - Elsevier BV, 2024
This study comprehensively evaluates the efficacy of solar-powered electric vehicle (EV) charging stations taking into account key metrics such as annual EV charging capacity, monthly fluctuations in energy generation, investment costs, and carbon dioxide (CO2) emission reductions achievable. Aligned with Sustainable Development Goals 7 and 13, this novel case work employs a comparative modeling approach to evaluate and optimize the performance of copper indium gallium selenide (CIGS) and cadmium telluride (CdTe) thin-film solar panels based on performance ratio (PR), panel sizing and unused energy metrics across six diverse Indian cities. The result data revealed that the 8.1 kWp system for both CIGS and CdTe achieved peak PR while concurrently registering the least energy deficit due to wasted power across all investigated locations. On a monthly basis, CIGS panels produced an average of 1242.6 kWh during the summer months, surpassing the CdTe panels by a 1.50% relative increase in energy output. Annual analysis of energy production revealed that the CIGS modules in Kochi generated... Read More
17. Swarm-Optimized ZnO/CdS/CIGS/GaAs Solar Cell for Enhanced Efficiency and Thermal Resilience
Habib Ullah Manzoor, Tareq Manzoor, Sajjad Hussain - Institute of Electrical and Electronics Engineers (IEEE), 2024
Optimizing solar cells design is vital for boosting efficiency and cutting production costs, meeting the increasing demand for renewable energy solutions. Through meticulous adjustments in material compositions and device architectures, optimization enhances energy conversion efficiency, making solar power more competitive and adaptable across various applications. This paper presents the optimization and efficiency enhancement of a ZnO/CdS/CIGS solar cell with GaAs. The optimization process utilizes the Particle Swarm Optimization algorithm with a step-by-step approach. Solar cells are designed using SCAPS-1D software, and optimization is performed using Python. The optimized ZnO/CdS/CIGS solar cell achieves an efficiency of 32.4%, which rises to 44.7% upon integrating a GaAs layer. Further efficiency gains are observed, reaching 53.2% through back contact optimization, providing a power density of 54 mW/cm2 . Optimization also notices a significant improvement in quantum efficiency. The cells are tested under concentrated solar irradiance (1000 to 10000 W/m2 ) and temperatures (300... Read More
18. Performance Enhancement of Graded CIGS Solar Cell with MoTe<sub>2</sub> as Transition Layer and BSF Contact
Raj Saha, Rajendra Prasad, Udai P. Singh - IEEE, 2023
Thin-film solar cell devices are gradually picking up in the commercial renewable energy space due to their lower energy payback period. CIGS (copper indium gallium selenide) based solar cells are one of the major contenders due to their higher conversion efficiency. Bandgap tuning through Ga grading if CIGS solar cells are one of the proven methods to improve its performance parameters. To increase the overall quantum efficiency of the device front grading (FG) i.e. stacking up the high band gap top layer followed by lower band gap bottom layer is used. To alleviate the intrinsic issue of minority carrier recombination in FG CIGS the use of p-Si and MoTe <inf xmlns:mml="http://www.w3.org/1998/Math/MathML" xmlns:xlink="http://www.w3.org/1999/xlink">2</inf> as BSF(back surface field) contact have been evaluated. The MoTe <inf xmlns:mml="http://www.w3.org/1998/Math/MathML" xmlns:xlink="http://www.w3.org/1999/xlink">2</inf> as an interfacial and BSF layer has been proposed. To solve dual issues of inter-layer elemental inter-diffusion during high temperature annealing and to restrict mi... Read More
19. SCAPS Simulation on CIGSe Thin Film Solar Cells: Effect of the Defects
A. Ashok, Francisco J. Cano, O. Reyes-Vallejo - IEEE, 2023
CIGSe thin film solar cells have been fascinating in the photovoltaic field due to their potential to get high conversion efficiencies at an attractive cost. The properties of the materials used in solar cells must be optimized to improve the efficiency. Here, SCAPS is utilized to simulate the CIGSe thin film solar cells. First, the material properties (i.e., thickness, bandgap, carrier concentration) of CIGSe, CdS, ZnO, and ZnO:Al are analyzed for the optimization process. The optimized efficiency of 27.32% is achieved for the CIGSe thin film solar cell. Then the effect of defect density and carrier capture cross section in CIGSe, CdS, and CdS/CIGSe interface on the performance of CIGSe thin film solar cell is reviewed. It is found that the higher the defects in the device lower the device's performance. This decrement in the efficiency is due to the decrease in the diffusion length of charge carriers by enhancing the recombination centers for them, preventing the collection of charge carriers, and finally degrading the device performance. This theoretical study can guide as a roadm... Read More
20. Composite Film of Carbon Nanotubes and Silver Nanowires with Enhanced Conductivity and Light Transmittance
SOUTH CHINA UNIVERSITY OF TECHNOLOGY, 2023
A composite film made of carbon nanotubes and silver nanowires for use as the hole transport layer in gallium arsenide-based heterojunction solar cells. The composite film provides high conductivity and efficient carrier separation at the interface between the carbon nanotubes and gallium arsenide layers. It is prepared by mixing carbon nanotubes and silver nanowires in a dispersion to avoid agglomeration, and then spin coating the composite onto the solar cell. The composite film has high light transmittance to avoid sacrificing solar absorption. It reduces resistance between layers without sacrificing light transmittance, accelerates carrier separation, and improves solar cell efficiency.
21. Numerical Simulation, Preparation, and Evaluation of Cu(In, Ga)Se2 (CIGS) Thin-Film Solar Cells
Borhan Albiss, Mohammad Al-Widyan - MDPI AG, 2023
This study presents the numerical simulation, optimization, preparation, and characterization of Cu(In, Ga)Se2 (CIGS) thin-film solar cells (TFSCs). Different cell parameters were investigated, including Ga/(Ga+In) (GGI) ratios, the thicknesses of CIGS absorption layers, the fill factor (FF), the open-circuit voltage (Voc), and the short-circuit current (Isc). The effects of the simulated parameters on the power conversion efficiency () of each prototype CIGS cells were investigated. The optimal GGI ratio was approximately 0.6. Using COMSOL Multiphysics software, a CIGS layer thickness of 2 m and an of 17% was calculated, assuming constant operating temperatures. Moreover, prototype CIGS solar cells with various compositions were prepared via a simple and cost-effective method based on solgel, sonication, and spin-coating techniques. The microstructures and electrical and optical properties of the CIGS-based solar cells were evaluated using currentvoltage (I-V) characteristics, scanning electron microscopy (SEM), X-ray diffraction, atomic force microscopy (AFM), and UV-vis spec... Read More
22. A STUDY OF CIGS AS A SOLAR CELL MATERIALS AND ITS OTHER APPLICATIONS
LAKSHMAN SINGH - Indian Journal of Scientific Research, 2023
CIGS SolarCell is a thin-film photovoltaic device that uses semiconductor layers of copper indium gallium selenide (CIGS) to absorb sunlight and convert it into electricity.It is manufactured by depositing a thin layer of copper, indium, gallium and selenium on glass or plastic backing, along with electrodes on the front and back to collect current.Because the material has a high absorption coefficient and strongly absorbs sunlight, a much thinner film is required than of other semiconductor materials.CIGS is one of three main stream thin-film photovoltaic (PV) technologies.CIGS outperforms polysilicon at the cell level; however its module efficiency is still lower, due to a less mature up-scaling.Thin-film market share is stagnated at around 15 percent, leaving the rest of the PV market to conventional solar cells made of crystalline silicon.In 2013, the market share of CIGS alone was about 2 percent and all thin-film technologies combined fell below 10 percent.Although CIGS solar cells are considered to be in the early stages of large-scale commercialization, they can be produced b... Read More
23. Efficiency Enhancement of CIGS Solar Cells with BSF Layer and Graded-Bandgap Absorber Layer
J.R Wijesingha, R. M. T. Damayanthi, G.I.P. De Silva - IEEE, 2023
The efficiency of conventional copper indium gallium selenide (CIGS) solar cells is lower than that of silicon-based solar cells. The use of expensive materials such as indium and gallium raise the manufacturing cost. The efficiency of conventional CIGS solar cells is compared in this study by using Tin (II) sulfide (SnS) as an economical back surface field layer (BSF) and a graded bandgap absorber (CIGS) layer. In this investigation, a conventional CIGS structure comprising of Al/ZnO/CdS/CIGS/Mo was used as a reference. During the initial stage, A BSF layer was introduced to the conventional structure. It had a 28.18% efficiency using a thickness of 0.8 <tex xmlns:mml="http://www.w3.org/1998/Math/MathML" xmlns:xlink="http://www.w3.org/1999/xlink">$\mu \mathrm{m}$</tex> CIGS layer and thickness of 0.3 <tex xmlns:mml="http://www.w3.org/1998/Math/MathML" xmlns:xlink="http://www.w3.org/1999/xlink">$\mu \mathrm{m}$</tex> ultrathin SnS layer. The conventional structure was treated with a 1.1 <tex xmlns:mml="http://www.w3.org/1998/Math/MathML" xmlns:xlink="http://www.w3.org/1999/xlink">$\m... Read More
24. Annealing effects on Cu(In,Ga)Se<sub>2</sub> solar cells irradiated by high-fluence proton beam
Jiro Nishinaga, M. Togawa, Masaya Miyahara - IOP Publishing, 2023
Abstract Radiation tolerance of Cu(In,Ga)Se 2 (CIGS) solar cells has been investigated using high-fluence proton beam irradiation for application to devices in extremely-high-radiation environments. CIGS solar cells deteriorated after high-energy proton irradiation with non-ionizing energy loss of 1 10 16 MeVn eq cm 2 , however, the CIGS solar cells could generate power after high-fluence irradiation. The ideality factors increased from 1.3 to 2.0, and series resistance increased, indicating that the concentration of recombination centers increased in CIGS layers. After heat-light annealing, the conversion efficiencies gradually recovered, and the recombination centers were confirmed to be partly passivated by annealing at 90 C. The short-circuit currents for 10 m thick CIGS solar cells were recovered by dark annealing in the same manner as for 2 m thick CIGS solar cells. Dark annealing on irradiated CIGS solar cells has beneficial effects on passivate the recombination centers, even using thicker CIGS layers.
25. Study of Factors Affecting the Performance of CIGS Based Thin Film Solar Cells
Chubawati Chang, Sarita Panigrahy, Dushmanta Kumar Das - IEEE, 2023
This research aims to improve the CIGS (copper, indium-gallium, diselenide) thin-film photovoltaic cell using Silvaco-Atlas device simulator. Four important performance parameters extracted from the simulated data were its power conversion efficiency, open circuit voltage, fill factor and short circuit current density. In order to compare performance and validate the results with respect to the parameters acquired from the simulation, a CIGS-based solar cell that was experimentally constructed was utilised as a reference. The simulated cell was further optimised by tweaking the absorber material thickness, band gap and concentration of doping. The optimised CIGS cell achieved improved power conversion efficiency from 22.9% to 25%, fill factor from 81.47% to 83.65%, open circuit voltage from 702 mV to 840 mV and short circuit current density from 37.4 to 33.3 mA/ cm <sup xmlns:mml="http://www.w3.org/1998/Math/MathML" xmlns:xlink="http://www.w3.org/1999/xlink">2</sup> The drop in current density is due to the rise in band gap from 1.1 to 1.2 eV or the change in ratio of Ga/(Ga+In) fr... Read More
26. Solar Cell with Amorphous and Polycrystalline Silicon Layers Featuring Impurity Diffusion and Ion-Implanted Heterojunction
Samson Mil'shtein, 2023
A novel solar cell design that combines a-Si and poly-Si layers to achieve high efficiency while overcoming conventional limitations. The design employs a thin amorphous silicon (a-Si) layer with suppressed dangling bond recombination through diffusion of impurities and ion implantation of polysilicon. This approach eliminates the need for costly hydrogenation of dangling bonds, while maintaining the simplicity of liquid phase epitaxy (LPE) production. The configuration allows donor doping at the a-Si surface and acceptor doping of the poly-Si layer, enabling efficient carrier transport across the heterojunction. The resulting solar cell achieves high efficiency while maintaining the advantages of both materials.
27. CIGS-Based Solar Cells
Sandeep Arya, Prerna Mahajan - Springer Nature Singapore, 2023
The third chapter explores the potential of solar cells based on copper indium gallium diselenide (CIGS). Both the benefits and drawbacks of commercializing CIGS solar cells are explored, highlighting the need of their development. It is shown how CIGS solar cells stack up against c-Si solar cells. The positive impacts of the CIGS absorber's graded bandgap and Na distribution are also discussed. Non-vacuum methods, such as co-evaporation and sequential deposition, as well as vacuum deposition approaches are explained for depositing a CIGS layer. Flexible solar cells, the variables that affect cell efficiency and ways in which efficiency may be increased, are all covered.
28. Effect of Temperature on the Performance of CGS/CIGS Tandem Solar Cell
Mourad Elbar, S. Tobbeche, Slimane Chala - Sumy State University, 2023
The CGS and CIGS being promising materials for large scale photovoltaic applications, the effect of temperature on the electrical parameters of a CGS/CIGS tandem solar cell has been investigated in this work.The copper gallium diselenide (CGS) and copper indium gallium diselenide (CIGS) structures as topcell and bottom-cell respectively, were numerically simulated under AM1.5G spectral illumination using the two-dimensional device simulator Silvaco-Atlas.The temperature dependency of the solar cell's characteristics was investigated in the temperature range from 300 to 400 K at intervals of 20 K.The simulation results show the density current (Jsc) slightly increases whereas the open-circuit voltage (Voc) and fill factor (FF), conversion efficiency () decreases with the increase in temperature.The tandem cell operating temperature efficiency was found to be (-0.34%/K), which is slightly higher than that of CGS solar cell (-0.29 %/K), but markedly better than that of CIGS solar cell (-0.41 %/K).
29. Enhancing the value of environment-friendly CZTS compound for next generation photovoltaic device: A review
Tahta Amrillah - Elsevier BV, 2023
Cu2ZnSnS4 (CZTS) is considered a solar cell material alternative to CuInGaSe2 (CIGS); they have almost the same performance; except for power conversion efficiency (PCE). CZTS is stable beyond organic solar cells. Considering it's low-cost and eco-friendly, CZTS has become one of the best candidates to replace Si-, GaAs- and Cd-based solar cells in the marketplace. By using an appropriate fabrication strategy, CZTS solar cells could be transformed into wearable devices. Thus, a comprehensive study on how to boost the CZTS solar cell's performance is very crucial to increase their value. In this review, we compile information and strategy to increase the PCE of the CZTS solar cell and how to transform it into wearable devices. It starts from the explanation of CZTS's structure and properties up to their development in the next-generation of solar cell devices. A proper choice of eco-friendly complement layer in CZTS solar cells is presented. The recent fabrication together with the green synthesis approach is also explained. We also propose a plausible strategy for the commercializati... Read More
30. Advances in CIGS thin film solar cells with emphasis on the alkali element post-deposition treatment
Chenchen Zhao, Yu Shen, Wei Tang - Elsevier BV, 2023
In the past tens of years, the power conversion efficiency of Cu(In,Ga)Se2 (CIGS) has continuously improved and been one of the fastest growing photovoltaic technologies that can also help us achieve the goal of carbon emissions reduction. There are several key progresses for its success, The alkali element post-deposition treatment (AlK PDT) is regarded as the most important finding in the last 10 years, which has led to the improvement of CIGS solar cell efficiency from 20.4% to 23.35%. A profound understanding of the influence of alkali element on the chemical and electrical properties of the CIGS absorber along with the underlying mechanisms is of great importance. In this review, we summarize the strategies of the alkali element doping in CIGS solar cell, the problems to be noted in the PDT process, the effects on the CdS buffer layer, the effects of different alkali elements on the structure and morphology of the CIGS absorber layer, and retrospect the progress in the CIGS solar cell with emphasis on the alkali element post deposition treatment.
31. Numerical Simulation of Tandem Using ZnS as a Buffer Layer Cu I&lt;sub&gt;(1-&lt;i&gt;x&lt;/i&gt;) &lt;/sub&gt;Ca&lt;sub&gt;&lt;i&gt;x&lt;/i&gt;&lt;/sub&gt;Se&lt;sub&gt;2&lt;/sub&gt;/CuGaSe&lt;sub&gt;2&lt;/sub&gt;
Donafologo Soro, Sékou Toure, Adama Sylla - Scientific Research Publishing, Inc., 2023
In the global context of diversification of usable energy sources, the use of renewable energies, in particular solar photovoltaic energy, is becoming increasingly important. As such, the development of a new generation of photovoltaic cells based on the CIGS material is promising. Indeed, the efficiency of these cells has exceeded 20% in recent years. Thus, our work consists in the modeling of a tandem solar cell based on Cu(In,Ga)Se2 (CGS/CIGS). The goal is to optimize its physical and geometrical parameters in order to obtain a better photovoltaic conversion efficiency compared to other research works on tandem in the past. We used AMPS-1D software for the simulation. When we realize the tandem, the least efficient cell (CGS) imposes the current and the shape of the J-V characteristic of the tandem. We obtained a theoretical efficiency of 39.30% which is significantly higher than the efficiencies obtained in the past by other researchers with a short circuit current of 34.60 mA/cm2, an open circuit voltage of 1.74 V and a form factor of 65.20%. The simulation also showed that the ... Read More
32. Insight on PV parameters on CIGS solar cell under different grading profiles
Savita Rawat, Shivani Gohri, Jaya Madan - Elsevier BV, 2023
Photovoltaic (PV) technology has received a lot of attention internationally since it is considered to be the most economical approach to satisfy the world's increasing energy demands. Copper indium gallium selenide (CIGS) solar cell has higher absorption coefficient, long-term reliability, and low construction cost. CIGS material has a tunable bandgap that can be adjustable. In this article, study on CIGS solar cells has been performed, and strategies were proposed for maximizing efficiency using "grading". SCAPS-1D tool has been used for numerical simulation. CIGS solar cell performance is investigated with graded profiles i.e., exponential function, beta function, power law and without a graded profile (uniform pure CIGS). The results show that cells performance appears to be significantly impacted by grading. Graded power law of CIGS solar cell has delivered power conversion efficiency (PCE) of 23.8%, however the efficiency achieved by ungraded CIGS solar cells is 17.8%. As a result, the observations given in this paper may stimulate greater interest in the topic among researcher... Read More
33. Investigation of optical and electrical properties of CIGS solar cell using simulation program SCAPS and Impedance spectroscopy
YHairch, AELMELOUKY, MMonkade - Wiley, 2023
In this paper, CIGS heterojunction solar cells have been proposed and analyzed by SCAPS Solar Cell Capacitance Simulator the effect of temperature and thickness on cell characteristics such as (, FF, J and V ). The effects of various layer parameters like thickness, carrier concentration, defect density, mobility, and conduction band offset. The photovoltaic cell has been studied further through capacitance-voltage simulations to obtain the net built-in potential and the apparent doping profile. The impedance plot (IS) analytical theory to the characterization of Cu (In, Ga) Se (CIGS)-based solar cells was investigated. The equivalent circuit of the CIGS solar cell consisting of series and parallel resistances and a capacitance-like element labeled as constant phase element (CPE) around the CdS/CIGS interface was developed. The CPE reflects the depletion layer thickness and the p-n interface uniformity and quality. In particular, the CPE-p-value, which is an index of the impedance of CPE, affects the quality around the CdS/CIGS and CIGS-Si interface in terms of defect existence ... Read More
34. CIGSS Electrodeposition from Improved Electrolytes
Mahfouz Saeed, Omar Israel González Peña - Research Square Platform LLC, 2023
Abstract Due to its wider band-gap than CuInGaSe2 [CIGS], Cu(In,Ga)(S,Se)2 [CIGSS] offers significant superiority compared to CuInGaSe2 as solar cell thin film. According to earlier reports, the manufacturing of CIGSS requires the addition of elements during the annealing process using a hydrogen sulfide partial pressure or from the vapor phase using a lengthy and difficult-to-control procedure. Our CIGSS electrodeposition electrolyte is comparable to the CIGS electrodeposition electrolyte in composition, but it also adds sulfur thiosulphate as a sulfur source, and the pH of the electrolyte is sustained below 2. The method creates the CIGSS compound with the desired stoichiometry without adding any elements from the vapor phase during annealing. There are supplied example polarization curves for several speeds of disk rotation. The annealing procedure did not require the addition of any metal.
35. Inkjet‐Printed Cu(In,Ga)(S,Se)<sub>2</sub> Thin Film Solar Cells Exceeding 15% Power Conversion Efficiency
Bowen Liu, Xinan Shi, Wei Shao - Wiley, 2023
Cu(In,Ga)(S,Se) 2 (CIGSSe) solar cells are one of the most promising thin film photovoltaics with a record efficiency of 23.6%. However, the biggest drawback to CIGSSe solar cells is their high material cost, partially resulting from relatively rare and expensive indium and gallium. Therefore, improving the utilization of indium and gallium and reducing their wastage can greatly lower the cost of CIGSSe thin film solar cells. Inkjet printing is a facile, costeffective, and lowwaste deposition technology, which is particularly suitable for lowcost and largearea fabrication of CIGSSe solar cells. Herein, a novel and green ionic liquidassisted ink to fabricate highly efficient CIGSSe solar cells is developed. The material utilization of inkjet printing can be remarkably improved compared to the conventional vacuumbased deposition approach and spincoating solution approach. The CIGS printable ink is prepared by dissolving copper acetate, indium acetate, gallium nitrate, and thiourea into ethanol with the assistance of n butylammonium butyrate ionic liquid. Ionic liquidassisted C... Read More
36. Photovoltaic device innovation for a solar future
Pierre Verlinden, David L. Young, Gang Xiong - Elsevier BV, 2023
Photovoltaics (PV), also known as solar cells, are now found everywherein utility plants; on roofs of homes and commercial buildings; on platforms at sea; in agricultural fields; on vehicles, buildings, drones, and backpacks; and, in their longest running application, providing power in space. Continuous device innovation has led to increased efficiency and improved reliability for multiple PV technologies. Confronted with an urgent need to deploy PV at multiterawatt (TW) scale over the next two decades to mitigate greenhouse gas emissions, PV device innovation takes on new urgency and impact. This perspective reviews recent progress in device design and performance for PV technologies that are currently in commercial production at greater than 1 GW/year or enabling significant space-based power generationSi, CdTe, CIGS, and multijunction IIIVand looks ahead to the next 5 years. We also identify device-related topics requiring cross-cutting research and innovation.
37. Defect suppression for high-efficiency kesterite CZTSSe solar cells: Advances and prospects
Hao Wei, Yimeng Li, Changcheng Cui - Elsevier BV, 2023
Comprising of earth-abundant, inexpensive, and environmentally friendly elements, kesterite Cu2ZnSn(S,Se)4 (CZTSSe) solar cells are demonstrated to have enormous potential to be an excellent alternative to the commercial Cu(In,Ga)(S,Se)2 (CIGSSe) and CdTe thin-film solar cells. However, the record power conversion efficiency (PCE) of CZTSSe is only 13.0%, which lags far behind state-of-the-art commercial thin-film solar cells (22%23%). A wide variety of carrier recombination centers, including defects, defect clusters, and secondary phases, which cause nonradiative recombination of carriers and photovoltage loss of the CZTSSe device, is assumed to be the main arch-criminal for poor efficiency. This review focuses on frontier modification strategies to suppress charge recombination. The adverse effects caused by defects and secondary phases in kesterite CZTSSe thin-film solar cells are elucidated. Meanwhile, the recent advances in kesterite CZTSSe solar cells are summarized from extrinsic cation doping, interface engineering, and removal of secondary phases. Finally, the principles o... Read More
38. Solar Cell with Dual-Layer N-Type Structure Incorporating Cuprous Oxide and Alternating Gallium-Germanium and Gallium-Tin Compositions
TOSHIBA KK, 2022
Solar cell with enhanced conversion efficiency through optimized bandgap engineering. The cell employs a p-type light-absorbing layer with a cuprous oxide (Cu2O) light-absorbing material, and an n-type layer with a specific composition that balances bandgap matching and charge carrier mobility. The n-type layer structure features alternating layers of different materials with specific compositions, including a region with a specific composition of gallium and germanium (Gay1M1x2Ox3) and a region with gallium and tin (Gay1Zny2M2y3M3y4Oy5). This dual-layer design enables precise control over the bandgap and carrier mobility, resulting in improved conversion efficiency.
39. Simulation of Theoretical and Experimental Parameters of Materials Used in CIGSe Thin Film Solar Cells by SCAPS software
A. Ashok, Daniel Valencia-Caballero, J. Diaz - IEEE, 2022
The CIGSe thin film solar cell (TFSC) has been attracted to photovoltaic technologies for energy production due to its favorable material properties. This research work introduces the SCAPS software to model the CIGSe TFSC. From the simulated results, the solar cell performance was enhanced with an increase in thickness of the CIGSe by improving the absorption of photons. The recombination centers for the generated charge carriers were increased at higher carrier concentrations of the CIGSe. The efficiency was slightly improved when CdS thickness is increased from 20 to 100 nm. The collection of generated charge carriers was enhanced with a rise in carrier concentration of CdS, which increases the device performance. After analyzing these results, the optimized efficiency of 27.32% was noticed for CIGSe TFSC. The quantum efficiency (QE) results confirmed that the photons whose wavelength value lower than 900 nm are absorbed in the device. Moreover, the experimental results of CIGSe and CdS thin films are studied in this simulation. It was observed that the device's performance was re... Read More
40. Genetic algorithm based-technique for CIGS solar cell performance optimization
H. Bencherif, Abderrahim Yousfi, A. Meddour - IEEE, 2022
In this work, we investigate an optimal design of CIGS solar cell using a hybrid strategy by combining an analytical model with genetic algorithm technique. The proposed strategy takes into account the electrical and optical properties of the employed materials. Physical and geometrical parameters influences are investigated within a suitable range of variation that considers experimental and physical limits. Besides, the presented strategy not only used to examine the influence of different parameters on the device efficiency but also to captivate the optimal combination of this design parameters that leads to the best CIGS solar cell performance. The findings show that for suitable doping concentrations and thicknesses of ZnO, CdS and CIGS layers an efficiency of 14.6 % can be achieved.
41. BTO-Coupled CIGS Solar Cells with High Performances
Congmeng Li, Haitian Luo, Hongwei Gu - MDPI AG, 2022
In order to improve the power conversion efficiency (PCE) of Cu(In,Ga)Se2 (CIGS) solar cells, a BaTiO3 (BTO) layer was inserted into the Cu(In,Ga)Se2. The performances of the BTO-coupled CIGS solar cells with structures of Mo/CIGS/CdS/i-ZnO/AZO, Mo/BTO/CIGS/CdS/i-ZnO/AZO, Mo/CIGS/BTO/CdS/i-ZnO/AZO, Mo/CIGS/CdS/BTO/i-ZnO/AZO, Mo/CIGS/BTO/i-ZnO/AZO, Mo/CIGS/CdS/BTO/AZO, and Mo/ CIGS/CdS(5 nm)/BTO(5 nm)/i-ZnO/AZO were systematically studied via the SCAPS-1D software. It was found that the power conversion efficiency (PCE) of a BTO-coupled CIGS solar cell with a device configuration of Mo/CIGS/CdS/BTO/AZO was 24.53%, and its open-circuit voltage was 931.70 mV. The working mechanism for the BTO-coupled CIGS solar cells with different device structures was proposed. Our results provide a novel strategy for improving the PCE of solar cells by combining a ferroelectric material into the p-n junction materials.
42. Solar Cell with Dual-Polarity Back Electrode Structure and Metal Particle Connection Layer
LG ELECTRONICS INC, 2022
A solar cell and solar cell panel with improved electrode structure for simplified manufacturing and reduced electrical resistance. The solar cell features a back electrode structure with first and second electrodes of different polarities on the back surface. The second electrode includes a particle connection layer formed by connecting metal particles and a cover layer of a different metal, while the first electrode has a main electrode portion and a connection electrode portion. The connection electrode portion is formed by printing a metal electrode paste, enabling direct connection to the wiring portion without high-temperature firing.
43. The recent progress and state-of-art designs of Multi-junction Solar Cells
Shijue Xu - Darcy & Roy Press Co. Ltd., 2022
Multi-junction solar cell is of great significance for increasing energy utilization, reducing environmental pollution and improving social and economic benefits. This paper will focus on the methods to improve the conversion efficiency of multiple solar cells based on information retrieval and literature analysis. Specifically, some of the significance milestones of the state-of-art scenarios will be briefly introduced in the field of multi-junction solar cells primarily. Afterwards, two well-performances state-of-art scenarios will be listed and discussed. The most popular methods to improve the conversion efficiency of multi-cell solar cells are compared and analyzed. Besides, some of the current limitations of multi-cell solar cells are demonstrated and a certain prospect for its future development is proposed. These results shed light on better converting solar energy into electric energy needed by human beings.
44. Temperature- and Illumination-Dependent Characterization of Wide Bandgap Sulfide CIGS and CZTS Solar Cells
Simon M.F. Zhang, Guojun He, Chang Yan - IEEE, 2022
Photovoltaic devices are exposed to a wide range of temperatures and illumination conditions in the field. Using temperature-dependent current-voltage and Suns-VOC measurements, we investigate the performance of two types of wide-bandgap pure-sulfide inorganic thin film solar cells: CuInGaS2 (CIGS) and Cu2ZnSnS4 (CZTS). We find that both technologies behave linearly with temperature, with one-sun sensitivities close to that of crystalline silicon cells. In addition, we find that the open-circuit voltage of the investigated cells becomes significantly more sensitive to temperature at low light intensities as compared to one-sun. To our knowledge, these results are being presented for the first time, and we expect them to be instructional to the field and indoor yield prediction as well as tandem cell design.
45. Paraxial, Thin-Lens Analysis of Fixed-Tune, Non-Scaling FFAs with Two Magnets per Cell
Stephen J. Brooks - Office of Scientific and Technical Information (OSTI), 2022
that directly impact the ultimate cost of processing CIGS modules. These topics include (i) module output, and therefore, the solar cell and module efficiency, (ii) overall process yield, which requires developing a process that offers a very high degree of repeatability for every manufacturing step, and finally (iii) a process approach that maximizes th e utilization of the materials used. In accordance with the above, this report will cover activity during Phase I in the investigation of methods for low-cost manufacturing and process development. Specific tasks cover four broad areas: (1) solar cell efficiency, (2) process control, (3) module integration, and (4) enhanced material utilization by recycling unused materials.
46. The Photovoltaic Cell Based on CIGS: Principles and Technologies
Billel Salhi - MDPI AG, 2022
Semiconductors used in the manufacture of solar cells are the subject of extensive research. Currently, silicon is the most commonly used material for photovoltaic cells, representing more than 80% of the global production. However, due to its very energy-intensive and costly production method, other materials appear to be preferable over silicon, including the chalcopyrite-structured semiconductors of the CIS-based family (Cu(In, Ga, Al) (Se, S)2). Indeed, these compounds have bandwidths between 1 eV (CuInSe2) and 3 eV (CuAlS2), allowing them to absorb most solar radiation. Moreover, these materials are currently the ones that make it possible to achieve the highest photovoltaic conversion efficiencies from thin-film devices, particularly Cu(In, Ga)Se2, which is considered the most efficient among all drifts based on CIS. In this review, we focus on the CIGS-based solar cells by exploring the different layers and showing the recent progress and challenges.
47. Practical Enhancements in Current Density and Power Generation of Bifacial Semitransparent Ultrathin CIGSe Solar Cells via Utilization of Wide Bandgap Zn‐Based Buffer (Adv. Sci. 13/2022)
Dongryeol Kim, Sang Su Shin, Yonghee Jo - Wiley, 2022
Semitransparent Ultrathin CIGSe Solar Cells In article number 2105436, Joo Hyung Park and co-workers develop a bifacial and semitransparent ultrathin (STUT) Cu(In1-x,Gax)Se2 (CIGSe) solar cell with a wide bandgap Zn(O,S) buffer, and establish the concept and method to compare power generation ability by defining bifacial compatible efficiency (BCE) to reflect the albedo effect advantage in bifacial application, comparing with monofacial power conversion efficiency (PCE).
48. Investigation on the electrical performance of a curved PV roof integrated with CIGS cells for traditional Chinese houses
Xinyi Tian, Jun Wang, Shuang Yuan - Elsevier BV, 2022
Inspired by traditional Chinese architecture, a curved PV roof integrated with copper indium gallium selenide (CIGS) cells is designed, which not only manifests Chinese aesthetic elements but also could generate electricity. Considering solar radiation distribution on curved PV cells different from that on traditional flat cells, this paper builds a radiation distribution model to calculate the radiation on the curved surface and an electrical model based on 5-parameter model to predict the power output of PV cells with different connections (independent output; in parallel; in series). An experimental rig was built, and the theoretical model was validated. Results showed that the CIGS cells on the west side of the curved surface performed better in electricity generation than the CIGS cells on the east side did; the CIGS cells in parallel generated more power than the cells in series did. The annual performance prediction shows that CIGS cells on the west side generate 155.18 kWh, which is 21.49% more than on the east side; CIGS cells in parallel generate 275.96 kWh, which is 12.56%... Read More
49. Cost-saving and performance-enhancement of CuInGaSe solar cells by adding CuZnSnSe as a second absorber
Naceur Selmane, Ali Cheknane, Fakhereddine Khemloul - Elsevier BV, 2022
CuInGaSe (CIGS) based solar cells are promising, but involve costly and hazardous and costly indium element. This work aims at solving these problems, without sacrificing the benefits of CIGS systems. The approach is to use thinner CIGS layers. However, very thin layers minimize absorption and lower cell performance. Adding a second CuZnSnSe (CZTSe)-layer absorber should maintain high cell performance. The new proposed cell that has been simulated is MgF2/ZnO/Al/ZnO:i/CdS(n)/CZTSe(p)/CIGS(p)/Mo, with MgF2 antireflection layer, ZnO:i passivating layer, CdS emitter layer, CZTSe/CIGS double absorber layer, ZnO-Al transparent conductor oxide(TCO) and element almolybdenum (Mo) back contact. A ZnO-Al film has been experimentally electrodeposited onto FTO/Glass substrate, and then characterized. TCAD SILVACO using ATLAS module has been used in the simulation. Various parameters, including layer-thickness and doping-concentration, are optimized, keeping smaller CIGS-layer thickness. Band-diagrams, carrier-concentrations and currentdensity, in addition to possible recombination processes, ar... Read More
50. Simulation Study of CZTS/CZTSe Tandem Solar Cell by Using SCAPS-1D Software
Leila Ghalmi, Souhila Bensmaine, Mourad Elbar - Sumy State University, 2022
The solar spectrum can be divided by tandem solar cells into several subcells that have different bandgaps which convert, more effectively, the light into electricity than the single cells.In this study, the simulation of the photovoltaic (PV) characteristics of a CZTS/CZTSe tandem solar cell, based on structures of copper zinc tin sulfide (CZTS) as a top cell and copper zinc tin selenide (CZTSe) as a bottom cell, was accomplished by using SCAPS-1D simulator under AM1.5 illumination.Initially, the simulation of single CZTS and CZTSe solar cells was performed to give efficiency of 14.37 % and 17.87 %, respectively, which are in good agreement with the literature results.Before feeding with filtered spectrum, the simulated PV parameters of the CZTS/CZTSe tandem solar cell are the conversion efficiency () of 20.68 % and the shortcircuit current density (Jsc) of 20.205 mA/cm 2 of the top and bottom cells with arbitrary normal thicknesses.Furthermore, and in order to reach the matching current, both top and bottom cells have been investigated at different thicknesses for tandem configura... Read More
Get Full Report
Access our comprehensive collection of 106 documents related to this technology
