Self-Healing Solar Panels
Self-healing solar cells demonstrate measurable degradation patterns over their operational lifetime. Perovskite-based cells, while achieving conversion efficiencies of 25%, experience performance losses of 10-15% within 1,000 hours of outdoor exposure due to ion migration, interface deterioration, and microstructural damage. Silicon cells degrade more gradually at 0.5-1% annually, but their performance decline becomes economically significant over decades of deployment.
The central engineering challenge lies in developing regenerative mechanisms that restore cell performance without interrupting power production or requiring extensive downtime.
This page brings together solutions from recent research—including dual-stack architectures that alternate power generation and self-repair functions, controlled voltage pulse systems that restore optimal ion distribution, and thin-film regeneration technologies that can be applied to end-of-life panels. These and other approaches provide practical pathways to extend solar panel lifetimes while maintaining performance levels that make renewable energy economically competitive.
1. Solar Panel Assembly with Dual-Stack Self-Repairing Multi-Junction Cells and Integrated Regeneration Module
ELECTRICITE DE FRANCE, 2025
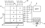
Solar panels with self-repairing multi-junction cells that can optimize their self-repair process and improve overall performance. The panels have two stacks of cells, one for power generation and one for self-repair during daylight. The power stack faces the sun, and the repair stack faces shade. This allows continuous power generation while repairing the degrading cells. The panels can be turned over if repair threshold exceeded. The repair stack connects to a regeneration module when shaded. Monitoring and control systems optimize repair and turning.
2. Multi-Junction Photovoltaic Cell with Dual-Stack Architecture for Alternating Power Generation and Self-Repair
ELECTRICITE DE FRANCE, 2025
Self-repairing multi-junction photovoltaic cell device and method for optimizing self-repair of perovskite-based cells. The device features a dual-stack architecture where one stack operates as a power generator while the other undergoes self-repair during the day. A control system monitors degradation and selectively positions the stacks to optimize regeneration. The method includes algorithms for controlling the system to maximize self-repair and restore optimal cell performance.
3. Photovoltaic System with Self-Repairing Perovskite Cells and Controlled Regeneration Mechanism
ELECTRICITE DE FRANCE, 2025
A photovoltaic system with self-repairing perovskite cells that optimizes degradation reversal through controlled regeneration. The system comprises a multi-junction solar panel with separate perovskite and silicon stacks, where the perovskite stack undergoes regeneration while the silicon stack generates power. A control system monitors degradation and selectively disconnects the perovskite stack from the power circuit when degradation exceeds a threshold, allowing regeneration to occur while the silicon stack continues to generate power. The regeneration process involves controlled voltage pulses and short-circuiting to restore ion distribution and optimal cell performance.
4. Polymeric Substrate Coated with Metal Oxide Layer Incorporating Halogen-Containing Metal Compound
ASOCIACION CENTRO DE INVESTIG COOPERATIVA EN NANOCIENCIAS CIC NANOGUNE, 2024
Self-healing organic-inorganic material comprising a polymeric substrate coated with a thin layer of metal oxide, wherein the coating layer is in direct contact with the substrate surface and contains a halogen-containing compound of the metal element. The material is prepared by exposing the substrate to a precursor comprising a metal element and a halogen-containing compound, followed by a co-reactant that reacts with the precursor to form the metal oxide coating layer. The material exhibits enhanced stability, mechanical properties, and durability, and is capable of self-healing through chemical repair of micro-damage.
5. Photoelectric Conversion Element with Nitrogen-Containing Electron-Transporting and Photoelectric Conversion Layers
RICOH COMPANY LTD, 2024
Photoelectric conversion element with enhanced long-term stability in high-light conditions. The element comprises a photoelectric conversion layer, an electron-transporting layer, a photoelectric conversion layer, a hole-transporting layer, and a second electrode. The electron-transporting layer contains an electron-transporting material with a nitrogen atom, while the photoelectric conversion layer incorporates a compound with nitrogen atoms. The compound is specifically designed to maintain photoelectric conversion efficiency even under prolonged exposure to high light intensities. The element is integrated into solar cells and photodiodes, enabling power generation in environments with high light intensities.
6. Photovoltaic System with Perovskite-Based Film Stack for In-Situ Integration on End-of-Life Silicon Solar Panels
SOLAIRES ENTREPRISES INC, 2024
A photovoltaic system that extends the life of end-of-life silicon solar panels by integrating a perovskite-based film stack that restores their light conversion efficiency. The system comprises a thin-film photovoltaic stack with perovskite semiconductor layers, an inverter, and electrical connectors that connect the stack to the existing panel. The system can be installed in situ, eliminating the need to remove the panel from the roof, and can be combined with a glass perovskite photovoltaic system that enhances the performance of near-end-of-life silicon modules.
7. Smart Materials to Empowering Perovskite Solar Cells with Self‐Healing Capability
Riccardo Pallotta, Silvia Cavalli, Matteo Degani - Wiley, 2024
Inspired by nature, intelligent selfhealing materials have recently been exploited also in the field of photovoltaics to mimic natural systems achieving selfrepairing. The past decade has witnessed perovskite solar cells (PSCs) skyrocketing to a certified power conversion efficiency of 26.1%. However, their intrinsic instability, when exposing to moisture, high temperature, and continuous illumination, hampers their commercial development for a longterm use in ambient operating conditions. Therefore, the use of smart selfhealing materials, based on selfassembling properties and dynamic interactions, empowers PSCs with selfrecovery abilities to reinforce their pivotal role as efficient photovoltaic devices and encourage their exploitation in the market. Herein, the current progress in selfhealing perovskite materials with a special focus on selfrecovery after moisture exposure or mechanical damage with the aim to provide a valuable insight for research on this topic to accelerate the PSC commercialization process is highlighted.
8. Decoding Polymeric Additive‐Driven Self‐Healing Processes in Perovskite Solar Cells from Chemical and Physical Bonding Perspectives
Jeong‐Seok Nam, Jinmyung Choi, Jang Woo Lee - Wiley, 2024
Abstract This review addresses the selfhealing effects in perovskite solar cells (PSCs), emphasizing the significance of chemical and physical bonding as core mechanisms. Polymeric additives play a vital role in inducing selfhealing phenomena along with the intrinsic properties of perovskite materials, both of which are discussed herein. As a relatively underexplored area, the selfhealing effect induced by polymeric additives in PSCs is reviewed from a chemical perspective. The chemical bonds involved in selfhealing include isocyanate, disulfide, and carboxylic acid groups. The physical bonds related to selfhealing effects are primarily hydrogen bonding and chelation. Selfhealing in flexible perovskite devices extends their lifespan and improves their mechanical robustness against environmental and mechanical stressors. This discussion delves into the initiation methods for selfhealing, the conditions required, and the recoveryrate profiles. This review not only catalogs various approaches to selfhealing, but also considers the fundamental limitations and potential of this p... Read More
9. Self‐healing polymers in rigid and flexible perovskite photovoltaics
Fang‐Cheng Liang, Erdi Akman, Sikandar Aftab - Wiley, 2024
Abstract Over the past 10 years, perovskite solar cell (PSC) device technologies have advanced remarkably and exhibited a notable increase in efficiency. Additionally, significant innovation approaches have improved the stability related to heat, light, and moisture of PSC devices. Despite these developments in PSCs, the instability of PSCs is a pressing problem and an urgent matter to overcome for practical application. Recently, polymers have been suggested suggestion has been presented to solve the instability issues of PSCs and increase the photovoltaic parameters of devices. Here, first, the fundamental chemical bond types of selfhealing polymers are presented. Then, a comprehensive presentation of the ability of selfhealing polymers in rigid and flexible PSCs to enhance the various physical, mechanical, and optoelectronic properties is presented. Furthermore, valuable insights and innovative solutions for perovskitebased optoelectronics with selfhealing polymers are provided, offering guidance for future optoelectronic applications. image
10. Heat-triggered Dynamic Self-healing Framework for Variable-temperature Stable Perovskite Solar Cells
Meng Li, Ying Tang, Zuhong Zhang - Springer Science and Business Media LLC, 2024
<title>Abstract</title> <bold>Metal halide perovskite solar cells (PSCs) are promising as the next-generation photovoltaic technology. However, the inferior stability under various temperatures remains a significant obstacle to commercialization. Here, we implement a heat-triggered dynamic self-healing framework (HDSF) to repair defects at grain boundaries caused by thermal variability, enhancing PSCs' temperature stability. HDSF, distributed at the grain boundaries and surface of the perovskite film, stabilizes the perovskite lattice and releases the perovskite crystal stress through the dynamic exchange reaction and shape memory effect of sulfide bonds. The resultant PSCs achieved a power-conversion efficiency (PCE) of 26.32% (certified 25.84%) with elevated temperature stability, retaining 94.2% of the initial PCE after 500 h at 85. In a variable temperature cycling test (between 40 and 80), the HDSF-treated device retained 87.6% of its initial PCE at 40 and 92.6% at 80 after 160 thermal cycles. This heat-triggered dynamic self-healing strategy could significantly enhance t... Read More
11. Self‐Healing Optical Structures for Light‐Trapping in Perovskite Solar Cells
Guanxiang Wan, Ezra Alvianto, Hongchen Guo - Wiley, 2024
Abstract Selfhealing transparent polymers are advantageous for various optoelectronic devices to improve resilience and durability. However, most of these materials have been applied only as flat films and do not address the need for optical structures that can manipulate light. Here optical microstructures embossed on a selfhealing polyurea film are presented which can autonomously recover from damage in ambient conditions. The polyurea film have a high optical transmittance above 90% and haze below 1.3%, and Young's modulus of 3.4 MPa. When applied as a protective lighttrapping layer for perovskite solar cells, the champion device shows improved short circuit current density from 23.7 to 25.0 mAcm 2 , and power conversion efficiency from 21.5% to 23.0%. Furthermore, the solar cell with the lighttrapping layer has improved impact resistance and can recover its performance after being scratched. It is envisioned that selfhealing optical structures can be realized for different geometries and materials in a range of optoelectronic applications to produce resilient and durable d... Read More
12. Photoelectric Conversion Module with Reverse Current Inhibition Structure for Variable Illuminance Conditions
RICOH COMPANY LTD, 2023
A photoelectric conversion module that enables efficient power generation in both low- and high-illuminance environments. The module comprises a series of photoelectric conversion elements, each consisting of a first electrode, a photoelectric conversion layer, and a second electrode. The elements are electrically coupled through a coupling portion, with a specific partition structure and electrode design that prevents reverse current degradation in high-illuminance conditions. The module can be integrated into wearable devices, sensors, and other IoT applications, providing a self-sustaining power supply that eliminates the need for external power sources or battery replacements.
13. Multilayer Junction Photoelectric Conversion Element with Silicon and Perovskite Layers and Intermediate Transparent Electrode
KABUSHIKI KAISHA TOSHIBA, TOSHIBA ENERGY SYSTEMS & SOLUTIONS CORP, 2023
A multilayer junction photoelectric conversion element with high efficiency, large area, and durability, comprising a bottom cell with a silicon layer, a top cell with a perovskite photoactive layer, and an intermediate transparent electrode between them. The element is manufactured by coating a perovskite precursor solution onto a mesoporous substrate, followed by deposition of the intermediate transparent electrode and the top cell's electrodes. The perovskite layer is formed through a reaction between the precursor solution and a metal halogen compound, resulting in a dense and pinhole-free film. The element's tandem structure enables high voltage output and improved efficiency compared to a single-cell silicon solar cell.
14. Effective Annealing of Proton and Electron Radiation Damage in Ultra-Thin Silicon Solar Cells
Y. Gurimskaya, Stanislau Herasimenka, Alex Fedoseyev - IEEE, 2023
The need for low-cost ultra-radiation hard PV technological solution is becoming extremely important with the ongoing space conquest adventure. In this article we focus on the novel feature of recently developed ultra-thin silicon solar cell - incorporate proprietary defect-engineered technology - to self-cure radiation damage, resulting in a minimal loss of efficiency over a cell operational lifetime.
15. Radiation tolerance and self-healing in triple halide perovskite solar cells
Hadi Afshari, Sergio A. Chacon, Shashi Sourabh - AIP Publishing, 2023
The high tolerance and stability of triple halide perovskite solar cells is demonstrated in practical space conditions at high irradiation levels. The solar cells were irradiated for a range of proton energies (75 keV, 300 keV, and 1 MeV) and fluences (up to 4 1014 p/cm2). The fluences of the energy proton irradiations were varied to induce the same amount of vacancies in the absorber layer due to non-ionizing nuclear energy loss (predominant at &lt;300 keV) and electron ionization loss (predominant at &gt;300 keV). While proton irradiation of the solar cells initially resulted in degradation of the photovoltaic parameters, self-healing was observed after two months where the performance of the devices was shown to return to their pristine operation levels. Their ability to recover upon radiation exposure supports the practical potential of perovskite solar cells for next-generation space missions.
16. Photoelectric Conversion Element with Edge-Region Electron and Hole-Transporting Layers and Defined Height Structure
RICOH COMPANY LTD, 2023
A photoelectric conversion element that prevents power generation capacity degradation in electrostatic and torsion tests, comprising a substrate, first electrode, hole blocking layer, photoelectric conversion layer, and second electrode. The photoelectric conversion layer includes an electron-transporting layer and a hole-transporting layer, with the electron-transporting layer positioned inside the first electrode and the hole-transporting layer positioned outside the second electrode in the edge region. The edge region height is less than the combined thickness of the first electrode, hole blocking layer, and electron-transporting layer.
17. In-Situ & Ex-Situ Study of Protons and Electrons Irradiations of Perovskite Solar Cells
Carla Costa, Matthieu Manceau, T. Nuns - IEEE, 2023
The need for low cost photovoltaic solutions is becoming more and more important with the ongoing NewSpace revolution. In this context, alternative solar cell technologies are under the spotlight, in particular perovskites which can reach high specific power. In this study, we investigate the electron and proton radiation hardness of multi-cation mixed halide perovskite cells CsxFA1-xPb(IyBr1-y)3. The proton irradiations demonstrate an excellent radiation hardness of the perovskite material but also highlight the degradation of the HTL layer. And the in-situ IV measurements under vacuum following the electron irradiations reveals a self-healing phenomena.
18. End Of Life Management Of Solar Panels
Ehab El-Fayome, Mohamed A. Abdelhamed, A. A. El-Shazly - IEEE, 2023
The typical solar module has numerous drawbacks when used for extended periods of time in environmental conditions. Examples include cracked cells, interconnection failure, and decreasing output power. Also, it cannot be repaired; once a fault occurred in one cell, the module must be replaced. The proliferation of unused solar panels has become an issue due to the vast increase in the use of solar energy resources. While the current focus of solar panel research is to increase production energy efficiency, solar panel repairability and recycling of end of life (EOL) panels is rarely considered. The management of the EOL panels can efficiently save natural resources and save production costs. This study explores conventional encapsulation methods and introduces a novel approach to solar panel design that allows for easy access to individual components, facilitating repairs, upgrades, and modifications. The experimental study demonstrates that when using the novel encapsulation method, illumination current voltage properties are unaffected. Furthermore, a thermal analysis is conducted ... Read More
19. Short review on self-healing perovskite Materials: Advances and prospects
Ramdas M Ragin, Venugopal Meenu - Elsevier BV, 2023
One primary area of research the world over is regarding the consumption of energy without causing harm to our environment. In this paper, a review of current advancements in the sphere of combining photovoltaic devices with self-healing technology is presented. The durability of solar cells is a crucial aspect for long-term usage. The two different categories of systems investigated herewith are polycrystalline self-healing perovskites and lead-free self-healing perovskites. There have been in-depth discussions on current trends in the selection of organicinorganic lead halide perovskite materials for perovskite solar cells, as well as significant elements that affect the operations of solar cells. This article provides a thorough overview of current developments in the field of self-healing perovskites and presents a roadmap for creating lead-free self-healing perovskites that are more durable, stable, and effective.
20. Self‐Healing Behavior of the Metal Halide Perovskites and Photovoltaics
Chenyun Wang, Du Qu, Bin Zhou - Wiley, 2023
Perovskite solar cells have achieved rapid progress in the new-generation photovoltaic field, but the commercialization lags behind owing to the device stability issue under operational conditions. Ultimately, the instability issue is attributed to the soft lattice of ionic perovskite crystal. In brief, metal halide perovskite materials are susceptible to structural instability processes, including phase segregation, component loss, lattice distortion, and fatigue failure under harsh external stimuli such as high humidity, strong irradiation, wide thermal cycles, and large stress. Developing self-healing perovskites to further improve the unsatisfactory operational stability of their photoelectric devices under harsh stimuli has become a cutting-edge hotspot in this field. This self-healing behavior needs to be studied more comprehensively. Therefore, the self-healing behavior of the metal halide perovskites and photovoltaics is classified and summarized in this review. By discussing recent advances, underlying mechanisms, strategies, and existing challenges, this review provides per... Read More
21. Aging of perovskite solar cells: a mini review
Sooeun Shin, Hyunjung Shin - Elsevier BV, 2023
Aging of perovskite solar cells has been considered as a negative process toward degradation of efficiency. Recent studies, however, have reported phenomenon of self-enhancement or self-healing, where the power-conversion efficiencies were maintained or even enhanced over time without any treatment. Here, a comprehensive overview is made on the positive aging effect of perovskite materials and how it affects optoelectronic properties and charge transport layers. Possible origins of the aging are summarized and comparison between aging and degradation are described. Finally, strategies to accelerate the aging to induce improvements in device performance in a short time are discussed. Providing a new aspect of the aging process within perovskite solar cells.
22. Supramolecular Polyurethane “Ligaments” Enabling Room‐Temperature Self‐Healing Flexible Perovskite Solar Cells and Mini‐Modules
Zhengchi Yang, Yue Jiang, Yuqi Wang - Wiley, 2023
Abstract Flexible perovskite solar cells (FPSCs) have emerged as promising alternatives to conventional silicon solar cells for applications in portable and wearable electronics. However, the mechanical stability of inherently brittle perovskite, due to residual lattice stress and ductile fracture formation, poses significant challenges to the longterm photovoltaic performance and device lifetime. In this paper, to address this issue, a dynamic ligament composed of supramolecular poly(dimethylsiloxane) polyurethane (DSSPPPU) is introduced into the grain boundaries of the PSCs, facilitating the release of residual stress and softening of the grain boundaries. Remarkably, this dynamic ligament exhibits excellent selfhealing properties and enables the healing of cracks in perovskite films at room temperature. The obtained PSCs have achieved power conversion efficiencies of 23.73% and 22.24% for rigid substrates and flexible substrates, respectively, also 17.32% for flexible minimodules. Notably, the FPSCs retain nearly 80% of their initial efficiency even after subjecting the ... Read More
23. Ambient-aging process enables enhanced efficiency for wide-bandgap perovskite solar cells
Yang Yang, Lu Liu, Jianxun Li - Elsevier BV, 2023
Wide-bandgap perovskite is considered an ideal absorber for the top component cell of a tandem configuration, in addition to having proven advantageous for indoor light conversion and semitransparent solar cells. In this work, we demonstrate an ambient aging process that appears to further raise the performance of wide-bandgap perovskite solar cells. Systematic study shows that that secondary recrystallization arises during the aging process. The defect density is further attenuated by air passivation and the self-healing effect induced by halogen redistribution. As such, the nonradiative recombination in the perovskite films is suppressed, and the carrier lifetime is prolonged during the ambient aging. The champion wide-bandgap (Eg=1.74 eV) perovskite solar cell delivered a power-conversion efficiency as high as 20.12%, coupled with a high open-circuit voltage of 1.27 V, which is among the highest values reported for this type of wide-bandgap solar cells. This work reveals the impact of the air aging process on the properties of perovskite films from various aspects and demonstrates... Read More
24. Synergistic Defect Healing and Device Encapsulation via Structure Regulation by Silicone Polymer Enables Durable Inverted Perovskite Photovoltaics with High Efficiency
Tong Wang, Zhi Wan, Xin Min - Wiley, 2023
Abstract Polymers play a crucial role in promoting the progress of highperformance inverted perovskite solar cells (PSCs). However, few polymers have simultaneously achieved defect passivation and device encapsulation in PSCs. Herein, a telechelic silicone polymer (poly(dimethylsiloxanecomethylsiloxane acrylate) [PDMA]) is introduced, which possesses crosslinking capability to enable structure regulation through a condensation reaction. By leveraging the advantages of the polymers before and after crosslinking, a synergistic strategy of defect healing and device encapsulation for PSCs is developed via the application of the targeted polymer. PDMA as additives anchors tightly at the grain boundaries (GBs) and bridges the perovskite grains, achieving defect passivation and GBs crosslinking, increasing the efficiency of inverted PSCs from 22.32% to 24.41%. Crosslinked PDMA (CPDMA) is used as an encapsulant to encapsulate the entire device, enabling nondestructive encapsulation at room temperature and inhibiting perovskite degradation under photothermal aging. Remarkably, the PDMAmo... Read More
25. Degradation and Self-Healing in Perovskite Solar Cells
Blake P. Finkenauer, Akriti Akriti, Ke Ma - American Chemical Society (ACS), 2022
Organic-inorganic halide perovskites are well-known for their unique self-healing ability. In the presence of strong external stimuli, such as light, temperature, and moisture, high-energy defects are created which can be healed by removing the perovskite from the degradation source. This self-healing ability has been showcased in devices with recoverable performance and day-and-night cycling operation to dramatically extend the device lifetime and even mechanical durability. However, to date, the mechanistic details and theory around this captivating trait are sparse and convoluted by the complex nature of perovskites. With a clear understanding of the intrinsic self-healing property, perovskite solar cells with extended lifetimes and durability can be designed to realize the large-scale commercialization of perovskite solar cells. Here, we spotlight the relevant degradation and self-healing literature and then propose design strategies to help conceptualize future research.
26. Transparent Perovskite Solar Cells with Tunable UV Absorption and Large Crystallite Size
UNIV PRINCETON, 2022
Visibly transparent perovskite solar cells that utilize inorganic perovskite layers with tunable UV absorption properties. The perovskite layers, comprising three-dimensional, double, or two-dimensional perovskites, exhibit absorption cutoffs below 470 nm and crystallite sizes above 10 nm, enabling transparent photovoltaic devices with high UV harvesting efficiency. The transparent perovskite solar cells can be integrated into surfaces such as smart windows, providing point-of-use power while maintaining aesthetic appeal.
27. Mechanism of Photocurrent Degradation and Contactless Healing in p-Type Mg-Doped Gallium Nitride Thin Films
Xiaoyan Wu, Wei Li, Qingrong Chen - MDPI AG, 2022
Light-induced degradation (LID) phenomenon is commonly found in optoelectronics devices. Self-healing effect in halide lead perovskite solar cells was investigated since the electrons and holes in the shallow traps could escape easily at room temperature. However, the degradation in the semiconductors could not easily recover at room temperature, and many of them needed annealing at temperatures in the several hundreds, which was not friendly to the integrated optoelectronic semiconductor devices. To solve this problem, in this work, LID effect of photocurrent in p-type Mg-doped gallium nitride thin films was investigated, and deep defect and vacancy traps played a vital role in the LID and healing process. This work provides a contactless way to heal the photocurrent behavior to its initial level, which is desirable in integrated devices.
28. Thermal‐Triggered Dynamic Disulfide Bond Self‐Heals Inorganic Perovskite Solar Cells
Qiaoyu Zhang, Jialong Duan, Qiyao Guo - Wiley, 2022
One great challenge for perovskite solar cells (PSCs) lies in their poor operational stability under harsh stimuli by humidity, heat, light, etc. Herein, a thermal-triggered self-healing polyurethane (PU) is tailored to simultaneously improve the efficiency and stability of inorganic CsPbIBr2 PSCs. The dynamic covalent disulfide bonds between adjacent molecule chains in PU at high temperatures self-heal the in-service formed defects within the CsPbIBr2 perovskite film. Finally, the best device free of encapsulation achieves a champion efficiency up to 10.61 % and an excellent long-term stability in an air atmosphere over 80 days and persistent heat attack (85 C) over 35 days. Moreover, the photovoltaic performances are recovered by a simple heat treatment.
29. Defect Healing in FAPb(I<sub>1‐</sub><i><sub>x</sub></i>Br<i><sub>x</sub></i>)<sub>3</sub> Perovskites: Multifunctional Fluorinated Sulfonate Surfactant Anchoring Enables >21% Modules with Improved Operation Stability (Adv. Energy Mater. 20/2022)
Jun Zhu, Yongteng Qian, Zijia Li - Wiley, 2022
Perovskite Solar Cells In article number 2200632, Gill Sang Han, Hyun Suk Jung and co-workers report a defect healing strategy that enables the fabrication of highly efficient and stable perovskite large-area solar cell modules. In addition, an exciting solar-driven water-splitting system is demonstrated using clean and renewable solar energy, which is expected to help to realize a carbon-neutral economy and bring the hydrogen economy closer to reality.
30. Long term stability assessment of perovskite solar cell via recycling of metal contacts under ambient conditions
Subrata Ghosh, Trilok Singh - Elsevier BV, 2022
Resolving the stability issues of perovskite solar cells is essential for its upscaling. Herein, the degradation pathways via metal contacts responsible for efficiency loss are investigated. A simple technique is implemented to recycle the damaged metal contacts to improve the long-term stability of the perovskite solar cells. Interestingly, the perovskite solar cells could retain over 83% of the initial power conversion efficiency over 3000 h under ambient conditions storage and measurements.
31. Thermally driven self-healing efficient flexible perovskite solar cells
Yangjie Lan, Yang Wang, Yue Lai - Elsevier BV, 2022
The brittleness of perovskite (PVK) film restrains the development and application of the flexible perovskite solar cells (FPSCs). We utilize the polyurethane elastomers with disulfide bonds (PUDS) as a self-healing polymer to construct self-healing FPSCs and strengthen the self-healed perovskite film by the phase-locked state. The PUDS efficiently enhances the flexibility and self-healing properties of FPSCs. The champion efficiencies of MAPbI 3 on rigid and flexible substrates with PUDS are 20.30% and 17.19%, respectively. Importantly, the efficiency of cracked FPSC after thermal self-healing (80 C) has been recovered from 12% (Broken: 2.06%) of the initial efficiency (17.19%) to 88% (Recovery: 15.12%). Besides, the efficiency of FPSC with PUDS maintains 95% of the initial value after 3000 h stored in glove box. This strategy provides an effective approach for developing flexible electronics. Polyurethane elastomers with disulfide bonds achieve the self-healing flexible perovskite solar cells by the phase-locked dynamic bonds. After the self-healing cycle measurement, the efficien... Read More
32. Universal Dynamic Liquid Interface for Healing Perovskite Solar Cells
Qiyao Guo, Jialong Duan, Junshuai Zhang - Wiley, 2022
Healing charge-selective contact interfaces in perovskite solar cells (PSCs) highly determines the power conversion efficiency (PCE) and stability. However, the state-of-the-art strategies are often static by one-off formation of a functional interlayer, which delivers fixed interfacial properties during the subsequent operation. As a result, defects formed in-service will gradually deteriorate the photovoltaic performances. Herein, a dynamic healing interface (DHI) is presented by incorporating a low-melting-point small molecule onto perovskite film surface for highly efficient and stable PSCs. Arising from the reduced non-radiative recombination, the DHI boosts the PCE to 12.05% for an all-inorganic CsPbIBr2 solar cell and 14.14% for a CsPbI2 Br cell, as well as 23.37% for an FA0.92 MA0.08 PbI3 (FA = formamidinium, MA = methylammonium) cell. The solid-to-liquid phase conversion of DHI at elevated temperature causes a longitudinal infiltration into the bulk perovskite film to maximize the charge extraction, passivate defects at grain boundaries, and suppress ion migration. Furthermo... Read More
33. Molecule Passivation of Grain Boundaries for Ultra‐Stable Perovskite Solar Cells
Yuying Yao, Jing Zhang, Hang Su - Wiley, 2022
Perovskite solar cells have become stars in photovoltaics due to their rapidly increased efficiency. However, their stability is still below par due to moisture permeation from grain boundaries and defects. To conquer both problems at once, a passivation agent 3,4,5,6tetrafluorophthalicacid (TFPA) is rationally designed to heal both for not only improved cell efficiency but also better stability. It is found that the TFPA is prone to distribute along grain boundaries and has little influence within the bulk of the perovskite film. In addition, it appears that the TFPA helps to reduce the film roughness, to adjust the energy level, to facilitate hole transporting from perovskite to spiroOMeTAD, and to increase the hydrophobicity of the perovskite film, as it is demonstrated by the inhibited nonradiative recombination and prolonged carrier lifetime. Owing to strong interactions between F, COOH, and Pb, the device with TFPA shows outstanding efficiency and stability. A perovskite solar cell with TFPA modification delivers a champion efficiency of 23.70% and a significantly enhanced s... Read More
34. Status review and future perspectives on mitigating light-induced degradation on silicon-based solar cells
Zhi Yi Yeo, Zhi Peng Ling, Jian Wei Ho - Elsevier BV, 2022
Silicon-based solar cells and modules currently constitute the majority of photovoltaic systems deployed globally with a market share exceeding 90%, stemming from the maturation of this technology and a rapid mass-production globally. Improving the constituent solar cells performance and stability under sunlight illumination has been a keen topic of research and commercial interest given the long-expected deployment periods (>20 years). One of the common issues affecting stability is the phenomenon of light-induced degradation (LID) and light and elevated temperature-induced degradation (LeTID), which leads to an undesired performance drop in solar modules and resulting financial losses. In this review, several important insights are discussed starting with the underlying mechanism for LID and LeTID, adopting alternative p-type silicon materials, followed by a compilation of ongoing efforts aimed towards the recovery of cell performance focusing on illuminated regeneration and current injection regeneration, and finally, a critical comparison of these strategies. Overall, it is sh... Read More
35. Addition of N-(2-Aminoethyl)naphthalimide and Mercaptopropionic Acid to Increase the Stability of CsFAMA Perovskite Solar Cells
Raphael F. Moral, Alden B. Hermsdorff, Paulo E. Marchezi, 2022
Sustainable energy generation has been a growing concern worldwide due to the alarming effects of climate changes in the last few decades. In this scenario, perovskite solar cells hold great promise in contributing for a greener global energy matrix. Despite the great potential of this technology, several difficulties to deploy perovskite solar panels are yet to be overcome, being their long-term stability one of the most critical. In this sense, this work offers an alternative to improve the long-term, operational stability of the devices by passivating the CsFAMA perovskite active layer with a mixture of N-(2-aminoethyl)naphthalimide and mercaptopropionic acid. These modifications improved the perovskite and device stability under ambient conditions. The solar cells without encapsulation and with post-treatment with 5 mM modifier solution retained ca. 90% of its initial power conversion efficiency (PCE) after 500 h exposed to ambient conditions, while standard solar cells retained ca. 58%. Our approach offers a simple new method to improve the stability of perovskite solar cells us... Read More
36. Towards sustainability with self-healing and recyclable perovskite solar cells
Hui Zhang, Nam‐Gyu Park - Elsevier BV, 2022
Lead halide perovskite solar cells (PSCs) have been considered one of the most promising candidates for future energy supply, whereas just solar cell does not guarantee sustainability. Owing to the ionic nature and constituent heavy metals, perovskite materials are prone to decay under operating conditions and pose a threat to ecosystems and human health, seriously restricting their practical deployment. Herein, we briefly review safe-by-design strategies to heal failed PSCs and thereby extend their operational lifetime and to recycle lead perovskites at the end of their lifespan for cyclic utilization. From the point of view of processability, scalability, and universality, we recommend future approaches for the further development of PSCs towards sustainable photovoltaics, taking into consideration materials selection, device design, and process optimization.
37. Lead-Sealed Stretchable Underwater Perovskite-Based Optoelectronics <i>via</i> Self-Recovering Polymeric Nanomaterials
Jinhyun Kim, Duhwan Seong, Hannah Kwon - American Chemical Society (ACS), 2021
To harness the full potential of halide perovskite based optoelectronics, biological safety, compatibility with flexible/stretchable platforms, and operational stability must be guaranteed. Despite substantial efforts, none has come close to providing a solution that encompasses all of these requirements. To address these issues, we devise a multifunctional encapsulation scheme utilizing hydrogen bond-based self-recovering polymeric nanomaterials as an alternative for conventional glass-based encapsulation. We show that Pb in physically damaged halide perovskite solar cells can be completely contained within the self-recovering encapsulation upon submersion in a simulated rain bath, as indicated by in vitro cytotoxicity tests. In addition, self-recovering encapsulation accommodates stable device operation upon casual bending and even stretching, which is in stark contrast to conventional glass-based encapsulation schemes. We also demonstrate the concept of assembling user-defined scalable modular optoelectronics based on halide perovskite solar cells and light emitting diodes through... Read More
38. Solar Cell Module with Continuous Hole Transport Layer in Series-Connected Photoelectric Conversion Elements
RICOH COMPANY LTD, 2021
Solar cell module with improved stability under high-illumination conditions, comprising a substrate and a plurality of photoelectric conversion elements disposed thereon. Each element includes a first electrode, electron transport layer, perovskite layer, hole transport layer, and second electrode. The hole transport layers of adjacent elements are continuous, forming a series circuit that maintains power generation efficiency even after prolonged exposure to high-intensity light.
39. Perovskite Solar Cell with Barrier Layer Between Electron Transport Layer and Photoactive Layer
WUXI UTMOST LIGHT TECH CO LTD, 2021
Perovskite solar cell with enhanced stability through a novel barrier layer design. The cell features a transparent conductive oxide layer on the substrate, followed by an electron transport layer with a second scribed region. A barrier layer is then deposited between the transport layer and photoactive layer, separating the photoactive layer from the electrode protrusion. This barrier layer prevents direct contact between the photoactive layer and electrode, significantly reducing shunt currents and improving cell performance.
40. Perovskite Solar Cells with Alternating Conductive-Insulating Scaffold and Interpenetrating Perovskite Structure
YISSUM RES DEV CO OF HEBREW UNIV JERUSALEM LTD, 2021
Perovskite solar cells with all-NP scaffold and perovskite interpenetration, enabling direct deposition of perovskite material on a rigid scaffold structure. The scaffold comprises alternating conductive and insulating layers, with the perovskite material interpenetrating through the scaffold material. This architecture achieves high photocurrents, stability, and renewability through the scaffold's inherent properties, while eliminating the need for organic materials and metal electrodes.
41. Treatment of Light-Induced Degradation for Solar Cells in a p-PERC Solar Module via Induction Heating
Min-Gwang Seok, Junhee Kim, Yong Hwan Lee - MDPI AG, 2021
In the photovoltaic industry, there is great interest in increasing the power output of solar cells to achieve grid parity and to promote the widespread use of solar cells. However, despite many developments, a phenomenon called light-induced degradation causes the efficiency of solar cells to deteriorate over time. This study proposes a treatment that can be applied to cells within solar modules. It uses a half-bridge resonance circuit to induce a magnetic field and selectively heat Al electrodes in the solar cells. The electrical state of a solar module was measured in real time as it was being heated, and the results were combined with a kinetics simulation using a cyclic reaction. As the temperature of the solar module increased, the time taken to reach the saturation point and the recovery time decreased. Moreover, the value of the saturation point increased. The light-induced degradation activation energy was similar to results in the existing literature, suggesting that the kinetic model was valid and applicable even when 72 cells were connected in series. This demonstrates th... Read More
42. Flexible Organic Thin-Film Solar Cell with Multi-Layer Electrode and Metal Oxide Particle-Enhanced Electron Transport Layer
RICOH COMPANY LTD, 2021
A flexible organic thin-film solar cell with improved bending resistance and photoelectric conversion efficiency. The cell comprises a first electrode with a transparent conductive layer, a metal layer, and a second transparent conductive layer; an electron transport layer containing metal oxide particles with an average diameter of 7-40 nm; a photoelectric conversion layer containing two or more organic materials; a hole transport layer; and an insulating layer. The cell's performance is enhanced by a specific relationship between the average particle diameter of the metal oxide particles and the average thickness of the photoelectric conversion layer.
43. Bias-Dependent Dynamics of Degradation and Recovery in Perovskite Solar Cells
Michela Prete, Mark V. Khenkin, Damian Głowienka - American Chemical Society (ACS), 2021
Degradation of perovskite solar cells (PSCs) is often found to be partially or fully reversible when the cells are allowed to recover in the dark. Unlike the dynamics of degradation, knowledge about the dynamics of PSC cell recovery is very limited. Here, we demonstrate that the PSC recovery strongly depends on the electrical bias conditions during the light-induced degradation and that it can be manipulated by applying an external electrical bias during the recovery phase. Investigation of the recovery dynamics allows us to analyze the degradation mechanisms in detail. More specifically, we aged a mixed-cation mixed-halide PSC with a n-i-p structure under illumination in open-circuit (OC) or short-circuit (SC) conditions, and periodically measured their characteristics during the recovery. PSCs aged in SC degrade faster and fully recover after the light is switched off, while the performance of the cells aged in OC does not recover but instead further decreases after the light is switched off ("drop-in-dark" effect). With the use of transient photoluminescence, secondary ion mass sp... Read More
44. Hermetic Sealed Perovskite Solar Cells: Water Stable Encapsulation
Varun Adiga, Bidisha Nath, Praveen C. Ramamurthy - IEEE, 2021
Metal halide perovskite solar cells (PSCs) have exhibited colossal potential for future photovoltaic applications due to their favorable properties. Instability towards moisture has been their primary concern, which reduces their lifetime during prolonged periods. Herein, we demonstrate an ambient hermetic encapsulation process to eradicate the moisture penetration into the PSCs based on the profound understanding of the degradation. The encapsulation of the PSCs was performed on a glass slide with a hermetic seal using ultraviolet (UV) curable glue. The devices were kept outside with ISOS D1 protocol showed excellent behavior with degradation ~10% when compared to unencapsulated devices, which were prone to more than 60% degradation. Besides, the solar cells were immersed in water to observe the penetration of water molecules. The PSCs encapsulated showed no change for 48 hours, whereas the unencapsulated devices changed their color within 2 minutes, showing a pathway for an efficient encapsulation process for scalable and robust perovskite solar cells.
45. Self‐Healable Solar Cells: Recent Insights and Challenges
Seyyed Alireza Hashemi, Seyyed Mojtaba Mousavi, Sonia Bahrani - Wiley, 2021
Nowadays, due to uprising concerns regarding the global warming, green energy sources such as solar cells have attracted noteworthy attention toward themselves. In this matter, researchers struggled to develop next generation of photovoltaic devices with improved power conversion efficiency as well as organic solar cells, perovskite and optimize their performance and optimize their performance; however, shorter life service of such devices compared with traditional silicon solar cells along with adverse effects of degradative environmental factors, could deteriorate their optimum performance. To address this flaw, new generation of photovoltaic devices should be coupled with self-healing performance to restore their damaged areas and boost their average life services which could thereby significantly decline upkeep/maintenance costs of solar panels. In current chapter, first the mechanism of action of self-healing platforms were discussed and hence recently developed self-healable polymeric structure, solar cells and employed strategies were summarized and reported in detail.
46. STABILIZATION OF MINORITY CARRIER LIFETIME IN PERC STRUCTURED SILICON SOLAR CELL
Veysel Unsur - Kare Publishing, 2021
This paper reports on the regeneration of the minority carrier lifetime in passivated emitter and rear cell (PERC) structured silicon solar cells. It is observed that minority carrier lifetime in the cells can degrade, recover and then stabilize with illumination level of ~1 sun (1000 W/m2) at 80oC. The exposure to ~1 sun illumination at 80oC enables the release of H from B-H bonds at ~1.3 eV energy to supplement the interstitial H in Si to passivate the B-O defects responsible for the minority carrier lifetime instability. Passivation of these B-O defects is therefore, dependent on temperature and time, hydrogenation and high carrier injection level. It was interesting to note that sequential process or single regeneration step led to same conclusion that minority carrier lifetime in a p-type PERC cell first degrades, due to B-O complexes, recovers and then stabilize with time. There is therefore, no need to degrade the cells in a separate step in order for regeneration to occur, because regeneration encompasses the three states: degradation, recovery and stabilization.
47. Mechanically robust and self-healable perovskite solar cells
Blake P. Finkenauer, Yao Gao, Xiaokang Wang - Elsevier BV, 2021
Skin-like self-healing electronics have been pursued for decades with limited success. The trade off between excellent electronic properties and suitable rheological properties do not allow high-performance inorganic semiconductor materials to be self-healable. Here, we report a mechanically self-healable hybrid halide perovskite semiconductor. A molecularly tailored self-healing polymer is incorporated into a polycrystalline perovskite thin film to form a composite with a bi-continuous interpenetrating network. This composite heals using synergistic grain growth and solid diffusion processes at slightly elevated temperatures. Mechanically robust and self-healable perovskite solar cells are fabricated with power conversion efficiencies over 10% and excellent stability. The healable composite is presented in flexible devices retaining 94% of their power conversion efficiency after 3,000 bending cycles and 80% performance recovery after extreme bending. These results foreshadow the use of polymer-perovskite hybrid materials for ultra-flexible and wearable energy-harvesting devices and ... Read More
48. Improved crystallinity and self-healing effects in perovskite solar cells via functional incorporation of polyvinylpyrrolidone
Yunjuan Niu, Dingchao He, Zhengguo Zhang - Elsevier BV, 2021
The hydrogen-bonding-initiated self-healing repairs the decayed perovskite solar cell back to the original state, continue to work, and alleviate long-term cell instability. Air moisture is the key issue for perovskites which invades the films and accelerates the damage of devices. Here, polyvinylpyrrolidone (PVP) is introduced to the methylammonium lead iodide (MAPbI 3 ) perovskite precursor to control crystal growth and endow the devices with self-healing ability in a moisture environment. The strong C hydrogen bonding interactions between PVP and MAPbI 3 was confirmed by nuclear magnetic resonance measurements. By introducing hydrogen bonding in the MAPbI 3 -based PSCs, we form a compact perovskite film of excellent electronic quality with a power conversion efficiency (PCE) of up to 20.32%. Furthermore, the hydrogen bonding interactions at the grain boundaries suppress the decomposition of methylammonium cations and improve the recyclable dissolutionrecrystallization of perovskite. As a result, the MAPbI 3 -PVP based cells exhibited striking moisture stability and ... Read More
49. Effect of novel double treatment on the properties of CdTe solar cells
Sangsu Kim, Ju‐Young Song, Deok Kim - Elsevier BV, 2021
In this study, the effect of Cl activation treatment on performance indicators of CdS/CdTe solar cells was investigated. We improved the performance of CdTe solar cells by applying a novel double treatment method that combines the CdCl2 dipping treatment and Freon (difluoro chloromethane) treatment methods that were previously studied. Conventional CdCl2 methanol dipping treatment (CdCl2 dipping treatment), Freon gas treatment that includes chlorine (Freon treatment), and CdCl2 dipping treatment + Freon treatment (double treatment) were performed, and the efficiencies, open circuit voltage (VOC), and short circuit current (JSC) for all three processes were observed. Although the efficiencies of the CdCl2 dipping treatment and Freon treatment were similar, there was a trade-off between the VOC and JSC in both processes. The double treatment sample shows an efficiency of 14.3%, which was higher than that of a single-treated sample. To investigate the characteristic change of each part of the solar cell, an equivalent circuit model in which the device was divided into a main junction an... Read More
50. Optimizing the Lifespan of Perovskite Solar Cells with Polycarbonate Polymer Encapsulation
Asieh Nazari Mofrad, Seyed Mohammad Bagher Ghorashi, Farhad Jahantigh - CMV Verlag, 2021
One of the main challenges for perovskite solar cell (PSCs) structures is their high sensitivity to humidity and ambient temperature, which significantly lowers the lifespan of these devices.Low stability of this devices is considered one of the principal limitations to make them commercialized.To increase the stability of the solar cell is to encapsulate the solar cell.The encapsulation is to cover the device with a non-reactive material, which prevents the penetration of ambient moisture and increases the thermal stability of the cell.If the uncoated device is exposed to continuous incident light for several hours, its structure is damaged while encapsulated device has a longer duration time.Several methods have been proposed for encapsulating a perovskite solar cell.The principal strategy of these methods involves deposition of a thin layer of polycarbonate polymer on the perovskite solar cell structure, resulting in layers of the desired structure.After fabrication and encapsulation process, the order of the various layers are FTO / bl-TiO2 / mp-TiO2 / Perovskite (CH3NH3PbI3) / S... Read More
Get Full Report
Access our comprehensive collection of 63 documents related to this technology
