Techniques for Passivation Layer Stability of Solar Cells Under High Temperature
Passivation layers in solar cells routinely face thermal stresses that can compromise their structural integrity and functional performance. When exposed to elevated temperatures—often exceeding 200°C during manufacturing and approaching 85°C in field operations—these nanoscale barriers experience thermal expansion, chemical decomposition, and interfacial delamination. Measurements across various solar technologies show degradation rates increasing by factors of 2-3 for every 10°C rise above nominal operating temperatures, with corresponding decreases in carrier lifetimes.
The fundamental challenge lies in developing passivation structures that maintain surface defect neutralization while withstanding thermal cycling without compromising either chemical stability or charge transport properties.
This page brings together solutions from recent research—including aluminum oxide barriers deposited via atomic layer deposition, hydrogen-bonding interface materials, multi-layered passivation structures with silicon nitride thermal barriers, and engineered tunneling oxide contacts. These and other approaches enable practical solar cell designs that maintain efficiency and reliability throughout high-temperature manufacturing processes and extended field operation.
1. Solar Cell with Perovskite Layer and Hydrogen-Bonding Interface Passivation Material
CONTEMPORARY AMPEREX FUTURE ENERGY RESEARCH INSTITUTE LTD, 2025
A solar cell with improved efficiency and stability, comprising a perovskite light absorption layer and a pair of transport layers, with an interface passivation material distributed in one or more of the transport layers. The passivation material contains functional groups with active hydrogen that interact with electronegative groups in adjacent layers, forming hydrogen bonds and improving carrier transport. The material can also be used as a separate passivation layer between the transport layers and perovskite layer.
2. Tunnel Oxide Passivated Contact Solar Cell with Transparent Conductive Oxide Layer and First Passivation Layer
TRINA SOLAR CO LTD, 2025
A tunnel oxide passivated contact (TOPCon) solar cell with improved efficiency, comprising a tunnel oxide layer and a doped polysilicon layer, wherein the doped polysilicon layer is replaced with a transparent conductive oxide (TCO) layer, and a first passivation layer is formed on the TCO layer. The TCO layer is preferably a doped metal oxide, such as aluminum-doped zinc oxide, and the first passivation layer is preferably aluminum oxide or silicon nitride. The solar cell exhibits improved fill factor and efficiency compared to conventional TOPCon cells.
3. Solar Cell with Multi-Layered Antireflection Film and Rear Surface Tunneling Dielectric Layer
ZHEJIANG JINKO SOLAR CO LTD, 2025
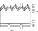
A solar cell with improved light absorption efficiency and isolation properties, comprising an N-type silicon substrate, a passivation layer, a three-layered antireflection film, and a tunneling dielectric layer. The antireflection film includes a silicon nitride layer, a silicon oxynitride layer, and a silicon oxide layer, stacked in that order. The passivation layer is an aluminum oxide layer between the substrate and the antireflection film. The tunneling dielectric layer is on the rear surface of the substrate.
4. Solar Cell with Dual-Passivation Layer Structure on Semiconductor Substrate
HENGDIAN GROUP DMEGC MAGNETICS CO LTD, 2025
Solar cell with improved efficiency comprising a semiconductor substrate, a hole transport layer and an electron transport layer disposed on the substrate with an interval, and a dual-passivation layer structure comprising a first passivation layer on the hole transport layer and a second passivation layer covering both the first passivation layer and the electron transport layer. The first passivation layer is made of aluminum oxide and the second passivation layer is made of silicon oxide or silicon nitride.
5. Solar Cell with N-Type Semiconductor Oxide Barrier Layer Formed by Atomic Layer Deposition
CONTEMPORARY AMPEREX TECH CO LTD, 2025
Solar cell with improved thermal stability and manufacturing method thereof, comprising a first electrode layer, an active layer, a barrier layer, and a second electrode layer stacked in sequence. The barrier layer comprises an n-type semiconductor oxide, such as tin oxide, titanium oxide, zinc oxide, indium oxide, or gallium oxide, which blocks the migration of holes toward the cathode and prevents corrosion of the second electrode layer. The barrier layer is formed using atomic layer deposition and has a lower HOMO energy level than the active layer. The solar cell module is manufactured by forming the barrier layer on the active layer and the second electrode layer on the barrier layer, with the second electrode layer having a longitudinal portion extending toward the first electrode layer.
6. Photoelectric Conversion Element with Dual Sealing Layers Comprising Inorganic and Polymer or Nitride Coatings
IDEMITSU KOSAN CO LTD, 2025
Photoelectric conversion element with improved sealing layers for high-temperature and high-humidity environments. The element comprises a photoelectric conversion layer, conductive layer, first sealing layer of inorganic metal oxide, nitride, oxynitride, or fluoride, and second sealing layer of polymer or nitride coating. The inorganic first sealing layer prevents oxygen and atomic oxygen penetration, while the second sealing layer provides additional protection against environmental degradation.
7. Improving Perovskite Solar Cell Performance and Stability via Thermal Imprinting-Assisted Ion Exchange Passivation
Shuwen Qi, Chenghao Ge, Peng Wang - American Chemical Society (ACS), 2024
The latest development in perovskite solar cell (PSC) technology has been significantly influenced by advanced techniques aimed at passivating surface defects. This work presents a new approach called thermal imprinting-assisted ion exchange passivation (TIAIEP), which delivers a different approach to conventional solution-based methods. TIAIEP focuses on addressing surface imperfections in solid-state films by using a passivator that promotes ion exchange specifically at the defect sites within the perovskite layer. By adjusting the time and temperature of the TIAIEP process, we achieve substantial enhancement in the creation of a compositional gradient within the films. This optimization slows the cooling rate of hot carriers, leading to minimizing charge recombination and improving the device performance. Remarkably, devices treated with TIAIEP achieve a 22.29% power conversion efficiency and show outstanding stability, with unencapsulated PSCs maintaining 91% of their original efficiency after over 2000 h of storage and 90% efficiency after 1200 h of constant illumination. These ... Read More
8. Carrier‐Induced Degradation
Michelle Vaqueiro‐Contreras - Wiley, 2024
This chapter provides a comprehensive examination of major carrier-induced degradation mechanisms impacting silicon solar cells, including boron-oxygen related carrier induced recombination (BO-CID), light and elevated temperature-induced degradation (LeTID), copper-related light-induced degradation (Cu-LID), and surface-related degradation (SRD). These mechanisms reduce device performance upon carrier injection, challenging the solar photovoltaic industry as they may exceed module warranty periods. Temperature fluctuations further exacerbate these effects, increasing the levelized cost of electricity (LCOE). However, significant progress has been made in developing mitigation processes. Researchers and industry professionals ensure long-term stability under standard operating conditions through optimisation studies and procedures. This chapter compiles decades of research, shaping our current understanding of these degradation phenomena and offering strategies for effective management.
9. Solar Cells with Aluminium Oxide Barrier Layer Deposited by Atomic Layer Deposition
NEWSOUTH INNOVATIONS PTY LTD, 2024
Solar cells with improved chemical resistance against contaminants, particularly sodium ions, through the incorporation of an aluminium oxide barrier layer deposited via atomic layer deposition. The barrier layer is capable of reducing contaminant penetration and maintaining solar cell efficiency under damp heat conditions.
10. Passivation Contact Structure with Rarefied Silicon Oxide Region for Enhanced Hydrogen Diffusion
ZHUHAI FUSHAN AIKO SOLAR ENERGY TECHNOLOGY CO LTD, 2024
Passivation contact structure for solar cells with improved hydrogen passivation and reduced thermal treatment complexity. The structure features a rarefied region in the first silicon oxide layer, where the silicon oxide content is reduced, allowing for enhanced hydrogen diffusion and passivation. The rarefied region is created by local thinning of the first silicon oxide layer, which enables efficient hydrogen passivation while maintaining the structural integrity of the contact.
11. Photovoltaic Cell with Multilayer Rear-Side Structure Comprising Aluminum Oxide, Silicon Oxynitride, and Silicon Nitride Layers
JINKO SOLAR CO LTD, 2024
A photovoltaic cell with improved anti-PID performance and power generation efficiency, comprising a substrate, a front-side passivation layer and anti-reflection layer, and a rear-side passivation layer, polarization phenomenon weakening layer, and silicon nitride layer. The rear-side passivation layer includes an aluminum oxide layer with a refractive index of 1.4-1.6 and thickness of 4-20 nm, the polarization phenomenon weakening layer includes a silicon oxynitride layer with a refractive index of 1.5-1.8 and thickness of 1-30 nm, and the silicon nitride layer has a refractive index of 1.9-2.5 and thickness of 50-100 nm.
12. Crystalline-Silicon Solar Cell with Laminated Back Passivation Structure Comprising SiO2, AlOx, SiNx, and SiOxNy Layers
TONGWEI SOLAR CO LTD, TONGWIE SOLAR CO LTD, 2024
High-efficiency back-passivation crystalline-silicon solar cell with improved passivation and reduced silicon island formation. The cell features a novel laminated back passivation structure comprising SiO2, AlOx, SiNx, and SiOxNy layers, which provides enhanced surface passivation and reduced defect states. The structure is designed to prevent hydrogen-induced silicon island formation during high-temperature processing, enabling improved long-wave response and short-circuit current.
13. Solar Cell with Controlled Sintering-Induced Passivation Film Bond Modification
TONGWEI SOLAR ANHUI CO LTD, 2024
A solar cell and its preparation method that improves photoelectric conversion efficiency by preventing electroluminescence (EL) problems. The method involves a controlled sintering process that breaks chemical bonds in the passivation film and anti-reflective coating without allowing hydrogen to escape, thereby maintaining passivation and preventing recombination centers. The process also ensures effective ohmic contact between the electrode and silicon substrate.
14. Investigation on the Long-Term Stability of AlOx/SiNy:H and SiNy:H Passivation Layers During Illuminated Annealing at Elevated Temperatures
Fabian Geml, Melanie Mehler, Axel Herguth - TIB Open Publishing, 2024
Most crystalline Si based solar cells, e.g. passivated emitter and rear cells, rely on SiNy:H and AlOx/SiNy:H passivation layers. In this work, the long-term behavior of minority charge carrier lifetime in such symmetrically passivated samples during illuminated annealing at elevated temperatures is investigated by means of photoconductance decay based lifetime measurements, corona charging and capacitance voltage measurements. Thereby, AlOx layers, which are known to reduce H in-diffusion due to their barrier properties, deposited by atmospheric pressure chemical vapor deposition as well as by atomic layer deposition were considered enabling a comparison of different deposition techniques. The frequently published behavior of the bulk related degradation could be confirmed and the qualitative correlation between maximum defect density and the changing total amount of H in the Si bulk due to the barrier properties of the individual layers dielectric layers could be shown. Furthermore, for the subsequently observed degradation accelerated by a treatment at higher temperatures, literat... Read More
15. Photovoltaic Cell with POx-Al Composite Passivation and Aluminum Oxide Capping Layer
TECHNISCHE UNIVERSITEIT EINDHOVEN, 2024
A photovoltaic cell with enhanced surface passivation that combines the benefits of silicon oxide and aluminum oxide passivation layers. The cell features a silicon substrate with two main surfaces, where a POx-Al composite layer covering the first main surface is followed by a capping layer structure that covers the POx-Al composite layer. The POx-Al composite layer is a mixed AlPxOy film that combines the advantages of both materials, with a specific ratio of phosphorus to phosphorus+aluminum that balances charge state density and interface state reduction. The capping layer structure is a stable aluminum oxide layer that prevents interface state accumulation while maintaining passivation. This composite layer stack provides superior surface passivation compared to conventional materials, particularly for n-type silicon substrates, while maintaining stability under atmospheric conditions.
16. Light-activated surface passivation for more efficient silicon heterojunction solar cells: Origin, physics and stability
Fiacre Rougieux, Chandany Sen, Malcolm Abbott - Elsevier BV, 2024
Silicon heterojunction (HJT) solar cells have world-leading efficiencies due to outstanding surface passivation. Yet, maintaining their performance during the lifetime of a photovoltaic module requires excellent quality and stability of the surface regions. It is well known that HJT solar cells can show an increase or reduction in performance under illumination, and this instability has been related to changes in the surface regions. This work investigates the stability of surface passivation in HJT solar cells by modelling the injection-dependent minority carrier lifetime of a range of symmetrically a-Si passivated silicon wafers. Fixed charges and defects at the interface are varied in the model to find the best fit to the injection-dependent lifetime before and after a high-intensity illumination treatment. The results indicate that the laser process induces an increase in field effect passivation at the surface, which is then reduced upon storage in the dark. The results show that lifetime spectroscopy is a useful tool to investigate the nature of a-Si passivation degradation.
17. Study of silicon surface passivation by ZnOx/AlOx stack prepared using super-cycle approach in thermal ALD process
Abhishek Kumar, Meenakshi Devi, Shweta Tomer - Elsevier BV, 2024
High quality surface passivating films are essential for high efficiency solar cells. In this work, we present our study about the silicon surface passivation performance of thermal atomic layer deposited (T-ALD) ZnOx/AlOx stack deposited using super-cycle approach. Super-cycle approach is composed of three cycles of DEZ-DI water system followed by one cycle of TMA-DI water system. The number of super-cycles is varied to change the film thickness. Excellent passivation with surface recombination velocity 7 cm/s was achieved under this study for hydrogen annealed films. The passivation mechanism is related to the saturation of defects by hydrogen after annealing and further improvement in fixed oxide charges by one order of magnitude (1010 to 1011 cm2). Hydrogenation at the optimum temperature (450C) involves the transport of hydrogen atoms towards the interface and their interaction with dangling bonds at the Si surface leading to the effective passivation. The optical transmittance of the film in the visible region of the spectrum is found to be >95 % for all the deposited films... Read More
18. Determination of Temperature‐ and Carrier‐Dependent Surface Recombination in Silicon
Anh Huy Tuan Le, Shuai Nie, Eduardo Prieto Ochoa - Wiley, 2024
Knowledge regarding the temperature dependence of the surface recombination at the interface between silicon and various dielectrics is critically important as it 1) provides fundamental information regarding the interfaces and 2) improves the modeling of solar cell performance under actual operating conditions. Herein, the temperature and carrierdependent surface recombination at the siliconoxide/silicon and aluminumoxide/silicon interfaces in the temperature range of 2590 C using an advanced technique is investigated. This method enables to control the surface carrier population from heavy accumulation to heavy inversion via an external bias voltage, allowing for the decoupling of the bulk and surface contributions to the effective lifetime. Thus, it offers a simple and versatile manner to separate the chemical passivation from the chargeassisted population control at the silicon/dielectric interface. A model is established to obtain the temperature dependence of the capture cross sections, a critical capability for the optimization of the dielectric layers and the investiga... Read More
19. Enhanced passivation durability in perovskite solar cells via concentration-independent passivators
Sisi Wang, Canglang Yao, Lun Li - Elsevier BV, 2024
<h2>Summary</h2> Defect passivation is regarded as an essential strategy for constructing efficient perovskite solar cells. However, the passivation in long-term operation durability has been largely ignored. Passivator concentration is usually optimized using fresh devices, whereas defect concentration increases with time during actual device operation. As a result, the initial passivators with low concentrations fail to passivate growing numbers of defects in a sustainable manner. Higher initial concentrations of passivators could in principle deal with new defects as they develop, but this strategy has not been successful so far because high concentrations of passivators are always harmful to device performance. In this study, we report a type of -conjugated passivator, the passivation effectiveness of which is independent of its concentration. This unique feature allows for high-concentration passivation without reducing device performance, which considerably improves passivation durability. This study will provide guidance for designing concentration-independent passivators and... Read More
20. Optimization of passivation layer on the front surface of N-type tunnel oxide passivated contact solar cells
Meiling Zhang, Meilin Peng, Qiqi Wang - Elsevier BV, 2024
In this paper, an effective P+ emitter passivation scheme was proposed by continuously optimizing the passivation layer on the front surface of N-type tunnel oxide passivated contact (TOPCon) solar cells, that was using SiOx/AlOx/SiNx tri-layer passivation stack. The SiOx/AlOx/SiNx stack combined the benefits of the chemical passivation effect of SiOx and the field-effect passivation of SiOx/AlOx stack, resulting in high-quality passivation for boron-doped emitter. Three different passivation schemes of SiNx, AlOx/SiNx and SiOx/AlOx/SiNx were respectively prepared on the front surface of N-type TOPCon solar cells. It was revealed that the cells with SiOx/AlOx/SiNx stack had a superior conversion efficiency, while the SiOx thickness significantly influenced the surface passivation. Through optimization of SiOx thickness in the SiOx/AlOx/SiNx stack, the optimal deposition period for SiOx was 4 cycles by the plasma-enhanced atomic layer deposition (PEALD) process. The N-type TOPCon solar cells with SiOx/AlOx/SiNx stack on the front surface exhibited the highest performances with a conve... Read More
21. Impact of ALD-Deposited Ultrathin Nitride Layers on Carrier Lifetimes and Photoluminescence Efficiency in CdTe/MgCdTe Double Heterostructures
Haris Naeem Abbasi, Xin Qi, Zheng Ju, 2024
This work evaluates the passivation effectiveness of ultrathin nitride layers (SiNx, AlN, TiN) deposited via atomic layer deposition on CdTe/MgCdTe double heterostructures for solar cell applications. Time-resolved photoluminescence and photoluminescence measurements revealed enhanced carrier lifetimes and reduced surface recombination, indicating improved passivation effectiveness. These results underscore the potential of SiNx as a promising passivation material to improve the efficiency of CdTe solar cells.
22. Engineering an organic electron-rich surface passivation layer for efficient and stable perovskite solar cells
Qingquan He, An Chen, Tao Zhang - Elsevier BV, 2024
Surface passivation using organic molecules with appropriate charge distribution and geometric structure is crucial for achieving high-performance perovskite solar cells. Here, diphenylsulfone (DPS) and 4,4-dimethyldiphenylsulfone (DMPS) with a conjugated structure are introduced at the perovskite and hole transport layer interface to investigate the impact of charge distribution on the interaction between the molecules and the perovskite surface. The presence of a methyl group in DMPS with a D--A structure optimizes charge distribution and enhances the passivation effect, resulting in an improved energy level alignment and facilitating hole transport. The perovskite solar cells using a DMPS treatment achieve an increase in power conversion efficiency to 23.27% with high stability, maintaining 92.5% of initial efficiency at 30% relative humidity for 1,000 h. This surface passivation strategy offers a promising avenue for enhancing the photovoltaic performance and environmental stability of perovskite solar cells, paving the way for future advancements in this domain.
23. Method for Fabricating PERC Solar Cells with Laminated Passivation Structure Comprising SiO2, Al2O3, SiOxNy, and SiNx Layers
TRINA SOLAR CO LTD, 2023
A method for improving the efficiency of P-type passivated emitter and rear cell (PERC) solar cells by introducing a novel laminated passivation structure. The structure comprises a silicon substrate with a first SiO2 film, an Al2O3 layer, a SiOxNy film, and a first SiNx film sequentially deposited on the back surface. The aluminum back field passes through these layers to connect with the substrate, reducing recombination and increasing long-wave reflection. The structure enables a 1% or more efficiency improvement in PERC cells, with the potential to further enhance efficiency beyond current limits.
24. Influence of Al2O3/SiNx Rear-Side Stacked Passivation on the Performance of Polycrystalline PERC Solar Cells
Weitao Fan, Honglie Shen, Fei Liu - MDPI AG, 2023
In recent years, polycrystalline passivated emitter and rear cell (PERC) solar cells have developed rapidly, but less research has been conducted on the preparation process of their rear side passivation layers on standard solar cell production lines. In this work, a Al2O3/SiNx rear side stacked passivation layer for polycrystalline PERC solar cells was prepared using the plasma- enhanced chemical vapor deposition (PECVD) method. The effects of different Al2O3 layer thicknesses (6.8~25.6 nm), SiNx layer thicknesses (65~150 nm) and SiNx refractive indices (2.0~2.2) on the passivation effect and electrical performance were systematically investigated, which were adjusted by TMA flow rate, conveyor belt speed and the flow ratio of SiH4 and NH3, respectively. In addition, external quantum efficiency (EQE) and elevated temperature-induced degradation experiments were also carried out to check the cell performance. The results showed that the best passivation effect was achieved at 10.8 nm Al2O3 layer, 120 nm SiNx layer and 2.2 SiNx layer refractive index. Under the optimal conditions ment... Read More
25. Solar Cells with Dual Thin Film and Passivation Layer Architecture for Enhanced Contact Formation
TRINA SOLAR CO LTD, 2023
Passivated contact solar cells and solar cell strings that enable mass production of high-efficiency solar cells through optimized contact structures. The cells feature a semiconductor substrate with a first thin film layer, a second thin film layer, and a first passivation layer located on the surface of the substrate. The passivation layer consists of a compound or mixture of silicon nitride, silicon oxynitride, and silicon oxide, while the second passivation layer is composed of silicon nitride, silicon oxynitride, silicon oxide, and gallium oxide. The first electrode contacts the second film layer, while the second electrode contacts the third passivation layer. This architecture enables the formation of passivated contacts through a single deposition process, enabling efficient mass production of solar cells with high conversion efficiency.
26. Surface passivation of sequentially deposited perovskite solar cells by octylammonium spacer cations
Michalis Loizos, Marinos Tountas, Panagiotis Mangelis - AIP Publishing, 2023
Effective passivation of defects is an important step toward achieving highly efficient and stable Perovskite Solar Cells (PSCs). In this work, we introduce the incorporation of two different octylammonium based spacer cations as 2D perovskite passivation layers, namely Octylammonium Bromide (OABr) and octylammonium iodide. PSCs with OABr as a 2D passivation layer demonstrated an enhanced Power Conversion Efficiency (PCE) of 21.40% (the control device has a PCE of 20.26%), resulting in a higher open circuit voltage of 40 mV. The 2D perovskite passivation layers lead to a smoother interface and a better contact with the hole transport layer, while transient photoluminescence and transient photovoltage measurements indicated reduced non-radiative recombination. Unencapsulated devices retained almost 90% of their initial PCE after 500 h of exposure under high ambient humidity conditions, confirming that the surface passivation treatment has led to improved device stability.
27. Perovskite Solar Cell with Controlled Interface Passivation Concentration and Defect-Targeting Process
CONTEMPORARY AMPEREX TECHNOLOGY CO LTD, 2023
A perovskite solar cell that enhances efficiency and stability through optimized interface passivation. The cell employs a precise concentration range for the interface passivation material, maintaining a concentration between 0.1-40 mmol/L. This controlled concentration prevents excessive passivation while preventing tunneling through the material. The passivation layer is prepared through a novel process that selectively targets specific defects in the perovskite surface, ensuring complete passivation while minimizing recombination. The cell's back electrode is prepared by scraping and evaporating the material, resulting in a uniform surface. The cell's performance and stability are further enhanced through the use of a specific electron transport layer and hole transport layer.
28. Solar Cell and Photovoltaic Module with Multi-Layer Dielectric Passivation Structure Containing Variable Oxygen and Silicon Fractions
ZHEJIANG JINKO SOLAR CO LTD, 2023
Solar cell and photovoltaic module with improved PID resistance, comprising a substrate, a first passivation stack with a first oxygen-rich dielectric layer having an oxygen atomic fraction of 40-70%, a first silicon-rich dielectric layer with an oxygen atomic fraction of 0-10%, a second oxygen-rich dielectric layer with an oxygen atomic fraction of 30-80%, and a second silicon-rich dielectric layer with an oxygen atomic fraction of 0-10%, and a second passivation layer.
29. Method for Forming Multi-Layer Aluminum Oxide Back Passivation Structure on Silicon Wafer with Variable Deposition Parameters and Gas Treatments
TONGWEI SOLAR JINTANG CO LTD, 2023
A method for preparing a back passivation structure for a solar cell using a multi-layer AlOx film. The method involves depositing a bottom layer of AlOx at a low deposition speed and high oxygen level, followed by a top layer at a high deposition speed. Each layer is treated with NH3 and N2O to improve passivation. The structure comprises a silicon wafer substrate, a silicon oxide layer, and the multi-layer AlOx film. The method enables improved field passivation and reduced recombination rates, resulting in increased solar cell efficiency.
30. Method for Manufacturing Photovoltaic Cell with Dual Polysilicon Layers and Oxidizing Agent-Induced Passivated Contact Formation
COMMISSARIAT ENERGIE ATOMIQUE, 2023
A method for manufacturing a photovoltaic cell with improved surface passivation, comprising: providing a substrate with a first polysilicon layer and a second polysilicon layer; incorporating n-type and p-type dopants into the first polysilicon layer; thermally annealing the substrate to crystallize the first polysilicon layer and form a tunnel oxide layer; injecting an oxidizing agent into the tunnel oxide layer to form a passivated contact; and removing the tunnel oxide layer to expose the passivated contact.
31. Understanding the Degradation of Silicon Heterojunction Modules
Jorge Ochoa, Michael Martinez‐Szewczyk, Nicholas Moser-Mancewicz - IEEE, 2023
With silicon heterojunction (SHJ) solar cells being close to their practical efficiency limit, long-term reliability, and stability are the lowest hanging fruit to improve their market adoption. However, the passivation degradation over time under field operating conditions at amorphous silicon (a-Si:H) and crystalline silicon (c-Si) interface remains a concern. Herein, we compare our damp heat accelerated tests and fielded module results to the aging behaviour of the passivation quality of a-Si:H/c-Si. We extract surface recombination velocity (SRV) using the temperature- and injection- dependent lifetime spectroscopy technique and model the expected cell performance over time. Our results show a degradation of the a-Si/c-Si interface through an increase in SRV originating from failing chemical passivation exhibited by an increase in defect density at the interface. The field passivation for the a-Si:H/c-Si stack remains the same through the time of these experiments. Moreover, microstructural analysis shows increase in defect density originates due to changes at the interface and n... Read More
32. Photovoltaic Cell Paste with Inert Metal Oxide and Rare-Earth Element Fluoride for Enhanced Electrode Stability
ZHEJIANG JINKO SOLAR CO LTD, JINKO SOLAR CO LTD, 2023
A lead-free photovoltaic cell paste that enhances oxidation resistance and acid corrosion resistance of metallized electrodes, reducing damp-heat attenuation and power loss. The paste comprises an inert metal element and its oxide, optionally with a non-active rare-earth element fluoride, which forms a barrier layer on the electrode surface after sintering. The paste enables reliable operation of photovoltaic cells in high-temperature and high-humidity environments.
33. Review—Process Research on Intrinsic Passivation Layer for Heterojunction Solar Cells
Jiajian Shi, Cuihua Shi, Jia Ge - The Electrochemical Society, 2023
On top of a crystalline silicon wafer, heterojunction solar cells have a thin layer of amorphous silicon (a-Si) placed on it. The efficiency of heterojunction solar cells can be increased by decreasing the electron complex loss by adding an inherent passivation layer to a monocrystalline silicon (c-Si) substrate. In this study, we examine the development of the intrinsic passivation layer deposition technique on c-Si substrates over the previous ten years by several research teams. First, a description of the structure, benefits, and passivation of heterojunction solar cells is given. Following that, the impact of modifying process variables on the functionality of the passivation layer and cell efficiency is explored in terms of the passivation material, hydrogen dilution ratio, substrate temperature, and post-deposition annealing. Last but not least, the ideal process parameters are summed up and potential future research areas are predicted. One of the best ways to increase the conversion efficiency of heterojunction solar cells is through surface passivation technology, and futur... Read More
34. Surface Cleaning and Passivation Technologies for the Fabrication of High-Efficiency Silicon Heterojunction Solar Cells
Cuihua Shi, Jiajian Shi, Zisheng Guan - MDPI AG, 2023
Silicon heterojunction (SHJ) solar cells are increasingly attracting attention due to their low-temperature processing, lean steps, significant temperature coefficient, and their high bifacial capability. The high efficiency and thin wafer nature of SHJ solar cells make them ideal for use as high-efficiency solar cells. However, the complicated nature of the passivation layer and prior cleaning render a well-passivated surface difficult to achieve. In this study, developments and the classification of surface defect removal and passivation technologies are explored. Further, surface cleaning and passivation technologies of high-efficiency SHJ solar cells within the last five years are reviewed and summarized.
35. Solar Cell with Multi-Layered Dielectric and Conductive Structures Featuring Specific Nitrogen and Oxygen Ratios
SHANGHAI JINKO GREEN ENERGY ENTERPRISE MAN CO LTD, 2023
Solar cell with improved light absorption efficiency, comprising a substrate with a front and rear surface, a dielectric passivation layer on the front surface, a silicon nitride layer with a specific nitrogen-to-molybdenum ratio, and a silicon oxynitride layer with a specific oxygen-to-nitrogen ratio, and a tunneling oxide and doped conductive layer on the rear surface.
36. Double-Barrier Quantum-Well Structure: An Innovative Universal Approach for Passivation Contact for Heterojunction Solar Cells
Muhammad Quddamah Khokhar, Hasnain Yousuf, Shahzada Qamar Hussain - American Chemical Society (ACS), 2023
The main drawbacks of modern solar-cell technologies are low-quality surface passivation, recombination losses, and carrier selectivity, which limit their efficiency. Therefore, this study proposes an innovative universal approach for a double-barrier two-dimensional (2D) quantum well (QW) passivation structure for solar cells. To this end, c-Si solar cells were examined as model cells. Preliminary investigations (e.g., contact resistance, passivation, and recombination current density) were conducted with a stack of SiOx/nc-Si/SiOx QW on n-type surfaces, and excellent results were obtained with a 30 nm-thick nc-SiOx(n) carrier-selective layer. Furthermore, the effects of different QW thicknesses and doping doses on the surface passivation of such contacts were studied, and the best results were achieved for a 5 nm QW. These QWs also exhibited a low degree of dopant diffusion, which was suppressed by the double SiOx layer. Furthermore, the 2D QW passivation structure with carrier-selective layers, which was denoted as a heterojunction with quantum well (HQW) solar cell, exhibited an ... Read More
37. Optimization of Passivation Layer on the Front Surface of N-Type Topcon Solar Cells
Meiling Zhang, Meilin Peng, Qiqi Wang - Elsevier BV, 2023
In this paper, an effective P-type emitter passivation scheme was proposed by continuously optimizing the passivation layer on the front surface of N-type TOPCon solar cells, that was, adding SiOx layer, using SiOx/AlOx/SiNx tri-layer passivation stacks. The SiOx/AlOx/SiNx stacks combined the benefits of chemical passivation of SiOx and field-effect passivation of AlOx, resulting in high-quality boron-doped emitter passivation. Three different passivation scheme of SiNx, AlOx/SiNx and SiOx/AlOx/SiNx were prepared on the front of N-type TOPCon solar cells. It was revealed that the SiOx/AlOx/SiNx stacks had superior conversion efficiency and the thickness of SiOx had a significant influence on the surface passivation. Through series of optimization of SiOx thickness in the SiOx/AlOx/SiNx stacks, the optimal deposition period of SiOx were determined to be 4 cycles in the PEALD1 process. The N-type TOPCon Solar cells with SiOx/AlOx/SiNx stacks on the front surface exhibited the optimized performances with a conversion efficiency of 24.88% when the deposition period of SiOx was 4 cycles. ... Read More
38. Improving the Minority Carrier Lifetime of Perc Solar Cells Via Bi-Layer Rear Interface Passivation Strategy
Jun Sung Jang, Han Sang Kim, Vijay Karade - Elsevier BV, 2023
Passivated emitter and rear contact (PERC) based solar cells are dominating the current photovoltaic (PV) market due to their high power conversion efficiency (PCE) and low cost. However, issues like the lower minority carrier lifetime (MCLT) and high density of surface dangling bonds are limiting their further improvement in PCE. To overcome this issue, a bi-layer rear interface passivation strategy is developed with the ultra-thin Al2O3 and SiO2 layers in PERC solar cells. Applying single (Al2O3) and double (Al2O3/SiO2) passivation layers revealed that each process parameter could affect the overall device performance. In addition, it is observed that the post-annealing temperatures and thickness of the passivation layers significantly affect the MCLT va.lues and device PCE. The Al2O3/SiO2, double passivation layers, are found to be more effective than just single Al2O3 and SiO2 passivation layers. They suppress the density of surface dangling bonds and quell the diffusion of Al atoms from Al2O3 layers. Consequently, it improves the carrier collection rate by increasing the negativ... Read More
39. Activation of Al2O3 surface passivation of silicon: Separating bulk and surface effects
Nicholas E. Grant, Sophie L. Pain, Edris Khorani - Elsevier BV, 2023
Understanding surface passivation arising from aluminium oxide (Al2O3) films is of significant relevance for silicon-based solar cells and devices that require negligible surface recombination. This study aims to understand the competing bulk and surface lifetime effects which occur during the activation of atomic layer deposited Al2O3. We demonstrate that maximum passivation is achieved on n- and p-type silicon with activation at 450 C, irrespective of annealing ambient. Upon stripping the Al2O3 films and re-passivating the surface using a superacid-based technique, we find the bulk lifetime of float-zone and Czochralski silicon wafers degrade at annealing temperatures > 450 C. By accounting for this bulk lifetime degradation, we demonstrate that the chemical passivation component associated with Al2O3 remains stable at activation temperatures of 450500 C, achieving an SRV of < 1 cm/s on n- and p-type silicon. In conjunction with the thermal stability, we show that films in the range of 330 nm maintain an SRV of < 1 cm/s when annealed at 450 C. From atomic-level energy dispe... Read More
40. Improved Silicon Surface Passivation by ALD Al<sub>2</sub>O<sub>3</sub>/SiO<sub>2</sub> Multilayers with In‐Situ Plasma Treatments
Armin Richter, Hemangi Patel, Christian Reichel - Wiley, 2023
Abstract Al 2 O 3 is one of the most effective dielectric surface passivation layers for silicon solar cells, but recent studies indicate that there is still room for improvement. Instead of a single layer, multilayers of only a few nanometers thickness offer the possibility to tailor material properties on a nanometer scale. In this study, the effect of various plasma treatments performed at different stages during the ALD deposition of Al 2 O 3 /SiO 2 multilayers on the silicon surface passivation quality is evaluated. Significant improvements in surface passivation quality for some plasma treatments are observed, particularly for single Al 2 O 3 /SiO 2 bilayers treated with a H 2 plasma after SiO 2 deposition. This treatment resulted in a surface recombination parameter J 0 as low as 0.35 fA cm 2 on (100) surfaces of 10 cm n type silicon, more than a factor of 5 lower than that of Al 2 O 3 single layers without plasma treatment. Capacitancevoltage measurements indicate that the improved surface passivation of the plasmatreated samples results from an enhanced chemical inter... Read More
41. Amplifying the Performance and Stability of Perovskite Solar Cells Using Fluorinated Salt as the Surface Passivator
Abolfazl Ghaderian, Naveen Harindu Hemasiri, Shahzada Ahmad - Wiley, 2023
A simple passivation strategy using a common fluorinated salt is reported that seeks to enhance the photovoltaic performance and long-term stability of halide perovskite solar cells. Tetra-n-butyl ammonium hexa-fluorophosphate is used as a passivating agent to mitigate the surface defects on the perovskite and impede the ion mobility by virtue of H-bonding. In addition, the presence of fluorine atoms causes strong hydrophobicity, which in turn improves the moisture stability in perovskite solar cells. More details can be found in article number 2200211, Samrana Kazim and co-workers.
42. Oxysalt based synergistic dual interfacial engineering for high performance p–i–n structured perovskite solar cells
Pramila Patil, Sung‐Nam Kwon, Sushil S. Sangale - Royal Society of Chemistry (RSC), 2023
The synergistic effect of the double-sided passivation strategy using oxysalts led to improved performance of pin perovskite solar cells.
43. Solar Cell with Sealed Space Containing Controlled Water Vapor and Oxygen Concentrations
PANASONIC HOLDINGS CORP, 2022
Solar cell with improved durability, comprising a photoelectric conversion element with a first electrode, a photoelectric conversion layer, and a second electrode, disposed inside a sealed space with a water vapor concentration of 100 ppm to 5000 ppm and an oxygen concentration of less than 10 ppm. The water vapor concentration is optimized to balance photostability and thermal stability, with a preferred range of 100 ppm to 1000 ppm.
44. Method for Depositing and Passivating Oxide Layers on CdTe Thin-Film Solar Cells
COLORADO STATE UNIVERSITY RESEARCH FOUNDATION, 2022
A method to increase efficiency of thin-film solar cells, particularly CdTe-based cells, by depositing and passivating oxide layers on both the front and back surfaces of the semiconducting layer. The oxide layers, such as Al2O3, MgO, or SiO2, can be used alone or in combination with other layers to achieve efficiencies of at least 10%. The method can also include doping the semiconducting layer after oxide layer deposition to further enhance performance.
45. Accelerated aging of all-inorganic, interface-stabilized perovskite solar cells
Xiaoming Zhao, Tianran Liu, Quinn Burlingame - American Association for the Advancement of Science (AAAS), 2022
To understand degradation routes and improve the stability of perovskite solar cells (PSCs), accelerated aging tests are needed. Here, we use elevated temperatures (up to 110C) to quantify the accelerated degradation of encapsulated CsPbI 3 PSCs under constant illumination. Incorporating a two-dimensional (2D) Cs 2 PbI 2 Cl 2 capping layer between the perovskite active layer and hole-transport layer stabilizes the interface while increasing power conversion efficiency of the all-inorganic PSCs from 14.9 to 17.4%. Devices with this 2D capping layer did not degrade at 35C and required >2100 hours at 110C under constant illumination to degrade by 20% of their initial efficiency. Degradation acceleration factors based on the observed Arrhenius temperature dependence predict intrinsic lifetimes of 51,000 7000 hours (>5 years) operating continuously at 35C.
46. Temperature Dependence of Silicon-Dielectric Interface Recombination
Anh Huy Tuan Le, Eduardo Prieto Ochoa, Ruy S. Bonilla - IEEE, 2022
Investigations into the temperature dependence of the surface recombination at the interface between silicon and various dielectrics in modern solar cells are of significant interest as they (a) provide fundamental information regarding the interfaces, and (b) allow to improve predictions regarding the performance of solar cells under actual operating conditions. In this study, we use a novel technique based on external bias voltages to control the carrier population at the silicon-oxide/silicon, silicon-nitride/silicon, and aluminum-oxide/silicon interfaces from heavy accumulation to heavy inversion in the temperature range 2590 C. We find that the effective lifetime slightly increases at elevated temperatures when the imbalance of the carrier populations is amplified. In the studied temperature range, it seems that the electron and hole capture cross-sections at all the interfaces are temperature-dependent. The technique offers a simple and versatile manner to separate the chemical passivation from the charge-assisted population control at the silicon/dielectric interface, as a f... Read More
47. Silicon Heterojunction Solar Cells with High Bulk Resistivities Over 1,000 Ω·cm in Relevant Field Conditions of Illumination and Temperature
Anh Huy Tuan Le, Apoorva Srinivasa, Stuart Bowden - IEEE, 2022
As we design solar cells with better surface passivation, it is important to revisit the bulk properties. The use of lightly doped wafers provides a promising way to mitigate Auger recombination and increase the breakdown voltage of solar cells, which could lead to new module and system designs. Thus, studying the performance of silicon (Si) solar cells and modules using such wafers in relevant field conditions is of significant interest. In this study, we experimentally investigate the impact of the bulk resistivity (up to >15,000 .cm) on the properties of Si heterojunction solar cells under different illuminations (0.1-1 suns) and temperatures (2570 C). We also study the dependency between the breakdown voltage and the bulk resistivity. The results indicate that for very low illuminations intensities down to 0.1 suns, cells with very high bulk resistivities, over 15,000 cm, have comparable performances to cells with much lower bulk resistivities. The temperature coefficients measured on these cells are also comparable with values previously reported for cells using wafers with... Read More
48. Efficiency Enhancement of Heterojunction IBC Solar Cell: Surface Passivation
A.M. Shahryari, Zohreh Golshan Bafghi, Negin Manavizadeh - IEEE, 2022
In this paper, the performance of heterojunction interdigitated back contact solar cell with passivation layer is studied. Moreover, the impact of the passivation layer on preventing from recombining photogenerated carriers is investigated as well. According to the simulation results, the Voc and Isc of the proposed solar cell are 0.619 V and 0. 447nA, respectively. This solar cell has 20.8% efficiency and 74.62 fill factor as the most important parameters for solar cells. The results show the combination of IBC silicon solar cell with IIIAs compound semiconductor cells and a surface passivation layer has a significant enhancement in solar cell performance and it is a unique structure for high-efficiency solar cell.
49. Defect Passivation through (α-Methylguanido)acetic Acid in Perovskite Solar Cell for High Operational Stability
Guan‐Woo Kim, Jihyun Min, Taiho Park - American Chemical Society (ACS), 2022
Defect passivation has become essential in improving efficiency and stability in perovskite solar cells. Here, we report the use of (-methylguanido)acetic acid, also known as creatine, as a passivation molecule. It is employed both as an additive and as a surface passivation layer of perovskite thin films, given its multiple functional groups, which could address different defect sites, and its size, which could inherently affect the material structure. We prove that the surface passivation is more efficiently working by removing vulnerable defects on the surface. Hole and electron defect densities were reduced, leading to the highest power conversion efficiency of 22.6%. In addition, it can effectively protect the perovskite thin film and improve the operational stabilities in high thermal (85 C) and humid conditions (50% relative humidity), suggesting a strong stability of the surface passivation layer.
50. Accelerating Photogenerated Hole Tunneling through Passivation Layers <i>via</i> Reducing Interplanar Spacing for Efficient and Stable Perovskite Solar Cells
Mingzhu Pei, Qingshun Dong, Minhuan Wang - American Chemical Society (ACS), 2022
Interfacial passivation engineering plays a crucial role in the explosive development of perovskite solar cells (PSCs). However, previous studies on passivation layers mainly focused on the defect-passivation mechanism rather than the interfacial charge transport efficiency. Here, by precisely tuning the interplanar spacing of the ammonium iodide passivation layer, we elucidate the promoting effect of the reduced interplanar spacing of the passivation layer on the photogenerated hole tunneling efficiency at the interface of the hole transport layer and perovskite. Compared with the commonly used phenethylammonium iodide passivation layer with a wider interplanar spacing, 2-chlorobenzylammonium iodide with a narrower interplanar spacing can help break through the thickness limitation of the passivation layer, thus showing a better comprehensive passivation effect. Therefore, we demonstrate photovoltaic devices with an enhanced fill factor (FF) and open-circuit voltage (VOC), which yield a high power conversion efficiency (PCE) of up to 23.1%. We thus identify an efficient scheme to ac... Read More
Get Full Report
Access our comprehensive collection of 89 documents related to this technology
