Curing Bladders for Tire Manufacturing
Modern tire manufacturing requires precise control of curing conditions, with bladder systems operating at temperatures up to 180°C and pressures exceeding 20 bar. These systems must maintain uniform pressure distribution across varying tire profiles while managing steam circulation, heat transfer, and controlled deflation cycles—all of which directly impact final tire quality and production yields.
The fundamental challenge lies in achieving consistent vulcanization across different tire zones while preventing bladder-related defects and managing thermal gradients throughout the curing cycle.
This page brings together solutions from recent research—including partitioned pressure zones with independent steam control, graduated thickness profiles for improved heat transfer, and integrated RFID systems for lifecycle monitoring. These and other approaches focus on enhancing tire quality while reducing cycle times and energy consumption in high-volume production environments.
1. Tire Curing Press Bladder with Integrated RFID System for Identification and Monitoring
SIEMENS AG, 2023
Improved identification and monitoring of bladders in tire curing presses to enable better tracking, maintenance, and quality control of the bladders over their lifespan. The bladder device has an RFID chip in the elastic bladder that can be read when the bladder is removed. The press clamping device also has an RFID chip with the bladder ID associated. This allows identifying the bladder even when covered during vulcanization. A database associates bladder ID with clamping ID. By recording bladder ID during assembly, it can be traced through presses and replaced if damaged. The bladder RFID is shielded during press use but still readable when removed.
2. Tire Vulcanization Method with Dual Inflation-Deflation Cycle and Vulcanizer with Sequential Bladder Control Mechanism
SUMITOMO RUBBER IND, SUMITOMO RUBBER IND LTD, 2023
Tire manufacturing method and vulcanizer to reduce tire removal failures and denting during tire vulcanization. The method involves inflating the bladder after deflation, then deflating again before removing the tire. This prevents the tire from sticking to the mold and bladder when removing it, reducing the risk of damage. The vulcanizer has a mechanism to open the mold, deflate the bladder, inflate it again, then deflate again before removing the tire.
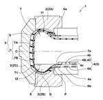
3. Tire Curing Bladder with Internal Partitioned Pressure Zones and Independent Steam Control
KUMHO TIRE CO INC, 2023
Tire curing bladder with adjustable pressure zones to prevent over-vulcanization and improve tire quality. The bladder has internal partitions to separate and isolate regions of the tire cavity during curing. Each section has its own steam supply and valve to apply specific pressure. This allows different regions with varying rubber thicknesses to be vulcanized optimally without overcure. The partitions and connections prevent steam from bleeding between zones.
4. Tire Vulcanization System with Closed-Loop Circulation and Heat Exchanger for Energy Recovery
HIMILE MECHANICAL SCIENCE AND TECH SHANDONG CO LTD, HIMILE MECHANICAL SCIENCE AND TECHNOLOGY CO LTD, 2023
Tire vulcanization system with energy recovery to improve efficiency and reduce waste in tire manufacturing. The system uses a closed loop for circulating the vulcanization medium between the storage device and bladder. A heat exchanger on the circulation pipeline extracts heat from the hot medium leaving the bladder and uses it to preheat the medium entering the bladder. This recovers and reuses the heat normally lost during cooling and recovery.
5. Curing Bladder with Gradually Deepening Channels for Air Drainage During Tire Curing
COMPAGNIE GENERALE DES ETABLISSEMENTS MICHELIN, 2022
Curing bladder for tires that allows proper drainage of air during the tire curing process to prevent blisters and defects on the inner surface of the tire. The bladder has a drainage zone on the external surface that contacts the green tire during curing. The drainage zone has channels that extend into an adjacent removal zone. The depth of the channels increases along their length from the drainage zone to the removal zone. This gradual depth increase facilitates air drainage while preventing the inner tire liner from blocking the channels.
6. Vulcanizing Bladder with Internal Ribs and Sliding Plate Mechanism for Controlled Shrinking and Retraction
SHANDONG YANGGUANG SHENGSHI MACHINERY EQUIPMENT CO LTD, 2022
A bladder design for vulcanizing tires that allows controlled shrinking during vacuum deformation to prevent bladder sticking and make tire removal easier. The bladder has a frame with a sliding plate that moves up and down on cylinders. The bladder itself is mounted on the frame and has ribs inside. The ribs prevent the bladder from collapsing into corners when vacuumed, avoiding bladder-tire sticking. The sliding plate allows the bladder to be retracted completely to the corners for easier tire removal. This reduces bladder-tire contact during deformation and prevents bladder-tire adhesion.
7. Curing Bladder with Graduated Thickness Profile for Tire Molding
TVS SRICHAKRA LIMITED, 2022
Tyre curing bladder with graduated thickness from center to shoulder to improve tire shaping and reduce cycle time. The bladder has a lower gauge at the center that gradually increases towards the shoulders. This configuration provides better heat transfer during curing and easier tire shaping compared to uniform thickness bladders. The thickness increases at a rate of 4-6% per 10mm interval from center to shoulder. The center merges gradually with the shoulder.
8. Electric Heating Vulcanizer with Bladder-Integrated Temperature Control System
SHANDONG LUXURY MACHINERY SCIENCE AND TECH STOCK LIMITED CO, SHANDONG LUXURY MACHINERY SCIENCE AND TECHNOLOGY STOCK LIMITED CO, 2022
Tire vulcanization equipment for electric heating vulcanizers that can precisely control the temperature of the heating medium inside the bladder. The equipment has a bladder with fixed structures at the top and bottom to enclose a cavity. A heater, gas circulation device, drive, and controller are added inside. The heater has temperature sensors at the inlet and outlet. The controller uses the sensors to adjust heater power and drive speed to maintain desired heating medium temperatures for vulcanization.
9. Tire Curing Bladder with Angled Reinforcing Ribs on Inner Surface
SAILUN GROUP CO LTD, 2022
Tire curing bladder with improved durability to prevent cracking of the exhaust port during tire vulcanization. The bladder has reinforcing ribs on the inner surface that intersect the exhaust ducts at an angle greater than 45 degrees and less than 60 degrees. This configuration restrains and restricts the expansion and deformation of the exhaust port to prevent cracking due to excessive expansion during vulcanization.
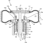
10. Vulcanization Bladder with Interconnected Shells and Integral Reinforcement Block
QINGDAO WEILAN TYRE CO LTD, 2021
A tire vulcanization bladder design for improving efficiency and ease of use in tire production. The bladder has a unique shape with separate shells connected by clamping edges. An integral reinforcement block at one end provides strength. The clamping edges close together to seal the tire cavity. A positioning rod with threaded holes and chambers connects the shells. An elastic device in one chamber holds a movable block in the other chamber. This allows controlled movement during vulcanization. The bladder shape and connections enable easier handling, better sealing, and consistent vulcanization compared to traditional bladders.
11. Annular Bladder with Rim-Shaped Carrier for Tire Vulcanization Presses
Harburg-Freudenberger Maschinenbau GmbH, HARBURG-FREUDENBERGER MASCHINENBAU GMBH, 2021
Reducing the closing force required by tire vulcanization presses by using an annular bladder with a rim-shaped carrier instead of a full-size bladder. The annular bladder surrounds the tire rim and inflates to apply pressure during vulcanization. This allows using a smaller, lighter bladder system that is transportable and can be easily loaded and unloaded from the press. The rim shape of the bladder eliminates the need for closing force on the inner tire area, significantly reducing the press force requirement.
12. Siloxane Polymer Film Coated Tire Curing Bladders with Specified Coating Thickness
ZHONGCE RUBBER GROUP CO LTD, 2021
Coating tire curing bladders with a siloxane polymer film to improve service life. The coating amount is 30-80 g/m2. The coating protects the bladder from aging due to oxygen, heat, and pressure during vulcanization. The siloxane polymer film prevents oxidation and deterioration of the bladder material, reducing stickiness, brittleness, and discoloration.
13. Curing Bladder with Grooved and Furrowed Surface for Enhanced Air Evacuation
COMPAGNIE GENERALE DES ETABLISSEMENTS MICHELIN, 2021
A curing bladder for tires that allows better evacuation of air from between the bladder and the green tire during vulcanization. The bladder has a relief structure with narrow grooves and fine furrows on its external surface. The grooves are spaced apart and have shallow depths, while the furrows are even closer together and have very shallow depths. This pattern of channels allows efficient air evacuation from the bladder into the tire during curing.
14. Electromagnetic Heating Vulcanization Device with High-Pressure Nitrogen Circulation for Tire Curing
SHANGHAI YOULONG RUBBER PRODUCTS CO LTD, 2021
High-pressure nitrogen electromagnetic heating vulcanization device for tire curing that improves efficiency and uniformity compared to traditional methods. The device uses high-pressure nitrogen instead of water vapor or air for internal heating. It has a vulcanization mold with a bladder, a circulation pipeline, and a Roots blower compressor. Nitrogen enters at room temperature, circulates through the mold and heater, bypass valve, and blower. A separate drying circuit removes moisture. This provides uniform, high-pressure nitrogen heating inside the tire bladder without steam condensation or low-pressure nitrogen cooling issues.
15. Closed-Loop Steam Circulation System for Tire Vulcanization with Integrated Condensate Recovery and Temperature Control
JIAMEI RUBBER CO LTD, JIAMEI SHANDONG RUBBER CO LTD, 2021
A tire vulcanization method and device to eliminate condensate formation and improve tire quality during vulcanization. The method involves using a closed-loop steam circulation system instead of continuously introducing new superheated steam. A steam condenser captures and condenses steam inside the tire bladder during vulcanization. The condensed water is pumped out and the recovered steam is reheated and reintroduced into the bladder. This eliminates condensate formation and prevents temperature inconsistencies. The steam circulation also recovers energy from the condensed steam and reduces environmental impact compared to exhausting it. The closed-loop system is controlled by a temperature sensor to monitor bladder temperature and adjust steam flow.
16. Tire Curing Bladder with Section-Specific Thickness Configuration
ZHONGCE RUBBER GROUP CO LTD, 2021
Tire curing bladder design with optimized thickness for improved vulcanization efficiency. The bladder has a bead portion, a sidewall portion, and a shoulder portion that correspond to the corresponding tire sections. The bead section has a thickness of 8-9 mm, the sidewall section has a thickness of 10-11 mm, and the shoulder section has a thickness of 8-9 mm. This thickness distribution provides better vulcanization contact and heat transfer for optimal curing of the tire rubber.
17. Vulcanization Bladder with Dual-Polymer Protective Layer for Enhanced Structural Integrity
YONGYI RUBBER CO LTD, 2020
Vulcanization bladder for tire molding with improved resistance to cracking and leaks during high temperature, high pressure vulcanization cycles. The bladder has a protective layer attached to the inner and/or outer surfaces of the bladder body. The protective layer is made by reacting polymers with glass transition temperatures above and below -20°C. This provides elastomer and thermoplastic segments for mechanical strength and elasticity. The protective layer covers surface defects like cracks or leaks in recycled bladder bodies to prevent tire defects.
18. Curing Bladder with Conforming Cavity and Integrated Pressure Relief Valve
ZHONGCE RUBBER GROUP CO LTD, 2020
Tire curing bladder design and curing method to improve tire curing efficiency. The bladder has a cavity with an inner surface that closely matches the shape of the tire being cured. The bladder also has an inflation port and a pressure relief valve. The inflation port allows air to be introduced into the bladder to inflate it. The pressure relief valve allows excess pressure to escape during the curing process to prevent rupture. The bladder is inserted into the mold with the tire and air is pumped into the bladder to apply uniform pressure and prevent deformation during curing. This improves tire quality and consistency. The bladder design closely matching the tire shape and the pressure relief valve prevent bladder rupture during high pressure curing.
19. Toroidal Tire Curing Bladder with Wave-Shaped Expansion Section for Enhanced Shoulder Contact
The Goodyear Tire & Rubber Company, 2020
A tire curing bladder with improved contact pressure and fit in the tire shoulder area to prevent issues like uneven gauge, trapped air, and liner cracking. The bladder has a toroidal shape with opposing beads and a wave-shaped expansion section. The wave shape provides a larger radial stretch and higher contact pressure in the tire shoulder area compared to a flat expansion section. This improves bladder fit and prevents issues like bladder contacting the crown area at low pressures.
20. Method for Manufacturing Pneumatic Tires with Controlled Bladder Pressure Purging During Vulcanization
SUMITOMO RUBBER IND, SUMITOMO RUBBER IND LTD, 2020
Method for manufacturing pneumatic tires that reduces vulcanization temperature differences and improves tire rolling resistance. The method involves controlled purging of steam and gas from the bladder inside the tire mold during vulcanization. The purging involves stopping gas release when the bladder pressure drops to a certain value. This keeps the bladder pressure constant during purging and prevents excessive pressure drops that can affect vulcanization. This suppresses variation in vulcanization temperature difference due to the tire design, which improves tire uniformity and rolling resistance.
21. Tire Vulcanization System with Mold-Integrated Bladder and Fan for Enhanced Bearing Thermal Management
COMPAGNIE GENERALE DES ETABLISSEMENTS MICHELIN, 2020
Tire vulcanization system with improved guidance bearing life and thermal stability. The system uses a mold with a bladder, fan, heater, and motorized shaft inside. The fan agitates the heating medium as it circulates. The guidance bearings are positioned below the fan and heater. This configuration prevents blocking of the bearings by thickening lubricant paste. The agitation and oblique exit angles of the fan force the heating medium to flow around the bearings. This homogenizes the temperature and prevents immobilization.
22. Tire Curing Bladder with Post-Manufacture Siloxane Polymer Film Coating
ZHONGCE RUBBER GROUP CO LTD, 2020
Coating a tire curing bladder with a siloxane polymer film to improve its service life. The coating is applied to the bladder surface after manufacturing. The coating amount is 30-80 grams per square meter. The siloxane film provides a protective barrier against oxygen and other environmental factors during the harsh vulcanization process. It prevents deterioration, discoloration, hardening, and sticking that can occur due to aging.
23. Tire Curing Bladder with Neck Protrusions and Grooves and Specific Material Composition
YONGYI RUBBER CO LTD, 2020
A tire curing bladder design and preparation method to reduce damage during assembly and use in tire vulcanization machines. The bladder has specific features like protrusions and grooves on the neck area that help prevent damage during assembly and sealing. The bladder material composition is also optimized with a specific range of rubber types, fillers, and additives. This combination improves bladder durability during repeated use in tire vulcanization machines.
24. Bladder with Multi-Material Membrane for Controlled Thermal Conductivity in Tire Vulcanization
YOKOHAMA RUBBER CO LTD, YOKOHAMA RUBBER CO LTD:THE, 2020
Bladder for tire vulcanization that helps achieve more consistent and uniform tire vulcanization to prevent quality issues. The bladder has a membrane portion that contacts the inside of the tire during vulcanization. This membrane is made of multiple materials with different thermal conductivities. This allows controlling temperature distribution within the bladder during vulcanization to mitigate the up-down temperature gradient issue. By using materials with varying thermal conductivities, the bladder can prevent over-vulcanization of the upper tire sections and under-vulcanization of the lower sections. This ensures more consistent vulcanization across the tire.
25. Thermoplastic Polymer Curing Bladder with Conformable Thin Film Structure
Compagnie Generale Des Etablissements Michelin, 2020
Curing bladder for tires that reduces weight, eliminates the need for pre-treatment, and improves vulcanization efficiency compared to traditional butyl rubber bladders. The bladder is made of a thin, flexible film of thermoplastic polymer instead of thick butyl rubber. The film conforms to the tire shape inside the mold and expands when pressurized to flatten the tire against the mold walls. This allows thinner, lighter bladders with fewer sizes required compared to bulky rubber bladders. The thermoplastic film bladder also eliminates the need for tire coating to prevent sticking because it has better release properties.
26. Rotating Tire Curing Bladder with Variable Deflation Mechanism and Sealing System
Pingdu City Mingcun Town Convenience Service Center, Qingdao Hengda Tire Co., Ltd., 2019
A tire curing bladder design to prevent air bubbles in tires during vulcanization. The bladder has a rotating mechanism that allows complete deflation of the bladder inside the tire before inflation to remove any residual air. The bladder has an upper and lower steel sleeve connected by a rotating rod inside a cylinder. Threaded rods on the sleeves and cylinder have sliding blocks. When inflating, the cylinder rotates to seal the blocks. When deflating, the cylinder rotates to separate the blocks. An elastic sheet between the blocks and main body seals during inflation. Exhaust grooves facilitate deflation. A sealing ring prevents leakage during rotation. Air inlet/outlet pipes with a valve connect to the sleeves.
27. Vulcanization Bladder with Grooved Fluororubber Surface and Pneumatic Tire with Convex and Hump Inner Structures
Bridgestone Corporation, 2019
Tire vulcanization bladder and pneumatic tire design to reduce bears (air pockets) inside the tire after vulcanization. The bladder is made of fluororubber with grooves and connected recesses on the outer surface. This allows trapped air during vulcanization to escape. The tire has convex portions connecting the bladder bridges and smaller hump sections between inner surfaces. This further reduces bears by allowing air to escape from the tire inner surface.
28. Vulcanization Method Using Air-Filled Fluororubber Bladder in Tire Production
Bridgestone Corporation, 2019
Method for vulcanizing passenger car tires that reduces cost by eliminating the need for dedicated inert gas generators and piping. The method involves supplying air instead of inert gas to the bladder inside the tire during vulcanization. The bladder is made of a fluororubber composition containing 50-100% fluororubber. The air is supplied through an intake and supply port system without an inert gas generator. Steam with 0.3 ppm or more dissolved oxygen can also be used. The air pressure, temperature, and vulcanization time are optimized to improve tire quality.
29. Manufacturing Method for Pneumatic Tires Using Bladder with Dimple-Induced Protrusions
TOYO TIRE Corporation, 2019
Method for manufacturing pneumatic tires that allows easy confirmation of bladder contact with the tire inner surface. The method involves adding dimples on the bladder outer surface that penetrate into the tire during vulcanization. Rubber protrusions form around the dimples indicating bladder-tire contact. The dimples are preferably tapered towards the bladder interior to promote rubber flow. This provides a visual indicator of bladder adhesion for quality control.
30. Rubber Compound Formulation for Tire Vulcanization Bladders with Reduced Nozzle Blocking Risk
Yong Rubber Co., Ltd., 2019
A method to improve production safety of tire vulcanization bladders by formulating a rubber compound that reduces the risk of nozzle blocking during vulcanization. The compound contains a specific range of butyl rubber, neoprene, carbon black, brominated phenolic resin, castor oil, zinc oxide, stearic acid, microcrystalline wax, accelerator, and antiscorch agent. This composition shortens vulcanization time without sacrificing bladder performance compared to standard butyl rubber blends.
31. Curing Bladder for 59/80R63 Tires with Tapered Neck and Curved Shoulders
Yong Rubber Co., Ltd., 2018
A giant tire curing bladder specifically designed for shaping 59/80R63 tires, which have a diameter of 4.03 meters and weigh 5.8 tons. The bladder has a ring-shaped body with curved shoulders and a neck that tapers towards the middle. The bladder dimensions are optimized for 59/80R63 tires to prevent defects like discounting, gassing, and uneven vulcanization. The outer diameter is 2840mm, total height is 2050mm, middle thickness is 20mm, neck thickness is 26mm, inner clamping edge diameter is 1310mm, clamping edge height is 40mm, and width is 20mm. The tapered neck and curved shoulders match the tire shape for better fit and airflow
32. Vulcanization Bladder with Inner Thin-Walled Section for Uniform Temperature Distribution
Sumitomo Rubber Industries, Ltd., 2018
Bladder for vulcanization used in tire manufacturing that improves tire uniformity during vulcanization by preventing temperature gradients. The bladder has an inner bladder with a thin-walled lower section that expands inside the outer bladder. This inner bladder contacts the tire inner surface during vulcanization. The thin-walled section raises local tire temperature where it touches, preventing cold spots. The thicker outer bladder expands around the tire.
33. Method for Manufacturing Bladders with Controlled Extrusion, Vulcanization, and Quenching Parameters
AVIOREC SRL, 2018
A process for manufacturing bladders used in curing composite materials. The process involves extruding a rubber compound into a tubular shape, vulcanizing it at controlled conditions, and then quenching to set the shape. The extrusion, vulcanization, and quench steps are performed under specific conditions to optimize the bladder performance. The extrusion is done at controlled temperatures and speeds to achieve the desired diameter. The vulcanization is done at controlled temperatures and durations to optimize the cure. The quenching is done at controlled rates to prevent deformation. This process allows manufacturing bladders with low vacuum loss, which is important for their use as compacting tools in composite curing.
34. Method for Tire Vulcanization Using Forced Convection via Gas-Induced Steam Circulation
Sumitomo Rubber Industries, Ltd., 2018
Method of vulcanizing tires that reduces vulcanization time by utilizing forced convection instead of natural convection during vulcanization. The method involves heating the tire bladder with steam, then expanding it with a gas to vulcanize the tire. During expansion, the gas is sprayed onto the water in the bladder drain to create forced convection. This ensures uniform heat transfer to the tire since the water moves and prevents cold spots. The gas is continuously supplied from the end of heating to the end of vulcanization.
35. Tire Manufacturing Method and Vulcanization Machine with Controlled Fluid Flow Bladder System
Toyo Tire & Rubber Co., Ltd., 2018
Tire manufacturing method and vulcanization machine that improves tire uniformity by optimizing the heating process during vulcanization. The method involves inserting a bladder into the tire, sending heating fluid into the bladder through a pipe with an orifice, and pressurizing the bladder. The orifice allows controlled fluid flow into the bladder, preventing sudden pressure spikes. This equalizes heating across the tire beads and reduces bead distortion during vulcanization, resulting in more uniform tires.
36. Tire Curing Bladders with Phase-Separated Polymeric Air Barrier Layer
Bridgestone Americas Tire Operations, LLC, 2018
Tire curing bladders with enhanced air retention and protection against oxidation and damage during tire curing. The bladders have an air barrier layer applied to the inner surface. The air barrier composition is a phase-separated polymeric system containing a thermoplastic and elastomeric component. The air barrier layer improves bladder air retention during curing, preventing pinholes and leaks, and protects against oxidation and damage.
37. Tire Vulcanizer with Double-Structured Bladder and Guide Groove for Independent Expansion and Fluid Flow
SUMITOMO RUBBER INDUSTRIES LTD, 2018
Tire vulcanizer with a double-structured vulcanization bladder to prevent uneven vulcanization and improve productivity. The bladder has an inner bladder and an outer bladder separated by a guide groove. Steam or other fluid is supplied between the bladders. The inner and outer bladders expand independently to mold the tire. The guide groove prevents contact between the bladders that could block fluid flow or drainage. This maintains uniform temperature and prevents vulcanization unevenness.
38. Vulcanization Bladder with Modular Cover Members for Adjustable Gauge Distribution
Yokohama Rubber Co., Ltd., 2018
A tire vulcanization bladder that allows easy customization of gauge distribution for improving manufacturing efficiency. The bladder has a main body that goes inside the tire during vulcanization, and a cover member that can be locally added in areas like the tire crown or sidewall. This allows changing the bladder shape and gauge distribution without needing a dedicated bladder for each tire type. The cover member can be attached or restrained to the main body. Using multiple cover members made of different materials further customizes the bladder characteristics.
39. Tire Vulcanization Apparatus with Dual Bladder Inflation to Minimize Condensation
Sumitomo Rubber Industries, Ltd., 2018
A tire vulcanization process and apparatus that reduces uneven vulcanization and improves tire quality by preventing condensation and water accumulation inside the bladder during vulcanization. The process involves inflating an inner bladder inside the outer bladder during vulcanization to compress the tire against the mold. This reduces space between the bladders where steam condensation occurs. By inflating the inner bladder, it decreases the volume of the space between the outer and inner bladders, making it less prone to steam condensation. This prevents water accumulation and temperature non-uniformity during vulcanization.
40. Tire Vulcanization Device with Dual-Pressure Bladder Inflation and Circulation System
The Yokohama Rubber Co., LTD., 2017
Vulcanization device for tires that provides sufficient initial internal pressure and prevents over-vulcanization. The device has a bladder with separate low-pressure and high-pressure supply lines. Initially, low-pressure nitrogen inflates the bladder. Then, high-pressure nitrogen increases bladder pressure while circulating the nitrogen. This sequence prevents under-vulcanization in the initial stage and prevents over-vulcanization by keeping the bladder pressurized.
41. Tire Vulcanization Bladder with Internal Tunnel Path for Air Exhaustion
Yokohama Rubber Co., Ltd., 2017
Tire vulcanization bladder that reduces internal air pockets during tire curing to prevent defects. The bladder has a tunnel-shaped path inside that connects the region contacting the tire inner surface during curing to a non-contact region. This allows exhausting air trapped between the bladder and tire during curing to prevent internal air pockets that can cause defects like light liner on the tire inner surface.
42. Curing Bladders with Hydrocarbon Polymer Modifier-Enhanced Composition for Tire Manufacturing
EXXONMOBIL CHEMICAL PATENTS INC, 2017
Curing bladders for tire manufacturing that have improved durability, heat resistance, and efficiency. The bladder composition contains a hydrocarbon polymer modifier (HPM) in addition to the typical elastomer and curing agent. The HPM improves properties like fatigue life, tear strength retention, and dematia cut growth, while also reducing bladder shrinkage. The HPM can contain olefins like piperylene, cyclic pentadiene, aromatic, limonene, pinene, amylene. This allows using less butyl rubber in the bladder and improving its performance.
43. Double-Structured Tire Vulcanization Bladder with Sequential Expansion Capability
SUMITOMO RUBBER IND, SUMITOMO RUBBER IND LTD, 2017
Tire vulcanization bladder, apparatus, and method for improving tire vulcanization uniformity and efficiency. The bladder has a double structure with an inner bladder abutting the tire inner surface and an outer bladder abutting the inner bladder. This allows expanding both bladders sequentially to press the tire against the mold. The outer bladder expansion discharges any steam condensate that accumulated in the inner bladder during the first expansion step, preventing temperature gradients and uneven vulcanization.
44. Bladder with Integrated Knitted Electric Heating Elements for Tire Vulcanization
SUMITOMO RUBBER IND, SUMITOMO RUBBER IND LTD, 2017
Bladder for tire vulcanization that heats the inner side of the tire without using steam to prevent temperature differences and vulcanization variation. The bladder has a rubber part that expands against the tire during vulcanization. It also has heating elements like electric heat threads knitted into the bladder. These elements generate heat when energized to heat the inner tire surface during vulcanization. The knitted elements can follow the tire's shape and expand/contract with it. They can be fixed in some places to the bladder but are mostly free. Having multiple knitted sections with different heat settings allows customized heating. This bladder heating eliminates steam issues of dorain, temperature differences, and vulcanization variation compared to steam vulcanization.
45. Vulcanization Bladder with Controlled Silicone Release Coating and Bulking Agent Layer
YOKOHAMA RUBBER CO LTD:THE, 2017
Bladder for tire vulcanization that prevents cracking of the tire interior during vulcanization by controlling the flow of the silicone release agent on the bladder surface. The bladder has a silicone release coating on the outside. A layer of bulking agent is applied below the release coating. The ratio of bulking agent coverage to release coating area is 20-80%. This prevents the release coating from entering tire gaps and cracks during vulcanization.
46. Vulcanizing Apparatus with Auxiliary Bladder for Pneumatic Tires Featuring Media Mixing Mechanism
YOKOHAMA RUBBER CO LTD:THE, 2017
Vulcanizing apparatus and method for pneumatic tires that reduces temperature differences between the upper and lower sides of the vulcanization bladder during tire vulcanization to improve tire quality. The apparatus uses an auxiliary bladder inside the main bladder that expands and contracts during vulcanization. Heating medium and a pressure medium with higher specific gravity than the heating medium are injected into the space between the bladders. The expanding and contracting auxiliary bladder mixes and stirs the media to more effectively heat the lower side of the main bladder. This reduces vertical temperature differences compared to steam injection alone.
47. Method for Manufacturing Thin Tire Bladders Using Bladder-Cured Mold Expansion
BRIDGESTONE AMERICAS TIRE OPERATIONS LLC, 2017
A method to efficiently manufacture thin tire bladders that cure the inner portion of tires. The method involves using a bladder-cured bladder as a mold to shape and cure a thinner, uncured tire bladder. The bladder-cured bladder is expanded inside a recess on the outer mold to apply pressure to the inner surface of the uncured bladder. Then heat and pressure are applied to both surfaces to cure the thin bladder. This allows forming thinner, lighter bladders without custom molds, as the bladder-cured bladder can adapt to different tire sizes. The thin bladders have better heat transfer and quality compared to conventional thick bladders.
48. Tire Vulcanization Bladder with Internal Partition Film for Controlled Media Mixing
YOKOHAMA RUBBER CO LTD:THE, 2017
Reducing temperature difference between upper and lower sides of a tire vulcanization bladder while avoiding damage to the bladder. A tire vulcanization bladder with partition film inside. Injecting heating medium below and pressure medium above the partition film gradually mixes through the communication portion, reducing vertical temperature gradient. The partition film prevents rapid migration of media. It's located at the bladder inner end on the tire side, not protruding excessively. This reduces bladder interference during contraction.
49. Method for Vulcanizing Pneumatic Tires Using Simultaneous Heating and Pressure Medium Injection to Minimize Bladder Temperature Variance
YOKOHAMA RUBBER CO LTD:THE, 2017
Vulcanizing pneumatic tires with improved quality by reducing temperature differences inside the vulcanization bladder during curing. The method involves injecting a heating medium into the bladder first, then immediately after completing the initial fill, injecting a pressure medium to expand the bladder. This allows earlier pressure buildup compared to sequential injection. The slower pressure medium injection rate reduces adiabatic compression of the heating medium. This reduces temperature differences between upper and lower bladder sides during curing, improving tire quality by reducing chipping, bubbles, and variation.
50. Tire Vulcanization Apparatus with Enhanced Heat Transfer Side Mold Segment
SUMITOMO RUBBER INDUSTRIES LTD, 2017
A tire vulcanization apparatus that prevents over-vulcanization of tire sidewalls during curing. The apparatus has an improved side mold segment that allows better heat transfer to the sidewall area. This prevents excessive vulcanization and improves durability and rolling resistance of the tire sidewalls. The apparatus has a vulcanizing mold system to heat the tire from the outside and a bladder system to heat the inside. The side mold segment is designed to improve heat transfer to the sidewall during curing.
Get Full Report
Access our comprehensive collection of 147 documents related to this technology
Identify Key Areas of Innovation in 2025

