Tire Balancing Machine: Precision Wheel Alignment
Modern tire balancing requires precision measurements down to 0.25 gram-inches, with even slight imbalances causing vibrations that propagate through vehicle systems at speeds above 70 mph. Traditional dynamic balancing machines measure force variations in two planes, but emerging challenges include irregular wear patterns, asymmetric tire designs, and the need for higher accuracy at increasing vehicle speeds.
The fundamental challenge lies in achieving precise weight distribution while accounting for both static and dynamic forces across the entire tire-wheel assembly during rotation.
This page brings together solutions from recent research—including 3D sensor-based vibration analysis systems, self-centering lift mechanisms, and dynamic balancing devices with raceway-filled rings. These and other approaches focus on improving measurement accuracy and reducing the time required for proper tire balancing in both maintenance and manufacturing settings.
1. Dynamic Balancing Machine with Secure Bias Tire Mounting Mechanism and Internal Fastening System
SHANDONG PROVINCE SANLI TIRE MANUFACTURE CO LTD, SHANDONG PROVINCE SANLI TIRE MFT CO LTD, 2024
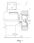
Bias tire dynamic balancing machine that provides stable tire installation for accurate balancing results. The machine has a unique tire mounting mechanism that securely holds the bias tire during dynamic balancing. The tire is mounted on a rotating assembly with a locking handle that threads onto the assembly. This allows the tire to be tightly resisted by the assembly as it rotates, preventing excessive tire wobble during balancing. The machine also has a tire fastening mechanism inside the tire that can tighten the tire onto the resisting block. This improves tire grip and stability during balancing.
2. Wheel Balancing System with Snap-On Load Member and Fixed Support for Tool-Free Installation
WHEEL BALANCE APS, 2023
A simplified and reusable wheel balancing system that allows easy installation and removal of wheel weights without specialized tools. The system has a fixed support member attached to the rim and a removable load member that can be added to balance the wheel. The load member engages with the support member to prevent sliding. Locking members secure the load member in longitudinal and radial directions. This allows precise balancing without needing screws or clamps on the rim. The load member can be snapped on and removed without damaging the rim surface.
3. Tire and Wheel Assembly Balancing Method Using 3D Sensor Vibration Analysis at Critical Speed
EURO FITTING MAN NV, EURO-FITTING MANAGEMENT NV, 2023
Tire and wheel assembly uniformity balancing method that increases driving comfort at the critical speed of a car when the risk level of vibrations is higher. The method includes receiving a pressurized tire/wheel assembly, mounting the tire/wheel assembly onto a rotatable fixture of a tire uniformity testing machine, bringing a testing drum in contact with the tire of the tire/wheel assembly such that a predetermined force and/or deformation is applied upon said tire, running the tire uniformity testing machine, bringing the perimeter of the testing drum to a critical speed while measuring vibration forces by means of at least 4 3D sensors, and computing mass and location of at least one balancing weight; and balancing the tire/wheel assembly by applying said at least one balancing weight.
4. Self-Centering Lift with Vertical Frame and Movable Seat Assembly for Tire Alignment on Balancing Shaft
YINGKOU DINGSHENG TECH CO LTD, YINGKOU DINGSHENG TECHNOLOGY CO LTD, 2023
A self-centering lift for balancing machines that automatically centers tires when lifting them onto the balancing shaft. The lift consists of a vertical frame, a movable seat assembly below it, and a driving component and centering mechanism. The seat assembly slides along a guide rail parallel to the balancing shaft axis. As the seat moves up, it lifts the tire onto the balancing shaft. The centering mechanism ensures the tire aligns with the shaft center.
5. Wheel-Mounted Balancing Device with Raceway-Filled Balancing Ring and Aerodynamic Cover
HOMAG AEROSPACE GMBH, 2023
A dynamic vehicle wheel balancing device that attaches to vehicle wheels without removing them. The device has a removable cover that attaches to the wheel flange and a balancing ring inside. The cover has openings for fasteners to attach it to the wheel flange. The ring has a raceway around it filled with a balancing medium. This allows wheel balancing without removing the wheel from the vehicle, reducing interfaces, mass, and time needed to balance wheels compared to traditional methods. The cover shape reduces aerodynamic drag when the wheel is spinning.
6. Compact Track-Mounted Tire Balancer with Enclosed Guide Rail and Movable Trolley System
SINO ITALIAN TAIDA YINGKOU GARAGE EQUIPMENT CO LTD, SINO-ITALIAN TAIDA GARAGE EQUIPMENT CO LTD, 2023
Track-type automobile tire balancing machine that can be mounted inside vehicles or in tight spaces. The balancer has a movable trolley that slides on a fixed guide rail with load wheels. The trolley holds the balancer and can move in and out of the vehicle. The guide rail has front and rear baffles that enclose the rail opening. This allows the balancer to be fully accessed from inside the vehicle without protruding out. The trolley has linear guides that attach to the rail ends. This enables smooth sliding motion inside the rail enclosure. The rail perforations allow the guides to pass through. The baffles and enclosed rail prevent the balancer from hanging out when inside the vehicle.
7. Wheel Hub Balance Detection Device with Microscopic Dynamics Analysis and Deviation Capture Mechanisms
Binzhou Mengtai Dicastal Wheel Co., Ltd., BINZHOU MENGWEI DICASTAL WHEEL CO LTD, 2023
Wheel hub balance detection device that provides precise wheel hub balance testing by capturing and analyzing microscopic wheel dynamics during rotation. The device uses a setup with a base, balance table, detection post, hub edge wheel positioning mechanism, and track anti-flow deviation mechanism. The hub edge positioning mechanism clamps the wheel and guides its rotation. The track mechanism captures any deviations as the wheel rotates. This allows visualizing and analyzing the wheel's microscopic balance issues during rotation.
8. Tire Centering Device with Synchronous Clamping Structure and Self-Locking Mechanism for Dynamic Balancing Machines
YINGKOU KUNCHI AUTOMOBILE MAINTENANCE EQUIPMENT CO LTD, 2022
A tire centering device for a dynamic balancing machine that allows easy installation of tires and automatic centering. The device has a fixed ring, main and auxiliary brackets, a synchronous clamping structure, and a linkage mechanism. A motor drives gears that thread into rods on the brackets. This allows the pressing wheels to move synchronously when the motor stops, providing self-locking centering. The four pressing wheels move together to center any tire size.
9. Vehicle Tire Balancing Machine with Braking Control and Proximal Sensor Configuration
MIDDLE TAIDA AUTOMOBILE WARRANTY EQUIPMENT LIMITED CO, MIDDLE TAIDA CAMP AUTOMOBILE WARRANTY EQUIPMENT LTD CO, 2022
A vehicle tire balancing machine that improves the balancing accuracy and user experience compared to conventional machines. The machine has a braking control mechanism to hold the rotor in position during balancing. This eliminates the need for lead sticking and reduces the balancing time. The machine also has a shortened detection time compared to traditional machines. This is achieved by placing the sensors closer to the rotor and using faster data processing.
10. Car Tire Balancing Machine with Integrated Brake Control and Rotor Assembly
MIDDLE TAIDA AUTOMOBILE WARRANTY EQUIPMENT LIMITED CO, MIDDLE TAIDA CAMP AUTOMOBILE WARRANTY EQUIPMENT LTD CO, 2022
A car tire balancing machine with improved braking and holding functions. The machine has a balancing body, main shaft, and rotor assembly. It adds a brake control component to the rotor assembly for braking and holding the tire during balancing. This allows faster and more convenient balancing compared to machines without braking. The rotor assembly also has features like a magnetic sheet, motor end cover, and photovoltaic panels for integration with the motor stator.
11. Wheel and Tire Assembly Balancing Method Using Radial Force Variation and Running Error Synthesis
HYUNDAI MOTOR CO, HYUNDAI MOTOR CO LTD, KIA MOTORS CORP, 2021
Balancing an assembly of a wheel and a tire to reduce vibrations and improve ride quality. The balancing method involves measuring the radial force variation (RFV) of the tire and marking the maximum value position. It also measures the inner and outer running errors of the wheel and synthesizes them. Then it marks the minimum value position of the synthesized waveform as the wheel balance reference. Finally, the tire and wheel balances are aligned to have the same phase. This reduces the assembly's vibration.
12. Balancing Machine with Integrated Laser Triangulation for Contactless Wheel Dimension Measurement
CEMB S.P.A, 2021
Balancing machine for vehicle wheels that eliminates the need for a physical gauge to measure wheel dimensions. The balancing machine has a built-in laser pointer that automatically measures wheel dimensions using triangulation instead of a physical gauge. This allows for accurate and contactless measurement of wheel geometry without requiring an operator to manually enter values. The laser pointer is mounted on the machine and has an optical system to calculate distances. This allows the machine to automatically acquire wheel dimensions during balancing instead of relying on operator input. This removes the need for a separate gauge and improves accuracy and ergonomics compared to traditional gauges.
13. In-Tire Wheel Balancer with Flexible Belt and Integrated Sensor Assembly
ITIRE, LLC, 2021
In-tire wheel balancer and tire sensor assembly that can be installed inside a tire to balance wheels without external balancing devices. The balancer consists of a flexible belt with sections, a counterweight on a cable inside the tire, and a coupler joining the belt ends. The coupler has a perforated section to equalize air pressure between the belt and tire. The sensor assembly attaches to the rim and extends into the tire. The balancer uses loose weighted media inside the belt sections to balance the wheel.
14. Wheel Balancer with Inertial Measurement Units and Elastic Element-Supported Shaft
ROBERT BOSCH S P A, ROBERT BOSCH SPA, 2021
A wheel balancer for balancing vehicle wheels that uses inertial measurement units (IMUs) instead of force sensors. The balancer has a suspended shaft supported by elastic elements. Two IMUs, one fixed and one rotating with the shaft, measure angular speeds and accelerations. By analyzing the IMU signals, the balancer determines wheel unbalance severity and angular position without force sensors. This allows balancing without the issues of calibration loss and sensitivity degradation of force sensors.
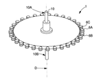
15. Automatic Wheel Balancing Device with Concentric Balance Ring and Freely Movable Counterweights
NANJING KULUODE VEHICLE IND CO LTD, NANJING KULUODE VEHICLE INDUSTRY CO LTD, 2021
An automatic wheel balancing device for automobiles that provides dynamic wheel balancing without the need for removable weights. The device consists of a fixed plate with a concentric balance ring inside it. The ring has an annular cavity with multiple freely movable counterweights. The fixed plate attaches to the wheel rim and the counterweights inside the ring automatically balance the wheel during rotation. This allows convenient installation without removing the tire, and eliminates the risk of weights falling off or damaging the tire.
16. Wheel Service Machine with Movable Diagnostic Roller and Wheel Locking Mechanism for Balancing
NEXION S.P.A., 2020
A wheel service machine with a roller for diagnostics and a locking mechanism for precise balancing. The machine has a roller that can be moved towards and away from the wheel axis to apply a force to the tire. It also has a locking mechanism for fixing the wheel to the holder. The roller is moved between an active position on the tire and a non-interference position. The locking mechanism allows precise balancing with the roller without affecting the machine's robustness during tire changing. The machine calculates tire force, roller flattening, and wheel geometry parameters during rolling. It also suggests tire configurations based on balance parameters for multiple wheels.
17. Integrated Wheel Service Apparatus with Dual-Function Rotational Shaft and Automatic Configuration Control
NEXION S.p.A., 2020
A versatile wheel service apparatus that can perform both wheel balancing and tire changing on a single machine. The machine has a shaft that can rotate slowly for balancing and faster for tire changing. A measuring system detects wheel imbalances during rotation. A locking device supports the shaft for balancing and disengages for tire changing. A connector attaches to the frame for balancing and disengages for tire changing. A control system switches the machine between configurations. The machine can automatically switch based on user commands. This allows efficient use of space and time compared to separate machines.
18. In-Tire Wheel Balancer with Hollow Belt and Mobile Balancing Media
ITIRE, LLC, 2020
An in-tire wheel balancer that can be installed inside a vehicle tire to balance the wheel without adding external balancing weights. The balancer has a hollow belt that extends around the inside of the tire and rim. The belt has sections with a loose balancing media like steel shot. A coupler joins the belt ends and has perforations to equalize tire pressure. The belt and coupler allow the media to move during rotation to balance the wheel. The tire pressure sensor and other components can be mounted inside the tire alongside the balancer. This avoids external weights, reduces vibration, and enables monitoring tire parameters.
19. Vehicle Wheel Balancing Method Using Single Weight with Axial Positioning Inside Rim
CARLO BUZZI, 2020
Balancing vehicle wheels using a single weight to reduce static imbalance and vibrations. The method involves finding the correct axial position inside the wheel rim for a single balancing weight to cancel static imbalance. By measuring the rim profile and using an indicator to determine the weight's position, it allows balancing with a single weight instead of two. This reduces the number of balancing steps and saves time. The single weight placement also provides a lower static imbalance compared to using two weights.
20. Automatic Wheel Balancing System with Integrated Conveyor and Servo-Controlled Weight Adjustment Mechanism
WUHU INSTITUTE OF TECH, WUHU INSTITUTE OF TECHNOLOGY, 2019
Fully automatic wheel balancing equipment that automatically adds or removes weight from wheels to balance them without human intervention. The equipment has a conveyor system to transport the wheel through a balancing chamber. Sensors detect imbalances and a servo motor adjusts weights inside the chamber to compensate. The conveyor then moves the balanced wheel back to the vehicle. This eliminates the need for manual weight installation and reduces time and errors compared to traditional balancing methods.
21. Wheel Balancing Machine with Pneumatic Circuit and Rotating Manifold for Axial Wheel Locking
Nakhichevan Joint Stock Company, 2019
Balancing machine for wheels that uses a pneumatic circuit to lock the wheel in place during balancing without vibration or invalidating measurements. The machine has a rotating manifold connected to a pneumatic actuator. An engagement element on the shaft moves parallel to the axis to lock the wheel. The pneumatic circuit connects a high pressure source to the manifold when rotating. This creates a sealed, rotating seal around the shaft. A check valve allows air to escape but prevents backflow. The pneumatic circuit can also connect to a low pressure source to unlock the wheel.
22. Tire Balancing Machine with Sliding Trolley and Downward Swinging Support Frame
Sesame Automotive Services (Hubei) Co., Ltd., 2019
Tire balancing machine with a sliding trolley and downward swinging support frame to enable accurate balancing of inner tire sections. The machine has a body mounted on a track plate that slides along a track. A trolley extends from the track plate and a downward swinging frame connects to the trolley. The tire balancing mechanism is mounted on the periphery of the main shaft. This allows access to the inner tire section for balancing. A laser generator on the balancing mechanism helps with positioning. A display screen and buttons provide user interface. The sliding trolley and swinging frame allow maneuverability to reach the inner tire area.
23. Driving Device for On-Car Wheel Balancer with Positive Phase-Locked Drive Connection
Liang Zhuxing, 2019
A driving device for an on-car wheel balancer that allows precise wheel balancing without interference from tire runout or inertial rotation. The device provides a positive drive connection between the balancer and the wheel that maintains a fixed phase relationship. This eliminates the need for contact between the driving wheel and the tire during balancing. The driving device allows the wheel to be rotated without contact, providing accurate balancing results by avoiding interference from tire runout or inertial rotation.
24. Balancing Machine with Dual-Speed Mechanisms for Static and Dynamic Imbalance Detection in Electric Vehicle Wheels
Harbin Lange Technology Development Co., Ltd., 2019
Balancing machine for detecting overall dynamic and static balance of electric vehicle wheels. The machine has a base, processor, controller, display, and two supporting mechanisms. It can detect both static and dynamic imbalance of electric vehicle wheels. In static balance, the machine spins the wheel at low speed and measures the unbalanced mass. In dynamic balance, it spins the wheel at high speed while monitoring the wheel's angular velocity. This allows detecting dynamic imbalance caused by motor vibrations.
25. Portable Wheel Balancing Device with Rotating Shaft and Secure Fixation Mechanism for Heavy Truck Wheels
Carlo Buzi, 2019
Compact and transportable wheel balancing device that can be used on rescue vehicles to balance tires on the spot. It allows balancing of heavy truck wheels that are difficult to move due to their weight. The device has a rotating shaft to mount the wheel, with a mechanism to securely fix the wheel in place during balancing. This allows accurate balancing of large wheels without the need for heavy and cumbersome static or dynamic balancing machines.
26. Wheel Balancing Device with Laser Projection and Stepping Motor for Dynamic Imbalance Detection
Harbin Lange Technology Development Co., Ltd., 2019
A device to accurately and efficiently locate the dynamic imbalance point of a wheel during balancing without manual rotation or complex motors. The device uses lasers and a stepping motor to project laser beams onto the wheel at known phases. As the wheel rotates, the user can see the intersection points of the lasers on the wheel surface to locate the dynamic imbalance point in real time. This simplifies and speeds up the balancing process compared to manual rotation or complex motors.
27. Balance Weight Attachment Device with Rotatable Arcuate Plates and Adjustable Stroke Mechanism
Nissan Motor Co., Ltd., 2018
A balance weight attachment device and method for attaching balance weights to wheels that allows wider range of wheel sizes without compromising weight centering. The device consists of two arcuate plate pieces with separated end faces and a rotation shaft. The plate pieces have convex surfaces that contact the balance weight on the wheel. By rotating the plates, the convex surfaces move together to collect the weight in the wheel center. This provides a versatile attachment system that can accommodate wheels with varying diameters by allowing adjustable stroke to center the weight.
28. Wheel Unbalance Detection System with Stepper Motor-Controlled Laser Scanning
Harbin Lange Technology Development Co., Ltd., 2018
Device for automatically finding the unbalanced point of a wheel on a dynamic balancing machine. It uses two stepper motors, lasers, and zero positions to precisely locate the unbalanced point. The stepper motors move the lasers to scan the wheel. A processor controls the motors based on feedback from sensors. By iteratively adjusting the laser positions and measuring the wheel's vibration, the unbalanced point can be found. The device improves efficiency and accuracy compared to manual methods.
29. Vehicle Wheel with Internal Raceways Containing Movable Balancing Media
John Arthur Fee, Terry Davis, 2018
Dynamic balancing of vehicle wheels to compensate for manufacturing imperfections in wheels and tires. The balancing is achieved using raceways inside the wheel containing movable balancing media. This allows the media to shift dynamically as the wheel rotates to counteract imbalances and provide balanced moment. The media can be bearings or fluid. The raceways can have varying shapes. The media movements equalize torque from the imbalances.
30. Internal Wheel Hub Balance Block Structure with Slot-Mounted Weights and Elastic Clamping Blocks
Dongguan Hanxing Machinery Co., Ltd., 2018
A balance block structure for automotive wheels that provides improved balance stability and durability compared to conventional balance weights. The structure involves mounting the weights inside the wheel hub rather than externally. The hub has slots for the weights and elastic clamping blocks to secure them. The weights have an outer protective layer against corrosion. This prevents the weights from falling off during driving and protects against environmental degradation. The elastic clamping blocks prevent collisions between the weights during wheel motion.
31. Ceramic Wheel Counterweight with Heavy Metal Salts and Compact High-Density Structure
FISCHER ERIKA, 2017
A compact ceramic wheel counterweight for balancing vehicle wheels that addresses the drawbacks of lead weights. The ceramic counterweight has a small volume but high weight for balancing wheels. It is made of ceramic materials with heavy metal salts that provide the needed weight. The ceramic counterweight is fixed to the wheel rim using adhesive or mechanical fasteners. Compared to lead weights, the ceramic counterweight is less hazardous if lost, has better environmental impact, and can be formed into different shapes to fit rim surfaces.
32. Automatic Wheel Balancing Device with Integrated Lifting, Rotating, Positioning, and Precision Weight Application Mechanisms
CHANGCHUN WEIKONG MACHINERY MANUFACTURING CO LTD, CHANGCHUN WEIKONG MACHINERY MFG CO LTD, 2017
Automatic wheel balancing device to improve accuracy and safety of wheel balancing compared to manual balancing. The device has mechanisms to lift, rotate, and position the wheel accurately for balancing. It also has a mechanism to break and fix balance weights at the exact unbalance points on both sides of the wheel rim. This ensures correct weight placement for balancing without human error. The device connects the mechanisms for coordinated operation.
33. In-Tire Wheel Balancer with Flexible Cable-Mounted Sensor and Hollow Belt Containing Balancing Media
ITIRE, LLC, 2017
In-tire wheel balancer and tire sensor assembly that can be mounted inside a pneumatic tire on a wheel rim. It uses a flexible cable to extend a sensor and counterweight around the tire-rim annulus. The balancer has a hollow belt with sections that contain balancing media like steel shot. A hollow coupler connects the belt ends and has perforated airways to equalize pressure. The coupler sections fasten with tie-wraps to join adjacent couplers. This allows balancing the wheel while also having a sensor inside the tire.
34. On-Vehicle Wheel Balancing Machine with Movable Support and Vibration Sensors
ZHAO QINGHU, Zhao Qinghu, QINGHU ZHAO, 2017
A commercial vehicle wheel balancing machine that allows wheel balancing without removing the wheels from the vehicle. It uses a movable support and sensors to balance wheels while the vehicle is still on the ground. The machine is mounted on the vehicle using a jack or hydraulic lift. It attaches to the steering knuckle and has a sensor to measure vibration and speed. The sensor data is collected and analyzed to determine wheel imbalance. The machine balances the wheels by synthesizing phase and direction using physics principles. This allows dynamic wheel balancing without disassembly.
35. Single-Weight Wheel Balancing Method Utilizing Static Imbalance Plane Selection
CARLO BUZZI, 2017
A method for balancing vehicle wheels using a single balancing weight to reduce vibrations and simplify balancing. The method involves finding the two planes on the wheel where balancing weights could be placed to cancel static and dynamic imbalance. Then, instead of using two weights, just one weight is placed on the plane that primarily cancels static imbalance. This reduces static imbalance more compared to using two weights, as it brings the center of gravity closer to the axis. The other plane's imbalance is still partially canceled by the dynamic effects of the single weight. This allows using standard balancing weights instead of customized ones, as the weight's mass is only approximate.
36. Dynamic Wheel Balancer with Tubes Containing Movable Masses in Resiliently Deformable Support
BENTLEY MOTORS LIMITED, 2017
A balancer for wheel and tire assemblies that dynamically balances the wheel without adding external weights. The balancer has tubes containing movable masses enclosed within a resiliently deformable support. The support is shaped to match the inner diameter of the tire. It is deformable so it can be inserted into the tire. Once inside, the support resiliently conforms to the tire shape to hold the tubes in place. This allows the masses to move and counteract imbalances as the wheel spins.
37. Wheel Balancing Machine with Cantilevered Support for Integration with Tire Changer Column
BONI FABIO, 2017
Compact, portable wheel balancing machine that can be integrated into tire changing devices for trucks. The balancing machine has a cantilevered support structure that attaches to the top of the tire changer column. This allows the balancing machine to extend out from the column when in use, providing a cantilevered position for the wheel balancing module. This avoids the need to remove the balancing machine between tire changes. The cantilevered support also allows the balancing module to be detached and carried separately when not in use.
38. Compact Tire Mounting, Dismounting, and Balancing Device with Foldable Arm and Movable Balancing Slide
GUERNET COMPRESSEURS, 2017
A compact device for mounting/dismounting and balancing tires on heavy trucks that can be attached to a light commercial vehicle. The device has a foldable arm with a mandrel to hold the wheel rim. It also has a slide that can move the balancing machine along the arm. This allows balancing the wheel without removing it from the mounting device. The balancing machine has a motorized shaft to spin the wheel. The slide enables moving the balancer along the arm perpendicular to the mandrel axis. This lets positioning the balancer for balancing while keeping the wheel mounted on the device. The slide can fold against the arm when not in use. The device folds compactly for transport.
39. Laser-Based Wheel Balancing Machine with Automated Tire Parameter Measurement and Precise Laser Ranging System
Kexing Automotive Equipment (Zhuhai) Co., Ltd., 2017
Laser-based wheel balancing machine for accurate and automated tire balancing with features like automatic measurement of tire parameters, ability to balance aluminum alloy wheels, and compatibility with modern tire designs. The machine uses a laser ranging device, stepping motor, and control module to precisely position a laser emitter on the tire to measure unbalanced weight locations. It eliminates manual input of tire dimensions and provides consistent and accurate measurements compared to potentiometers and encoders.
40. Automotive Wheel Balancing Ring with Movable Weights in Rotational Cavity
ZHANG QUANXING, 2016
An automotive wheel balancing device that replaces traditional wheel balancing weights and provides long-lasting wheel balance at high speeds without the risk of weights falling off. The device is a ring that fits around the outside of the wheel hub. Inside the ring is a cavity with multiple movable balancing weights. The ring and weights rotate with the wheel, with the weights moving to counteract centrifugal forces and maintain balance at high speeds. This eliminates the need for fixed weights on the rim that can fall off and provides a simpler, low-cost, and safer wheel balancing solution.
41. Automatic System for Cutting and Attaching Wheel Balance Weights with Integrated Loading and Positioning Apparatus
HYUNDAI MOTOR COMPANY, 2016
Automatic wheel balance weight attaching system to precisely and efficiently balance wheels by cutting and attaching balance weights. The system has a supply, cutting, loading, and attaching apparatus. The supply cuts balance weights to length. The loading positions the wheel. The attaching robot grips and adheres the weights to the inner wheel surface. This automated process improves efficiency, consistency, and adhesion compared to manual balancing.
42. Interconnected Clampable Balancing Weights on Conveyor Belt for Automated Weight Distribution in Vehicle Wheels
WEGMANN AUTOMOTIVE GMBH & CO KG, 2016
Automated balancing weight distribution system for vehicle wheels using interconnected clampable balancing weights on a conveyor belt. The system improves efficiency and accuracy of balancing wheels by allowing automated transport and distribution of precise weight balancing elements. The clampable balancing weights can be made of materials like zinc, steel, lead, or plastic and are interconnected by link elements. They are attached to a conveyor belt or strap that can be cut to size when distributing weights for customized wheel balancing. The clampable design allows easy attachment and removal from wheels using a clip. The interconnected weights provide flexibility in customizing weight distribution. The belt system enables automated transport and distribution of the clampable weights for efficient and consistent wheel balancing.
43. Vehicle Wheel Balance System with Independently Adjustable Rotatable Assemblies
BYD CO LTD, BYD COMPANY LTD, 2016
A vehicle balance and stabilization system that allows independent adjustment of the height of each wheel balance assembly to prevent imbalance caused by assembly errors. The system has two independently rotatable wheel balance assemblies that can be raised or lowered separately. This allows compensating for individual wheel balance errors without affecting the other wheel. The assemblies rotate around a common axis to enable vertical adjustment while maintaining stability.
44. Compact Wheel Balancing Stand with Pendulum Lever and Dual-Axis Hinged Hub
Kharkiv National University of Radio Electronics, 2016
Compact balancing stand for wheels of cars and motorcycles that reduces the size for easier storage and portability compared to traditional wheel balancing machines. The stand uses a pendulum lever with a hinged hub that can rotate around its axis and perpendicular axis. This allows the hub to swing like a pendulum when the wheel is mounted. The stand has a fixed base and a cylindrical hinge with an elastic element to attach the pendulum lever. This allows it to swing freely while the wheel is balanced.
45. Wheel Set with Dynamic Mass Distribution for Enhanced Inertia Axis Balancing
The Swatch Group Research and Development Ltd, 2016
Balancing mechanical components like wheel sets in precision instruments to improve pivoting performance and extend service life. The balancing is achieved by dynamically balancing the wheel set around its principle axis of inertia, rather than just statically balancing it around the pivot axis. This involves adjusting the distribution of mass in the wheel set to cancel out dynamic unbalances. The balancing is done by adding, moving, or removing mass in the wheel set components like the arbor, flange, or arms. The balancing is done after static balancing to optimize performance.
46. Vehicle Wheel Balancing Machine with Direct Weight Measurement and Integrated Force Sensor
SICAM S.R.L., 2015
Balancing machine for balancing vehicle wheels that simplifies balancing by directly measuring wheel weight and eliminating the need for databases or manual entry. The machine has a base frame, a rotatable shaft, and a force sensor on the shaft. When the wheel is balanced, the sensor measures the weight. When the wheel is unbalanced, the sensor measures both the weight and the oscillations. By comparing the measured weight to the known wheel weight, the machine determines the unbalance. This allows accurate balancing without relying on databases or manual entry.
47. Wheel and Tire Assembly Balancer with Movable Masses in Deformable Tube Supports
BENTLEY MOTORS LIMITED, 2014
Balancer for dynamically balancing wheel and tire assemblies without fixed weights that limits wheel rim space. The balancer has movable masses contained in tubes mounted inside the tire. The tubes are supported by deformable materials with outer dimensions matching the inner tire dimensions. The deformable supports can be compressed to insert the tubes inside the tire. Once inserted, the supports return to their original shape to position and support the tubes inside the tire. This allows the masses to move and balance the wheel/tire assembly without fixed weights on the rim.
48. Apparatus with Rotatable Spindle Shaft and Isolated Balancing Sensors for Concurrent Tire Changing and Wheel Balancing
Snap-On Equipment Srl a Unico Socio, 2014
Apparatus for servicing vehicle wheels that allows simultaneous tire changing and wheel balancing without interference between the two functions. The apparatus has a rotatable spindle shaft for mounting/dismounting tires. Balancing sensors are connected to the shaft to detect unbalance forces. Driving the shaft at low speed for tire changing and higher speed for balancing avoids sensor interference. Spring supports isolate the shaft from frame vibrations. The balancing range is outside the tire changing forces.
49. Clamping Device with Radially Movable Centering Elements and Axially Slidable Sleeve for Vehicle Wheel Fixation
HAWEKA AG, 2014
A clamping device with central centering for fixing a vehicle wheel on the shaft of a balancing machine. The device has a bearing flange to engage the rim, radially movable centering elements to engage the rim's central hole, and a slidable clamping sleeve. Moving the sleeve axially causes radial offset of all the centering elements. This levered action provides stable centering without stressing the tensioning levers. The sleeve attaches to the machine shaft and the centering elements have cocking levers to kinematically couple them to the sleeve.
50. Automotive Wheel with Circumferential Insertion Holes for Distributed Balancing Weights
HANKOOK TIRE CO LTD, 2014
A wheel for a car tire that enables easier and more effective wheel balance adjustment to reduce vibrations during vehicle operation. The wheel has insertion holes around its circumference in the bulk portions between the rim flanges. Balancing weights can be inserted into these holes to adjust the wheel's balance. This allows more precise and distributed balancing compared to just adding weights to the rim ends. It also enables easier rebalancing since the weights can be easily removed and reused.
Get Full Report
Access our comprehensive collection of 155 documents related to this technology
Identify Key Areas of Innovation in 2025

