Extruders for Tire Component Production
Modern tire manufacturing requires precise control of rubber extrusion, where dimensional accuracy must be maintained within 0.1mm while processing materials at temperatures between 100-150°C. Current extruder systems face challenges with material consistency, temperature control, and production bottlenecks, particularly when handling multiple compound layers that require different processing conditions.
The fundamental challenge lies in balancing throughput speed with precise dimensional control while maintaining uniform material properties across complex geometrical profiles.
This page brings together solutions from recent research—including vertical extruder stack systems for consistent layering, temperature-controlled multi-outlet dies, and automated feeding mechanisms with integrated mixing capabilities. These and other approaches focus on improving production efficiency while maintaining the strict quality requirements of tire component manufacturing.
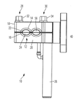
1. Vertical Extruder Stack System with Unified Main Head for Consistent Rubber Layering
MESNAC CO LTD, QINGDAO MESNAC MACHINERY & ELECTRIC ENGINEERING CO LTD, 2024
An extrusion system for efficiently producing rubber products by stacking multiple extruders vertically rather than horizontally. The extruders are mounted on a frame that moves as a unit. This allows all extruders to be aligned simultaneously for consistent rubber layering. The extruder stack has a main extruder head in front that collects the extruded rubber from multiple extruders below. This avoids the time-wasting and space-inefficient multiple extruder head movements in horizontal layouts. The main head has a tire outlet that connects to all extruders' outlets.
2. Extrusion Device with Perpendicular Sieve Element for Elastomeric Material Production
VMI HOLLAND B V, VMI HOLLAND BV, 2024
Extrusion device for producing continuous strips of elastomeric material, like rubber for tire applications, with increased output capacity without compromising performance. The device has a screw extruder, gear pump, and screen head to filter impurities. The screen head has a perpendicular sieve element instead of a flat screen. This allows higher axial forces on the screen without bending or damage as the screen size increases with device scaling.
3. Extruder with Automated Feeding and Mixing Mechanism for Continuous Rubber Tire Production
HEFEI TIANYU BOOEN TECH CO LTD, HEFEI TIANYU BOOEN TECHNOLOGY CO LTD, 2024
Extruder for rubber tire production that improves efficiency and quality by automating feeding and mixing of the raw materials. The extruder has a fixed feeding bin connected to the extruder body, and a movable collection bin connected to the base. A mechanism allows the collection bin to slide horizontally into the feeding bin when filled. This eliminates manual feeding and adjustment of the feeding bin. The collection bin also has a mixing mechanism with a rotating shaft. This mixes the materials before feeding them into the fixed bin. The extruder also has an automated driving mechanism to move horizontally without stopping the extrusion process. This improves efficiency by allowing loading and unloading without stopping extrusion.
4. Rubber Extruder with Hinged Feed Box Cover for Enhanced Mobility and Stability
JIAONAN HUALU RUBBER PRODUCTS CO LTD, 2023
Rubber extruder for tire production that allows easy movement and stable operation. The extruder has a base, extruding barrels fixed to the base, and a motor with screw to push material into the barrels. The barrels have feed boxes and discharge pipes. The key innovation is a hinged cover on the feed box that can swing open for filling material. This allows the extruder to be moved by simply lifting the open cover and swinging the barrel assembly. The closed cover provides stability during extrusion.
5. Extrusion Die with Multi-Outlet Glue Distribution and Variable Pitch Screw Channels for Tire Sidewall Manufacturing
DOUBLE COIN GROUP ANHUI HUILI TYRE CO LTD, DOUBLE COIN GROUP HUILI TYRE CO LTD, 2023
Sidewall production extrusion die and extruder for tire sidewall manufacturing that addresses the issue of high extrusion temperature degrading tire performance. The die has three glue outlets, with the upper and lower outlets connected to the same middle outlet. This allows outputting the same glue from the upper and lower while a different glue comes from the middle. The extruder has separate channels for each outlet. The screw channels have a decreasing pitch closer to the die end. This allows lower temperature glue from the middle outlet to mix with hotter glue from the upper and lower outlets, reducing overall extrusion temperature.
6. Screw Extruder with Integrated Internal and External Heating for Uniform Tire Rubber Processing
Shandong Yinbao Tire Group Co., Ltd., SHANDONG YINBAO TYRE GROUP CO LTD, 2022
A tire rubber extruder design with integrated internal and external heating to ensure uniform melting and extrusion of tire rubber. The extruder uses screw extrusion with a central shaft and external heaters around the extrusion box. The central shaft has internal heating while the external heaters surround the box. This integrated heating with screw motion provides consistent rubber melting and extrusion.
7. Rubber Extruder with Adjustable Interface and Variable Feed Path Geometry
SUMITOMO RUBBER IND, SUMITOMO RUBBER IND LTD, 2022
Rubber extruder for molding tire parts that reduces bank growth and improves rubber supply stability. The extruder has a hopper, screw, cylinder, and interface between the hopper and cylinder opening. The interface has a connecting port overlapping the opening front and a main body closing the rear. The main body covers 40-60% of the opening. This configuration allows the bank to shrink as fresh rubber replaces it since the main body narrows the feed path. It also prevents blockages as the bank grows. The interface position can adjust. The connecting port shape is rectangular, trapezoidal, or pentagonal.
8. Extrusion Device with Integrated Stirring Chamber and Sealed Hopper for Solid Tire Production
QINGDAO SHUOFENG RUBBER & PLASTIC PRODUCTS CO LTD, 2022
Extrusion device for producing solid tires that improves mixing and prevents damage to the feeding hopper. The device has a feeding hopper with a stirring chamber below it. The stirring mechanism, consisting of a motor with a shaft passing through the hopper, agitates the tire rubber inside the hopper. This ensures even mixing of the raw material before it enters the extruder. The hopper is also sealed and connected to the extruder body to prevent odor volatilization. This prevents raw material from entering the extruder before stirring.
9. Horizontal Tire Tread Extrusion System with Parallel Barrel Configuration for Multi-Component Co-Extrusion
COMPAGNIE GENERALE DES ETABLISSEMENTS MICHELIN, MICHELIN & CIE, 2021
A tire tread extrusion system that eliminates the need for foundation pits by orienting the extrusion barrels horizontally instead of vertically. The system uses multiple extruders to co-extrude tire treads made of multiple components. The horizontal barrels are positioned parallel to the ground instead of vertically, allowing the extruded treads to be removed without pits underneath. The system can still rotate and twist the treads as needed after extrusion.
10. Self-Feeding Tire Extruder with Integrated Compression Mechanism for Uninflated Tires
HU ZHIYONG, 2021
Self-feeding tire extruder for processing uninflated tires that saves storage space and facilitates tire collection compared to conventional tire extrusion machines. The extruder has a bottom plate with a motor, a desktop connected to the bottom plate, an extrusion mechanism on the bottom plate connected to the motor, and a feeding mechanism on the desktop. The extruder allows uninflated tires to be fed into the machine without requiring an external source of compressed air to inflate them first. The extrusion mechanism compresses the tire as it is fed through, allowing it to be processed without inflation.
11. Extruder for Tire Production with Symmetrical Non-Return Device and Cone-Shaped Stopper Configuration
YANCHENG JINGZE NEW MATERIAL TECH CO LTD, YANCHENG JINGZE NEW MATERIAL TECHNOLOGY CO LTD, 2021
A new type of extruder for tire production that improves feeding efficiency and extrusion effectiveness compared to existing tire extrusion equipment. The extruder has a box body with a fixed plate, extrusion nozzle, and discharge port. A non-return device on the lower end of the discharge port prevents backflow. The non-return device has a ring, pipe, and sliding connector. The ring, pipe, and connector are arranged symmetrically with fixed rods. The connector slides inside a support ring. One end connects to a limit block and the other penetrates the ring to connect to a cone-shaped stopper. The stopper has a sealing gasket. The cone shape and gasket prevent sol backflow. The sliding connector, fixed rods, and cone stopper configuration facilitates sol flow and extrusion.
12. Rubber Extrusion Equipment with Integrated Roller-Based Flattening and Adjustable Conveyor System
ZHEJIANG XIANGQI TECH CO LTD, ZHEJIANG XIANGQI TECHNOLOGY CO LTD, 2020
Rubber extrusion equipment with integrated material flattening and conveying to improve efficiency and reduce costs. The equipment has a frame with a flattening frame containing rollers to flatten the extruded rubber. A conveyor belt group raises and lowers to move the flattened rubber. This allows automated, mechanized handling of the extruded rubber without manual intervention.
13. Rubber Tire Material Extruder with Rotating Distribution Roller and Adjustable Feed Rate Control
JIANGXI VIMIA TYRE CO LTD, 2020
A new type of rubber tire material extruder with improved feeding and feeding rate control to prevent material accumulation and excessive supply during extrusion. The extruder has a feeding hopper with a rotating distribution roller and restrictor roller. The hopper has a drive assembly and motor that rotates the distribution roller to discharge material through feed openings. A stopper blade covers the openings periodically to control the feed rate. This prevents material buildup in the hopper and feed port. The feeding rate can be adjusted by the motor speed.
14. Extrusion Apparatus with Threaded Rod and Integrated Heating for Rubber Processing
SHANDONG SHENGSHITAILAI RUBBER SCIENCE & TECH CO LTD, SHANDONG SHENGSHITAILAI RUBBER SCIENCE & TECHNOLOGY CO LTD, 2020
An extrusion equipment for tire production that prevents cooling and hardening of the rubber during extrusion. The equipment has a sliding groove in a cylindrical block that the rubber passes through. A sliding rod with a threaded groove moves in the groove. A threaded rod with a threaded groove attaches to the sliding rod. A bevel gear on one end of the threaded rod meshes with a bevel gear on the motor. This setup allows the rubber to be pushed through the sliding groove by the threaded rod rotating. An electric heating wire inside the cylindrical block heats the rubber as it moves.
15. Extrusion System with Movable Extruder Assembly and Multi-Outlet Die for Tire Production
MESNAC CO LTD, 2019
Extrusion system for tire production that improves efficiency and reduces footprint compared to conventional systems. The system has a movable extruder assembly with multiple extruders and a front die. The extruders can be selected and moved to process different rubber compounds without switching between embryos. This eliminates the need for frequent extruder repositioning in conventional systems. The die has outlets connected to multiple extruders for direct processing of embryos.
16. Twin Screw Extruder System with Variable Viscosity Handling and Modular Extrusion Heads for Elastomeric Compound Processing
PIRELLI TYRE SPA, 2019
Process and plant for producing elastomeric compounds like tire rubber that avoids premature vulcanization and curing during extrusion. The process involves feeding compounds with specific viscosities into a twin screw extruder and using different extrusion heads based on compound viscosity to prevent overheating and pressure. This allows handling compounds with wide viscosity ranges in the same extruder without vulcanization issues. The extruder has feed and relief openings, and the compound viscosity is calculated to set the feed rate and extrusion speed. This prevents overheating by limiting compound flow rate. The extrusion device has multiple supports for mounting different extrusion heads with rollers instead of a fixed die to reduce pressure.
17. Rubber Extrusion Device with Adjustable Die Head for Flow Path and Pressure Distribution Control
THE YOKOHAMA RUBBER CO LTD, 2019
Rubber extrusion device and manufacturing method to prevent unexpected bending of rubber extrudates. The device allows relative movement of the die head along the front end of the extrusion head to adjust the flow path and pressure distribution. This allows compensating for variations in rubber properties and extrusion conditions to prevent unexpected bending. The method involves mounting the die on the extrusion head and moving it relative to the head along the front end surface. This enables adjusting the die position to counteract any unwanted bending in the extruded rubber.
18. Extrusion Screw with Removable Working Ring for Material Property Adaptation
Compagnie Generale Des Etablissements Michelin, 2019
Device for extruding plastics, particularly elastomers used in tire manufacturing, with a screw that can adapt to different material properties without complex finger adjustments. The extrusion screw has a removable working ring near the end that modifies the gap between the screw and barrel. The ring can be swapped out based on the material being extruded to impose the right stress and homogenization in the gap. The ring can be mounted on the screw end or inside the barrel. It can also have crenulations for better mixture flow. This allows tailoring the extruder performance to match the material without expensive finger adjustments.
19. Rubber Tire Extruder with Cold Water Sleeves, Vacuum Pump, and Automated Screen Changer
Qingdao Nuo Rubber Machinery Co., Ltd., 2019
Extruder for rubber tire production with improved cooling and filtering capabilities. The extruder has features like cold water sleeves, a circulating water pump, a vacuum pump, and an automated screen changer to enhance cooling, filtering, and cleaning efficiency. The cold water sleeves allow circulating water to be pumped through the extrusion barrel for cooling. A vacuum pump extracts air from the extrusion barrel to aid material flow. The automated screen changer allows filter screens to be changed without stopping production.
20. Volumetric Extrusion Assembly with Offset Inlet and Synchronized Interpenetrating Screw Mechanism
COMPAGNIE GENERALE DES ETABLISSEMENTS MICHELIN, MICHELIN & CIE, MICHELIN RECH TECH, 2018
A volumetric extrusion assembly for manufacturing elastomer profiles like tire parts. The assembly uses a feed extruder with a worm screw and a twin-screw pump to transfer the elastomer. The feed screw has an offset inlet to prevent backflow into the pump. The screws have interpenetrating threads with a clearance. The feed screw rotation controls the pump screws' rotation to match. This synchronized rotation prevents material buildup. The offset inlet and thread clearance prevent backflow into the pump. A control unit synchronizes the screw speeds.
21. Extruded Rubber Extruder with Rotating Cylindrical Body and Variable Discharge Die Assembly
Kumho Tire Co., Inc., 2018
An extruded rubber extruder for manufacturing tires that allows better control and consistency of bead size when extruding the apex rubber. The extruder has a rotating cylindrical body, a conveying screw, and a die assembly. The cylindrical body rotates using an external drive to extrude the apex rubber through a variable discharge hole position. This allows customizing the bead circumference as the rubber exits the die. The rotating cylinder prevents the "jar" effect where the rolled apex rubber shrinks inward during winding onto the bead core.
22. Extruder Cleaning Mechanism with Translational Frame and Auto-Locking Seal System
COMPAGNIE GENERALE DES ETABLISSEMENTS MICHELIN, 2017
Cleaning extruders used in tire manufacturing by moving the extruder frame away from the die to disengage and clean both components. The extruder frame with the screw and sleeve can be translated parallel to the axis between a sealed position and an open position. This allows emptying the extruder by rotating the screw in both positions, but separates the extruder and die for cleaning in the open position. An auto-locking mechanism secures the seal during production.
23. Tire Extruder Conveying Device with Angled Contact Rotating Roller and Adjustable Sliding Bracket
CHONGQING WEIXING RUBBER CO LTD, 2016
A tire extruder conveying device for efficiently transporting extruded tires without slipping or damaging them. The device has a sliding bracket connected to a frame, a rotating conveyor roller connected to the bracket, and protrusions on the roller that taper away from it. This allows the roller to contact the tire at an angle instead of straight on to prevent slipping. The bracket can slide along the frame with a cylinder to adjust the roller-tire distance. The tapered protrusions can puncture tire bubbles to prevent them from getting trapped.
24. Mold Die with Separate Pre-Formers and Direct White Sidewall Rubber Passage for Tire Extrusion
HANKOOK TIRE CO LTD, 2016
A mold die for extruding sidewalls of tires with improved white sidewall quality and reduced weight. The die has separate pre-formers and final dies for extruding the sidewall rubber. The white sidewall rubber passage is connected directly from the pre-former to the final die, bypassing the main die cavity. This allows the white rubber to be extruded separately and contactlessly from the main rubber. This prevents separation issues and weight reduction compared to extruding the white rubber in the main cavity. The white rubber is combined with the main rubber at the final die. The die also has separate passages for the sidewall rubber and rim cushion rubber.
25. Die Head Configuration for Simultaneous Extrusion and Lamination in Tire Extrusion Systems
WOOSUNG MACHINERY CO LTD, 2016
A tire extruder with a die head configuration that allows simultaneous extrusion and lamination of the main and functional plate bodies of a tire. The die head has multiple main plate cylinders on the rear surface and a functional plate cylinder on the side. The functional plate cylinder intersects the main cylinder axis in the head, forming an arc-shaped crossflow passage. This allows separate extrusion of the main and functional plate bodies through the main cylinders and then simultaneous lamination through the intersecting functional cylinder.
26. Rubber Sheet Extrusion Process with Roller-Guided Feeding Mechanism
Hankook Tire & Technology Co., Ltd., 2015
A tire semi-finished product extrusion process that improves workability and quality of the extruded tire component. It involves guiding the rubber sheet through the extruder feeding hopper using rollers to prevent wrinkles and instability during feeding. This prevents issues like scorch, poor flow, rough surfaces, and off-profile extrusions that can occur with high filler content compounds. The rollers ensure a smooth, wrinkle-free sheet feed into the extruder for consistent, high-quality extruded tire sections.
27. Tire Extrusion Device with Main and Sub-Extruders for Controlled Rubber Compound Transition
KUMHO TIRE CO INC, 2013
A tire extrusion device to reduce the cost of tire production by minimizing rubber mixing during extrusion. The device has a main extruder and a separate sub-extruder connected to one side. A pressure sensor inside the main extruder detects when the first rubber compound is extruded. The sub-extruder adds the second rubber compound to match pressure. This prevents mixing of the initial and replacement rubbers in the main extruder, reducing waste and cost.
28. Triple Roll Roller Die with Adjustable Roll Spacing for Concurrent Sheet and Profile Extrusion
2012
Triple roll roller die for tire extrusion that allows simultaneous production of both sheet-shaped and profile tire components using a single die setup. The die has a fixed intermediate roll and two variable rolls that can be adjusted to change the spacing between the rolls. This allows the die to switch between forming a sheet-shaped extrudate on one side and a profile extrudate on the other side by adjusting the rolls.
29. Rubber Compound Feeding Device with Cutting Roll and Guide System for Extruders
2012
Device for feeding rubber compounds to extruders in tire manufacturing that prevents issues with inconsistent profile sizes and extrusion rates. The device guides the compounded rubber sheets smoothly into the extruder hopper without tension or breaking. It uses a cutting roll and dies to shape the sheets, then conveyor belts and guides to move the excess scraps into the hopper. This prevents air intake and porosity, stabilizes profile dimensions, and reduces filler friction during extrusion.
30. Extruder with Mill Plate in Hopper for Segregating Rubber Types During Standard Transitions
HANKOOK TIRE CO LTD, 2011
Extruder for preventing mixing of different types of rubber when changing extrusion standards during tire manufacturing. The extruder has a mill plate in the hopper that pushes the rubber of the previous standard towards the discharge end as it moves along the screw. This allows accurately distinguishing and segregating the extruded rubber of the old and new standards to prevent mixing and improve product quality.
31. Rubber Extrusion Molding Apparatus with Tapered Head and Volume Adjustment Mechanism
BRIDGESTONE CORP, 2010
Rubber extrusion molding apparatus for making tires with reduced gauge fluctuation without lowering productivity. The apparatus has a tapered extrusion head with a volume changing mechanism closer to the extrusion port. The screw flight provides oblique rotation to move the raw rubber toward the head. The volume changer alters cylinder volume based on screw position to counter gauge fluctuations. It can be integrated into the head, cams, chokers, or raised ridges. This gradual volume change compensates for screw flight pressure variations. It suppresses gauge fluctuation without reducing throughput compared to speed reductions or flight cuts.
32. Extrusion Device with Interchangeable Nozzle Dies and Horizontal Reinforcing Material Feeder
VMI-AZ Extrusion GmbH, 2010
Extrusion device with interchangeable nozzle dies for making reinforced rubber products like belts without breaking threads. The device has an extruder screw, two nozzle dies that can be separated, a reinforcing material feeder, and a drive to separate the nozzle dies. The reinforcing material feeder discharges horizontally through the nozzle. This allows quick die swapping for different products without thread breakage. The feeder exits through the nozzle slot surrounded by the dies. The feeder can also be released by separating the dies. This prevents thread breakage because the reinforcing material is embedded in the rubber. The horizontal feeder exit also prevents breaking since the material isn't pulled vertically. A free space surrounds the feeder material, compensating for pressure drop.
33. Extrusion Process for Forming Tire Beads with Interpenetrating Dual Rubber Streams
BRIDGESTONE CORP, 2010
Extruding an unvulcanized rubber compound with a specific cross-sectional shape for tire beads without adding separate sheets. The extrusion process involves extruding two types of unvulcanized rubber, one penetrating the other, and then connecting and sandwiching them to form the bead shape. This is done by having a third flow path that intersects the second flow path, causing some of the first rubber to flow out and connect with the first rubber near the cap. This allows the second rubber to penetrate between the connected first rubber layers to create the desired bead shape without adding separate sheets.
34. Tire Component Fabrication Using Narrow Width Extrusion with End-to-End Joining
BRIDGESTONE CORP, 2002
Reducing equipment size and manufacturing time for tire components like inner liners and carcass plies by using a small width extruder instead of large wide width ones. The narrow extruded members are cut to length and joined end-to-end to form the wider components like inner liners and carcass plies. This allows manufacturing the narrow members using a smaller extruder, reducing equipment size and cost compared to wide width extrusion. The narrow members are then joined and cut to make the wider components. This avoids the need for dedicated cutting, winding, and joining equipment.
Get Full Report
Access our comprehensive collection of 34 documents related to this technology
Identify Key Areas of Innovation in 2025

