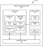
BMS Development for EV Battery Condition Monitoring
Modern battery management systems (BMS) must process multiple interrelated parameters across thousands of cells. A typical EV battery pack generates over 1,000 temperature readings per second, while simultaneously monitoring cell voltages, currents, and pressure variations that can signal the onset of thermal events. Managing this data stream while maintaining both diagnostic accuracy and response speed presents significant engineering challenges.
The fundamental challenge lies in balancing the granularity of cell-level monitoring against the computational and hardware costs of implementing comprehensive sensing networks across large battery packs.
This page brings together solutions from recent research—including multi-sensor fusion architectures, predictive thermal event detection systems, intelligent fault isolation methods, and integrated thermal management approaches. These and other approaches focus on early detection of cell anomalies while maintaining reliable pack operation under diverse operating conditions.
1. Battery Monitoring System with Sensor Data Acquisition and Decision Tree Analysis for Degradation Prediction
DONGFANG XUNENG SHANDONG TECH DEVELOPMENT CO LTD, DONGFANG XUNENG TECHNOLOGY DEVELOPMENT CO LTD, 2024
Battery monitoring and management system for predicting battery degradation and making maintenance recommendations. The system uses big data analysis to evaluate battery health and predict degradation. It acquires battery voltage, current, temperature, capacity, discharge rate, etc. through sensors. The data is stored and analyzed to calculate health indices and degradation rates. A decision tree algorithm uses these to generate maintenance reminders, warnings, and charging strategies. A user interface displays battery status and alerts.
2. Battery Health Degradation Prediction System Using Inter-Battery Electrical Parameter Spread Analysis
CPS TECH HOLDINGS LLC, CPS TECHNOLOGY HOLDINGS LLC, 2024
Predicting battery health degradation in a vehicle battery pack using multiple batteries to improve reliability and avoid unexpected failures. The method involves measuring electrical parameters from both batteries during cranking, calculating spreads between them, and forecasting battery health based on spread rate changes when ignition is off. This allows detecting degradation in a single battery before failure by monitoring its spread with a healthy battery. The forecast helps plan maintenance.
3. Battery Cell Health Monitoring System with Artificially Aged Reference Cell and Comparative Sensing Mechanism
HONEYWELL INT INC, HONEYWELL INTERNATIONAL INC, 2024
Monitoring the health of battery cells in an electric vehicle pack using a reference cell that has been artificially aged to accelerate degradation. The reference cell is charged and discharged more times than the operating cells to simulate aging. A sensing device measures physical characteristics like voltage, temperature, and acoustic emissions from the reference cell. These readings are used to determine the health status of the operating cells by comparing to the aged reference cell. This allows detecting latent battery issues before they escalate like thermal runaway. The technique involves applying a reference current to the aged cell that matches the load current of the operating cells.
4. Power Battery Internal Parameter Monitoring with Wireless Data Transmission and Analytical Processing
SHENZHEN TAIWA ZHICHONG TECH CO LTD, SHENZHEN TAIWA ZHICHONG TECHNOLOGY CO LTD, 2024
Remote monitoring and analysis of internal parameters of a power battery to improve battery management and maintenance. The method involves real-time sampling of voltage, current, and temperature inside the battery using a sensor group. The data is transmitted wirelessly to a battery management system for analysis using techniques like clustering, neural networks, and energy consumption calculations. This allows understanding battery states, optimizing usage strategies, and extending life by monitoring internal parameters in real time and remotely.
5. Battery System Monitoring Method with Sensor-Based Sleep Mode Activation and Predictive Wake-Up Mechanism
Mercedes-Benz Group AG, MERCEDES-BENZ GROUP AG, 2024
Method for monitoring a battery system like electric vehicle packs to improve safety and efficiency. It involves using sensors in the batteries to monitor parameters like voltage and temperature when the battery management system is sleeping. If a violation occurs, it wakes up the system. But if no violation is seen after a set time, it wakes up anyway based on predicted values. This allows proactive monitoring and intervention before failures. The predicted values are calculated using slope analysis of the sensor data. This lets the system wake up earlier than just waiting for violations. It also allows individual adaptation of wake-up times and thresholds for each sensor based on cell variations.
6. Battery Monitoring System with Central Controller and Dual Host Architecture for Real-Time Parameter Analysis
XIAN FUSAITE TECH CO LTD, XIAN FUSAITE TECHNOLOGY CO LTD, 2024
Smart battery monitoring system to improve battery reliability, performance, and lifespan. The system uses a central controller connected to a battery pack monitoring host and a battery management system host. The battery pack host has modules to measure voltage, temperature, internal resistance, and SOC/SOH of individual batteries. The battery management host monitors pack voltage, current, and temperature. The controller, monitoring center, and cloud server provide real-time monitoring, protection, and early warning against issues like thermal runaway, open circuits, overvoltage, etc. The system enables comprehensive battery performance analysis, balancing, and optimization to extend battery life.
7. Battery Module System with Integrated Diode Bypass for Fault Isolation During Thermal Runaway Events
GM Global Technology Operations LLC, 2023
Battery electric vehicle system with improved thermal runaway propagation (TRP) control. The system uses diodes integrated into each battery module to automatically bypass faulty modules during TRP events. This allows the healthy modules to provide power to critical loads like cooling systems and propulsion functions when a module fails open. This prevents total pack failure and enables limited functionality during TRP events. The diodes bypass the faulty module cells while maintaining power to the bus and critical loads.
8. Battery-Integrated Monitoring System with Continuous Parameter Tracking and Wireless Communication
GLOBAL BATTERY SOLUTIONS LLC, 2023
Battery monitoring system that continuously tracks battery parameters like voltage, current, temperature, and resistance over the life of the battery. It uses a battery-integrated monitor with sensors, a controller, memory, and wireless communication. The monitor can be powered by the battery itself using energy harvesting. This allows capturing detailed usage data for analyzing battery degradation, performance, and recycling. It also facilitates sorting and recycling by discharging batteries before shredding to prevent explosions. The monitor can also disable cells in series or open parallel cells to protect the battery pack.
9. Battery Management System with Predictive Failure Mitigation Using Sensor Data and Neural Network Analysis
Purdue Research Foundation, 2023
Smart battery management system (SBMS) that predicts and prevents battery failures in advance using sensors and machine learning. The SBMS monitors metrics like pressure, temperature, voltage, current, and capacitance from cells. It predicts failures using a trained neural network. If a cell failure is predicted, the SBMS disconnects the cell to prevent damage. This allows load balancing and disconnecting cells before thermal runaway or other failures occur. The SBMS can also provide visual representations of SoH, temperatures, pressures, etc. throughout a pack.
10. Battery Pack with Integrated Fire Suppressant Spray System and Thermal Runaway Detection Mechanism
Contemporary Amperex Technology Co., Limited, 2023
A battery pack design and control method to prevent thermal runaway propagation in electric vehicle battery packs. The battery pack has a case with a cavity containing the battery cells. A spray system is installed inside the case that can be activated in case of a thermal runaway event in one cell. The spray system sprays a fire suppressant into the cavity to extinguish the runaway cell and prevent further propagation. The suppressant is a material with a low melting point that turns into a liquid at the high temperatures encountered during runaway. This helps absorb and dissipate the heat from the runaway cell to contain it. The control method involves monitoring cell temperatures and activating the suppressant spray system if a cell reaches a certain threshold indicating runaway.
11. Multi-Cell Rechargeable Battery System with Proactive Cell Monitoring and Periodic Wake-Up Mechanism
VISTEON GLOBAL TECH INC, VISTEON GLOBAL TECHNOLOGIES INC, 2023
Active cell monitoring system for a multi-cell rechargeable battery that proactively monitors battery cells to prevent thermal propagation events, enable prognostic features, and perform high coverage diagnostics. The system uses sensors to periodically measure cell parameters like voltage, temperature, pressure, etc. A microcontroller analyzes the sensor data to detect faults and communicate them to the battery management system. This allows proactive monitoring and diagnosis of cells even when the vehicle is off. The periodic wake-up mechanism conserves power when the vehicle is sleeping.
12. Lithium-Ion Battery Management System with Deep Learning-Based Health Monitoring and Adaptive Training Capabilities
CHANGAN UNIV, CHANGAN UNIVERSITY, 2023
Lithium-ion battery management system using deep learning for accurate battery health monitoring. The system has modules for environmental sensing, status monitoring, human-computer interaction, display warning, and deep learning. It collects battery parameters like voltage, temperature, and impedance. The deep learning model uses historical data to accurately reflect battery electrical characteristics under different conditions. It provides reference for charge and health estimation. The model is trained based on individual battery differences. The system can update the training data as needed for more accurate results.
13. Flexible Electronics-Based Battery Cell Monitoring System with Integrated Sensors and Anomaly Detection
Arm Limited, 2023
Intelligent battery monitoring at the individual cell level using flexible electronics to improve safety and performance of batteries in applications like electric vehicles. The monitoring system has a flexible substrate with integrated sensors, processing, and communication components. It uses machine learning to learn characteristic signals for normal cell states and detect anomalies for issues like thermal runaway. The flexible form factor allows conforming to cell shapes. The on-cell monitoring provides early warning of cell issues before they escalate.
14. Integrated Battery Monitoring System with Internal Sensors and Dual-Circuit Data Reporting
FUDAN UNIV, FUDAN UNIVERSITY, HUAWEI TECH CO LTD, 2023
Battery monitoring system that can accurately and effectively predict thermal runaway of lithium-ion batteries in real time, integrated into the battery itself. The system uses sensors inside the battery to monitor parameters like temperature, voltage, and current. A processor analyzes the sensor data to determine the battery's state. The processed information is then reported to external devices through two separate circuits, one connected to the positive terminal and the other connected to the negative terminal. This allows monitoring the battery's health without affecting capacity or cycle performance.
15. Smart Battery System with AI-Integrated IoT and Blockchain for Real-Time Monitoring and Management
KNOETIK SOLUTIONS, INC., 2023
Smart battery system for electric vehicles that uses AI, IoT, and blockchain to monitor, control, and manage rechargeable batteries in real-time. The system connects the battery monitoring module and control module to a smart battery management platform and blockchain network. It extracts battery data, analyzes it, predicts health, renders simulations, and sends control signals. It manages batteries via charging stations and provides features like battery life prediction, thermal management, fault detection, and location services.
16. Battery Management System with Integrated Multi-Dimensional Internal and External Sensor Modules
XINYUAN ZHICHU ENERGY DEV BEIJING CO LTD, XINYUAN ZHICHU ENERGY DEVELOPMENT CO LTD, 2023
Multi-dimensional perception battery management system for energy storage systems that improves battery safety and health monitoring by using sensors inside and outside the battery. The system has modules for safety detection, infrared sensing, battery management, and cluster management. It collects data like gas, pressure, temperature, voltage, current, and capacity from inside the battery, as well as external temperature and gas. This comprehensive sensing allows accurate calculation of battery state like SOC/SOH and safety status. It provides better battery life, charge/discharge efficiency, and safety compared to conventional narrow sensor battery management systems.
17. Battery Health Monitoring System with Preprocessed Normalized Data Input for Neural Network SoH Estimation
DUKOSI LTD, 2023
Battery health monitoring system that accurately determines state of health (SoH) of a battery system without needing full charge/discharge cycles. The system uses a preprocessor to normalize rate of change data from sensors during charging/discharging. This normalized data is then fed into a neural network to determine SoH. The normalization reduces network complexity and training data requirements. It works by focusing the network on detecting horizontal shifts in normalized data patterns rather than amplitude variations. This allows consistent SoH estimation across cell types.
18. Electrochemical Energy Storage Unit with Dual-Rate Pressure Monitoring Sensor for Thermal Runaway Detection
Infineon Technologies AG, 2023
Electrochemical energy storage unit, sensor device and related method for predicting and warning of thermal runaway in Li-ion batteries. The method involves monitoring pressure increases in the battery using a sensor with two repetition rates, one faster than the other. If the faster rate pressure increase exceeds a threshold, it indicates an initial cell issue. If the slower rate pressure increase exceeds a higher threshold, it indicates a spreading thermal runaway. This second event triggers an output signal to the control unit for actions like waking it, warning, relieving pressure, shutting off, or disconnecting the battery.
19. Vehicle Battery System with Individual Cell Disconnection and Overcharge Limitation Mechanism
Ford Global Technologies, LLC, 2023
A vehicle battery system that can prevent damage from overcharging and cell failures. The system has an overcharge limit device that individually disconnects cells with high pressure. When a cell is disconnected, the controller stops controlling that cell and continues operating the rest. This prevents further overcharging. If multiple cells are disconnected, it stops all cells. This prevents overcharging of remaining cells. It also excludes disconnected cells from balancing and lowers the overall battery output limit.
20. Lithium-Ion Battery Health Monitoring with Machine Learning-Based Fault Prediction Model
SHENZHEN INST OF ADV TECH CAS, SHENZHEN INSTITUTE OF ADVANCED TECHNOLOGY CHINESE ACADEMY OF SCIENCES, 2022
Bidirectional lithium-ion battery health monitoring using machine learning techniques to accurately predict battery faults. The method involves collecting historical charge/discharge data, simulating real-time data, generating synthetic fault data, training a fault prediction model, and feeding back fault categories to the battery management system. This amplifies the fault dataset size and improves prediction accuracy compared to just using historical faults.
21. Battery Power Supply Device with Flexible Heat-Insulating Separators for Thermal Management and Swelling Adaptation
SANYO Electric Co., Ltd., 2022
Power supply device for batteries that reduces thermal propagation (fire spread) between cells and allows adaptability to swelling. The device uses separators made of flexible, heat insulating materials with restoring force. The separators deform when pressed by cells but recover shape to prevent thermal runaway spread. They have mesh structures or coatings to allow air pockets for insulation. This prevents fire propagation between cells while accommodating cell swelling.
22. Battery IoT System with Local Preprocessing and Centralized Analysis for Lithium-Ion Cell Data Management
Tsinghua University, TSINGHUA UNIVERSITY, 2022
A battery Internet of Things (IoT) system for monitoring and managing lithium-ion batteries to improve safety and performance. The system uses local preprocessing devices inside the battery packs to collect cell data and replace misaligned values. The preprocessed data is sent to a central processing device for analysis to determine battery state, health, and remaining life. The central device can also send commands to the local preprocessors to control cell operation. This closed-loop monitoring and management allows tracking of battery performance and preventing issues like internal shorts and thermal runaway.
23. Battery Monitoring and Management System with AI-Driven Real-Time Analysis and Blockchain Data Storage
KNOETIK SOLUTIONS, INC., 2022
Smart battery monitoring and management system for electric vehicles using AI, cloud computing, and blockchain. The system connects the vehicle's battery and control modules to a smart platform that extracts battery data, analyzes it in real-time, predicts health and life, and sends control signals. The platform also uses blockchain to store historical data. This enables autonomous battery optimization, fault detection, thermal management, charging, and lifespan extension. The AI-based cloud platform leverages nanosensors and immersive tech to provide situational awareness.
24. Vehicle Battery Management System with Integrated Sensors for Remote Monitoring and Alert Generation
BETA AIR, LLC, 2022
Battery management system for vehicles that allows remote monitoring and alerts of battery health to prevent damage. The system has sensors in the battery that detect internal states like temperature and voltage. A local computing device receives this data, generates alerts based on thresholds, and sends them to a remote device. This allows real-time battery monitoring from outside the vehicle to detect issues like overheating and take precautions before damage occurs.
25. Lithium-Ion Battery Monitoring System with Multi-Sensor Array for Enhanced Data Fusion and Analysis
TSINGHUA UNIVERSITY, UNIV TSINGHUA, 2022
Intelligent battery monitoring and early warning system for lithium-ion batteries using multiple sensors at key positions to improve accuracy and reliability. The system involves arranging a variety of sensors like temperature, pressure, gas, strain, etc. at multiple locations on the battery pack. The sensor data is transmitted, fused, and analyzed to provide comprehensive and quantitative battery state information. This enables more accurate and intelligent monitoring compared to just voltage and temperature. The system can identify abnormal battery conditions and trigger alarms or protection strategies.
26. Battery Management System with Sensor-Based Monitoring, Data Analysis Controller, and IoT-Enabled Alert Module
Lovely Professional University, 2022
Battery management system for monitoring and alerting battery health in energy storage systems like electric vehicles and power storage systems. The system uses sensors to monitor battery parameters, a controller to analyze the data, and an IoT module to provide remote monitoring and alerts. If faults or theft are detected, the system activates an alarm to notify the user.
27. Electric Vehicle Thermal Management System with Thermal Runaway Heat Recovery Mechanism
ROLLS-ROYCE NORTH AMERICAN TECHNOLOGIES INC., 2022
Thermal management system for electric vehicles with battery packs that includes an energy recovery mechanism to capture and utilize the heat released during a battery thermal runaway event. The system has a cooling loop with a pump, heat exchanger, and fluid to regulate battery pack temperatures. During normal operation, the pump circulates the fluid through the loop to cool the packs. If a pack enters thermal runaway, the heat accelerates fluid boiling. The steam expands through a turbine to generate power. This recovers some energy from the pack failure while preventing overall power loss.
28. Closed-Loop Battery Management System with Fault Diagnosis and Corrective Action Mechanism
SHANGHAI XINGNATU SCIENCE AND TECH LIMITED CO, SHANGHAI XINGNATU SCIENCE AND TECHNOLOGY LIMITED CO, 2022
Diagnostic control method for battery management systems that can not only diagnose battery faults but also take corrective action. The method involves connecting the battery, battery sensors, emergency assembly, sampling module, and processing module in a closed loop. The sensors monitor battery parameters like voltage, temperature, humidity, and smoke. If faults are detected, the sampling module captures data for analysis. The processing module identifies the fault and sends appropriate corrective actions to the emergency assembly. This could involve cooling, dehumidification, or fire suppression to mitigate the fault and prevent further damage.
29. Electric Vehicle Battery Pack System with Multi-Stage Fault Diagnosis and Thermal Runaway Suppression Mechanism
Tsinghua University, 2022
A step-by-step prevention and control system for electric vehicle battery packs that actively prevents and suppresses battery failures to improve safety. The system has three prevention stages: diagnosing battery faults, detecting cell thermal runaway, and preventing pack thermal runaway propagation. It uses a main controller to analyze monitoring data and send instructions to execute prevention actions at each stage. This allows targeted, escalating responses to battery issues instead of just reacting to full thermal runaway. The steps can include disconnecting faulty cells, isolating zones, extinguishing fires, and relieving pressure.
30. Battery Energy Storage System with Real-Time Sensing and Signal-Based Perception Processing
NANJING INDUSTRIAL OCCUPATIONAL TECHNOLOGY UNIV, NANJING INDUSTRIAL OCCUPATIONAL TECHNOLOGY UNIVERSITY, 2022
Intelligent perception system for battery energy storage systems that accurately predicts battery health and improves safety. The system involves sensing components with environmental and electrical performance sensors connected to a processing unit. The components are selected based on signals that change with battery state. This allows real-time monitoring of battery conditions beyond traditional BMS parameters. The system can accurately judge battery health and operating status by analyzing the signals.
31. Wireless Sensor Network for Real-Time Individual Cell-Level Battery Monitoring
NANJING SOUND AND VIDEO SOFTWARE LIMITED CO, NANJING SOUND AND VIDEO SOFTWARE LTD CO, 2022
Battery monitoring system for real-time, individual cell-level monitoring of battery health using IoT technology. The system has a data acquisition module with nodes in a wireless sensor network that monitor specific battery parameters in real time. The nodes aggregate and transmit the data to a central gateway. The gateway processes and analyzes the combined data from all the nodes to provide overall battery pack monitoring. This allows independent, real-time analysis of each cell's condition for improved accuracy compared to just monitoring the pack as a whole.
32. Battery Pack with Infrared Sensor Mesh for Early Detection of Cell Temperature Anomalies
Amazon Technologies, Inc., 2022
Battery pack design and monitoring technique to prevent sudden battery failure and thermal runaway in high-density battery packs used in electric vehicles, drones, and other high-power devices. The technique involves using infrared sensors to monitor temperature changes within the array of battery cells without requiring individual instrumentation on each cell. The infrared sensors are arranged in a string or mesh configuration that is routed through the battery pack. They detect sudden temperature spikes in individual cells before the overall battery temperature rises, allowing early intervention to prevent thermal runaway and isolate failing cells. This provides more reliable and proactive thermal management compared to spaced sensors or relying on overall pack temperature.
33. Wireless Battery Monitoring System with Integrated Cell Sensors and Data Analysis Processor
SHANDONG YUANZHI NEW POWER SCIENCE AND TECH LIMITED CO, SHANDONG YUANZHI NEW POWER SCIENCE AND TECHNOLOGY LIMITED CO, 2022
Battery monitoring system for high-energy density batteries using wireless communication to provide reliable and stable battery operation. The system involves a wireless battery data acquisition device with sensors on each cell to collect current and temperature. A processor analyzes the data and triggers an alarm if issues are detected. This allows proactive fault detection and mitigation compared to independent cell monitoring. The wireless transmission prevents zero or incorrect data.
34. Battery Pack Thermal Runaway Mitigation via Selective Module Discharge and Isolation Mechanism
GM Global Technology Operations LLC, 2022
Controlling thermal runaway propagation in battery packs with multiple modules by selectively discharging modules to prevent runaway spread. When a thermal runaway is detected in one module, the controller checks if current is flowing through that module. If not, it decouples the module to isolate the runaway. If current is flowing, it connects the other modules to an external load to discharge them, preventing runaway propagation. This controlled discharge can mitigate thermal runaway chain reactions in battery packs.
35. Battery Pack Controller with Thermal Event Detection and Mitigation Mechanisms
Ford Global Technologies, LLC, 2022
Detecting and mitigating thermal events in battery packs of electrified vehicles. The battery pack has a controller that monitors parameters like cell temperatures, voltages, and currents. If a thermal event is detected based on the monitored data, the controller issues corrective actions like venting, slowing the vehicle, shutting down, providing prompts, etc. This rapid response helps prevent escalation and damage from thermal events in battery packs.
36. Electrochemical Cell Thermal Incident Detection System with Thermally Anisotropic Material and Integrated Thermal Sensors
NIO USA, Inc., 2021
Early detection of thermal incidents in electrochemical cells like batteries to prevent chain reactions and explosions. The system uses a thermally anisotropic material like graphite positioned near cell vents and thermal sensors. This material captures and absorbs heat from venting cells, preventing it from spreading. The sensors detect abnormal thermal energy in the anisotropic material indicating a thermal runaway. This allows early warning and action to isolate and disconnect affected cells.
37. Battery System with Fluid-Submerged Cells and Integrated Thermal Monitoring Sensors
XING POWER INC., 2021
Battery system for electric vehicles with improved thermal management and cell monitoring. The battery system has battery modules with cells submerged in a fluid for cooling. The fluid flows through an enclosure around the cells. Sensors are submerged in the fluid to monitor both the cells and the fluid temperature and flow. This allows accurate and efficient cooling of the cells while also providing direct sensing of the cell temperatures. The submerged sensors eliminate the need for external connections that heat up and can fuse.
38. Battery Pack Enclosure with Nitrogen Inflation System for Thermal Event Mitigation
Ford Global Technologies, LLC, 2021
Mitigating thermal events in battery packs of electrified vehicles using nitrogen inflation. The battery pack has an enclosure with a bag that can generate and release nitrogen. When a thermal event is detected, the vehicle's controller commands the bag to inflate with nitrogen inside the enclosure. This suppresses further thermal runaway by displacing oxygen and reducing the flammable atmosphere. The controller also takes other corrective actions like gradual stopping, shutdown, alerts, and venting.
39. Vehicle Battery Monitoring System with Real-Time Parameter Analysis and Alert Mechanism
BEIJING FOTON DAIMLER AUTOMOTIVE CO LTD, BEIJING FOTONDAIMLER AUTOMOTIVE CO LTD, 2021
Monitoring system and method for vehicle batteries to improve reliability and lifespan by providing real-time battery status and alerts when conditions are abnormal. The system uses a battery sensor to monitor battery parameters. When the vehicle ignition is engaged, the sensor sends the battery data to the main control module, which analyzes it and sends updates to a server, display, and meter. If battery health falls below thresholds, alerts are issued to warn the user. This allows timely action to prevent vehicle starting issues caused by low charge or other abnormalities.
40. Wireless Sensor Network-Integrated Smart Module for Real-Time Power Battery Monitoring
CHANGZHOU UNIVERSITY, UNIV CHANGZHOU, 2021
Real-time monitoring of power batteries using wireless sensor networks to improve safety and performance. The monitoring involves integrating sensors, processing, communication, and power supply into a smart sensor module. The smart sensor pairs with individual battery cells and the battery pack as a whole. It collects data, processes it, and transmits via wireless radio to a human-computer interface for analysis and storage. This allows real-time monitoring of battery parameters like voltage, temperature, and current for each cell and the pack. Alarms can be set for abnormal conditions.
41. Wireless Battery Management System with Encrypted Integrity-Validated Communication Channels
SENSATA TECHNOLOGIES INC, 2021
Functional safety for wireless battery management systems in electric vehicles that uses wireless black communication channels for reliability and security. Each battery module has a local monitoring system that generates sensor data and integrity data. The monitoring system wirelessly transmits the sensor data and integrity data to a central controller using a black (encrypted and authenticated) communication channel. The central controller validates the integrity data and forwards the sensor data to the vehicle control system. The black wireless communication provides reliability against interference and cyber attacks, while the local integrity checks prevent data corruption.
42. Battery Cell Voltage Monitoring and Balancing System with Switch Circuitry for High Voltage Measurement
NXP USA, Inc., 2021
Monitoring and balancing battery cells with voltage levels above the measurement range of the battery management system. It uses switch circuitry to selectively connect a monitoring circuit to distribute energy from the high voltage cell to a node. The voltage measurement circuit then compares voltages between the node and cell terminals to determine the actual cell voltage, even if it's above the direct measurement range. This allows monitoring and balancing cells with very high voltages that exceed the controller's range. The switching circuitry also balances cells by connecting them together when needed.
43. System for Real-Time Monitoring and Analysis of Battery Cell Metrics During Charge and Discharge Cycles
UNIV ZHEJIANG TECHNOLOGY, ZHEJIANG UNIVERSITY OF TECHNOLOGY, 2021
Real-time online evaluation of battery charging and discharging to improve safety and performance of energy storage systems. The method involves monitoring and analyzing battery cell data during charge and discharge cycles using sensors and a control unit. The data is processed to extract metrics like ripple, rise time, and fall time. This data is then used to evaluate battery safety and consistency in real-time. If cell performance is poor, it is identified and action taken to replace the cell before it affects system stability.
44. Battery Management System with Condition-Based Selective Cell Activation and Address Decoding
Myeong-Eun Hwang, 2021
Battery management system to extend battery life by selectively charging and discharging battery cells based on their condition to balance wear. The system monitors cell conditions, selectively activates cells for charging/discharging, and balances wear across cells to prevent premature failure. The system uses address decoders to select specific cells for charging/discharging based on condition reports from analyzers. This allows balancing wear across cells by selectively charging/discharging heavily used cells less frequently to prevent overuse.
45. Battery Management System with Switchable Resistances for Fault Detection and Y Capacitance Monitoring
Stafl Systems, LLC, 2021
Battery management system for high voltage battery packs that enables accurate and early detection and characterization of fault conditions, such as isolation faults and Y capacitance issues, to improve safety and reliability. The system uses switchable resistances connected between the battery stack and ground to measure currents and determine fault location. It also monitors Y capacitance by settling current sampling after switch closure. This allows identifying isolation faults within cells and quantifying Y capacitance changes.
46. Wireless Sensor Network-Based Battery Management System with Adaptive Communication Routing and Data Aggregation
GUANGZHOU AOMA TECH CO LTD, GUANGZHOU AOMA TECHNOLOGY CO LTD, 2021
Intelligent battery management system using wireless sensor networks to collect battery monitoring data from individual batteries and centralize it for analysis. The system has a data acquisition module with sink nodes and sensor nodes that wirelessly communicate battery voltage and temperature. The sink nodes aggregate the data and send it to a monitoring module. The monitoring module analyzes the data for abnormalities and alarms when thresholds are exceeded. The sensor nodes select direct or indirect communication based on distance to sink nodes. The sink nodes periodically update the distance threshold to add nearby sensors to direct mode as needed. This flexible routing avoids energy holes by allowing more sensors to directly communicate with the sink.
47. Battery Monitoring System with Multi-Parameter Wireless Data Collection and Fault Detection
SHAANXI POLYTECHNIC INST, SHAANXI POLYTECHNIC INSTITUTE, 2020
A comprehensive battery monitoring system for electric vehicles that accurately monitors and analyzes battery state parameters to improve safety and efficiency. The system involves a battery node that collects various parameters like deformation, attitude, voltage, current, resistance, and temperature. This data is wirelessly transmitted to a PC for evaluation using a preset model. By considering factors like deformation and attitude, the system provides more reliable and accurate monitoring compared to just voltage and current. If a sensor stops reporting, it's determined as faulty.
48. Electric Vehicle Battery Output Control System with Temperature-Responsive Regulation
TOYOTA JIDOSHA KABUSHIKI KAISHA, 2020
Electric vehicle with controlled battery output to prevent cell terminal temperature rise leading to sealing failure while maximizing acceleration performance. The vehicle has a battery, motor, temperature sensor, and controller. The controller restricts battery output if battery temperature exceeds a threshold and either acceleration time is prolonged or temperature rise is rapid. But if acceleration is short or rise rate is low, output isn't restricted even if temperature exceeds the threshold. This balances preventing sealing failure from heat with minimizing output restriction impacting acceleration.
49. Electric Vehicle Battery System with Individual Cell Analysis and Management Units
INTERNATIONAL BUSINESS MACHINES CORPORATION, 2020
Battery monitoring and management system for electric vehicle batteries that allows individual cell diagnosis and maintenance without disassembly. The system uses dedicated analysis/control units (ACUs) assigned to each cell or cell group. The ACUs measure voltage and current to calculate charge, loading, and failure status. This provides real-time cell-level performance analysis and failure monitoring. If a cell reaches a threshold of degradation, the ACU can remove it from the module network. This enables online diagnosis, prognosis, and maintenance of individual cells in a composite battery pack.
50. Central Management System for Battery Health Analysis with Remote Sensor Integration and Collaborative Data Utilization
KOREA AUTOMOTIVE TECH INST, KOREA AUTOMOTIVE TECHNOLOGY INSTITUTE, 2020
A central management system for analyzing battery health using remote sensors that can be easily attached to batteries. The system receives battery data from user-installed sensors, analyzes it, and provides insights into battery aging. It calculates internal resistance and state of charge based on sensed data. To improve accuracy, it leverages data from other users' batteries. It selects similar batteries based on charge/discharge current and temperature, calculates reference values, and uses them to analyze aging. This allows learning and analysis even as batteries are replaced.
Get Full Report
Access our comprehensive collection of 80 documents related to this technology
Identify Key Areas of Innovation in 2025

