Heat Pipe and Vapor Chamber Design for EV Battery Cooling
Electric vehicle battery packs generate substantial heat during operation, with cell temperatures routinely reaching 40-45°C during rapid charging and high-power discharge cycles. Traditional liquid cooling systems, while effective, add complexity and weight—typically 15-20% of the total pack mass—which directly impacts vehicle range and performance.
The fundamental challenge lies in achieving uniform temperature distribution across densely packed cells while maintaining a lightweight, passive cooling architecture that can handle both steady-state and transient thermal loads.
This page brings together solutions from recent research—including T-shaped vapor chambers for targeted heat extraction, U-shaped heat pipe networks for multi-cell cooling, and flat heat pipe arrays with integrated storage tanks. These and other approaches demonstrate how phase-change cooling systems can deliver efficient thermal management while reducing system complexity and weight.
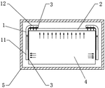
1. Three-Dimensional Heat Transfer Device with Vapor Chamber and Parallel Flattened Heat Pipes Configuration
VAST GLORY ELECTRONICS & HARDWARE & PLASTIC LTD, 2025
Three-dimensional heat transfer device with improved heat dissipation efficiency for cooling high-power electronic devices. The device uses a vapor chamber and flattened heat pipes arranged along the short side of the chamber with parallel cross-sections. This configuration reduces the windward area of the heat pipes when air flows over them, minimizing air resistance and improving heat dissipation compared to conventional heat pipes.
2. Vapor Chamber with Multi-Functional Extending Section for Integrated Heat Transfer and Auxiliary Capabilities
FURUKAWA ELECTRIC CO LTD, 2025
Vapor chamber with integrated functions to save space and weight in devices. The vapor chamber has a container with a cavity containing a working fluid. It has a heat transfer section that cools an electronic component and an extending section with a separate function. This section can have additional features like electromagnetic shielding or absorbing gases like hydrogen. By integrating multiple functions into the vapor chamber, it reduces the overall device size and weight compared to having separate components.
3. Vapor Chamber with Three-Dimensional Heat Dissipation Structure and Capillary-Enhanced Cooling Liquid Retention
LENOVO LTD, 2025
Heat dissipation device for electronic devices with improved cooling capacity. The device uses a vapor chamber with a three-dimensional heat dissipation structure inside a vacuum cavity. Capillaries on the chamber walls hold cooling liquid. This increases the volume for liquid to absorb heat and vaporize, reducing temperature in the chamber. The vapor then contacts a heat dissipation area to further cool it. This improves overall heat dissipation compared to flat plates. The device can be attached to an electronic component to cool it.
4. Ceramic Needle-Enhanced Heat Dissipation Plate with Integrated Fluid Chambers for Vapor Chamber Sealing
KYOCERA CORP, 2025
A heat dissipation plate and vapor chamber for electronics cooling that uses ceramic needles to improve heat transfer and prevent liquid leaks. The heat dissipation plate has a ceramic substrate with protruding ceramic needles. The needles have fluid chambers between them to fill with liquid coolant. This plate can be used in a sealed vapor chamber with a housing and liquid coolant inside. The plate covers the opening and the needles are immersed in the liquid. This allows efficient heat transfer into the liquid and prevents leakage through the seal.
5. Sealed Enclosure Evaporative Cooling Device with Perforated Surface and Porous Wick
THE TEXAS A&M UNIVERSITY SYSTEM, 2025
Direct evaporative cooling device for solid components like electronics without immersion or loops. It uses a sealed enclosure with a perforated surface, a liquid/vapor separator, and a porous wick filled with water. The hot component contacts the wick to transfer heat, evaporating the water. Vapor exits through the separator. A condenser can recondense the vapor and return it. This provides cooling without immersion or loops for components like motors and batteries.
6. 3D Heat Transfer Device with Direct Vapor Flow Pipe and Wick-Equipped Return Pipes
PURPLE CLOUD DEVELOPMENT PTE LTD, 2025
A 3D heat transfer device that improves the return of vaporized working fluid to enhance heat dissipation efficiency compared to conventional 3D heat transfer devices. The device has a sealed shell with pipes connected to it. One pipe connects directly to the shell and the other pipes have internal wicks. This allows the vapor to flow through the direct pipe to the sealed chamber, condense on the wicks in the other pipes, and return to the chamber. The blocking wicks prevent reverse flow. The sealed chamber contains the working fluid.
7. Vapor Chamber with Integrated Vent Hole and Sealing Ring for Simplified Filling and Sealing Process
COOLER MASTER CO LTD, 2025
Vapor chamber with simplified filling/sealing process to improve manufacturing and reliability compared to conventional vapor chambers. The vapor chamber has a sealed interior space with a vent hole in the top cover. A sealing plug seals the vent hole. The vapor chamber has a channel in the sealing ring that connects the vent hole to the interior space. This allows filling/degassing the vapor chamber without a separate insertion port. The sealing ring clamps the covers and seals the gap between them. The vent hole prevents pressure buildup during filling/degassing. The sealing plug seals the vent hole after filling to fully enclose the interior space. This simplifies filling/sealing compared to separate insertion ports, reduces vapor chamber edge area, and eliminates the need for complex processes like radio frequency heating and soldering.
8. Sealed Boiling Chamber with Submerged Cooling Element for Enhanced Heat Transfer via Boiling and Condensation
ROCHESTER INSTITUTE OF TECHNOLOGY, 2025
Cooling device with high heat removal capability using submerged boiling and condensation. The device has a sealed boiling chamber partially filled with liquid that boils and condenses inside. The chamber contains a heating section with a heat source, a liquid section, and a vapor section. A cooling element is submerged in the liquid. When the heating section boils, vapor bubbles form and condense on the submerged cooling element and chamber walls. This submerged condensation transfers heat from the boiling liquid to the coolant circulating through the cooling element.
9. Battery Module Incorporating Vapor Chambers with Phase-Change Heat Transfer Mechanism
HYUNDAI MOBIS CO LTD, 2024
Battery module with integrated vapor chambers for efficient cooling of the battery cells. The battery module has multiple vapor chambers filled with a working fluid placed between the battery cells. These chambers absorb heat from the cells, convert it to vapor, and transfer it to a heat transfer interface material. The interface material then channels the heat to an external cooling system. The vapor chambers circulate the working fluid between liquid and vapor states to efficiently cool the cells.
10. Battery Module System with Vapor Chambers and Thermal Grease Interface
GUANGDONG CHANGNENG INVEST HOLDING CO LTD, GUANGDONG CHANGNENG INVESTMENT HOLDING CO LTD, 2024
Power battery module system with improved thermal management using high thermal conductivity vapor chambers. The system has a housing enclosing multiple battery cells. Vapor chambers are sandwiched between adjacent cell surfaces and the housing. The vapor chambers have lower thermal resistance compared to conventional methods. Thermal grease is used between the chambers and housing contact points. This provides uniform and efficient heat transfer between cells and reduces temperature differences inside cells.
11. Battery with Passive Cooling Loops Incorporating Heat Pipes and U-Shaped Ducts for Homogeneous Thermal Management
AUTOMOTIVE CELLS COMPANY SE, 2024
Battery for electric vehicles that prevents hot spots and provides homogenous cooling without active cooling systems. The battery has passive cooling loops between the cell stack and casing. Each cell has a loop heat pipe, oscillating heat pipe, or heat pipe. The loops have evaporators in the cell stack and condensers in the casing. The loops circulate phase change fluid between the stack and casing to extract heat. The loops have U-shaped ducts in the stack and casing sections to connect evaporator and condenser. This provides thermal contact and circulation between stack and casing to distribute heat.
12. Battery Thermal Management System with Integrated Phase Change Materials, Flat Heat Pipes, Thermoelectric Cooling Plates, and Vapor Chambers
GUANGDONG UNIVERSITY OF TECHNOLOGY, GUANGDONG ZHUHAI SUPERVISION TESTING INST OF QUALITY & METROLOGY, GUANGDONG ZHUHAI SUPERVISION TESTING INSTITUTE OF QUALITY & METROLOGY, 2024
A battery thermal management system that addresses both low-temperature heating and high-temperature cooling needs. The system uses a combination of phase change materials, flat heat pipes, thermoelectric cooling, and vapor chambers. The phase change materials absorb and dissipate heat during charging/discharging. Flat heat pipes transfer heat between battery packs. Thermoelectric cooling plates provide active heating or cooling. Vapor chambers capture and transport heat. This compact, versatile system improves battery temperature control for optimal performance and safety in all conditions.
13. Battery Pack Thermal Management System with Planar Heat Pipes and Variable Performance Heat Sinks
TOYOTA JIDOSHA KABUSHIKI KAISHA, 2024
A thermal management system for battery packs in electric vehicles that provides uniform cooling and improves battery performance. The system uses planar heat pipes in direct contact with the battery packs to draw heat out, and heat sinks on the edges of the heat pipes to dissipate the heat. The heat pipes have opposed contact regions on the battery packs to balance heat distribution. The heat sinks have varying cooling performance to further optimize cooling.
14. Battery Temperature Control System with Heat Pipes and Central Vapor Chamber for Uniform Thermal Regulation
SHAANXI OLYMPUS POWER ENERGY CO LTD, 2024
Battery temperature control system for lithium-ion batteries that enables uniform temperature distribution, avoids overheating, and reduces thermal management costs. The system uses a combination of heat pipes, heat exchange devices, and temperature control units. Heat pipes are placed directly on the battery poles to extract heat during overheating. They also transfer heat to the battery poles when temperatures are low. The heat pipes exchange heat with a central vapor chamber and external sources. This allows passive cooling/heating via phase change materials. The temperature control units actively regulate pole temperatures. The system provides effective temperature regulation without occupying internal battery space.
15. T-Shaped Vapor Chamber for Battery Cooling with Bottom Heat Transfer and Top Heat Radiation Sections
GUANGDONG CHANGNENGDA TECH DEVELOPMENT CO LTD, GUANGDONG CHANGNENGDA TECHNOLOGY DEVELOPMENT CO LTD, 2024
Battery cooling structure using a T-shaped vapor chamber to improve cooling performance of batteries in high power applications where traditional flat plate vapor chambers can overheat. The T-shaped chamber has a bottom section that connects to the battery and transfers heat from the bottom of the battery. This prevents hot spots and allows even cooling. The top section radiates the heat to the surrounding environment. The T-shape allows the bottom section to soak up heat from the battery while the top section radiates it away, improving overall cooling compared to just a flat plate chamber.
16. Battery Module with Internal Heat Pipe Network Featuring Vacuumized Sealed Tube and Intercellular Heat Absorption Sections
STL TECHNOLOGY CO LTD, 2023
Battery module with improved heat dissipation using an internal heat pipe network to effectively cool the battery cells. The heat pipe structure has a vacuumized sealed tube above the battery holder to transfer heat by evaporating and condensing fluid. It also has a section inserted between adjacent cells to absorb cell heat. Connections between the sections allow heat transfer. This allows peripheral cell heat to be extracted and radiated by the top section.
17. Battery Module Cooling System with Micro-Channel Pulsating Heat Pipes in Closed Loop Configuration
JIANGSU GEJIESI ENERGY STORAGE TECH CO LTD, JIANGSU GEJIESI ENERGY STORAGE TECHNOLOGY CO LTD, UNIV XI AN JIAOTONG, 2023
Uniform temperature cooling system for battery modules in energy storage applications that provides good heat dissipation, temperature uniformity, reliability, and independent operation. The system uses micro-channel pulsating heat pipes contacting the battery modules to form independent heat dissipation units. The pipes have bent micro-channels with a closed loop connecting sections for evaporation, adiabatic, and condensation. This allows direct heat transfer from the battery side to the condensation section where cooling fluid condenses. It improves heat dissipation and uniformity compared to contact plates. The pipes can also have multiple loops for redundancy if one leaks.
18. Thermal Management System for Cylindrical Batteries with Diagonal Flow Heat Pipe Grid
South China University of Technology, SOUTH CHINA UNIVERSITY OF TECHNOLOGY, 2023
A compact, efficient thermal management system for cylindrical batteries that uses heat pipes and a unique fluid flow arrangement to uniformly cool and heat multiple batteries in a compact pack. The system has a grid layout with batteries spaced apart and heat pipes connecting adjacent batteries. Fluid flows through the pipes and heat transfer plates in a diagonal pattern to evenly distribute cooling/heating between batteries. The diagonal flow reduces temperature extremes compared to parallel flows. The compact grid design allows more batteries while avoiding rigid contact issues of flat plates.
19. Battery Pack Thermal Management System with Vapor Chamber and Phase Change Material Modules
T GLOBAL TECH CO LTD, T-GLOBAL TECHNOLOGY CO LTD, 2023
Battery pack thermal management system with improved temperature equalization for high-speed charging and discharging. The system uses a vapor chamber module, a phase change material module, and equalization plates to enhance temperature distribution in the battery pack. The vapor chamber modules have surfaces thermally connected to the battery pack shell. Between the surfaces, two-phase flow heat transfer occurs. The phase change material modules have containers filled with material that changes phase during charging/discharging. The containers are thermally connected to the condensation surfaces. Heat from the battery pack melts the material. When it solidifies, latent heat is released. This equalizes temperatures inside the pack. The vapor chamber and phase change modules provide parallel heat transfer paths. The vapor chambers convert localized high heat to spread cooling, while the phase change material absorbs/releases heat to equalize temperatures.
20. Battery Thermal Management Structure with Heat Pipes and Phase Change Materials in Semi-Packaged Design
INST OF ENGINEERING THERMOPHYSICS CHINESE ACADEMY OF SCIENCES, INSTITUTE OF ENGINEERING THERMOPHYSICS CHINESE ACADEMY OF SCIENCES, 2023
Battery thermal management structure using heat pipes and phase change materials to reduce parts, simplify assembly, and improve heat dissipation compared to conventional battery cooling methods. The structure is a semi-packaged design where the battery cells are arranged in a discrete array inside a box. Heat pipes with plate-shaped sections connect the cells to cooling channels. Porous lattice structures fill the channels. Phase change material fills the cells. This allows internal heat transfer through pipes and latent heat storage in PCM. Coolant circulates through the channels. In low temp, external heat warms the coolant which transfers to cells. In high temp, cells heat coolant which cools externally.
21. Composite Thermal Management System with Vapor Chamber, Phase Change Material, and Conductive Layers for Battery Packs
GUANGDONG LITIAN TECH CO LTD, GUANGDONG LITIAN TECHNOLOGY CO LTD, SOUTH CHINA UNIV OF TECHNOLOGY, 2023
Composite thermal management system for high energy density battery packs that can effectively prevent battery overheating and utilize waste heat. The system uses a vapor chamber, phase change material, and conductive layers around the battery pack. The vapor chamber absorbs battery heat and prevents pack temperature rise. The phase change material absorbs excess heat during overheating. The conductive layers transfer heat to the phase change material for preheating and insulation. This allows efficient heat dissipation and preheating without added weight or liquid coolant.
22. Cylindrical Lithium Battery Thermal Management System with Vapor Chamber and Liquid-Cooled Copper Tube
GUANGDONG UNIV OF TECHNOLOGY, GUANGDONG UNIVERSITY OF TECHNOLOGY, 2023
A cylindrical lithium battery thermal management system that efficiently cools the battery to prevent overheating and thermal runaway. The system uses a vapor chamber coupled with a liquid-cooled copper tube to transfer heat from the battery. The battery is inserted into a silica gel shell that absorbs heat. This heat is then transferred through the vapor chamber to the copper tube filled with liquid coolant. This allows rapid and efficient cooling of the battery.
23. Battery Module with Bidirectional Heat Pipe System and Finned Heat Pipes for Temperature Regulation
ZHOU XIWEI, 2023
Battery module and energy storage system using heat pipes for improved temperature regulation. The system uses heat pipes to rapidly transfer heat between battery cells in each module. Heat pipes are installed closely on both sides of the battery cells to shorten the heat conduction distance. This allows bidirectional heat exchange between cells. The heat pipes also have fins for efficient heat transfer. The design reduces energy consumption for temperature regulation and enables faster heating/cooling compared to conventional methods.
24. Battery Thermal Management Module with Heat Pipes and Phase Change Material Integration
HEFEI UNIVERSITY OF TECHNOLOGY, UNIV HEFEI TECHNOLOGY, 2023
Battery thermal management module for electric vehicle packs with high temperature uniformity using heat pipes and phase change materials. The module has a liquid-cooled plate, battery cells on top, and heat pipes between columns. The heat pipes have vertical sections in the box and flat sections on the plate. Corrugated plates distribute lateral heat. Phase change material fills the box to quickly transfer heat to the pipes and plate. This improves lateral and longitudinal temperature uniformity of large, high-density battery packs.
25. Thermal Management System with Sintered Heat Pipes and Natural Circulation for Battery Cooling
South China University of Technology, SOUTH CHINA UNIVERSITY OF TECHNOLOGY, 2023
Power battery thermal management system using natural circulation for cooling batteries in electric vehicles. The system uses sintered heat pipes to transfer battery heat to a cooling chamber filled with a working fluid. The heat pipes absorb battery heat through evaporation, then natural convection in the cooling chamber converts the working fluid to vapor. The vapor goes to a condenser to dissipate heat, then returns to the cooling chamber. This natural circulation cools the batteries without pumps or fans. The heat pipes have high thermal conductivity and light weight compared to alternatives. The working fluid boiling point is 25-40°C.
26. Battery Module Heat Dissipation Device with U-Shaped Vapor Chamber and Integrated Condensing Plate
GUANGDONG CHANGNENGDA TECH DEVELOPMENT CO LTD, GUANGDONG CHANGNENGDA TECHNOLOGY DEVELOPMENT CO LTD, 2023
A battery module heat dissipation device for power batteries in electric vehicles that uses a U-shaped vapor chamber to quickly and evenly dissipate heat from the batteries. The device consists of a U-shaped heat absorber plate attached to the battery, and a condensing plate connected to a liquid cooling system. The absorber plate has evaporation ends on the battery sides and a condensation end at the bottom. The evaporation ends absorb battery heat, vaporizing a working fluid inside the U-shape. The vapor condenses on the cooling plate, transferring the heat to the liquid. This provides fast and uniform battery cooling to prevent overheating and thermal runaway.
27. Battery Module with Integrated Snake-Shaped Heat Exchanger and Closed-Loop Refrigeration System
HUIZHOU EVE ENERGY CO LTD, 2023
Battery module for electric vehicles with improved thermal management to enable high-rate charging and discharging. The module has a heat exchanger assembly inside the battery pack. The assembly has a snake-shaped heat exchange pipe with a finned heat exchange surface. This pipe connects to the battery cells. A compressor and condensing component (like a condenser or heat exchanger) complete a refrigeration cycle. An expansion valve connects the condensing component to the heat exchanger inside the battery module. This closed-loop refrigeration system cools the battery cells directly without relying solely on convection.
28. Battery Pack Cooling System with Pulsating Heat Pipes and Thermoelectric Cooling Integration
HARBIN ENGINEERING UNIVERSITY, UNIV HARBIN ENG, 2023
A cooling system for battery packs that uses pulsating heat pipes and thermoelectric cooling to maintain safe operating temperatures. The battery pack has interlayer cavities filled with pulsating heat pipes that surround the battery cells. The pipes have shorter sections near the cells and longer sections further out. This shape ensures condensation and evaporation of working fluid occurs near the cells to transfer heat. The pack also has temperature sensors and an electronic control unit with a thermoelectric cooling sheet. When starting, the control unit heats the pipes. When the sensors detect battery overheating, the pipes phase change and the cooling sheet absorbs heat to further reduce temperature. This synergistic cooling system prevents battery overheating without additional sensors.
29. Battery Module with Integrated Heat Pipe Evaporator Housing for Enhanced Thermal Management
CONTITECH TECHNO CHEMIE GMBH, CONTITECH TECHNO-CHEMIE GMBH, 2023
Battery module for electric vehicles that improves heat dissipation without adding complexity or cost. The module has a battery cell and a heat pipe with an evaporator and condenser. The evaporator is thermally coupled to the battery cell but electrically isolated. Uniquely, the evaporator forms a housing around the battery cell to enhance heat transfer. This improves cooling compared to just attaching the evaporator to the cell surface.
30. Flat Heat Pipe Configuration for Battery Module Thermal Regulation
TSINGHUA UNIV, TSINGHUA UNIVERSITY, 2023
Flat heat pipe cooling system for electric vehicle batteries that provides better thermal management compared to traditional liquid or air cooling. The system uses flat heat pipes to transfer heat between battery modules and a central cooling unit. The pipes are sandwiched between the modules or attached to one side of a module. This allows efficient heat transfer between modules and prevents hotspots. The central cooling unit has fins, fans, and heat exchange media to dissipate heat. It provides uniform temperatures across modules and prevents thermal runaway propagation. The flat heat pipe system is compact, simple, and convenient to assemble compared to liquid or air cooling systems.
31. Battery Thermal Management System with Integrated Heat Pipe and Thermoelectric Cooling Sheet
CHINA THREE GORGES UNIV, CHINA THREE GORGES UNIVERSITY, 2023
Battery thermal management system that integrates heat pipes and thermoelectric refrigeration for efficient and effective cooling and heating of battery packs. The system uses a heat pipe to transfer heat between the battery and a thermoelectric cooling sheet. This allows rapid heat dissipation when the battery gets too hot, and rapid heat transfer when the battery gets too cold. The system monitors battery temperatures and controls the thermoelectric cooling sheet and water pump to maintain optimal temperatures for battery performance and safety.
32. Flat Heat Pipe with Integrated Liquid Storage Tank and Pressure-Driven Vapor-Liquid Circulation System
Sichuan New Energy Vehicle Innovation Center Co., Ltd., SICHUAN NEW ENERGY VEHICLE INNOVATION CENTER CO LTD, 2023
A flat heat pipe for power battery cooling that improves heat dissipation efficiency compared to traditional heat pipes. The flat heat pipe has a housing with a cavity and a liquid storage tank at the bottom. When the housing contacts the battery pack, heat from the pack increases the pressure in the housing. This causes the liquid to flow from the tank towards the pack side of the housing, absorbing heat as it vaporizes. The vapor then condenses back into liquid on the other side of the housing and flows back to the tank. This continuous loop transfers heat from the battery pack to the housing walls and back into the liquid, increasing overall heat dissipation efficiency.
33. Battery Thermal Management System with Integrated Vapor Chamber and Thermoelectric Cooling Featuring L-Shaped Sections
CHINA THREE GORGES UNIV, CHINA THREE GORGES UNIVERSITY, 2023
Battery thermal management system for electric vehicles that integrates a vapor chamber and thermoelectric cooling to improve cooling efficiency and reduce costs compared to traditional systems. The system uses a vapor chamber in the battery pack with short and long L-shaped sections that contact the battery cells and the thermoelectric cooling sheet. This improves thermal uniformity and quick heat transfer. The chamber is immersed in a liquid tank filled with cooling liquid. The liquid contacts the vapor chamber and battery cells for heat transfer. This enables efficient cooling at high temperatures and insulation at low temperatures without compromising performance.
34. Battery Pack Temperature Control System with Gravity Heat Pipes and Central Vapor Chamber
SHAANXI OLMPOS ELECTRIC POWER ENERGY CO LTD, 2023
A battery pack temperature control system for large-capacity battery packs that provides active cooling and heating of the batteries without occupying internal space. The system uses gravity heat pipes, cold plates, and heat sources to balance battery temperatures. It has N sets of heat pipes, each connecting to a battery pole and the central vapor chamber. A cold plate at the chamber condensation end actively cools the pack. A heat source at the chamber evaporation end actively heats the pack. This allows battery temperature regulation without fans, fins, or internal components.
35. Battery Temperature Regulation System with Heat Pipe and Phase Change Material Integration
SHAANXI OLMPOS ELECTRIC POWER ENERGY CO LTD, 2023
Battery temperature control system that uses a heat pipe and phase change material to actively regulate the temperature of lithium-ion batteries. The system has a heat exchange unit with a phase change box containing a material that melts at a specific temperature. One end of a heat pipe is connected to the battery pole and the other end is inserted into the phase change material. When the battery gets too hot, the heat pipe extracts heat from the pole and transfers it to the melting phase change material. Once the material is fully melted, an active cooling unit can be engaged to further lower the battery temperature. This allows the battery to operate within an optimal temperature range.
36. Battery Pack Temperature Control System with Pole-Connected Heat Pipes and Inter-Battery Thermal Exchange
SHAANXI OLMPOS ELECTRIC POWER ENERGY CO LTD, 2023
Battery temperature control system for large-capacity batteries in packs to maintain optimal operating temperature. It uses heat pipes on the battery poles that extend out and connect to temperature control tubes. When the battery gets too hot, the heat pipes transfer heat out. When it's too cold, the tubes transfer heat in. This prevents internal temperature fluctuations. In packs, heat pipes between batteries exchange heat. This allows uniform temperature across the pack. The design prevents complex parallel cooling systems with flow regulators.
37. Battery Pack Thermal Management System with Phase Change Vapor Chamber and Customized Wicking Material Distribution
ROMEO SYSTEMS INC, 2022
Thermal management system for battery packs that provides better temperature control compared to conventional methods. The system uses a vapor chamber filled with a working fluid that undergoes phase changes to absorb or release heat from the battery cells. The cells are positioned inside the chamber with wicking material between them and the fluid. This allows the fluid to carry heat away from the cells during charging/discharging. The chamber can be connected to a heat pump for active cooling. The wicking material quantity is customized for cells at different locations to optimize cooling.
38. Battery Module with Heat Pipe Structure for Enhanced Thermal Management
STL TECH CO LTD, STL TECHNOLOGY CO LTD, 2022
Battery module with improved heat dissipation using a heat pipe structure. The module has a shell, battery fixation frame, battery cores, and an improved heat pipe. The pipe has sections for absorbing core heat, conducting it upward, and condensing/evaporating fluid to transfer heat. This allows the core heat to be taken away and radiated. The pipe is above the core section and connects there.
39. Battery Module Cooling System with Direct Heat Pipe Integration
CHONGQING CHANG AN NEW ENERGY AUTOMOBILE TECH CO LTD, CHONGQING CHANG AN NEW ENERGY AUTOMOBILE TECHNOLOGY CO LTD, 2022
Automobile battery cooling system and vehicle that prevents battery overheating and thermal runaway. The cooling system involves inserting a heat pipe directly into the battery module and attaching it to the battery core. This allows rapid heat transfer between the core and the heat pipe, preventing hot spots and uniformizing core temperatures. The heat pipe can then be cooled externally to prevent overall module overheating. The direct core contact and heat pipe uniformization prevent piling up of heat in the battery core and reduce the risk of thermal runaway.
40. Battery Pack with Liquid-Cooled Enclosure, Heat Pipe, and Phase Change Material for Thermal Management
CHINA FAW GROUP CORP, 2022
Battery pack design with improved thermal management to enhance battery cell temperature consistency and cooling efficiency. The battery pack has a liquid-cooled enclosure with a heat pipe and insulated tubes. Phase change material is stored in the enclosure. Cells attach to the enclosure. During charging, excess heat transfers between cells via the enclosure. During discharging, heat insulation maintains cell temperatures. The enclosure cools cells. Cells can start synchronously in cold. A vehicle uses the pack with an external cooling loop.
41. Battery Pack Temperature Control System with Cored Heat Pipes and Central Heat Sink Plate
SHAANXI OLMPOS ELECTRIC POWER ENERGY CO LTD, 2022
A battery pack temperature control system for large-capacity battery packs like those used in electric vehicles. The system uses cored heat pipes to actively cool and heat the battery cells. It has a central heat sink plate, cold source, and heat source. The heat pipes connect the plate to the battery cell poles. This allows direct cooling/heating of the cells. Passive cooling is also provided by features like phase change materials and radiators. The active cooling prevents hot spots and degradation. The passive cooling helps maintain optimal cell temperatures. The active/passive approach provides comprehensive temperature control.
42. Battery Pack Thermal Management Structure with Heat Pipe and Heat Conduction Interface
TIANNENG NEW ENERGY CO LTD, TIANNENG NEW ENERGY HUZHOU CO LTD, 2022
A thermal management structure for battery packs that improves cooling efficiency and reduces temperature variability. The structure uses a heat pipe attached to the battery module. The heat pipe has an evaporation section, condensation section, and adiabatic section in between. The evaporation section absorbs heat from the module, and the condensation section releases it to the surroundings. The adiabatic section prevents condensation. The heat pipe connects to a heat conduction structure like glue or fins on the pack housing. This allows the condensation segment to transfer heat to the housing for dissipation, improving overall cooling.
43. Battery Module Heat Management System with Side and Bottom Contact Heat Pipes
GAC EON NEW ENERGY AUTOMOBILE CO LTD, 2022
Heat management system for battery modules in electric vehicles that reduces energy consumption and improves safety. The system uses a heat pipe with contact surfaces on the sides and bottom of the battery cell. This allows heat generated during charging and discharging to be transferred to the pipes and then to a liquid cooling plate below. This prevents heat buildup inside the cell and reduces the temperature difference across the module. The pipes also prevent hotspots near the electrodes.
44. Battery Temperature Control System with Phase Change Material and Heat Pipe Integration
SHAANXI OLMPOS ELECTRIC POWER ENERGY CO LTD, 2022
A battery temperature control system for lithium-ion batteries that uses a phase change material in a heat exchanger and a heat pipe to actively and passively regulate battery temperature. The system has a heat exchange unit with a phase change material inside a box. The battery pole contacts one end of the heat pipe, which goes into the phase change material. This allows passive temperature control as heat is exchanged between the pole and phase change material. If the pole gets too hot, the phase change material melts and actively cools the pole using a separate temperature control unit connected to the heat pipe.
45. Battery Temperature Control System with Heat Pipes and External Heat Exchange Conduits
SHAANXI OLMPOS ELECTRIC POWER ENERGY CO LTD, 2022
A battery temperature control system for large-capacity batteries that maintains optimal battery temperature through internal heat conduction and external heat exchange. The system uses heat pipes extending from the battery poles to conduct heat out of the battery. External temperature control pipes surrounding the battery exchange heat with the heat pipes. This allows battery heat to be extracted and regulated using the temperature control pipes. The pipes can be arranged in series between multiple batteries to ensure consistent temperature across the pack. This prevents hotspots and extends battery life compared to parallel cooling. The heat pipes and temperature pipes can be side-by-side for efficient heat transfer.
46. Lithium Battery Pack Thermal Management System with Micro Heat Pipes and Sealed Heat Exchanger
Zhao Yaohua, Xu Hongxia, ZHAO YAOHUA, 2022
Thermal management system for lithium battery packs that provides efficient cooling without using refrigerant or air cooling. The system uses micro heat pipes on the battery surfaces to absorb and transfer heat internally, and a sealed heat exchanger attached to the pack case to dissipate the heat. This isolates the batteries from the coolant and prevents leaks. The pack case provides a closed heat sink. The micro heat pipes have longer lengths than battery dimensions to cover multiple layers. They have evaporator sections on the batteries and condensers on the pack. This allows heat transfer between layers. The pack case also has heat-conducting partitions. The heat exchanger cools the pack externally.
47. Battery Pack with Integrated Liquid Cooling Plate and Heat Pipe Configuration
TIANNENG NEW ENERGY CO LTD, TIANNENG NEW ENERGY HUZHOU CO LTD, 2022
Integrated liquid cooling and heat pipe design for battery packs to improve cooling efficiency and temperature uniformity. The design involves fixing a liquid cooling plate on the top of the battery module and a heat pipe on the side and top surface. The heat pipe contains coolant and transfers heat from the side of the module to the cooled plate. This direct connection eliminates air gaps and reduces thermal resistance compared to separate liquid and plate components. It allows better heat extraction from the battery cells and more uniform cooling.
48. Battery Cooling System with Integrated Heat Pipes and Offset Vapor Channels
DR ING H.C F PORSCHE AKTIENGESELLSCHAFT, PORSCHE AG, 2022
Battery cooling system for electric vehicles that improves efficiency and reduces space requirements compared to conventional cooling methods. The cooling system uses heat pipes with an internal working fluid to transport heat away from the battery cells. The cells are positioned inside the heat pipes so they directly contact the internal condensate channels. This allows direct heat transfer between adjacent cells through the condensate channels. The vapor channels are offset to alternate between cells. This enables efficient heat transfer between cells while minimizing the number of external connections needed compared to connecting the heat pipes directly to each cell.
49. Battery Pack with Integrated Heat Pipe and External Cooling Unit for Thermal Management
HA JEONG SEOK, 2022
Battery cooling device for electric vehicles that cools the battery when it gets too hot during charging and discharging. It uses a heat pipe inside the battery pack to transfer heat from one side to the other. A separate cooling unit cools part of the heat pipe to further reduce battery temperature. This improves battery efficiency and lifespan by preventing overheating.
50. Dual-Stage Heat Pipe Battery Cooling System with Integrated Thermal Management
HA JEONG SEOK, 2022
Battery cooling system for electric vehicles that efficiently cools batteries during charging and discharging to improve performance and lifespan. The system uses a heat pipe inside the battery pack to transfer heat from the cell to an external cooling unit. Another heat pipe cooling unit inside the pack further cools the heat pipe. This dual-stage cooling is more effective than just an external unit. The system also allows applying heat when ambient temps are lower than optimal charging/discharging temps to compensate.
Get Full Report
Access our comprehensive collection of 117 documents related to this technology
Identify Key Areas of Innovation in 2025

