Electrode Materials for Better EV Battery Performance
Battery electrode materials face significant challenges in maintaining structural integrity and performance over thousands of cycles. Current lithium-ion electrodes experience volume changes exceeding 300% during cycling, leading to mechanical degradation and capacity loss. Surface-level decomposition and internal structural changes occur at operating voltages above 4.3V, particularly affecting nickel-rich cathode materials.
The fundamental challenge lies in balancing high energy density with long-term structural stability while maintaining economically viable manufacturing processes.
This page brings together solutions from recent research—including surface modification techniques for improved stability, three-dimensional electrode architectures, composite materials with engineered porosity, and novel synthesis methods for manganese-based oxides. These and other approaches focus on practical implementations that can scale to mass production while meeting increasingly demanding performance requirements.
1. Method for Synthesizing Silicon Monoxide Composite with In-Situ Grown Carbon Nanotubes
Hong Zhao, 2024
A method for preparing a silicon monoxide composite material with improved electrical conductivity and initial coulombic efficiency compared to pure silicon monoxide for use in lithium-ion batteries. The method involves growing carbon nanotubes directly on the surface of the silicon monoxide using an in-situ catalyst. This provides a uniform carbon coating with nanotubes and a small amount of amorphous carbon that improves electrical conductivity and reduces volume variations during charging/discharging compared to adding carbon externally.
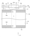
2. Three-Dimensional Lithium Anode with Vertical Columnar Structure and Conformal Capping Layer on Copper Substrate
Oerlikon Surface Solutions AG, Pfäffikon, 2024
Three-dimensional lithium anode for high-capacity lithium-ion batteries that addresses the limitations of graphite anodes. The anode has a vertical structure with columnar or grid-shaped lithium deposited on a copper substrate. A conformal capping layer is deposited over the lithium to protect it and prevent dendrite growth. The vertical structure allows higher lithium loading density compared to flat graphite anodes. The capping layer prevents volume expansion and ensures stable cycling. The 3D lithium anode has higher capacity, lower weight, and better cycling compared to graphite anodes.
3. Layered Positive Electrode Active Material with Surface-Enriched Additive Element X for Structural Reinforcement
SEMICONDUCTOR ENERGY LABORATORY CO., LTD., 2024
A positive electrode active material for lithium-ion batteries that retains its structure and capacity after repeated charge/discharge cycles. The material has a surface region with higher concentration of an additive element X compared to the interior. This reinforces the outer surface and prevents breakage of the layered structure as lithium is extracted during charging. The higher X content surface helps the material maintain its structure and capacity over cycles compared to a homogeneous composition.
4. Anode Structure with Fluoropolymer Coating Layer for Inhibiting Binder Decomposition in Lithium-Ion Batteries
Hyundai Motor Company, Kia Corporation, SEOUL NATIONAL UNIVERSITY R&DB FOUNDATION, 2024
Anode design for lithium-ion batteries with reduced binder decomposition during cycling. The anode has a coating layer between the active material core and the binder. The coating layer is made of a fluoropolymer like PVDF, PTrFE, PCFE, or PCTFE. This coating blocks electron transport from the core to the binder, preventing decomposition of the binder during cycling.
5. Composite Oxide with Tetragonal Structure for Lithium-Ion Battery Anodes
KABUSHIKI KAISHA TOSHIBA, 2024
Active material for high capacity lithium-ion batteries with improved initial charge-discharge efficiency and cycling performance. The active material is a composite oxide with a tetragonal crystal structure represented by the general formula LiaTibNb2-2dMc+2dO2b+5+3c, where M is W or Mo and the subscripts satisfy certain constraints. This composite oxide provides high charge/discharge capacity per volume compared to traditional carbon anodes. It shows favorable initial efficiency and cycling stability in lithium-ion batteries.
6. Porous Battery Active Material via Li Extraction from Li22Si5 Crystal Phase
TOYOTA JIDOSHA KABUSHIKI KAISHA, 2024
Reducing volume change of battery active materials during charging/discharging by creating a porous structure inside the material particles. The method involves preparing a LiSi precursor with a specific crystal phase, then extracting Li using a solvent to form voids in the precursor. This step creates a porous active material with reduced volume change compared to non-porous materials. The specific crystal phase is Li22Si5.
7. Electrode Assembly with Low Thermal Conductivity Barriers for Enhanced Thermal Runaway Resistance
CONTEMPORARY AMPEREX TECHNOLOGY CO., LIMITED, 2024
Electrode assembly for secondary batteries with improved thermal runaway resistance to prevent battery failures in abuse situations. The electrode assembly has barriers made of current collectors with low thermal conductivity in at least one electrode plate. The barrier thickness and thermal conductivity satisfy a condition of lambda over delta less than 3x107 W/(K*m2) to provide effective thermal resistance. This impedes heat spreading if a local failure occurs, reducing risk of chain reactions and thermal runaway.
8. Manganese Oxide Compositions with Lithium and Sodium for Battery Electrodes
Honda Motor Co., Ltd., 2024
Manganese oxides for lithium-ion and sodium-ion batteries with high capacity, long cycle life, and low cost. The manganese oxides have compositions containing lithium and/or sodium, like Li1.5Mn0.5O2 or Na1.5Mn0.5O2. They can be synthesized by introducing manganese, sodium, and metal precursors under specific conditions. The metal can be any element except manganese or sodium. The resulting oxides have improved performance compared to conventional manganese oxides used in batteries.
9. Carbon-Based Materials with High Surface Area and Variable Pore Size via Modified and Non-Hummers' Methods
The Regents of the University of California, 2024
Carbon-based materials, fabrication methods, and energy storage devices with improved performance. The carbon materials have high surface area, pore size, and oxygen content. They can be made using a modified Hummers' method or a non-Hummers' method. The modified Hummers' method involves cooling the graphite and sulfuric acid mixture before oxidation. The non-Hummers' method involves adding potassium permanganate, agitating, cooling, and hydrogen peroxide. These materials can be used as active materials in lithium-ion battery electrodes, coating on lithium metal negative electrodes, or asymmetric supercapacitor electrodes.
10. Lithium Iron Phosphate Cathode with Vanadium and Optional Cobalt Co-Doping for Enhanced Power Density and Moisture Resistance
A123 Systems LLC, 2024
Lithium-ion battery cathode material with improved power density and reduced moisture uptake for low-voltage applications like electric vehicles. The cathode is lithium iron phosphate (LFP) with specific dopant compositions and synthesis methods to avoid NH3 emissions and achieve target properties like high capacity, rate capability, and low temperature performance. The LFP formulation has a molar ratio of phosphate to iron around 1.00-1.05, vanadium dopant partially replacing Fe, and total non-lithium metal to phosphate ratio around 1.00-1.04. The vanadium dopant is VPO4, which has similar anions to FePO4, for higher efficiency. Optionally, cobalt co-doping is used. The synthesis involves mixing the dopants, iron phosphate, l
11. Layered Crystal Structure Cathode Material with Surface-Enriched Transition Metals for Lithium-Ion Batteries
KABUSHIKI KAISHA TOSHIBA, 2024
An active material for lithium-ion battery cathodes that improves cycle life and capacity retention compared to traditional cathode materials. The active material has a layered crystal structure with a composition of Li(Ni, Co, Mn, Mg, Al, K, Na, Ca, Si, Ti, V)O2 where some of the transition metal elements (Nb, Ta) are disproportionately enriched at the surface. This suppresses side reactions and oxygen loss during cycling, reducing capacity fade. The active material also has a specific surface area of 5-50 m2/g. The enriched surface transition metals prevent surface layer formation and improve cycle life compared to traditional cathode materials.
12. Negative Electrode with Micron-Scale Particle Protective Layer for Lithium Metal Batteries
SAMSUNG ELECTRONICS CO., LTD, 2024
Negative electrode for lithium metal batteries with improved cycle life and reduced volumetric change during charging. The negative electrode has a protective layer on the lithium metal surface with particles sizes between 1-100 microns. The protective layer has a Young's modulus of 106 Pa or greater. This provides mechanical strength to prevent dendrite growth and volumetric expansion during charging. The protective layer also improves lithium deposition density compared to bare lithium metal electrodes.
13. All Solid State Battery with Selective Anode Coating for Controlled Resistance Distribution
TOYOTA JIDOSHA KABUSHIKI KAISHA, 2024
An all solid state battery design to prevent short circuits in the anode during charging by controlling the resistance distribution. The battery has a coating layer with lithium titanate on the anode current collector. The coating exists in the region where the anode and cathode are opposing but is omitted in the region where they are not opposed. This helps balance charge reaction progression in both regions. In the opposed region, the coating provides a conductive path to lower anode potential. In the non-opposed region, the coating omission reduces resistance compared to the coated region. This prevents uneven charge reaction progression and minimizes short circuits in the anode.
14. Composite Anode Material with Dendritic and Non-Porous Group 4A Nanoparticles Forming Porous Agglomerates
GEORGIA TECH RESEARCH CORPORATION, 2024
Anode material for lithium-ion batteries that addresses the limitations of pure silicon anodes in improving battery performance. The anode is a composite made of agglomerated nanocomposites where each nanocomposite has a dendritic nanoparticle of silicon or other Group 4A element surrounded by discrete non-porous nanoparticles of the same element. The dendritic nanoparticles interconnect in the agglomerated nanocomposites to form a porous structure. This allows volume expansion of the silicon during charging without separating from the current collector. The composite anode also has improved electrical conductivity compared to pure silicon.
15. Electrode Assembly with Circumferential and Radial Slits for Enhanced Electrolyte Distribution and Contact Area
LG ENERGY SOLUTION, LTD., 2024
Electrode assembly design for batteries to improve electrolyte impregnation and reduce internal resistance. The electrode has slits in the uncoated portions along the circumference and radial direction. These slits allow electrolyte to pass through and uniformly fill the electrode stack. The slits also provide wider contact areas when bent to secure the electrode tabs. This reduces internal resistance and improves coupling strength compared to unslotted electrodes.
16. Lithium Electrode with Dual-Layer Composite Protective Coating for Dendrite Inhibition
LG ENERGY SOLUTION, LTD., 2024
Lithium electrode for batteries with a protective layer to prevent dendrite growth in lithium metal anodes. The protective layer is a composite of two layers: a first layer close to the lithium metal with high ion conductivity, and a second layer further from the lithium metal with high electrical conductivity and mechanical strength. The first layer allows lithium ions to pass and prevents lithium depletion. The second layer transfers electrons to the lithium surface and prevents localized current density. The composite layer structure inhibits dendrite growth and improves battery performance compared to single-layer coatings.
17. Composite Active Material with Nb2TiO7 and Nb-rich Phases for Lithium-ion Battery Negative Electrodes
KABUSHIKI KAISHA TOSHIBA, 2024
Active material for high-performance lithium-ion battery negative electrodes that balances capacity, cycle life, and energy density. The active material contains both Nb2TiO7 and Nb-rich phases like Nb10Ti2O29, Nb14TiO37, and Nb24TiO64. It also has optimized particle size distribution and contains potassium and phosphorus. The Nb-rich phases improve overcharge resistance and cycle life. The potassium and phosphorus help suppress particle growth during synthesis. The particle size distribution is fine enough for good rate performance but not excessively small to prevent cracking during cycling.
18. Lithium-Ion Battery Cathode Additives Comprising Mn+1AXn Compounds for Manganese Dissolution Mitigation
Rivian IP Holdings, LLC, 2024
Additive materials for lithium-ion batteries that prevent or reduce manganese dissolution during charging/discharging cycles. The additive materials are compounds with the general formula Mn+1AXn, where M is an early transition metal, n is 1-3, A is a group 13/14 element, and X is C or N. These MAX compounds have improved thermodynamic stability compared to manganese and can be added to lithium-ion battery cathodes to decrease manganese dissolution in the electrolyte. This improves battery performance by preventing capacity loss and structural changes caused by manganese leaching.
19. Cylindrical Secondary Battery with Specific Electrode Uncoated Shape and Segmented Bent Structure for Current Path Optimization
LG ENERGY SOLUTION, LTD., 2024
Cylindrical secondary battery with reduced internal resistance and improved energy density compared to conventional tab-less batteries. The battery has an electrode assembly where the uncoated portions of the positive and negative electrodes have a specific shape and current path ratio. The uncoated portions have sections that are not used as tabs. The maximum current path ratio through these sections is limited to 11 or less. This prevents excessive resistance buildup when welding the current collectors. The limited ratio allows minimizing resistance while still having large capacity. The battery also has a segmented bent structure for the uncoated portions. This allows overlapping and stacking the segments to provide a wider area for welding the collectors.
20. Lithium Battery with Lithium-Silicon Composite Electrode and Protective Layer
BYD COMPANY LIMITED, 2024
Lithium battery with high energy density and improved cycle life by using a lithium-silicon composite negative electrode. The battery has a lithium-silicon composite negative electrode active material with elemental lithium and a lithium-silicon alloy. The battery also has a protective layer on the negative electrode to suppress side reactions and lithium plating. During charging, the battery is stopped at a lower cutoff voltage where no lithium is deposited on the negative electrode. This prevents dendrite formation and improves cycle life.
21. Electrode Plate with Lithium Replenishing Spaces for Controlled Regional Lithiation
CONTEMPORARY AMPEREX TECHNOLOGY CO., LIMITED, 2024
Electrode plate design for lithium-ion batteries to increase energy density and cycle life by quantitative and precise lithium replenishment. The electrode plate has lithium replenishing spaces with controlled volumes and locations based on the local active material weight. This prevents over- or under-lithiation in thin edges versus thick regions. The lithium replenishing agents are deposited into the spaces during manufacturing. This allows targeted lithium replenishment matching the specific needs of each region.
22. Continuous Reactor Method for Positive Electrode Precursor Formation with Controlled Solid Content and Particle Uniformity
LG Chem, Ltd., 2024
Preparing a high-purity, uniform positive electrode material for lithium-ion batteries with improved thermal stability and reduced particle size distribution. The method involves continuously concentrating the reaction solution in a reactor with filtration while forming the electrode precursor. This allows increasing the solid content at a constant rate by discharging a portion of the reaction solution as it's added. This prevents particle size variations due to simultaneous discharge and input. The resulting precursor has low fine powder content and high aspect ratio for better electrode performance.
23. Negative Electrode Material with Nitrogen-Carbon Coating for Silicon and Tin-Based Anodes
Contemporary Amperex Technology Co., Limited, 2024
Negative electrode material for lithium-ion batteries with improved cycle life and capacity retention for high capacity silicon and tin-based anodes. The material has a coating layer on the outer surface of the core silicon/tin material that contains nitrogen and carbon. The nitrogen content is 0.1-0.66% based on the total mass of the electrode. The coating layer has a nitrogen-carbon bond (-C=N-) and an infrared absorption peak at 1350-1450 cm^-1 with 90-98% transmittance. The coating improves cycle performance compared to bare silicon/tin anodes.
24. Positive Electrode Sheet with Core-Shell Structure of Doped Lithium Manganese Phosphate and Cladding Layers
CONTEMPORARY AMPEREX TECHNOLOGY CO., LIMITED, 2024
A positive electrode sheet for secondary batteries with improved performance and cycle life. The sheet has a core-shell structure for the positive electrode active material. The inner core contains a doped lithium manganese phosphate with elements like Zn, Al, Si, and N. The core is coated with cladding layers of pyrophosphates, phosphates, and carbon. This core-shell design reduces manganese leaching, lattice strain, and improves cycling stability, storage, rate, and safety compared to regular lithium manganese phosphate. The core-shell structure can be used in single-layer or multi-layer positive electrode coatings on battery current collectors.
25. Lithium Nickel-Based Oxide Electrode Material with Zirconium-Enriched Surface Layer
UMICORE, 2024
Lithium nickel-based oxide positive electrode material for solid-state batteries with improved first charge capacity. The material contains Li, Ni, Mn, Co, D, and Zr oxides. The Ni content is 50-85%, Mn and Co are 0-40%, D is 0-2 mol % of other elements, and Zr is 0.1-5 mol %. The Zr content in the surface layer is around 0.1-0.5 at %. This composition and Zr surface enrichment provide a high first charge capacity of at least 160 mAh/g in solid-state batteries.
26. Lithium Nickel-Based Oxide Positive Electrode Material with Zirconium Doping
UMICORE, 2024
Lithium nickel-based oxide positive electrode active material for solid-state batteries in electric vehicles with improved charge capacity. The material contains nickel, cobalt, manganese, optional dopants like aluminum or boron, and zirconium. The nickel content is 50-75 mol %, zirconium is 0.1-5 mol %, and the zirconium content in the surface layer is around 0.1 at %. This composition improves the first charge capacity to at least 160 mAh/g in solid-state batteries. The zirconium-doped lithium nickel oxide provides a higher charge capacity compared to traditional lithium nickel oxide materials in solid-state batteries.
27. Sulfur-Carbon Composite with Defined Sheet-Type Carbon Proportion for Lithium-Sulfur Batteries
LG ENERGY SOLUTION, LTD., 2024
Sulfur-carbon composite for lithium-sulfur batteries that improves performance by containing sheet-type carbon in a specific range. The composite has a sulfur content of 40-95 wt% and carbon content of 5-60 wt%. The sheet-type carbon is present in an amount between 0-50 wt% of the total carbon. This combination provides benefits like improved electron transfer, reduced sulfur leaching, and higher energy density compared to composites without sheet-type carbon.
28. Battery Cell with Full Perimeter Alternating Anode and Cathode Electrode Configuration and Internal Cross Tie Connections
The Boeing Company, 2024
Battery cell design with full perimeter electrodes to distribute electrical and mechanical connections, spread current, and prevent hot spots. The battery cells have alternating anode and cathode electrodes around the perimeter. This allows stacking cells with aligned contacts. Cross ties connect internal electrodes and provide structural support. Selective charging through patterned electrode use moves species uniformly to extend cell life.
29. Vacuum-Assisted Slot Die Coating System with Sensor-Controlled Thickness Regulation for Battery Electrodes
Rivian IP Holdings, LLC, 2024
Controlling thickness variation in battery electrodes during manufacturing using vacuum pressure. The technique involves applying vacuum suction near the slot die coating opening to draw the electrode material onto the current collector as it's being coated. This helps maintain consistent thickness as the material is being applied. The vacuum device is controlled based on sensor feedback measuring the electrode thickness.
30. Electrode Assembly with Thermally Insulated Separators for Lithium-Ion Batteries
CONTEMPORARY AMPEREX TECHNOLOGY CO., LIMITED, 2024
Electrode assembly design for lithium-ion batteries that can raise temperature and improve performance in cold environments. The electrode assembly has thermally insulated separators between the electrode plates. This retains heat within the cell when operating in low temperatures. The insulated separators prevent heat dissipation from the sides or outer layer. This allows the cell to internally self-heat in cold environments, improving capacity and preventing lithium plating. The insulated separators can be made with thermal insulation materials like PTFE and binders like PVDF.
31. Copolymer-Based Dispersant Composite with Specific Monomer Units for Positive Electrode Slurry in Lithium-Ion Batteries
CONTEMPORARY AMPEREX TECHNOLOGY CO., LIMITED, 2024
Dispersant composite for improving processability of positive electrode slurry in lithium-ion battery production. The dispersant contains a copolymer with specific monomer units: first unit represented by formula 1, second unit selected from formulas 2 and 3, and third unit selected from formulas 4 and 5. This copolymer composition enhances dispersion effectiveness of the positive electrode active material in the slurry, reducing viscosity and improving slurry filtration. The dispersant composite also contains a wetting agent to further improve infiltration of the active material into the slurry solvent.
32. Non-aqueous Electrolyte with Heteroaromatic Dicarboxylic Acid Anhydride Additive for Lithium-ion Batteries
TOYOTA JIDOSHA KABUSHIKI KAISHA, 2024
Non-aqueous electrolyte for lithium-ion batteries that contains a specific additive to suppress gas generation during charging and improve cycle life. The additive is a heteroaromatic dicarboxylic acid anhydride, like 2,5-thiadipicolinic anhydride or 2,5-pyrroledipicolinic anhydride. These compounds form a protective coating on the positive electrode surface to prevent decomposition reactions during charging. The additive also reduces environmental risk compared to toxic isocyanates. The electrolyte also contains a fluorine-containing salt, like lithium hexafluorophosphate, and a solvent like ethylene carbonate.
33. Cylindrical Battery Electrode Assembly with Inward Bent Uncoated End Portions for Enhanced Current Collection and Weld Protection
LG ENERGY SOLUTION, LTD., 2024
Electrode assembly design for cylindrical batteries to improve current collection efficiency and prevent damage during welding of the electrode tabs. The electrode assembly has uncoated portions at the ends that are bent inward as the electrode is wound. This bending creates a region where the overlapped uncoated layers exceed 10. This prevents contact between the active material layers during welding since the bending provides clearance. This improves current collection efficiency while reducing resistance and welding-induced damage.
34. Electrodeposited Copper Foils with Controlled Grain Size Gradient and Surface Roughness for Lithium-Ion Battery Applications
CHANG CHUN PETROCHEMICAL CO., LTD., 2024
Copper foils for high capacity lithium-ion batteries with optimized strength and ductility to prevent fracturing during battery manufacturing and cycling. The foils are electrodeposited with a small grain size difference between the deposition side and the opposite side in contact with the electroforming drum. This balance prevents excessive brittleness while maintaining sufficient puncture strength. The foils have puncture strengths of 5-12 MPa for use as battery current collectors. The foils also have surface roughness of 0.8-1.7 μm on the deposition side to facilitate uniform coating of battery active materials.
35. Dual-Layer Negative Electrode with Varied Graphite Orientation for Enhanced Lithium-Ion Battery Performance
Contemporary Amperex Technology Co., Limited, 2024
Negative electrode design for lithium-ion batteries that improves energy density without compromising cycle life or fast charging performance. The negative electrode plate has two layers of negative active material. The lower layer uses natural graphite with a powder orientation index (OI) of 4.0-7.0. The upper layer uses artificial graphite with a lower OI of 2.2-4.2. This configuration improves binding force between the layers and pore structure for faster ion transport. It allows higher film thicknesses for energy density without film stripping or loss of packing.
36. Lithium-Ion Battery with Separate Cells for Single Crystal and Polycrystal Positive Electrode Materials
CONTEMPORARY AMPEREX TECHNOLOGY CO., LIMITED, 2024
Lithium-ion battery with improved cycling life, energy density, and safety by mixing single crystal and polycrystal positive electrode materials in separate cells. The battery has a bare cell cavity with separate cells containing either a single crystal low-nickel positive electrode or a polycrystal high-nickel positive electrode. This allows leveraging the shrinkage property of polycrystal high-nickel materials at high charge levels to reduce stress on the negative electrode and prevent lithium plating. The single crystal low-nickel materials mitigate issues of gas production, safety, and storage degradation at high charge levels.
37. Electrical Energy Storage Module with Ammonia Sensor for Lithium-Metal Nitride Electrode Integrity Detection
RENAULT S.A.S, 2024
Module for storing electrical energy in vehicles that uses lithium-metal nitride negative electrodes in the accumulators. This material decomposes in the presence of air or moisture to release ammonia. The module has an ammonia sensor to detect this decomposition. If ammonia is detected, it indicates an accumulator seal breach and exposure of the negative electrode. This allows proactive replacement of compromised accumulators to prevent thermal runaway. The ammonia sensor in the module complements pressure sensors for battery thermal runaway detection.
38. Lithium-Sulfur Battery with Defined Sulfur to Electrolyte Mass Ratio and Sulfur Loading in Positive Electrode
LG ENERGY SOLUTION, LTD., 2024
Lithium-sulfur battery with improved energy density and power for applications like urban air mobility. The battery has specific ratios of sulfur mass to electrolyte mass and sulfur loading in the positive electrode to achieve both high energy density per weight (300 Wh/kg) and maximum power (2 kW/kg). This allows lithium-sulfur batteries to compete with lithium-ion batteries in terms of energy density while also providing higher power. The battery design involves using a specific range of sulfur mass to electrolyte mass (1≤ES/L≤1.4) and sulfur loading (60-80% sulfur by weight in the positive electrode) to optimize both energy density and power.
39. Glucose Acrylic Acid Derivative Binder for Lithium-Ion Battery Electrodes
CONTEMPORARY AMPEREX TECHNOLOGY CO., LIMITED, 2024
A binder compound for lithium-ion battery electrodes that combines the advantages of water-soluble and oil-based binders. The compound is a glucose acrylic acid derivative with the formula (I): The compound provides good binding properties, stable chemistry, and swelling behavior. It dissolves in water but also has some oil solubility. This allows using water as the solvent for electrode slurry preparation, reducing costs and environmental impact compared to solvents like NMP. The compound can be prepared by reacting glucose and acrylic acid in an aqueous solution with a base catalyst.
40. Electrode Structure with Cellulose-Dispersed Carbon Fiber and Controlled Agglomerate Density for Lithium-Ion Batteries
KABUSHIKI KAISHA TOSHIBA, 2024
Electrode design for high-performance lithium-ion batteries with improved cycle life. The electrode contains an active material, conductive carbon fiber, and cellulose fiber. The cellulose fiber improves dispersion of the carbon fiber in the electrode, reducing agglomeration. The electrode has a maximum density of 2,000 agglomerates per mm^2 on the back surface. The agglomerates contain carbon fiber and cellulose but no active material. They have diameters of 5-10 µm. This dispersed carbon fiber provides conductivity without clumping and degrading cycle performance.
41. Composite Interlayer Comprising Lithium Nitrate, Dimethoxyethane, and Trimethyl Phosphate for Lithium Metal Solid-State Batteries
GM GLOBAL TECHNOLOGY OPERATIONS LLC, 2024
A composite interlayer for lithium metal solid-state batteries to improve cycle life and reduce impedance at the lithium metal/solid electrolyte interface. The interlayer is formed by coating the lithium metal with a mixture of lithium nitrate, dimethoxyethane, and trimethyl phosphate. This coating is applied to the lithium metal for 1-2 hours, then dried to form the interlayer between the lithium metal and solid electrolyte. The interlayer contains an ionic conductor, like lithium nitrate, dispersed in an organic matrix. This composite interlayer suppresses side reactions between lithium metal and the solid electrolyte, reducing impedance, and improves cycle life compared to bare lithium metal.
42. Composite Electrolytes with Inorganic Solid Electrolyte in Polymer Matrix for Lithium-Ion Batteries
QuantumScape Battery, Inc., 2024
Composite electrolytes for lithium-ion batteries with improved stability against dendrite growth and resistance to cracking when used with high-capacity lithium metal anodes. The composite electrolytes have a high volume fraction of inorganic solid electrolyte embedded in an organic polymer matrix. The inorganic component provides ionic conductivity while the polymer prevents dendrite growth and cracks. The composite electrolytes have fracture strengths between 5-250 MPa. The inorganic material can be a lithium-stuffed garnet oxide or antiperovskite oxide. The organic polymer can be entangled with a surface species on the inorganic particles. The composite electrolytes prevent dendrite formation and cycling at high current densities without cracking compared to pure organic electrolytes.
43. Cylindrical Battery Cell with Protruding Tab and Insulated Current Collecting Plate Assembly
LG ENERGY SOLUTION, LTD., 2024
Cylindrical battery cell design for electric vehicles with reduced internal resistance, prevented short circuits, improved energy density and simplified manufacturing. The cell has a jelly-roll electrode assembly with protruding tabs at top and bottom. A current collecting plate is attached to the top tab. An insulating shrink tube covers the plate and jelly-roll end. A cap seals the top. This isolates the exposed tab ends, prevents short circuits, and improves current collection efficiency compared to uncovered tabs.
44. Ternary Cathode Material with Surface Coating and Controlled Particle Size for Lithium-Ion Batteries
CONTEMPORARY AMPEREX TECHNOLOGY CO., LTD., 2024
Positive active material for lithium-ion batteries with reduced gas generation and improved storage performance compared to conventional high-nickel materials. The active material is a ternary cathode with a coating on its surface to mitigate side reactions with the electrolyte. The coating prevents direct contact between the active material and electrolyte, reducing gas generation. The coated active material has a particle size range of 0.5-3 microns to balance compactability and ion transport. The coating elements can be selected from Al, Ba, Zn, Ti, Co, W, Y, Si, Sn, B, and P.
45. Positive Electrode Plate Comprising Lithium Iron Phosphate and Secondary Active Material Mixture for Lithium-Ion Batteries
CONTEMPORARY AMPEREX TECHNOLOGY CO., LIMITED, 2024
Positive electrode plate for lithium-ion batteries with improved capacity retention and accurate remaining power indication. The plate contains a mixture of lithium iron phosphate (LiFePO4) as the primary active material and a secondary active material selected from lithium nickelate, lithium manganate, lithium cobaltate, lithium nickel cobalt manganate, lithium nickel cobalt aluminate, lithium-rich manganese, and lithium vanadium phosphate. The amount of secondary active material is 10-70% by mass based on the total active material. This mixture helps balance internal cell voltages and reduces capacity fade and voltage imbalance compared to pure LiFePO4.
46. Lithium-Ion Battery with Positive Electrode Comprising Lithium Nickel Oxide and Single-Walled Carbon Nanotube Conductive Mixture
LG ENERGY SOLUTION, LTD., 2024
Large capacity lithium-ion battery with improved thermal stability, safety and lifespan for applications like electric vehicles. The battery uses a specific positive electrode composition and design to achieve these benefits. The positive electrode has a lithium nickel oxide active material with single particles or small aggregates instead of conventional large secondary particles. This reduces resistance and gas generation. The electrode also has a conductive mixture of single-walled carbon nanotubes and bundle-type nanotubes. This improves conductivity without degrading lifespan. The electrode plates can have uncoated sections to relieve stress during bending. An insulating layer covers some areas to prevent short circuits.
47. Prismatic Battery Cell with Internal Springs for Accommodating High-Expansion Anode Materials
GM GLOBAL TECHNOLOGY OPERATIONS LLC, 2024
Prismatic battery cell design to enable high-expansion anode materials like lithium metal or high-silicon anodes in prismatic battery cells. The design uses internal springs inside the cell case to mitigate overpressure issues caused by expanding anodes. The springs allow the anode electrode to expand and contract within the cell case while maintaining desired pressure ranges. This prevents excessive expansion that can damage the case or cause internal failures. The internal springs provide a buffer to keep electrode pressures within limits during cycling.
48. Battery Device with Non-Bound Electrode Layers and Integrated Pressurizing Member
Nissan Motor Co., Ltd., 2024
Battery device with improved performance and energy density for lithium-ion batteries using non-bound active materials. The battery has a non-aqueous electrolyte secondary battery with a power generating element containing non-bound positive and negative electrode layers on current collectors. The battery also has a pressurizing member to compress the layered electrodes. This reduces internal resistance and improves cycle life without excessive thickness variations. The pressurization prevents cracking and delamination of the non-bound electrode layers. It enables using non-bound electrodes with better electrical conductivity compared to bound electrodes.
49. Cylindrical Battery with Segmented Tabless Electrode Structure
LG ENERGY SOLUTION, LTD., 2024
Cylindrical battery design with tabless electrodes that improves energy density, reduces resistance, and prevents internal short circuits compared to conventional cylindrical batteries. The design involves segmenting the uncoated electrode tabs into multiple segments that are wound together with the electrode and separator layers. This segmentation allows the tabs to bend without tearing and provides multiple layers of tab material for stronger current collector welding. It also improves electrolyte impregnation by leaving exposed active material between the segments.
50. Electrode Plate with Insulated Current Collector and Dense Support Layer for Lithium-Ion Batteries
CONTEMPORARY AMPEREX TECHNOLOGY CO., LIMITED, 2024
Electrode plate design for lithium-ion batteries that reduces internal short circuiting and improves safety and performance compared to conventional metal foil current collectors. The electrode plate has a current collector with an insulation layer covering the welding region where the electrical connection is made. This prevents slag and particulates from falling through and shorting the battery during welding. The insulation layer is on the opposite side of the active material layer. The current collector has a dense support layer and an electrically conductive layer on it. This allows reliable electrical connection without the need for a separate metal tab. The dense layers prevent welding through the current collector during connection. The insulation layer on the back prevents welding debris from falling into the battery.
Get Full Report
Access our comprehensive collection of 997 documents related to this technology
Identify Key Areas of Innovation in 2025

