Tesla's Battery Thermal Management (BTMS) Technology
Tesla's battery packs operate across demanding thermal conditions, managing heat loads that can exceed 12kW during rapid charging and varying ambient temperatures from -30°C to 45°C. The thermal management system must maintain optimal cell temperatures while handling both routine heat generation and potential thermal events that can cascade through thousands of cells in minutes.
The fundamental challenge lies in balancing rapid heat extraction for performance with the reliability, safety, and energy efficiency demands of a mass-produced electric vehicle.
This page brings together solutions from recent research—including integrated heat exchanger designs, predictive thermal conditioning, multi-mode cooling valves, and passive safety systems for thermal events. These and other approaches demonstrate how Tesla addresses thermal management across normal operation, fast charging, and emergency scenarios while maintaining system simplicity.
1. Battery Pack Coolant Ingress System with Fill Port Access and Breach-Sealing Mechanism
Tesla, Inc., 2021
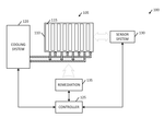
A system for providing coolant ingress into an electric vehicle battery pack during internal thermal events to mitigate chain reactions. The system has a fill port access mechanism that allows water or other coolant to be directed into the battery pack through a breach made in the enclosure wall. The breach is created using a specialized tool that pierces the enclosure without damaging it. This allows responders to introduce coolant into the pack during emergencies where the normal fill port is unavailable. The breach is sealed after coolant ingress to prevent ongoing ingress.
2. Electric Vehicle Battery Enclosure with High Voltage Electrolysis Detection and Response System
Tesla, Inc., 2020
Detecting and responding to high voltage electrolysis within an electric vehicle battery enclosure to limit possible excessive thermal conditions and prevent runaway thermal events. The system detects high voltage electrolysis, such as coolant bridging terminals and electrolysis, and responds by stopping the energy driving the electrolysis and lowering the coolant boiling point to prevent runaway thermal conditions. This mitigates risks from electrolysis-induced thermal runaway and hydrogen buildup in the battery pack.
3. Integrated Battery Pack Enclosure with Dual-Mode Heat Exchanger and Thermally Coupled Base Plate
Tesla, Inc., 2019
Integrated battery pack heat exchanger system for electric vehicles that provides efficient heat transfer while utilizing vehicle surfaces. The system involves integrating the heat exchanger into the battery pack enclosure that is mounted under the vehicle floor. The heat exchanger conduits are thermally coupled to the inside surface of the enclosure base plate. When the thermal management system configures the system into the first operational mode, the heat exchanger is coupled to the batteries. In the second operational mode, it is decoupled. This allows the base plate exposed to ambient air flow during vehicle motion to act as a large heat transfer surface. A blower fan can be used to direct air over the base plate.
4. Vehicle Thermal Management System with Adjustable Coolant Bypass Valve for Heat Exchanger Flow Regulation
TESLA, INC., 2019
A vehicle thermal management system that allows precise control of heat rejection from the battery coolant to the refrigeration system. The system uses a bypass valve in the coolant loop that allows splitting the coolant flow between directly passing through the heat exchanger and bypassing it. This allows regulating the coolant flow through the heat exchanger based on coolant temperature, battery pack temperature, or other factors. The bypassing reduces heat transfer if the coolant is already cool enough, preventing excessive heat rejection to the refrigeration system. The system continuously monitors coolant temperature and adjusts the bypass valve to maintain optimal coolant temperatures.
5. Heatsink Assembly with Interlocking Staggered Fins for Enhanced Liquid Cooling
Tesla, Inc., 2019
Heatsink design for liquid cooling of electronic components with internal fins that improve cooling performance. The heatsink has two cast parts, one with fins extending into an internal cavity and the other with fins that fit between the first part's fins. An inlet and outlet are on either part. The staggered fin arrangement allows efficient cooling by overlapping fin arrays. The internal cavity provides a contained path for liquid cooling. The cast fins can have drafts to aid manufacturing.
6. Passive Drain Device with Coolant-Reactive Expanding Element for Electric Vehicle Battery Enclosures
TESLA, INC., 2018
Self-activating drain system for electric vehicle battery packs to automatically remove leaked coolant without human intervention. The system uses a passive drain device with a dissolvable element that reacts to the coolant and expands to open a valve and drain the leaked coolant. The device is installed in the battery pack enclosure wall and seals tightly when coolant is present. If coolant leaks, the expanding element opens the valve to drain the leaked coolant. This protects the battery internals from coming into contact with coolant if the cooling system fails.
7. Battery Pack Cooling System with Flat Evaporator Heat Pipes for Direct Cell Contact
Tesla, Inc., 2017
A compact and efficient cooling solution for battery packs in electric vehicles. The cooling uses heat pipes with flat evaporators that contact the cell second ends. The cells are arranged with aligned second ends to maximize contact between the heat pipes and cells. This provides direct heat transfer from the cells to the heat pipes without intermediary cooling fluid. The heat pipes can then transfer the heat to an external heat sink or radiator. This eliminates the need for cooling fluid connections inside the battery pack and simplifies cooling system design.
8. Battery Pack System with Predictive Charge Rate Identification and Adaptive Temperature Profiling
TESLA, INC., 2017
Early identification of an impending fast-charge opportunity for battery packs in electric vehicles and using that information to prepare the batteries for fast-charging. The system predicts if an upcoming charge will be fast or slow, and adjusts the battery temperature profile accordingly. For fast charging, the temperature is raised above the standard operating temperature to improve performance. For slow charging, the temperature is lowered to preserve lifetime. This allows optimizing battery temperature for specific charge rates.
9. Automated Charging System with Dynamic Rate Adjustment for Low-Temperature Lithium-Ion Batteries
Tesla, Inc., 2017
Automated low temperature fast charging system for lithium-ion batteries that enables fast charging at cold temperatures without risk of lithium plating damage. The system monitors critical parameters periodically and dynamically scales the charging rate based on those parameters. If the parameters allow, it uses a high rate charging process. If not, it uses a slower rate charging process that won't cause plating. This allows charging at low temperatures without disabling fast charging.
10. Energy Storage Pack with Scalloped Cooling Tubes and Curved Internal Ribs for Battery Modules
Tesla Motors, Inc., 2017
Energy storage pack design with improved thermal management for battery modules. The pack uses scalloped cooling tubes that connect between cells instead of having the cells directly attach to the module housing. This allows curing the adhesive between cells and tubes using radiation. Areas shielded from radiation are cured using a secondary mechanism. The scalloped tubes also have curved or slanted internal ribs for easier manufacturing and better thermal performance with bends. The flexible module design allows using different cell types, orientations, and placeholders.
11. Vortex Separator System for Debris and Gas Management in Electrochemical Cell Enclosures
Tesla Motors, Inc., 2016
Containing and separating debris and gases during thermal runaway events in electrochemical cells like batteries to prevent ignition. The system uses a vortex separator inside the battery enclosure with an inlet from the battery chimney and outlets to the outside and a catch basin. During a thermal runaway, particles ejected by the cell are confined in the catch basin while the gases escape through the vortex separator. This prevents sparks from contacting the gases and potentially igniting.
12. Battery Pack Thermal Conditioning System with External Fluid Loop and Adaptive Temperature Control During Charging
Tesla Motors, Inc., 2016
System for thermally conditioning an electric vehicle's battery pack during charging to maintain optimal temperature. The system involves providing external cooling or heating to the battery pack while charging, based on information received from the vehicle about its battery temperature. This allows customized thermal management during charging, which can be different from driving conditions. The external cooling/heating can be provided using a separate fluid loop with an arm extending into the vehicle to connect to the battery pack. This allows more targeted thermal conditioning compared to relying solely on the vehicle's internal cooling system.
13. Manufacturing Method for Lithium-Ion Cells Using Liquid-Based Thermal Conditioning System
Tesla Motors, Inc., 2016
A manufacturing method for lithium-ion cells that improves efficiency and accuracy by using a liquid-based thermal system to condition the cells during various stages of assembly and testing. The method involves storing cells in contact with a liquid thermal system after assembly, circulating liquid at a first temperature, then cooling to a second lower temperature before testing. This allows even heating and cooling for more accurate capacity checks. The cells are discarded or kept based on open circuit voltage tests at different temperatures.
14. Series-Connected Battery Pack Management with Dual-Modality Exceptional Charge Event Detection and Response Mechanisms
Tesla Motors, Inc., 2016
Detecting and responding to exceptional charge events in series-connected battery packs to prevent overcharge and overdischarge in individual cells. The method involves detecting exceptional charge events using different modalities for steady state and transient charging conditions. Steady state detection involves analyzing statistical parameters over time. Transient detection looks for deviations in cell characteristics during fast charge/discharge. Responses to exceptional charge events include preventing further charging, increasing cooling, and limiting future charging.
15. Automotive Thermal Management System with Non-Stacked Heat Exchanger Configuration and Adjustable Airflow Louvers
Tesla Motors, Inc., 2016
An automotive thermal management system with improved cooling efficiency and reduced fan power compared to stacked heat exchangers. The system has multiple heat exchangers arranged in a non-stacked configuration with separate inlets and adjustable louvers. An airflow duct connects some heat exchangers. Louvers control airflow between heat exchangers in the duct. This allows optimized cooling by selectively routing air based on temperature and need. It prevents hotter upstream air affecting downstream heat exchangers. The non-stacked layout reduces overall fan power by avoiding ducting air through all exchangers.
16. Multi-Element Battery Pack with Charge State Detection and Remediation Mechanism
Tesla Motors, Inc., 2015
Detecting and remediating exceptional charge states in individual battery elements of a multi-element battery pack to prevent overcharging and overdischarging. The method involves monitoring charge-dependent parameters of each battery element during operation to establish a normal charge characteristic pattern. An exceptional charge event is detected when a battery element's charge pattern deviates from normal during a time segment where it should match. This indicates an imbalance that could lead to overcharge or overdischarge. Responses include preventing charging, increasing cooling, or limiting future charging to prevent further imbalance.
17. Battery Pack Thermal Runaway Mitigation System with Temperature-Activated Fluid Conduit
Tesla Motors, Inc., 2015
Mitigating the effects of thermal runaway in battery packs to prevent propagation and contain thermal events. The system uses a fluid-filled conduit around the cells that forms breaches when cells reach a threshold temperature. This discharges the fluid onto the hot cells to cool them and stabilize temperatures. It can also have pumps, valves, sensors, and gas sources to actively cool cells and breach the conduit. The fluid can be liquid, gas, or expanding foam.
18. Sealed Battery Pack Pressure Monitoring System with Exponential Decay Analysis for Thermal Runaway Detection
Tesla Motors, Inc., 2015
Early detection of thermal runaway events in sealed battery packs to quickly respond before propagation. The method involves monitoring pressure within the pack and analyzing pressure anomalies. Pressure peaks with anomalies are fitted with curves. If the trailing edge curves show exponential decay with a specific time constant range, it indicates thermal runaway. A response is triggered for that pack. Fitting and time constant checking distinguishes true runaway from false positives caused by vibration, altitude, etc.
19. Battery Arrangement System with Rigid Substrate Sandwiching and Opposing Flow Cooling Channels
Tesla Motors, Inc., 2015
A system for arranging multiple batteries in a stable and resilient configuration to improve reliability, thermal management, and packing density compared to stacking batteries. The batteries are sandwiched between rigid substrates to distribute force and prevent crushing. Conductors draw power and connect the batteries in parallel/series. Holes in the substrates prevent shorting. Cooling channels run between the batteries and adjacent tubes flow in opposite directions to maintain constant temperature.
20. Battery Pack Monitoring System with Electrical Isolation Resistance Detection for Thermal Runaway Precursors
Tesla Motors, Inc., 2015
Early detection of thermal runaway events in battery packs to mitigate fire risks and damage. The system monitors the electrical isolation resistance of the battery pack. When the resistance falls below a threshold, indicating cell failure, it triggers a response. The response may include warning indicators, reducing load, increasing cooling, and fire containment. The response is based on factors like fall-off rate, time to recovery, and secondary effects like voltage drop, temperature rise, or humidity increase. This allows detecting thermal runaway precursors and taking action before gas escapes.
21. Battery Pack with Enhanced Heat-Conductive Cell-to-Cell Interconnection Tabs
Tesla Motors, Inc., 2015
Battery pack design for electric vehicles that improves pack cooling and life by reducing heating during charging and discharging. The design involves a unique cell-to-cell interconnection tab configuration that provides improved heat conduction between cells to help equalize temperatures. The tabs are sized to balance conductivity and mechanical integrity. This reduces hot spots and improves pack cooling compared to conventional tab designs. By equalizing cell temperatures, it improves battery life.
22. Motor Controller with Dual Operating Modes for Intentional Power Dissipation in Electric Vehicles
Tesla Motors, Inc., 2015
Mitigating cold weather performance degradation of electric vehicles (EVs) by intentionally dissipating power as heat in certain conditions. The method involves using a motor controller with two operating modes: optimal efficiency mode and intentional dissipation mode. In optimal mode, the controller generates motor commands to operate the motor at maximum efficiency for a given torque. In dissipation mode, the controller generates motor commands to intentionally waste power as heat, independent of torque. This is done by using a higher flux reference than optimal efficiency. The excess power dissipation is controlled based on battery charge level and inverter/motor limits. This provides a way to generate heat when needed, like in cold climates, by intentionally wasting power rather than relying solely on motor losses.
23. Battery Pack with Thermally Isolated Preselected Cell for Enhanced Short Circuit Safety
Tesla Motors, Inc., 2015
Battery pack design that mitigates the risks of thermal runaway propagation in case of an internal short circuit. The battery pack has a preselected cell that is thermally isolated from the other cells. The preselected cell has a higher temperature internal short circuit safety mechanism than the other cells. This allows current to be safely interrupted in the preselected cell at a higher temperature than the other cells. The thermal isolation prevents excessive heating from spreading to the other cells. The isolation can be an enclosure with materials like ceramic, intumescent coatings, or phase change materials.
24. Clamshell Battery Housing with Integrated Cooling Channels and Cell-Contact Depressions
Tesla Motors, Inc., 2014
A clamshell battery housing with integrated cooling channels to improve thermal efficiency and simplify manufacturing compared to separate cooling components. The housing has depressions to hold the battery cells and walls defining integrated cooling channels for circulating coolant directly contacting the cell sides and ends. This eliminates the need for separate cooling components between cells, reducing resistance and contact points. The housing also allows stacking of modules without external manifolds.
25. Battery Pack Temperature Control System with Post-Shutdown Active Cooling Based on Temperature and Charge State
Tesla Motors, Inc., 2014
Efficiently controlling the temperature of the battery pack in electric vehicles to extend battery life without adding excessive costs. The method involves actively cooling the battery pack after the vehicle is turned off, even if it's not plugged in. The cooling technique selected is based on the battery temperature and state of charge. This prevents overheating that degrades battery life when parked. Steps include monitoring vehicle state, determining battery temperature, comparing to thresholds, and activating cooling systems accordingly. The cooling methods range from simple loops to refrigeration.
26. System for Monitoring and Controlling Electrolysis in Electric Vehicle Battery Packs Using Multi-Parameter Sensor Data
Tesla Motors, Inc., 2014
Detecting and remediating high voltage electrolysis in electric vehicle battery packs to prevent thermal runaway and hydrogen gas buildup. The system uses sensors to monitor parameters like humidity, hydrogen, temperature, pressure, current, and coolant flow rate. It detects electrolysis based on predetermined patterns in sensor data. If electrolysis is detected, it responds by stopping charging, reducing voltage, increasing cooling, and lowering coolant boiling point to prevent runaway thermal conditions.
27. Battery Cooling System with Pliable Fingered Thermal Interface Layer Between Cooling Tubes and Battery Rows
Tesla Motors, Inc., 2014
Battery cooling system that improves manufacturability and performance of battery packs for electric vehicles. The cooling system uses a thermal interface layer between cooling tubes and battery rows. The layer has pliable fingers that deflect and contact the battery cells. This allows the tubes to be closer to the cells for better cooling without risk of shorting. The fingers also reduce forces on the tubes during pack assembly. The interface layer has properties like high dielectric strength, thermal conductivity, and low friction. It can be attached to the tubes using adhesive.
28. Series-Connected Battery Pack with Dual-Modal Detection and Remediation of Exceptional Charge Events
Tesla Motors, Inc., 2014
Detection and remediation of exceptional charge events in series-connected battery packs to prevent overcharge and overdischarge of individual cells. The system uses two detection modalities: one for overall charge imbalance and another for exceptional charge events in specific cells. Responses include reducing charge imbalance, limiting charging, increasing cooling, and preventing further charging for overdischarge events. The dual detection and customized responses address exceptional charge events that can bypass normal balancing systems due to measurement errors.
29. Battery Thermal Management System with Shape Memory Alloy-Activated Exhaust Nozzle Seal
Tesla Motors, Inc., 2014
Thermal management system for batteries to mitigate the risks and hazards of thermal runaway events. The system has an exhaust nozzle that directs hot gas out of the battery pack during a runaway. A seal retains the nozzle closed during normal operation. An SMA retaining member captures the seal and seals the nozzle. During a runaway, the SMA transforms and releases the seal, allowing it to eject and open the nozzle for controlled exhaust. This prevents internal pressure buildup and prevents gas release into the pack. The SMA activation can be passive or active heating.
30. Battery Cooling System with Segregated Cell Enclosure and Customized Coolant Flow Paths
Tesla Motors, Inc., 2014
A battery cooling system that improves manufacturability and performance of battery packs used in electric vehicles. The cooling system uses a hollow enclosure with cell apertures and segregation walls to separate cells into groups. Coolant flows through the enclosure to cool the cells. This allows customized cooling for each cell group based on their thermal characteristics. It also prevents thermal runaway from spreading between cells. The enclosure can have features like flow control walls and temperature sensors. It improves cooling efficiency and reduces risk of thermal runaway compared to systems with shared coolant loops.
31. Electric Vehicle Battery Pack Over-Current Detection Using Series Element Voltage Pattern Analysis
Tesla Motors, Inc., 2013
Detecting and responding to potentially hazardous over-current due to internal short circuit in electric vehicle battery packs to prevent excessive heating and thermal runaway. The detection involves comparing patterns of series element voltages to identify if contiguous elements uniformly drop from the previous balanced condition, indicating an over-current short. The response involves summoning maximum cooling capacity to prevent heating until the short ceases or pack drains.
32. Liquid Cooling Manifold with Passive Air Removal Channel for Gas Accumulation Prevention
TESLA MOTORS, INC., 2013
Passive air removal from a liquid cooling manifold to prevent gas accumulation and improve cooling effectiveness. The system uses a bleed structure with a channel connecting the manifold to an area outside the sealed housing. The channel has one end in the manifold where air accumulates due to buoyancy and the other end in an area with lower pressure. The pressure differential causes the air to move passively through the channel and exit the housing, preventing it from interfering with cooling. This allows air to be removed from the manifold without active purging or changes to the cooling circuit layout.
33. Sealed Battery Pack with Pressure-Activated Exhaust Port and Angled Ejecta Duct for Thermal Runaway Mitigation
Tesla Motors, Inc., 2013
System to mitigate the effects and hazards of battery thermal runaway by controlling the egress of hot gas and debris. It involves a sealed battery pack with an exhaust port and valves that unseal during runaway pressure. A valve retention plate covers the port and has retention plate ports. Elastomeric valves seal the plate ports normally. During runaway, the hot gas melts and ejects the plate, unsealing the exhaust port. An angled duct inside the pack directs the expelled hot gas and debris away from the battery pack. This aims to prevent collateral damage and propagation by guiding the ejecta away from the pack and vehicle.
34. Battery Pack Temperature Control System with Ambient-Dependent Coolant Circulation Mechanism
Tesla Motors, Inc., 2013
Efficiently controlling the temperature of an electric vehicle's battery pack after the vehicle is turned off to extend battery life without incurring excessive costs. The method involves circulating coolant through the battery cooling system if the ambient temperature is lower than the battery temperature, but suspending coolant circulation if the ambient temperature is higher. This prevents overcooling when the battery temperature is already low. The ambient temperature is monitored and compared to a preset temperature based on the battery's temperature. This allows controlled temperature management after the vehicle is turned off without continually circulating coolant.
35. Battery Pack with Compartmentalized Vent Assemblies and Pressure Equalization System
Tesla Motors, Inc., 2013
Battery pack design to mitigate thermal runaway hazards in electric vehicle batteries. The battery pack has multiple sealed compartments, each with a vent assembly containing an elastomeric valve. Under normal conditions, the valves seal the compartment exhaust ports. But if a battery inside overheats, the valve cracks open to vent hot gases safely through an exhaust guide. This prevents pressure buildup, compartment failure, and spontaneous ignition. The pack enclosure also has a lower-pressure equalization valve to balance compartment pressures. This prevents catastrophic pack rupture if one cell fails.
36. Battery Pack with Thermal Barrier Elements for Isolating Cell Groups
Tesla Motors, Inc., 2013
Containing thermal runaway in battery packs to prevent cascading failures and minimize damage and hazards. The pack is divided into multiple cell groups using thermal barrier elements. These elements prevent thermal runaway in one group from propagating to adjacent groups. The barriers have high melting points, low thermal conductivity, and can contain cooling fluid. They can be sandwiched layers or central regions. This limits thermal spread if a cell group fails, reducing pack and collateral damage.
37. Cooling Manifold Assembly with Overmolded Thermal Interface Layer and Pliable Fingers for Battery Packs
Tesla Motors, Inc., 2013
A cooling manifold assembly for battery packs that improves thermal management and manufacturing of battery packs. It involves using a coolant tube interposed between adjacent rows of batteries with a thermal interface layer overmolded on it. The layer has pliable fingers extending between the tube and batteries to make thermal contact. This allows the coolant tube to be positioned between rows without electrical insulation or extra spacing. The fingers deflect and contact the batteries for cooling. The interface layer has properties like high dielectric strength, thermal conductivity, and low friction to enable this direct contact cooling.
38. Battery Pack with Rigid Insulating Spacers for Thermal Runaway Mitigation
Tesla Motors, Inc., 2013
Preventing thermal runaway propagation in battery packs by using spacers between cells to maintain their separation and position during thermal events. The spacers are rigid, insulating, and have a higher melting point than the cell mounting brackets. They prevent cell movement and collapse when brackets melt during runaway, which can bridge cells and conduct heat. The spacers are independent from the brackets and fit between cells to keep them spaced and prevent runaway propagation.
39. Power Source with Dynamic Heating Element Control Based on Voltage Offset Comparison
Tesla Motors, Inc., 2013
Intelligent power source for battery charging that optimizes charging efficiency and battery life by dynamically controlling an external heating element during charging. The system compares the battery voltage to a line voltage offset, calculated based on a voltage added to the line voltage. If the battery voltage is less than the offset, it couples the heating element in series with the charging source. This provides heat to the battery cells during charging to improve performance and cycle life. If the battery voltage is above the offset, it bypasses the heating element. This prevents unnecessary heat generation during normal charging.
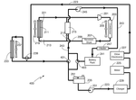
40. Thermal Management System with Dual Mode Valve for Configurable Coolant Loops in Electric Vehicles
Tesla Motors, Inc., 2013
Thermal management system for electric vehicles with optimized cooling and heating of battery packs and drive train components. The system allows flexible configuration of coolant loops for the battery pack and drive train using a dual mode valve that can switch between parallel or series operation. This enables optimized cooling/heating based on ambient conditions and component requirements. When parallel, each loop circulates separately. When series, the battery loop first then drive train loop. This allows selective coupling/decoupling of the reservoir, refrigeration, heater, and radiator to provide optimal thermal management.
41. Electric Vehicle Battery Pack System with Low Voltage Electrolysis Detection and Remediation Mechanisms
TESLA MOTORS, INC., 2013
Detecting and responding to low voltage electrolysis inside electric vehicle battery packs to prevent hazardous hydrogen gas buildup. The system uses sensors like hydrogen, voltage, current, and immersion sensors to detect low voltage electrolysis. If electrolysis is likely, it activates remediation like stopping coolant flow, purging flammable gas, and adding inert gas to displace oxygen. This prevents explosive hydrogen concentrations from leaks or ingress of conductive fluids.
42. Battery Pack Enclosure with Thermal Runaway Pressure Relief Port and High-Temperature Containment Layers
Tesla Motors, Inc., 2013
System to mitigate risks during battery pack thermal runaway in electric vehicles. The system has a failure port in the pack enclosure that stays closed during normal operation but opens during runaway. This allows hot gas to escape instead of building up pressure. The port has a thinner weaker section that fails first, preventing the whole enclosure from melting. The enclosure material has high melting point layers to contain runaway heat. A channel directs exhaust away from passenger compartment. Insulation and fire retardant layers further protect.
43. Battery Cell with Secondary Can for Controlled Gas Venting During Thermal Runaway
Tesla Motors, Inc., 2013
Battery design to prevent cell-to-cell propagation of thermal runaway. The design involves adding a pre-formed secondary can around the battery cell case that inhibits gas escaping through the cell walls during thermal runaway. The secondary can is made of high yield strength materials that resist perforation. This forces gas to exit through the cell ends instead of side walls, reducing collateral damage.
44. Battery Pack Enclosure with Sealed Cavities and Removable Exhaust Port for Thermal Runaway Management
Tesla Motors, Inc., 2012
Thermal management system for mitigating the effects of thermal runaway in battery packs. The system uses an airtight enclosure with cavities in the sides and a removable exhaust port cover. During normal operation, the cavities are sealed. If a battery venting gas, it enters the cavities and is directed out through the open exhaust port. This prevents gas from escaping into the pack interior or enclosure, reducing the risk of spontaneous combustion. The exhaust port can be a cap with a melting valve or cover that seals normally but opens during high pressure. The cavities can also have internal barriers to isolate groups of batteries. This allows thermal energy to flow between them, preventing propagation. The pack is also coupled to an external thermal mass to absorb and radiate heat from the cavities.
45. Battery Cooling System with Contoured Manifold and Dual Layer Thermal Interface
Tesla Motors, Inc., 2012
A battery cooling system with improved manufacturability for battery packs. The cooling system uses a contoured manifold assembly with a dual layer thermal interface. The manifold has coolant channels matching the cell row curvature. The inner layer of the interface is compressible silicone with low modulus and high thermal conductivity. The outer layer is a dielectric material with high breakdown voltage, tear resistance, low friction, and flexibility. This allows easy insertion between cells and coolant channels without shorting. The compressible inner layer conforms to cell shapes and the outer layer seals against cells while allowing coolant flow. The dual layer interface improves manufacturability by eliminating the need for custom thermally conductive interfaces between cells and coolant channels.
46. Multi-Cell Battery Pack with Intumescent Coating for Thermal Runaway Containment
Tesla Motors, Inc., 2012
Battery design to prevent thermal runaway propagation in multi-cell battery packs. The battery assembly has a layer of intumescent material applied directly to the cell casing walls and bottom, except around contact points with the cell cap. The intumescent material absorbs heat and expands when it reaches a certain temperature during cell overheating. This delays perforation and provides a barrier to prevent thermal runaway from spreading to adjacent cells. The intumescent coating also contains escaping gas and directs heat away from the cell.
47. Battery Pack Enclosure with Selectively Permeable Fill Port for Controlled Water Ingress
TESLA MOTORS, INC., 2012
A system for safely cooling high-energy battery packs during thermal runaway events to prevent chain reactions and explosions. The system allows water ingress into the battery enclosure through a selectively permeable fill port. The port has an obstruction that allows water to enter while preventing gas escape. This allows controlled water flooding of the battery pack to cool overheated cells and stop runaway reactions. The fill port is positioned clear of hot gases. The enclosure is reinforced to protect against mechanical damage.
48. Battery Pack with Impedance-Controlled Fuses and Arc Suppression Features
Tesla Motors, Inc., 2012
Battery pack design to mitigate arcing during short circuits and prevent thermal runaway. The pack has cells connected in parallel with impedance-controlled fuses. The fuses for cells other than the last one to short circuit have higher impedance. This ensures they blow first, leaving the last cell's fuse as the final interconnect to fuse. Techniques like isolation structures, arc deflection, and current draw-away are used to suppress arcing in this critical fuse.
49. Optical Fiber-Based Thermal Event Detection System for Batteries with Light Attenuation Monitoring
Tesla Motors, Inc., 2012
A system for detecting thermal events in batteries like lithium-ion batteries to prevent runaway and fires. The system uses optical fibers placed near the battery surfaces to monitor light transmission. A light source shines through the fiber, and a detector measures the transmitted light. During a thermal event, the fiber attenuates or blocks light, indicating battery overheating. This allows early detection and response before full runaway. The system can use filters, splitters, and multiple fibers to isolate fiber health.
50. Battery Thermal Event Detection System with Conductive Members Exhibiting Temperature-Dependent Resistance Changes
Tesla Motors, Inc., 2011
Detecting thermal events in batteries to provide early warning of potential failures and prevent collateral damage. The system uses conductive members in contact with the battery surface to monitor temperature. If the battery temperature exceeds a predetermined threshold outside the normal range, the conductivity of the member changes. This is detected by measuring resistance to signal a thermal event. The conductive members can be severed or have varying resistance when temperature rises. This provides an early warning before full thermal runaway to enable mitigation actions like cooling or isolation.
Get Full Report
Access our comprehensive collection of 63 documents related to this technology
Identify Key Areas of Innovation in 2025

