LLZO Solid Electrolyte for Lithium-Ion Batteries
Lithium lanthanum zirconate (LLZO) garnet-structured solid electrolytes present significant processing challenges in achieving both high ionic conductivity and structural integrity. Current materials demonstrate conductivities of 10^-4 to 10^-3 S/cm at room temperature, yet conventional synthesis requires sintering temperatures between 1125-1230°C that can compromise phase stability. Meanwhile, electrode-electrolyte interfaces exhibit resistance values orders of magnitude higher than the bulk electrolyte, creating performance bottlenecks in real-world cells.
The fundamental challenge lies in balancing the cubic phase stability and microstructural control of LLZO while developing manufacturing methods compatible with existing battery production infrastructure.
This page brings together solutions from recent research—including controlled low-temperature sintering processes, polymer matrix-assisted synthesis of nanocrystals, high-temperature atomic layer deposition for conformal films, and strategic dopant incorporation for enhanced conductivity. These and other approaches demonstrate pathways to commercialization through scalable manufacturing techniques that preserve the material's desirable electrochemical properties while addressing practical implementation hurdles.
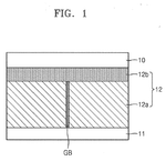
1. Solid-State Lithium-Ion Battery with Garnet-Structured LLZO Solid Electrolyte and Controlled Low-Temperature Sintering Process
SK ON CO LTD, 2024
Solid-state lithium-ion battery with enhanced safety and performance through the use of garnet-structured lithium lanthanum zirconium oxide (LLZO) solid electrolyte. The battery features a solid electrolyte that eliminates the traditional liquid electrolyte, allowing for improved safety and structural integrity. The solid electrolyte is fabricated through a controlled sintering process at lower temperatures (900-1200°C) compared to conventional liquid electrolyte processing, enabling densification and maintaining the crystal structure integrity of the LLZO material. This results in improved ionic conductivity, stability, and overall performance characteristics compared to traditional liquid electrolyte-based batteries.
2. High-Temperature Atomic Layer Deposition of Conformal Lithium Lanthanum Zirconate Thin Films on Three-Dimensional Substrates
ARIZONA BOARD OF REGENTS ON BEHALF OF ARIZONA STATE UNIVERSITY, 2023
Fabricating conformal lithium lanthanum zirconate (LLZO) thin films on 3D substrates using a novel, high-temperature ALD process that enables direct deposition of LLZO onto complex geometries. The method involves heating a solution containing lithium and lanthanum salts to form a molten salt mixture, which is then deposited onto the substrate using ALD. The resulting LLZO film maintains its crystalline structure and high ionic conductivity despite the substrate's complex morphology, making it suitable for 3D battery architectures.
3. Polymer Matrix-Assisted Synthesis of Cubic Lithium Lanthanum Zirconate Nanocrystals
ARIZONA BOARD OF REGENTS ON BEHALF OF ARIZONA STATE UNIVERSITY, 2023
A novel synthesis method for cubic lithium lanthanum zirconate (LLZO) nanocrystals that eliminates the need for carbonaceous foam formation and conventional calcination. The synthesis involves a polymer-based precursor solution where metal salts dissolve in a polymer matrix, allowing homogeneous dispersion of the precursors through controlled drying. This approach enables the formation of nanosized cubic LLZO particles through pyrolysis of the polymer matrix, without the need for traditional carbonaceous foaming or calcination steps.
4. Method for Depositing Conformal Lithium Lanthanum Zirconate Thin Films on 3D Substrates Using Molten Salt Reaction
Candace Chan, 2022
Fabricating conformal lithium lanthanum zirconate (LLZO) thin films on 3D architectures for high energy and power applications. The method involves depositing LLZO onto a substrate using a controlled reaction between lithium and lanthanum precursors in a molten salt bath, followed by cooling to form a solid-state lithium lanthanum zirconate coating. The process enables the deposition of high-quality LLZO films on 3D substrates with channel voids, achieving superior ionic conductivity compared to conventional vapor deposition methods.
5. Li7La3Zr2O12-Based Solid Electrolyte with Ba and Nb Doping for Reduced Sintering Temperature
ANHUI YANSHITONG MATERIAL SCIENCE AND TECHNOLOGY CO LTD, 2022
Solid electrolyte for lithium-ion batteries with improved thermal stability and reduced sintering temperature. The electrolyte consists of Li7La3Zr2O12, with a specific composition of Li6.54La2.96Ba0.04Zr1.5Nb0.5O12. The composition is optimized for low sintering temperature (around 800-900°C) while maintaining high lithium ion conductivity. The electrolyte preparation method involves a controlled reaction between lithium salts and the oxide precursor, which produces a uniform solid electrolyte with minimal grain boundary formation.
6. Lithium-Garnet Composite Ceramic Electrolyte with Grain Boundary Bonding and Metal Oxide Secondary Phase
CORNING INC, 2022
Lithium-garnet composite ceramic electrolyte for solid-state lithium metal batteries that enhances critical current density through a novel grain boundary bonding mechanism. The electrolyte comprises a lithium-garnet primary phase with a grain growth inhibitor secondary phase containing metal oxides in the range of 0.1 wt% to 10 wt%. The secondary phase is formed through a combination of air carbonation and acid treatment, and is incorporated into the garnet lattice. The resulting composite exhibits improved conductivity and density compared to conventional garnet-based electrolytes, with a relative density of at least 90% of the theoretical maximum density.
7. Lithium Lanthanum Zirconium Oxide and Lithium Cobalt Oxide Composite with Layered Structure
HANGZHOU ZHONGDA NEW ENERGY MATERIALS CO LTD, 杭州众达新能源材料有限公司, 2022
Lithium lanthanum zirconium oxide/lithium cobalt oxide composite material and preparation method for solid-state lithium batteries. The composite material comprises a lithium lanthanum zirconium oxide layer with a lithium cobalt oxide layer coating, where the lithium lanthanum zirconium oxide layer is formed from pure phase lithium lanthanum zirconium oxide and the lithium cobalt oxide layer is formed from lithium cobalt oxide. The composite material achieves improved interface resistance in the cathode by eliminating the lithium carbonate layer formed by the lithium lanthanum zirconium oxide surface, thereby enhancing ionic conductivity and reversible capacity.
8. Synthesis of Lithium Lanthanum Zirconate from Ultrafine Lanthanum Zirconate Nanocrystals
Candace Chan, 2021
Synthesis of lithium lanthanum zirconate (LLZO) from lanthanum zirconate (LZO) nanocrystals through a novel approach of starting with ultrafine LZO precursors. The synthesis involves forming LZO nanocrystals with excess lanthanum and then reacting them with lithium precursors to produce a slurry suitable for tape casting. The resulting LZO thin films exhibit excellent mechanical properties, including flexibility and non-brittleness, and are suitable for high-performance battery applications.
9. Solid Electrolyte Composition of Lithium, Lanthanum, and Zirconium with Controlled Heat Treatment
SEIKO EPSON CORP, 2021
Solid electrolyte for lithium-ion batteries that enhances lithium ion conductivity while maintaining structural integrity. The solid electrolyte composition comprises a mixture of lithium, lanthanum, and zirconium powders in a specific ratio, which undergoes a controlled heat treatment process. The treatment involves heating the mixture at temperatures above 1125°C for 30 hours and below 1230°C for 50 hours. This process enables the formation of a solid electrolyte with improved lithium ion conductivity while maintaining its mechanical properties.
10. Solid Electrolyte Film Comprising Lithium Lanthanum Zirconium Garnet with Uniform Crystallization from Precursor Solution
UNIV HAINAN, 2021
Solid electrolyte film for lithium-ion batteries with improved conductivity and stability. The film is prepared through a novel precursor solution process that enables uniform crystallization of the lithium lanthanum zirconium garnet (LLZO) solid electrolyte. The solution is formulated with a specific composition that balances the lithium content with citric acid and ethylene glycol, ensuring complete phase formation and minimizing defects. The resulting film exhibits enhanced ionic conductivity and uniformity, making it suitable for all-solid-state battery applications.
11. Method for Modifying Carbonate Layers on Solid-State Electrolyte Electrodes with Salt Modifier Incorporation
GM GLOBAL TECHNOLOGY OPERATIONS LLC, 2021
Method to enhance lithium-ion battery performance by modifying carbonate layers on solid-state electrolyte electrodes. The modification involves incorporating a lithium or sodium salt modifier into the carbonate layer itself, forming a hybrid layer with enhanced ionic conductivity. The process can be achieved through atomic layer deposition (AAD) of the modifier and carbonate mixture, or through simultaneous deposition of the modifier and carbonate. This approach preserves the natural ceramic structure while introducing the necessary conductivity to lithium-ion transport. The modified layers can be incorporated into solid-state battery components, such as separators, electrodes, or electrolyte matrices.
12. Polymer-Assisted Synthesis Method for Cubic Lithium Lanthanum Zirconate Nanocrystals
ARIZONA BOARD OF REGENTS ON BEHALF OF ARIZONA STATE UNIVERSITY, 2020
A novel synthesis method for high-quality cubic lithium lanthanum zirconate (LLZO) nanocrystals that overcomes traditional solid-state synthesis challenges. The method employs a polymer-based approach where metal salts are dissolved in a polymer solution, which is then dried to form a solid. The polymer acts as a dispersion medium for the metal salts, allowing for homogeneous dispersion of the precursors and controlled growth of the nanocrystals. The resulting LLZO particles exhibit high purity and uniform size, with improved conductivity compared to traditional solid-state methods.
13. Composite Solid Electrolyte with Inorganic Lithium and Oxygen Ion Conductors and Ceramic Filler
UNIV CENTRAL SOUTH, 2020
A composite solid electrolyte for lithium-ion batteries that achieves higher ionic conductivity and improved ion migration properties compared to traditional polymer-based electrolytes. The electrolyte combines inorganic lithium ion and oxygen ion conductors, enabling enhanced ionic conductivity and faster ion migration rates. The composition includes a lithium ion conductor, an oxygen ion conductor, and a ceramic filler, which together provide superior performance characteristics for high-performance lithium-ion batteries.
14. Buffer Layer Comprising Lithium Fluoride and Carbon Materials with Overlapping Stacking Structure for Solid Electrolyte-Positive Electrode Interfaces in All-Solid-State Lithium Batteries
HANGZHOU ZHONGDA NEW ENERGY MAT CO LTD, 2020
A buffer layer for solid electrolyte-positive electrode interfaces in all-solid-state lithium batteries. The buffer layer is composed of lithium fluoride and carbon materials that form an overlapping stacking structure. This interface layer enhances interface wettability and reduces interface resistance, enabling stable electrochemical performance in all-solid-state batteries. The buffer layer is prepared through a simple suspension-dispersion process followed by solidification, making it a scalable and cost-effective solution for improving battery performance.
15. Solid Electrolyte Surface Modification via Acidification-Induced Layer Formation
SHANGHAI INSTITUTE OF CERAMICS CHINESE ACADEMY OF SCIENCES, 2020
A surface modification technique for solid electrolytes in lithium metal batteries that enables enhanced electrochemical performance. The method involves pre-passivating the electrolyte surface with an acidification reaction, followed by a layer formation process that generates a modified surface layer. This modified layer enhances the electrolyte's ionic conductivity, charge storage capacity, and overall electrochemical stability. The modified layer can be engineered to optimize performance through precise control of surface chemistry and structure.
16. Crystalline Electrolyte with Gallium, Lanthanum, and Neodymium Substitution and Secondary Lithium-Boron-Oxygen Filling
SEIKO EPSON CORP, 2020
Electrolyte for lithium-ion batteries that enables both improved lithium ion conductivity and reduced grain boundary resistance through a novel approach. The electrolyte is created by combining gallium, lanthanum, and neodymium in a specific composition, with gallium and lanthanum substituting lithium in the oxide lattice. The composition is then heated to form a crystalline electrolyte, which is then filled with a second electrolyte containing lithium, boron, and oxygen. This filling process creates a composite material with improved lithium ion conductivity and reduced grain boundary resistance compared to conventional electrolyte fill methods.
17. Perovskite-Type Lithium Ion Solid Electrolyte Separator with Enhanced Vacancy Density and Enlarged Ion Transmission Channels
NORTHEASTERN UNIVERSITY, 2020
A perovskite-type lithium ion solid electrolyte separator for lithium-ion batteries that prevents lithium dendrite growth through enhanced ionic conductivity. The separator comprises a perovskite-type lithium ion solid electrolyte material with increased lithium ion content, enhanced vacancy density, and significantly enlarged lithium ion transmission channel size. The separator is prepared through a controlled synthesis process involving the preparation of perovskite-type lithium ion solid electrolyte materials and subsequent processing into a separator material.
18. All-Solid-State Lithium-Ion Battery with Flexible Ceramic Solid Electrolyte Formed by Nanoparticle Slurry Sintering
FISKER INC, 2020
An all-solid-state lithium-ion battery (LIB) with a mechanically flexible ceramic solid electrolyte to improve safety, power, and cycle life compared to liquid electrolytes. The battery uses thin films of ceramic solid electrolytes prepared by freezing, casting, and sintering nanoparticle slurries. The ceramic electrolytes have conductivity equivalent to liquid electrolytes and low activation energies. They are formed into thin films with thicknesses like existing electrolyte membranes. The flexible ceramic electrolytes prevent dendrite growth, short circuits, and improve cycling compared to liquid electrolytes. They can also be used as composite layers with cathode and anode materials to maximize utilization and accelerate ionic conductivity.
19. Lithium Lanthanum Titanate Composite with Lithium Chloride for Enhanced Ionic Conductivity
ZHENGZHOU XINSHIJI MATERIALS GENOMICS ENGINEERING RESEARCH INSTITUTE LTD, 2019
Lithium lanthanum titanate (LLTO) composite material for lithium-ion batteries, comprising a combination of LLTO and lithium chloride (LiCl) powders. The composite material achieves improved ionic conductivity through the incorporation of LiCl, which enhances the overall conductivity of the LLTO matrix while maintaining its structural integrity. The material composition is optimized to balance conductivity and stability, enabling higher performance lithium-ion batteries with improved safety and operating temperature range.
20. Porous Ceramic Material with Multi-Step Sintering and Activation for Solid Electrolyte Use
HUIZHOU FUJI ELECTRONIC MATERIAL CO LTD, 2019
Porous ceramic material for solid electrolyte applications in lithium-ion batteries, enabling enhanced lithium ion conductivity and stability. The material is created through a multi-step process: first, a porous ceramic is formed through sintering and pulverization of specific components, followed by re-sintering to create a uniform structure. The ceramic is then subjected to activation treatment to enhance its electrochemical properties. The resulting material exhibits superior conductivity and stability compared to conventional solid electrolyte materials, addressing key challenges in all-solid-state battery technology.
21. Lithium Borate Composite Lithium Lanthanum Zirconium Tantalum Oxide Solid Electrolyte
BEIJING INSTITUTE OF TECHNOLOGY, 2019
Lithium borate composite lithium lanthanum zirconium tantalum oxide solid electrolyte for lithium-ion batteries, which improves upon existing solid electrolytes by incorporating borate ions into the lanthanum zirconium tantalum oxide matrix. The composite electrolyte combines the benefits of borate-based solid electrolytes with the improved mechanical properties of lanthanum zirconium tantalum oxide. The borate ions enhance the electrolyte's conductivity while maintaining its stability and safety characteristics.
22. Low-Temperature Solid-Phase Synthesis Method for LiCuLaZrMO Solid Electrolytes
SHANGHAI INST TECH, 2019
A method for preparing LiCuLaZrMO solid electrolytes through a controlled, low-temperature solid-phase synthesis process. The synthesis involves a novel approach to prepare the electrolyte by combining the Li, Cu, La, and Zr components in a controlled atmosphere at temperatures below 1000°C. This approach enables the production of high-quality LiCuLaZrMO electrolytes while maintaining the necessary thermal stability for commercial-scale applications.
23. Surface-Coated Lithium Lanthanum Zirconium Oxide Solid Electrolyte with Chemical Vapor Deposition Applied Coating
JINING KELAITAIGE NEW ENERGY TECHNOLOGY CO LTD, 2019
Surface-coated lithium lanthanum zirconium oxide (LLZO) solid electrolyte for lithium-ion batteries, with a novel coating approach that enhances interface durability between the solid electrolyte and electrode materials. The coating is applied to the LLZO surface using chemical vapor deposition (CVD) with a specific precursor, followed by post-processing to achieve the desired properties. This surface modification enables improved interface stability between the solid electrolyte and electrode materials, particularly during high-temperature cycling and stress conditions, while maintaining the solid electrolyte's inherent ionic conductivity.
24. Doping Method for Lithium Lanthanum Zirconium Oxide with Lithium Aluminum Silicate in Pre-Fired Tantalum Matrix
CHONGQING ACADEMY OF SCIENCE & TECHNOLOGY, 2019
A method to enhance the density and conductivity of solid electrolyte in lithium-ion batteries through a novel doping approach. The method involves doping lithium lanthanum zirconium oxide (Li6.4La3Zr1.4Ta0.6O12) with lithium aluminum silicate (LiAlSiO4) in a pre-fired tantalum matrix, where the lithium carbonate content is reduced to 10 wt%. This doping strategy combines the benefits of improved material properties with enhanced thermal stability, enabling higher density and conductivity in solid electrolytes.
25. Lithium-Ion Conductive Cubic Garnet Membrane via Non-Flame Combustion Nano-Powder Synthesis with Low-Temperature Calcination
CORNING INC, 2019
A lithium-ion conductive cubic garnet membrane made through a novel nano-powder synthesis route. The membrane is produced by first creating nano-powders through non-flame combustion, followed by a second calcination step at lower temperatures (800-1200°C) to form a dense membrane. This approach enables the formation of cubic garnet structures with lower sintering temperatures compared to conventional micro-powder synthesis methods, while maintaining high Li-ion conductivity. The nano-powders are used as burying powders to prevent sintering of the membrane during calcination, allowing for direct pellet formation without the need for post-sintering polishing.
26. Solid Electrolyte with Lithium Lanthanum Zirconium Oxide Core and Ionic Conductor Coating
JINING KELAITAIGE NEW ENERGY TECH CO LTD, 2019
Lithium lanthanum zirconium oxide solid electrolyte material for preventing lithium dendrites in lithium-ion batteries, comprising a core of lithium lanthanum zirconium oxide (LLZO) and a surface coating of lithium-containing oxide or non-oxidized lithium-containing compound. The coating layer forms an ionic conductor interface between LLZO and metal lithium, preventing surface precipitation and dendrite growth. The coating can also enhance ion transport by forming a fusion interlayer between lithium metal and LLZO.
27. Solid Electrolyte Incorporating Nitrogen-Rich Ring Structures for Enhanced Lithium-Ion Conductivity
CHENGDU INNOO SCIENCE & TECH CO LTD, 2019
Solid electrolyte for lithium-ion batteries with enhanced conductivity and mechanical properties. The electrolyte contains compounds with ring structures containing 1-3 nitrogen atoms, where the nitrogen atoms provide a vacant lone pair of electrons. This nitrogen atom lone pair enables strong lithium-ion interactions, significantly improving conductivity compared to conventional sulfide-based electrolytes. The electrolyte enables direct current operation between stacked lithium-ion cells, with the positive and negative electrodes forming a common current collector.
28. Garnet-Type Solid Electrolyte with Multi-Dopant Lattice Substitution
UNIV SOUTH CHINA TECH, 2019
Multi-doped garnet-type solid electrolyte material and preparation method for solid electrolytes. The material incorporates external dopants to enhance lithium ion conductivity while maintaining stability and preventing lithium dendrite growth. The dopants include elements like Al, La, and Zr, which replace lattice sites to increase lithium vacancies and enhance ion mobility. The preparation involves precise control of dopant concentrations and crystal structure to achieve optimal conductivity and stability.
29. Garnet-Type Solid Electrolyte with Cubic Phase Doped with La2Zr2O7
BEIJING UNIVERSITY OF TECHNOLOGY, 2019
Solid electrolyte material for lithium-ion batteries with enhanced stability and performance. The material comprises a garnet-type solid electrolyte with a cubic phase structure, prepared through a controlled doping process with La2Zr2O7. The material exhibits high density, excellent ion conductivity, and superior stability to lithium metal, making it suitable for solid-state lithium-ion batteries.
30. Orthorhombic Lithium-Ion Conductive Solid Electrolyte with Specific Ionic Conductivity Regulators
UNIV CENTRAL SOUTH, 2019
Lithium-ion conductive solid electrolyte material for all-solid-state batteries with enhanced ionic conductivity and chemical stability. The material features an orthorhombic crystal structure and incorporates a specific composition of ionic conductivity regulators, achieving room temperature conductivity of 2.41×10^4 S-cm^-1. This solid electrolyte exhibits superior performance in lithium-ion batteries compared to traditional liquid electrolytes, particularly in applications requiring high power density and long cycle life.
31. Hydrotalcite-Doped Lithium Oxide Solid Electrolyte with Specific Compositional Formula
BEIJING UNIVERSITY OF CHEMICAL TECHNOLOGY, 2019
Hydrotalcite-modified lithium oxide solid electrolyte with enhanced stability and conductivity. The electrolyte comprises lithium oxide (Li2O) with a composition of Li7-3xAlxLa3Zr2yMg2O5yO2, where x and y have specific ranges, and is prepared through a controlled doping process involving magnesium-aluminum hydrotalcite (MgAl-LDHs) and lithium phosphate. The doping enhances the formation of the cubic phase lithium oxide, improves density, and increases room temperature ion conductivity.
32. Rheological Phase Reaction Method for Lithium-Ion Solid Electrolyte Synthesis
TIANJIN EV ENERGIES CO LTD, 2019
A method for preparing lithium-ion solid electrolyte through a rheological phase reaction process. The method involves a controlled reaction between lithium-rich solid particles and a liquid phase, where the solid particles maintain uniform contact with the liquid during the reaction. This approach eliminates the need for high temperatures, excessive lithium sources, and complex synthesis methods, enabling the production of high-quality lithium-ion solid electrolytes with improved thermal stability and conductivity.
33. Method for Manufacturing Solid Electrolyte with Dual Coating for Interface Stability and Ionic Conductivity
BAYERISCHE MOTOREN WERKE AG, 2019
Method for manufacturing solid electrolyte with enhanced ionic conductivity and stability, particularly in lithium-ion batteries. The method involves coating the second surface of the solid electrolyte layer with a second coating that maintains electrochemical stability across the interface. This dual-coating approach prevents interface degradation while maintaining the solid electrolyte's ionic conductivity. The second coating can be applied on either the anode or cathode surface, ensuring consistent performance across the cell architecture.
34. Low-Temperature Solid-State Synthesis of Lithium Lanthanum Zirconium Oxide for Inorganic Solid Electrolytes
SHENZHEN GPC BATTERY CO LTD, 2019
Inorganic solid electrolyte synthesis process for solid-state lithium-ion batteries, enabling high-performance, stable solid electrolytes. The process employs a novel, low-temperature solid-state synthesis method to produce lithium lanthanum zirconium oxide (Li6La0.5Ti0.5Zr0.5O2) through a controlled atmosphere, avoiding the conventional high-temperature methods. This approach enables precise control over reaction conditions, resulting in consistent and high-quality solid electrolytes with improved safety and performance characteristics compared to traditional methods.
35. Preparation Method for Lithium Lanthanum Zirconium Oxide Solid Electrolyte via Magnesium Saccharine Reaction
JIANGSU HIGEE NEW ENERGY CO LTD, 2019
Preparation method for lithium lanthanum zirconium oxide (LLZ) solid electrolyte for lithium-ion batteries, specifically for use in high-temperature applications. The method involves preparing LLZ through a controlled reaction of lithium lanthanum zirconium oxide with a magnesium-based solid electrolyte, specifically using magnesium saccharine as the electrolyte. The reaction eliminates aluminum impurities from the corundum phase, resulting in a high-performance LLZ solid electrolyte suitable for high-temperature applications.
36. Solid Electrolyte with Laser-Induced Amorphous Phase on Lithium Ion Conductive Layer
SAMSUNG ELECTRONICS CO LTD, 2019
Solid electrolyte for lithium metal batteries that suppresses dendrite growth and interfacial resistance through laser-induced amorphous phase formation. The electrolyte comprises a lithium ion inorganic conductive layer and an amorphous phase on its surface, where the amorphous phase is created through laser irradiation of the conductive layer. This laser treatment creates a patterned amorphous film on the conductive layer surface, which enhances the solid electrolyte's interface with the negative electrode by increasing the activation area between them. The amorphous phase prevents lithium ion penetration into the conductive layer grain boundaries and promotes efficient lithium ion migration through the solid electrolyte.
37. Lithium-Ion Solid Electrolyte Sheet with Sintered Ceramic Material and Controlled Stoichiometric Composition
NORTHEASTERN UNIVERSITY, 2019
Lithium-ion solid electrolyte sheet for lithium-ion batteries as separators, featuring a sintered ceramic material with controlled composition and processing. The sheet is prepared through a specific stoichiometric composition and processing sequence, where raw materials are carefully balanced to achieve optimal properties for lithium-ion conductivity and mechanical strength. The resulting ceramic sheet has a controlled thickness and diameter, with precise control over the composition of its constituent phases. This ceramic sheet serves as a reliable and effective separator in lithium-ion batteries, particularly for applications requiring high safety performance.
38. Button Lithium Battery with Sintered Li0.2La0.6TiO3 Ceramic Solid Electrolyte Sheet Separator
NORTHEASTERN UNIVERSITY, 2019
Button lithium battery with a lithium ion solid electrolyte sheet as a separator that prevents lithium dendrite growth through controlled solidification. The battery features a lithium ion solid electrolyte sheet made from a sintered Lio.2Lao.6Ti()3 ceramic with a diameter of 16mm, which is prepared through a specific stoichiometric composition and moisture removal process. The electrolyte sheet is then formed into a diaphragm with a thickness of 0.3mm, with a specific thickness of 6203 and Ti02 content. The diaphragm is then formed into a battery cell using high-temperature solidification.
39. Thin Film Lithium-Stuffed Garnet Electrolyte with Secondary Phase Inclusions for Enhanced Densification and Sinterability
QUANTUMSCAPE CORP, 2018
Thin film lithium-stuffed garnet electrolyte for solid-state batteries that addresses challenges in sintering conventional garnet-based electrolytes. The electrolyte comprises lithium-stuffed garnet with secondary phase inclusions, where the primary phase is cubic phase lithium-stuffed garnet and the secondary phase is selected from a group of elements including Mo, W, Nb, Y, Ta, Ga, Sb, Ca, Ba, Sr, Ce, Hf, and Rb. The electrolyte achieves improved densification and sinterability through its unique microstructure and processing conditions that enable uniform densification across the film thickness, particularly in the z-direction.
40. Polymer-Based Solution Synthesis of Nanosized Cubic Lithium Lanthanum Zirconate Powders
Jon Mark Weller, 2018
A novel method for synthesizing high-quality nanosized cubic lithium lanthanum zirconate (LLZO) powders through a polymer-based solution process. The synthesis involves dissolving lithium, lanthanum, and zirconium nitrate in water in a molar ratio of 10.5:3:2, followed by the addition of a polymer solution containing functional groups that chelate metal cations. The polymer solution is then dried to form a solid, which undergoes controlled heating in oxygen to pyrolyze the organic compound. The resulting LLZO powder exhibits superior conductivity compared to traditional synthesis methods that involve solid-state reactions or calcination.
41. Method for Low-Temperature Synthesis of Garnet-Type Solid Electrolyte Sheets via Controlled Doping and Stoichiometric Composition Adjustment
JIANGXI UNIVERSITY OF SCIENCE AND TECHNOLOGY, 2018
A method for preparing high conductivity garnet-type solid electrolyte sheets at low temperature through controlled doping and precise composition control. The method involves optimizing the stoichiometric composition of the garnet solid electrolyte powder through ball milling and grinding, followed by controlled heating and drying at lower temperatures. This approach enables the synthesis of pure phase garnet electrolytes with precise composition control, while maintaining high conductivity and interface stability.
42. Solid-State Lithium-Ion Battery with Polypropylene Carbonate-Based Composite Solid Electrolyte Containing Inorganic Ceramic Component
CHINA ELECTRONICS NEW ENERGY WUHAN RES INSTITUTE CO LTD, 2018
Solid-state lithium-ion battery with enhanced performance through a novel solid electrolyte that combines high conductivity, mechanical strength, and interface properties. The electrolyte comprises a polymer matrix containing 50,000-1,200,000 Da polypropylene carbonate, with an inorganic ceramic component comprising 5-10% by weight. The polymer matrix provides excellent mechanical properties, while the inorganic ceramic enhances conductivity and interface stability. The electrolyte achieves room temperature conductivity of 10^4 S/cm, surpassing conventional organic polymer electrolytes. This solid-state battery enables higher energy density, improved safety, and enhanced performance compared to traditional lithium-ion batteries.
43. Composite Solid Electrolyte Material with Inorganic Filler and PE0 Matrix for Lithium-Ion Batteries
ZHUHAI SMOOTHWAY ELECTRONIC MAT CO LTD, 2018
Inorganic filler composite PE0 solid electrolyte material for lithium-ion batteries with enhanced ionic conductivity and mechanical properties. The material comprises a PE0 matrix with high ionic conductivity, combined with an inorganic filler material such as a lithium salt and a high-ionic-conductivity inorganic powder. The filler material is prepared through a novel method that enables the creation of a composite material with superior ionic conductivity at room temperature, while maintaining good mechanical integrity. This composite material enables high-rate charging and discharging capabilities in lithium-ion batteries, while maintaining stability and safety characteristics.
44. Flexible Ceramic/Polymer Composite Solid Electrolyte with Viscoelastic Ceramic Phase Integration
SHANGHAI JIAO TONG UNIVERSITY, 2018
Flexible ceramic/polymer composite solid electrolyte for lithium-ion batteries that enables ultra-thin, high-performance electrolytes. The electrolyte comprises a ceramic phase dispersed within a polymer matrix, where the ceramic phase achieves high lithium ion conductivity through viscoelastic deformation. The ceramic phase is prepared through a novel method that integrates ceramic powders into the polymer matrix using a controlled flow process, allowing the formation of ultra-thin electrolyte layers while maintaining superior mechanical properties.
45. Lithium Garnet Composite Ceramic with Grain Growth Inhibitor and MgO via Tape Casting Process
CORNING INC, 2018
Lithium garnet composite ceramic for solid electrolyte applications in lithium-ion batteries. The ceramic comprises a lithium garnet main phase with a specific composition, a second phase that inhibits grain growth, and a controlled amount of MgO. The ceramic is prepared through a novel tape casting process that balances density and mechanical strength, enabling the formation of high-density ceramic electrolyte films.
46. Oxygen Ion Conductor with Controlled Doping in Li2xZrO2.8Y.9.1 Oxide Lattice
DONGGUAN NEUTRON SCIENCES CT, 2018
Oxygen ion conductor for solid oxide fuel cells that enhances conductivity through controlled doping of the oxide lattice structure. The conductor comprises Li2xZrO2.8Y.9.1, where x and Y are in the range of 0 to 1, and the doping level is precisely controlled by solid-state synthesis. The doping introduces specific vacancies in the oxide lattice that facilitate charge carrier transport and improve the material's overall conductivity, particularly at elevated temperatures. The doping level can be precisely controlled to achieve optimal conductivity without compromising the material's stability or thermal properties.
47. Baking Process for Composite Electrode Structure with Integrated Solid Electrolyte Membrane and Conductive Material
QINGTAO NEW ENERGY MATERIAL RESEARCH INSTITUTE CO LTD, 2018
Baking process for solid-state lithium-ion battery electrodes with improved interface contact and mechanical strength through a novel composite electrode structure. The process involves integrating a solid electrolyte membrane with a conductive solid-state electrode material through a controlled baking process that optimizes electrode density and surface flatness. This architecture addresses the interface impedance issues inherent in solid-state lithium-ion batteries by creating a uniform solid-electrolyte interface, enabling enhanced performance and cycle life compared to conventional solid-state electrodes.
48. Inorganic-Inorganic Composite Solid Electrolyte Ceramic Membrane with Low-Melting Oxide and Halide Precursors
UNIV JINAN, 2018
High-performance inorganic-inorganic composite solid electrolyte ceramic membrane for lithium-ion batteries, enabling safe and efficient energy storage. The membrane combines the benefits of both inorganic and organic solid electrolytes, with improved ionic conductivity and processing characteristics. The membrane preparation involves the synthesis of a low-melting oxide solid-state electrolyte precursor, followed by the formation of a Li3Ox precursor, synthesis of Li30Cl precursor, and subsequent synthesis of Li30Br precursor. The resulting composite solid electrolyte is then processed into a ceramic membrane with enhanced mechanical properties.
49. Li7La3Zr2O12 Solid Electrolyte with Divalent Alkaline Earth Metal and Niobium Co-Doping
UNIVERSITY OF SCIENCE & TECHNOLOGY BEIJING, 2018
Lithium-ion solid electrolyte material with enhanced ionic conductivity and stability, particularly for lithium-ion batteries. The material comprises a Li7La3Zr2O12 solid electrolyte with divalent alkaline earth metal (e.g., Y) and niobium co-doping, where the Y doping stabilizes the cubic phase structure while the La doping fine-tunes lithium ion concentration. This co-doping approach achieves high lithium ion conductivity (up to 10^6 Sc/cm) and improved thermal stability through optimized lattice arrangement. The material's unique composition enables high-performance lithium-ion batteries with enhanced energy density and cycle life.
50. Flexible Solid Electrolyte Diaphragm with Nanofiber-Integrated Composite Scaffold
BATTFLEX WUHAN TECH CO LTD, 2018
A flexible three-dimensional solid electrolyte diaphragm for lithium-ion batteries that combines high ionic conductivity, electrochemical stability, and mechanical flexibility. The diaphragm is prepared through a novel method that integrates nanofibers into a solvent, followed by the incorporation of lithium ion-conductive ceramic particles and a lithium salt-polyethylene oxide mixture. The resulting composite scaffold is then freeze-dried and hot-pressed into a flexible membrane with enhanced mechanical properties.
Get Full Report
Access our comprehensive collection of 98 documents related to this technology
Identify Key Areas of Innovation in 2025

