EV Battery Repair Innovations
Electric vehicle battery packs face multiple degradation mechanisms during their service life, with capacity fade typically reaching 20-30% after 1500-2000 cycles. Individual cells within these packs can experience uneven aging, creating performance bottlenecks that affect the entire system's reliability and efficiency.
The fundamental challenge lies in developing repair strategies that can address both cell-level and pack-level degradation while remaining cost-effective compared to full pack replacement.
This page brings together solutions from recent research—including targeted cell replacement techniques, thermal rejuvenation methods, advanced diagnostic systems, and modular pack architectures. These and other approaches focus on extending battery life through practical maintenance strategies that can be implemented in service environments.
1. Non-Invasive Battery Cell Damage Detection via Vibration-Induced Voltage Measurement
GM GLOBAL TECHNOLOGY OPERATIONS LLC, 2025
Diagnosing damage to battery cell current collectors without opening the cells. The technique involves generating mechanical vibrations on the cell's exterior to cause foil tears inside to close and open. By measuring the voltage output during vibration, the presence of foil tears can be determined based on the amplitude. This allows identifying cell current collector damage without disassembling the cell.
2. Battery Module Disassembly via Dielectric Mixture for Selective Adhesive Bond Breakdown
RIVIAN IP HOLDINGS LLC, 2025
Disassembling battery modules using a dielectric mixture to break the adhesive bonds instead of fasteners, allowing easier maintenance and end-of-life recycling. The battery modules use adhesives instead of screws for assembly. To disassemble, the modules are treated with a dielectric mixture that selectively breaks the adhesive bonds while leaving the module components intact. This enables part-by-part disassembly and recycling. The dielectric mixture is chosen to be incompatible with some adhesives but not others, allowing selective bond breakdown.
3. Robotic System for Autonomous Disassembly of Secondary Batteries with Type Identification and Instruction-Based Operation
UNIVERSE ENERGY INC, 2025
Autonomous robotic disassembly of secondary batteries like those in electric vehicles to enable efficient, safe, and repeatable disassembly of batteries for repair, repurposing, or recycling. The method involves securing the battery, identifying the battery type, retrieving disassembly instructions for that type, using robots to perform the disassembly steps, and monitoring during disassembly. The instructions include robot motions, tools, and tasks for specific battery features. Cameras provide location data to guide the robots. This enables repeatable, safe, and efficient disassembly compared to manual methods.
4. Battery Cell Diagnosis Method Utilizing Internal Resistance and State-of-Charge Change Ratio Analysis in Multi-Cell Packs
LG ENERGY SOLUTION LTD, 2025
Battery diagnosis method for accurately diagnosing defective battery cells in a multi-cell battery pack. The method involves two steps to diagnose battery banks in a charging mode. First, diagnosis based on internal resistance. Second, diagnosis based on comparing state-of-charge (SOC) change ratios to a reference pack. This final step involves comparing each battery bank's SOC change during charging to a reference pack's change. If a bank's change exceeds a threshold, it indicates an issue. If a bank's internal resistance is high, it indicates an issue. By combining both methods, defective banks can be confidently identified.
5. Mobile Electric Vehicle Charging System with Battery Health-Based Cell Monitoring and Targeted Cell Utilization
VOLVO CAR CORP, 2025
Mobile electric vehicle charging that accounts for battery health and state to optimize charging and discharging between vehicles. The system monitors battery cell states and identifies cells beyond a threshold for remediation. These cells are continued to be used to degrade further. This targeted cell selection allows replacing only some cells instead of all when they reach end of life. It also enables balancing charge distribution between cells to prevent uneven degradation. The system uses battery metrics and historical data to make charging decisions based on cell health.
6. Battery Module with Parallel Cell Connections Using Contact Plate Recesses and Protruding Cell Tabs
JOHN DEERE ELECTRIC POWERTRAIN LLC, 2025
A battery module design with parallel cell connections that enables independent parallel connection of cells without requiring series connections at the cell ends. The module has a contact plate with recesses around the cells. Each cell has tabs protruding from the ends that fit into the recesses. This allows the cells to be individually connected in parallel by simply inserting the tabs into the recesses, without needing to make series connections at the cell ends. It also allows replacing defective cells without disconnecting all the cells.
7. Modular Battery Pack with Cell Isolation and Reconfiguration Capabilities
LENOVO PTE LTD, 2025
Modular battery pack architecture that allows extending the life of a battery pack by selectively disabling and removing degraded cells while still providing power. A pack management unit senses cell conditions and identifies degraded cells. It then disables sensing of those cells and reconfigures the pack to exclude them, providing reduced capacity but still usable pack. This enables repurposing degraded cells and extending pack life compared to replacing the whole pack when one cell fails.
8. Method for Dynamic Adjustment of Battery Charging and Discharging Currents Based on Thermal Monitoring and Modeling
BAYERISCHE MOTOREN WERKE AG, 2024
A method to improve battery cell performance and longevity by dynamically adjusting charging and discharging current limits based on cell temperature and state. The method involves monitoring the actual cell temperature and current during operation. A thermal model of the cell calculates the internal temperature based on the external temperature and current. If the calculated internal temperature is higher than the external temperature, it indicates self-heating. In that case, the method reduces the current limits to prevent overheating. This avoids abrupt degradation and potential cell failure from excessive heating.
9. Cooling Management System with AI-Driven Dynamic Flow Rate Adjustment for Traction Batteries
DR ING H.C F PORSCHE AG, PORSCHE AG, 2023
Adaptive cooling management for traction batteries in electric vehicles to improve thermal performance as batteries age. It uses artificial intelligence to dynamically adjust cooling flow rates based on battery state. Sensors monitor battery parameters like voltage, temp, resistance. An AI model analyzes this data to determine the battery's operating state. It calculates a correction factor to add/multiply with the target flow rate set by the control module. This factor compensates for aging effects like swelling cells that narrow flow channels. The AI-calculated factor is sent to the control module to adjust cooling flow rates for the specific battery state.
10. Battery Pack Case with Bolt and Nut Coupling for Non-Welded Attachment
Hyundai Motor Company, Kia Corporation, 2023
Battery pack case for electric vehicles that allows easier and cheaper replacement of worn or damaged parts. The case uses a bolt and nut coupling instead of welding. The bolt attaches to the vehicle frame, with a first nut tightening onto it and a second nut tightening onto the first nut. This provides a secure connection without welding. When the battery pack is repeatedly attached and detached, only the nuts may wear out or get damaged. By avoiding welding, these nuts can be easily replaced instead of the entire frame, reducing maintenance cost.
11. Method for Selective Replacement of Failing Cells in Electric Vehicle Battery Packs
Midtronics, Inc., 2023
An efficient way to refurbish, repair or test used battery packs from electric vehicles. The method involves removing the battery pack from the vehicle, testing and identifying any bad or failing batteries, and replacing them with similar batteries that have compatible electrical characteristics. By replacing only the specific failing batteries instead of the entire pack, the cost and waste associated with battery pack replacements can be reduced.
12. Device and Method for Battery Pack Module Degradation Equalization via Adaptive Charge/Discharge Rate Control
Hitachi, Ltd., HITACHI LTD, 2023
Method and device for optimized charging and discharging of battery packs to improve overall pack life by equalizing the degradation of individual modules. It calculates the degradation state of each module based on charge/discharge status, and if any module's degradation exceeds a threshold, it determines an optimal charge/discharge rate for all modules based on temperature differences between modules. This command set is then used to control charging and discharging of all modules to balance degradation and prevent uneven aging.
13. Battery Management System with Predictive Analytics and Neural Network for Temperature, Humidity, and Current Regulation
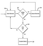
HEFEI HUAYU SMART POWER ENERGY CO LTD, 2023
Protective battery management system for lithium batteries that uses predictive analytics to prevent overheating, excessive humidity, and high currents that can damage batteries. The system has a server, mobile terminal, and balancing device connected in pairs. The balancing device acquires battery pack data and a neural network in the server predicts temperature, humidity, and current. Analyzing the predictions, the server sends instructions to the balancing device to adjust battery state to prevent excessive temperatures, humidity, and currents that accelerate aging or damage batteries. This proactive monitoring and regulation improves battery protection and longevity.
14. Method for Identifying Low Voltage Defects in Lithium Secondary Batteries Using Temperature-Adjusted Voltage Measurements
Hyundai Motor Company, Kia Corporation, 2022
Method to accurately identify low voltage defects in lithium secondary batteries after formation by accounting for temperature exposure during transport and storage. The method involves measuring the primary voltage of a battery after formation, then measuring the secondary voltage after transport. The secondary voltage is corrected based on the temperature exposure during transport. If the corrected secondary voltage is significantly lower than the primary voltage, it indicates a low voltage defect. This prevents false positives due to normal batteries experiencing higher voltage drops at higher temperatures.
15. Battery Control Device with Adaptive Charging Limits Based on Deterioration State and Temperature-Dependent Voltage Profiles
VEHICLE ENERGY JAPAN INC, 2022
Battery control device for electric vehicles that adapts charging limits based on battery condition to prevent damage and improve charging efficiency as batteries age. The device estimates the upper voltage limit for charging a battery based on its internal deterioration state. This allows charging more power without risking overcharge as metal ion precipitation becomes less likely. The device stores upper voltage limits for each temperature, and updates them as batteries degrade. This enables charging optimization that compensates for battery degradation without risking overcharge.
16. Lithium Battery Capacity Recovery via Controlled Heat Treatment of Discharged Cells
LG Chem, Ltd., 2022
Recovering the capacity of lithium batteries that have degenerated during cycling by heat treatment. The method involves subjecting a lithium battery cell with at least 5% capacity loss to a high temperature treatment of 60-100°C for 1-6 hours in a fully discharged state. This reversibly activates lithium plating on the negative electrode to prevent further capacity loss. The heat treatment should be outside the range where it affects other battery components.
17. Battery Pack Operation Method with Data Preprocessing, Feature Extraction, Thermal Modeling, and Machine Learning-Based SOH/SOC Prediction
Tata Consultancy Services Limited, 2022
Method for optimizing the operation of a battery pack in an electric vehicle to extend battery life and efficiency. The method involves preprocessing battery data, extracting statistical features, generating thermal models, predicting SOH/SOC, balancing cell charges, and optimizing current profiles. It uses machine learning to analyze historical battery data and predict degradation, charge balance, and optimal charging/discharging currents to maximize battery life and performance.
18. Rechargeable Battery System with Per-Cell Monitoring Using Onboard Sensors for Voltage, Current, and Temperature
LITIOHM SPA, 2022
Monitoring and controlling rechargeable batteries to improve lifespan and prevent failures. The method involves individual battery monitoring using onboard sensors to measure voltage, current, and temperature. This allows tracking state of charge, state of health, estimated charge/discharge times, and replacement times. Deviations from normal ranges trigger alerts and actions like balancing energy flow or reducing cycles. This real-time per-cell monitoring enables proactive maintenance and avoids premature battery replacement.
19. Electric Vehicle Battery System with Individual Cell Monitoring and Management Units
ZHENGZHOU E DONKEY GE NETWORK SCIENCE AND TECH LIMITED CO, ZHENGZHOU E-DONKEY-GE NETWORK SCIENCE AND TECHNOLOGY LIMITED CO, 2022
Real-time monitoring and management system for electric vehicle batteries that continuously monitors voltage, current, and temperature of individual cells during charging and discharging to detect issues and prevent failures. The system uses monitoring units connected to the cells that transmit data to an acquisition module. If limits are exceeded, it alarms the management module which activates a mechanism to adjust the cell operating state. This allows proactive intervention to mitigate cell issues before they become critical.
20. Dynamic Battery Life Management System with Adaptive Charging and Discharging Based on State-Dependent Model
CHONGQING CHANGAN NEW ENERGY AUTOMOBILE SCIENCE AND TECH LIMITED CO, CHONGQING CHANGAN NEW ENERGY AUTOMOBILE SCIENCE AND TECHNOLOGY LIMITED CO, 2022
Active battery life control for electric vehicles to extend battery lifespan by dynamically adjusting charging and discharging strategies based on the battery state. The method involves building a battery life model using test data, then calculating a remaining life estimate during operation. This estimate is used to optimize charging/discharging parameters to slow down the battery aging rate.
21. Battery Management System with Real-Time Adaptive Parameter Adjustment Based on Usage and Environmental Conditions
EEZI SHENZHEN TECH CO LTD, EEZI TECHNOLOGY CO LTD, 2022
A battery management system (BMS) technique for extending the life of power batteries in electric vehicles by adaptively adjusting battery usage parameters based on mileage, vehicle type, and environmental conditions. The BMS monitors the vehicle's odometer in real time and optimizes charging/discharging logic as the battery ages. It also modifies parameters like SOC range, charging cutoff, and current limit based on factors like temperature and vehicle type. This adaptive management improves battery life by accounting for actual usage instead of just SOH.
22. Battery Pack with Independent Cell Charge-Discharge Balancing Mechanism
Midtronics, Inc., 2022
Balancing charging and discharging individual batteries in an electric vehicle's battery pack to improve pack performance and lifespan. The balancing is done by selectively charging or discharging cells to match the charge levels of other cells. This prevents overcharging of some cells while undercharging others, which can degrade pack performance. The balancing is done using a maintenance device that can independently charge/discharge cells in the pack.
23. Battery Structure with Enhanced Mechanical Stress Resistance Features
DR ING H.C F PORSCHE AKTIENGESELLSCHAFT, PORSCHE AG, 2020
Reducing mechanical degradation of batteries to improve their performance. This involves preventing mechanical issues that can impact battery life, such as vibration, shock, and bending. Techniques to achieve this could include: using enclosures to protect the battery from external forces, designing the battery shape to better withstand handling and transport, improving battery packaging and mounting methods to reduce vibration and shock, and implementing battery management systems that monitor and mitigate mechanical stress on the cells.
24. Lithium Battery Management System with Integrated Data Acquisition and Temperature Control for Cold Environment Operation
UNIV ZHEJIANG, ZHEJIANG UNIVERSITY, 2020
Low-temperature lithium battery management system for electric forklifts that improves battery performance and longevity when operating in cold environments. The system uses a control unit, display, acquisition, evaluation, temperature control, charge/discharge rate, and fault units. It predicts battery health, adjusts charge/discharge rates, and heats the battery when needed. The acquisition unit collects data like impedance, temperature, voltage, current. The evaluation unit analyzes the data to assess battery condition. The temperature control unit heats the battery if needed. The charge/discharge rate control unit adjusts rates based on battery health. The fault unit disconnects the battery if issues are detected. The control unit coordinates all functions based on the acquired battery data.
25. Battery Cell Capacity Estimation Method Using Conditional Cycle-Based Data Acquisition
FAW JIEFANG AUTOMOTIVE CO, 2020
Accurately estimating the available capacity and remaining capacity of each battery cell in a vehicle's pack to improve battery health monitoring. The method involves waking the battery during certain power-on cycles to collect temperature and state of charge data. If the temperature difference between cycles meets a condition, it estimates cell capacities based on previous cycle data to account for factors like charge, discharge, temperature, and self-discharge. This ensures consistent parameter acquisition for capacity estimation and increases accuracy by considering all relevant factors.
26. Composite Energy Storage System with Temperature-Based Dynamic Energy Distribution and Regenerative Braking Integration
HARBIN UNIVERSITY OF SCIENCE AND TECHNOLOGY, UNIV HARBIN SCIENCE & TECH, 2019
Energy management method for composite energy storage electric vehicles that extends battery life by estimating aging state and dynamically adjusting energy distribution based on highest battery temperature during charging. As batteries age, their internal resistance increases, leading to higher temperatures during charging. By tracking the temperature rise, the method adjusts power output from batteries versus supercapacitors to slow aging. It also recovers braking energy in the composite system to charge batteries and mitigate power demand spikes.
27. Active Thermal Management System for Power Batteries with Continuous Temperature Stabilization
Jiangmen Dier Hanyu Appliance Co., Ltd., 2019
Active control method for power battery thermal management systems that improves efficiency and life by continuously stabilizing battery temperature instead of passive on/off cycling. The method involves monitoring battery temperature, heat generation, and natural dissipation. If heat generation exceeds natural dissipation, the management system is activated to cool the battery. If generation is less, it is deactivated. This proactive approach prevents excessive heating and overcooling compared to passive on/off control.
28. Battery Cooling Control Method with Deterioration Rate-Based Adjustment
HYUNDAI MOTOR COMPANY, KIA MOTORS CORPORATION, 2018
Battery cooling control method for electric vehicles that improves battery life by adjusting cooling based on deterioration rate assessment. The cooling fan operation is increased when measured battery durability degradation exceeds predicted degradation. This compensates for accelerated aging factors like storage temperature, driver habits, and charging conditions. By matching cooling to actual degradation instead of just temperature, it mitigates further degradation and extends battery life.
29. Thermal Management Method for Lithium-Ion Batteries Using Aging-Specific Cooling Parameter Model
Suzhou Zhengli Weilai New Energy Technology Co., Ltd., 2018
Thermal management method for lithium-ion batteries in electric vehicles that optimizes cooling strategies for aging batteries. The method involves selecting a reference battery with known aging and testing its cooling performance. By varying cooling flow rates and inlet temperatures, an analytical model is established to find the cooling parameters that prevent excessive battery temperatures for a given aging level. This model is then applied to other batteries at their specific aging levels to determine the optimal cooling strategy for each. The method allows tailored cooling to match battery condition, avoiding undercooling wastage or overcooling safety issues.
30. Battery Temperature Control Method with Adaptive Reference Module Selection Based on State of Health
SAMSUNG ELECTRONICS CO LTD, 2018
Battery temperature control method to slow down battery degradation by adaptively selecting a reference module based on state of health (SOH) and using its temperature to manage battery temperature. This improves battery life by mitigating temperature deviations between modules. The method involves estimating SOHs of modules, choosing the module with lowest SOH as reference, and controlling battery temperature based on the reference module's temperature. This dynamic reference module selection slows degradation rate compared to static sensing points.
31. Real-Time Monitoring Method for Evaluating Health and Stability of Lithium Titanate Batteries via Parameter Analysis
Shenzhen Manjing Venture Capital Consulting Enterprise (Limited Partnership), 2018
Method for evaluating the health and stability of lithium titanate batteries used in electric vehicles. The method involves monitoring certain parameters during normal driving to determine the battery's condition. It involves continuously measuring battery voltage, current, temperature, and cell resistance during driving. The measured values are analyzed to calculate indices like voltage drop during acceleration, temperature rise during fast charging, and resistance increase during charging. These indices are compared against predetermined thresholds to evaluate the battery's stability and predict potential issues. This real-time evaluation allows proactive maintenance and replacement of unstable batteries before failures occur.
32. Modular Electric Vehicle Battery System with Detachable Component Carriers and Integrated Coolant Ducts
SAMSUNG SDI CO., LTD., 2018
Modular battery system for electric vehicles that allows easy swapping of batteries to simplify service and repair. The battery system uses a carrier frame that holds separate component carriers for the electronics and battery modules. These carriers can be individually attached and detached from the frame. The frame provides power, signal, and coolant connections to the component carriers. This allows swapping out just the electronics or battery modules as needed without removing the entire battery. The carriers have integrated coolant ducts for cooling.
33. Modular Distributed Battery Management System with Master-Controlled Smart Battery Modules for Reusable Energy Storage Applications
Shandong University, 2018
Modular distributed battery management system for full life cycle applications that allows reusing battery modules from retired electric vehicles in energy storage systems. The system uses a master module to manage a pack of smart battery modules, each containing cells, balancers, and controllers. The master analyzes pack data to diagnose failures, estimate state, predict remaining life, and balance cells. This allows swapping modules between packs when one is retired to extend pack life and reduce costs compared to fully replacing packs.
34. Battery Temperature Management System with Sensor-Driven Time-Weighted State of Health Adjustment
Jaguar Land Rover Limited, 2017
Optimizing the energy efficiency and lifetime of electric vehicle batteries by intelligently managing the battery temperature using sensor data. The system has a control unit that receives battery condition data from sensors and calculates a time-weighted average state of health (SoH) based on usage and environmental factors. It then adjusts the temperature control system based on the calculated SoH to optimize battery performance and longevity.
35. Battery Management System with Adaptive Cooling and Power Regulation Based on Deterioration Metrics
TOYOTA JIDOSHA KABUSHIKI KAISHA, 2017
A battery management system for electric vehicles that more effectively suppresses battery degradation by optimizing cooling and power limits based on battery deterioration levels. The system calculates high rate deterioration damage and material deterioration damage for a secondary battery. When high rate deterioration exceeds a threshold, cooling is restricted more as damage increases to prevent excessive degradation. When material deterioration exceeds a threshold, cooling starts immediately. This balances cooling for both types of degradation. By gradually increasing cooling limits as high rate damage approaches the power limit, power limits are avoided. Cooling is limited only for overcharge damage. This prevents excessive cooling and power limits while suppressing high rate degradation.
36. Battery System with Degradation-Responsive Parameter Adjustment Mechanism
HITACHI LTD, 2017
Battery system that provides reliable operation and extended life by optimizing battery usage based on internal degradation analysis. The system monitors battery parameters like current, voltage, temperature over time to identify degradation factors. It then changes operating conditions like charge/discharge rates and temperatures to mitigate degradation. This allows customized battery usage to meet user requirements while minimizing degradation.
37. Battery Management System with Active Parameter Monitoring and Real-Time Balancing for Electric Vehicles
JIANGSU XIAONIU ELECTRIC TECH CO LTD, JIANGSU XIAONIU ELECTRIC TECHNOLOGY CO LTD, 2016
Battery management system for electric vehicles that improves safety and efficiency by actively monitoring and managing the battery pack. The system estimates battery parameters like voltage, current, temperature, and charge level. If these estimates are within thresholds, it acquires battery data for equalization, protection, and charge estimation. If estimates are outside thresholds, it sends fault data and performs real-time balancing, thermal management, insulation management, and charge estimation. This proactive monitoring and intervention reduces issues like imbalance, overcharge, overdischarge, short circuits, and thermal runaway.
38. Battery Deterioration Assessment via Reduced-Cell Equivalent Circuit Temperature Modeling
DAIMLER AG, 2016
Determining the deterioration state of a battery in an electric vehicle with high accuracy by modeling the temperature distribution of the battery using an equivalent circuit with fewer cells than the actual number. This reduces calculation load and better reflects temperature variations between cells. The model estimates normal deterioration temperatures based on cell temperatures, and compares to actual temperatures to determine if the battery is normally deteriorated after a predetermined period.
39. Lithium-Ion Battery Performance Enhancement via Sub-Discharge Voltage Recovery Process
Navitas Systems, LLC, 2015
Processes for improving the performance and cycle life of lithium-ion batteries. The processes involve holding the battery at a sub-discharge voltage below its normal discharge cutoff for a recovery time. This step recaptures lost capacity and reduces impedance compared to an untreated battery. The recovery time can be hours or days at voltages like 0V. Repeated recovery steps during cycling further improves performance. This allows recovering lost capacity without over-discharging the battery, reducing cold temperature impedance, and increasing cold cranking amps. The recovery step involves holding the battery at a sub-discharge voltage for a recovery time sufficient to show increased capacity or reduced impedance. The sub-discharge voltage is less than the normal cutoff. The recovery time can be from 1 hour to 120 hours.
40. Battery Management System with Predictive Capacity Calculation and Dynamic Current Adjustment for Lithium-Ion Cells
BOSCH GMBH ROBERT, ROBERT BOSCH GMBH, SAMSUNG SDI CO, 2015
Battery management system for electric vehicles that extends the lifespan of lithium-ion batteries beyond 10 years. The system monitors and optimizes the charging and discharging of the battery cells to prevent damage. It goes beyond just managing current limits and focuses on optimizing power output for specific states to match cell parameters. This involves calculating a predicted available capacity based on the reference capacity and withdrawn capacity. If current demand exceeds the predicted availability, it reduces the current to prevent overdrawing. This prevents premature aging and ensures the battery can reach its full lifespan.
41. Electrode Solvent Treatment Method for Removing Degradation Products in Lithium-Ion Batteries
GM Global Technology Operations LLC, 2013
Method to rejuvenate degraded lithium-ion batteries by treating the electrodes inside the pouch with a solvent to remove degradation products like lithium fluoride from the solid electrolyte interphase (SEI) layer. This involves introducing a solvent into the battery pouch, heating it, and then removing most of the solvent before filling the pouch with fresh electrolyte. The solvent treatment helps dissolve and remove some of the SEI layer, allowing recovery of battery performance when recharged.
42. Method for Dissolving and Removing Degraded Electrolyte Layers in Lithium-Ion Batteries
GM GLOBAL TECHNOLOGY OPERATIONS, INC., 2010
Rejuvenating degraded lithium-ion batteries by dissolving and removing degraded electrolyte layers to restore performance. The process involves opening the battery pouch in a controlled environment, dissolving low-conductivity electrolyte layers using a solvent, removing the solvent and degraded electrolyte, replacing with fresh electrolyte, and sealing the pouch. This aims to reverse the effects of SEI layer thickening and electrolyte decomposition that contribute to capacity loss in aged batteries.
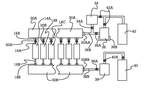
43. Electrode Defect Identification Method via Voltage Monitoring During Battery Stacking
Caleb Technology Corporation, 2009
A method for identifying defective electrodes during lithium-ion polymer battery assembly to prevent using faulty electrodes in batteries and reduce waste. The method involves monitoring voltage during stacking, detecting voltage drops, identifying the faulty electrode causing the drop, removing it, and continuing assembly. This allows separating and discarding defective electrodes without throwing away good ones.
Get Full Report
Access our comprehensive collection of 43 documents related to this technology
Identify Key Areas of Innovation in 2025

