Tesla's Battery Management System (BMS)
Tesla's Battery Management System (BMS) operates within demanding constraints, monitoring thousands of cells that experience varying charge rates, temperature gradients, and aging patterns. Voltage differences between cells must be maintained within 10mV tolerances, while thermal control systems manage temperatures to within 3°C across the pack. These systems must operate reliably across a 10-15 year lifespan while processing thousands of sensor measurements per second.
The central challenge lies in balancing real-time battery protection and health monitoring with the computational constraints of an automotive system that must function reliably in harsh environmental conditions.
This page brings together solutions from recent research—including closed-loop architectures with bidirectional signaling pathways, master-slave topologies that distribute processing across battery modules, historical data analytics for improved state-of-health estimation, and fault-tolerant communication protocols. These and other approaches demonstrate how modern battery management systems can maximize energy utilization while preserving safety and longevity across a battery's operational life.
1. Battery Health Estimation System Utilizing Onboard Sensors and Vehicle Data Integration
TESLA INC, 2025
Improving the accuracy of estimating battery health in electric vehicles to provide more reliable and trustworthy battery state information to vehicle users. The technique involves using onboard sensors and vehicle data to estimate battery health indicators like range and energy retention without needing external equipment or laboratory tests. This allows more accessible and real-time battery health monitoring in the vehicle itself. The method leverages the existing battery management system (BMS) and vehicle sensors to analyze factors like voltage, current, temperature, and charge history to more accurately estimate battery health indicators. This provides a more reliable and trustworthy indication of battery state to vehicle users compared to traditional methods that rely on complex and time-consuming processes.
2. Electric Vehicle Battery Health Assessment System with BMS-Integrated Historical Data Analytics Module
TESLA INC, 2024
A system for determining the state of health of an electric vehicle battery pack, comprising a battery management system (BMS) that estimates remaining capacity based on operating parameters, and a data analytics module that analyzes historical data from the BMS to provide a more accurate characterization of battery health and range estimation. The system enables remote monitoring and analysis of battery performance, providing consumers with a more reliable indication of battery health and range capability.
3. Battery Management System with Multi-Channel Bi-Directional Signaling and Closed-Loop Transmission Path
TESLA INC, Tesla, Inc., 2023
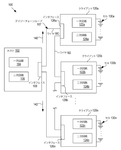
A battery management system for electric vehicles and other applications that employs multi-channel, bi-directional signaling to improve performance and redundancy. The system uses a master-slave architecture where a host microcontroller communicates with multiple low-level battery management ICs that directly manage battery cells. Commands and responses travel in both clockwise and counterclockwise directions across a closed-loop transmission path that serially couples the ICs, providing redundant paths and improved fault tolerance.
4. Battery Management System with Master/Slave Architecture and Bi-Directional Signaling in Series-Connected Modules
TESLA INK, 2023
A battery management system for electric vehicles that employs a master/slave architecture with bi-directional signaling and redundant paths across multiple series-connected battery modules. The system features a host controller that communicates with low-level battery management ICs, which manage individual battery cells, through a closed-loop daisy chain loop. This architecture enables robust and dynamic management of battery cells, improving system performance and fault tolerance in the presence of mechanical vibration, temperature changes, and electrical interference.
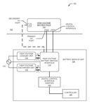
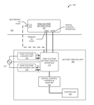
5. Battery Service Unit with Independent Charge-Discharge Systems and Operating Environment Simulator for High-Voltage Battery Packs
TESLA INC, 2022
A battery service unit for high-voltage battery packs that enables energy management and maintenance without requiring installation into an operational electric vehicle. The unit includes independently powered charger and discharger components, an operating environment simulator, and a primary connection system to interface with the battery pack. It can automatically set desired state-of-charge levels, dissipate energy, and simulate vehicle operating conditions to enable safe and controlled charging and discharging of the battery pack in various scenarios, including storage, transportation, recycling, and service operations.
6. Closed-Loop Battery Management System with Bidirectional Communication and Redundant Pathways in Series-Connected Modules
TESLA INK, 2020
A closed-loop battery management system for electric vehicles that provides bidirectional communication and redundant paths across multiple series-connected battery modules. The system employs a master-slave architecture with a host microcontroller that communicates with low-level battery management ICs, enabling commands and responses to be transmitted in either direction over a closed-loop transmission path. This architecture enhances system reliability and fault tolerance by providing multiple communication paths and redundant signaling capabilities.
7. Battery Management System with Multi-Channel Bi-Directional Signaling Procedures
TESLA INC, 2020
Battery management system that improves the performance and redundancy of the system. The system includes a multi-channel and bi-directional signaling procedures that improve the performance and redundancy of the system.
8. Battery Management System with Multi-Channel Bidirectional Signaling and Closed-Loop Series-Coupled Architecture
TESLA INC, 2020
A battery management system for electric vehicles and other applications that employs multi-channel, bidirectional signaling to improve performance and redundancy. The system uses a master-slave architecture where a host microcontroller communicates with multiple low-level battery management ICs that directly manage battery cells. Commands and responses travel in both clockwise and counterclockwise directions across a closed-loop transmission path that series-couples the ICs, enabling robust and dynamic management of battery cells.
9. Closed-Loop Battery Management System with Bi-Directional Communication and Redundant Pathways for Central Controller and Battery Modules
TESLA INC, 2020
A closed-loop battery management system for electric vehicles and other applications that provides bi-directional communication and redundant paths between a central controller and multiple battery modules. The system enables robust management of battery cells in harsh environments, including vibration, temperature extremes, and multiple power domains, while ensuring reliable operation and fault tolerance.
10. Multi-Channel Two-Way Battery Management System with Bidirectional Signaling and Redundant Pathways for Series-Coupled Battery Modules
TESLA INC, 2019
A multi-channel two-way battery management system that provides bidirectional signaling and redundant paths across multiple battery modules coupled in series, enabling robust and dynamic management of battery cells in electric vehicles and other applications with high performance requirements.
11. Closed-Loop Bi-Directional Signaling Architecture in Master-Slave Battery Management System
TESLA INC, 2019
A battery management system for electric vehicles that employs a closed-loop, bi-directional signaling architecture to manage battery cells. The system features a master-slave architecture where a host microcontroller communicates with multiple low-level battery management ICs that directly manage battery cells. The ICs are serially coupled in a closed-loop transmission path that enables commands and responses to travel in either direction, providing redundancy and improved system reliability.
12. Closed Loop Signaling Architecture with Bidirectional Master-Slave Configuration for Battery Management Systems
TESLA INC, 2019
A closed loop signaling architecture for battery management systems that provides robustness and redundancy for battery packs used in applications like electric vehicles. The architecture uses a master-slave configuration with a central host communicating bi-directionally with multiple lower level battery management circuits. Signals can travel clockwise or counterclockwise around the closed loop formed by serially connecting the battery management circuits. This allows redundant paths and reduces interference compared to centralized signaling.
13. External Thermal Conditioning System with Adaptive Thermal Interface for Electric Vehicle Battery Management During Charging
Tesla Motors, Inc., 2016
External thermal conditioning system for electric vehicles that provides active cooling or heating of the vehicle's battery pack during charging to maintain optimal operating temperatures. The charging station detects the battery's thermal information and provides customized thermal conditioning through connections like fluid loops, air intakes, or contact pads. This allows external cooling during fast charging when internal systems can't keep up, or heating to bring the battery up to a required temperature. It enables more efficient and flexible charging by supplementing the onboard cooling system.
14. Electric Vehicle Battery Management Mode with Adjustable Charging, Discharging, and Temperature Parameters
Tesla Motors, Inc., 2015
An operational mode for electric vehicles that extends the life of the vehicle's battery pack. The mode involves adjusting charging, discharging, and temperature limits when the vehicle is parked for extended periods. When selected, the mode allows the battery to self-discharge deeper before charging, limits charging rates, and maintains a higher minimum charge level. This reduces cycling and stress on the battery when left connected to a charger. The mode also sets temperature limits and balancing during discharge.
15. Battery Service Unit with Vehicle Signature Simulation and Multi-Port Access for High-Voltage Battery Packs
TESLA MOTORS INC, 2013
A battery service unit for high-voltage battery packs that enables energy management and maintenance without requiring installation in an operable electric vehicle. The unit provides a vehicle signature simulation circuit to replicate the operating environment, and multiple access mechanisms to charge or discharge the battery pack through its primary or secondary high-voltage ports. The unit can automatically set the desired state of charge (SOC) level and operate the battery pack outside the vehicle environment, making it suitable for scenarios such as storage, transportation, recycling, and repair.
16. High-Voltage Battery Pack Management System with Secondary Service Port for Independent Electrical Connectivity and Control
TESLA MOTORS INC, 2013
A system for managing high-voltage battery packs in electric vehicles through a secondary service port, enabling safe charging and discharging of the battery pack when the primary service connection is unavailable or compromised. The system includes a dedicated service port with direct access to the battery contactor, allowing for independent electrical connectivity and control of the battery pack's state of charge (SOC). The system also includes safety features such as in-line diodes, fuses, and thermal control to prevent overcharging and ensure safe operation. The secondary service port enables maintenance and management operations such as SOC determination, isolation testing, and discharge management, even when the battery pack is not installed in the vehicle or the vehicle's electrical system is compromised.
17. Battery Management System with Integrated High-Voltage Charger, Discharger, and Environment Simulator for Non-Operational High-Voltage Battery Packs
TESLA MOTORS INC, 2013
Battery management system for high-voltage battery packs that enables safe operation without installation in operational vehicles. The system integrates a high-voltage charger and discharger with an environment simulator, enabling controlled charging and discharging of battery packs even when the vehicle is not operational. The system automatically sets optimal SOC levels for battery packs, including during storage, transportation, and recycling scenarios, ensuring reliable operation and safety.
18. High-Voltage Battery Pack Management System with Secondary Service Port and Independent Charging/Discharging Control
TESLA MOTORS INC, 2013
A system and method for managing high-voltage battery packs through a secondary service port, enabling safe charging and discharging operations independent of the primary vehicle interface. The system includes a battery service unit that connects to the battery pack through a dedicated service port, bypassing the vehicle's electrical system and safety interlocks. The unit provides a controlled environment for charging and discharging the battery pack to a desired state of charge, with features such as automatic SOC determination, variable voltage/current control, and protection against over/under voltage, temperature, and electrical faults. The system enables safe and efficient battery management in scenarios where the primary vehicle interface is unavailable or compromised, including storage, transportation, recycling, and service operations.
19. Battery Pack with Integrated Self-Discharge and Dual Port Energy Management for Electric Vehicles
TESLA MOTORS INC, 2013
Energy storage system for electric vehicles that enables controlled discharging through self-discharge mechanisms. The system integrates a battery pack with built-in safety features that automatically manage energy transfer between the battery and an external port. When the battery is installed in an operational vehicle, it can be charged or discharged through the vehicle's electrical connector. However, when the vehicle is not operational, the battery can be charged or discharged through an external port, utilizing the vehicle's electrical infrastructure. The system includes a self-discharge mechanism that initiates energy dissipation from the battery pack's internal components without requiring vehicle electrical connection. This enables safe discharging of the battery pack in situations where vehicle availability is uncertain.
20. Battery Service Unit with Primary Connection System and High-Voltage Discharger for Independent SOC Management
TESLA MOTORS INC, 2013
A battery service unit for maintaining and managing high-voltage battery packs in electric vehicles, enabling safe charging and discharging operations independent of the vehicle's operational status. The unit features a primary connection system, high-voltage discharger, and operating environment simulator, allowing for controlled energy transfer and SOC management without requiring the battery pack to be installed in a functioning vehicle.
21. High-Voltage Battery Pack Management System with Secondary Service Port and Interlock Bypass Capability
TESLA MOTORS INC, 2013
A system and method for managing high-voltage battery packs through a secondary service port, enabling charging and discharging operations independent of the primary vehicle interface. The system includes a service port with interlock bypass capability, allowing energy transfer between the battery pack and an external service unit without relying on the vehicle's electrical system. The service unit features a discharger, power supply, controller, and safety features to manage the battery pack's state of charge, including automatic SOC setting, capacity testing, and regulatory compliance.
22. Electric Vehicle Communication Interface with Network-Connected Remote Battery Management and Location-Based Preset Storage
Tesla Motors, Inc., 2010
Communication interface for electric vehicles that allows remote charging, monitoring, and controlling of the battery. It uses a device in the vehicle to connect to networks and communicate with a user interface. This allows features like initiating charging, delaying charging, and minimizing current draw from the grid. It also notifies the user of battery issues and can prompt choices for second homes. The interface can store presets for multiple locations using a GPS.
23. Electric Vehicle Battery Management System with User-Selectable Charging and Cooling Modes
Tesla Motors, Inc., 2010
A system for optimizing the performance and life of electric vehicle batteries by allowing the user to select charging and cooling modes based on their specific needs. The system provides multiple charging/operational modes with different cutoff voltages and temperature ranges. The user can choose between modes like Standard, Storage, and Extended Range. This allows customization for scenarios like daily driving vs long trips. The system remembers the user's preference unless they manually switch. It also prompts for mode selection after turning off the car. The default mode can be set by the user.
24. Battery Management System with Autonomous Module Voltage Balancing and Target Voltage Communication
Tesla Motors, Inc., 2009
Self-balancing battery management system for electric vehicles that enables balancing of battery modules without external equipment. The system balances voltages between modules as soon as they connect or disconnect. It initiates balancing based on target voltages derived from individual module voltages. Modules announce their target voltages to other modules, which replace their targets if appropriate. Modules then adjust voltages based on their targets. This allows balanced voltage distribution throughout the battery pack without external intervention.
25. System for Characterizing Electric Vehicle Component Status via Energy Delivery Analysis
TESLA INC, 2024
A system for managing and configuring actions associated with electric vehicle maintenance and operation. The system characterizes the operational status of vehicle components, such as battery packs, based on energy delivery processes from available power sources. It estimates battery pack capacity metrics and measures indicators through a capacity determination methodology, including a complete charge or discharge cycle. The system provides accurate and accessible characterizations of battery pack health and energy retention, enabling informed maintenance decisions and reducing unnecessary repairs.
26. Electric Vehicle Battery Capacity Estimation via Charge-Discharge Cycle Analysis
TESLA INC, 2024
Accurately estimating the remaining capacity of an electric vehicle battery pack without external measurements or lab tests. The method involves charging the battery from a low state of charge to a full charge, then discharging it back to the low state. By comparing the charge and discharge amounts, the battery's current capacity can be estimated without external devices. This allows more accurate capacity estimates that can be provided to users without relying on complex and error-prone methods.
27. Battery Health Assessment System Utilizing Sensor Data and Advanced Algorithms
TESLA INC, 2023
A system for accurately determining the state of health of an electric vehicle's battery pack, enabling reliable range estimation and energy retention characterization without the need for external testing equipment or complex laboratory procedures. The system leverages advanced algorithms and sensor data to provide accurate battery health assessments, eliminating the need for traditional range estimation methods that are prone to errors.
28. Photovoltaic Module with Integrated Micro-Battery, DC-DC Converter, and DC-AC Inverter
TESLA INC, 2022
Micro-battery PV systems that improve efficiency and aesthetics of solar power systems by storing and converting power at the module level. Each PV module has a dedicated micro-battery with a DC-DC converter and DC-AC inverter. This allows storing module DC power before conversion instead of central storage. It reduces power losses from multiple conversions. The batteries are housed directly on the module or nearby. This avoids ground-level storage components and improves aesthetics. The micro-batteries can also provide backup power.
29. Arc Fault Detection System with Integrated DC-to-DC Converter for Battery Pack Protection
TESLA INC, 2021
Arc fault detection system that minimizes damage caused by thermal events in battery packs for energy generation systems. The system includes a cell array of conductively interconnected power cells configured to store and discharge energy, a direct current (DC)-to-DC converter coupled to the cell array and configured to receive power from the cell array during discharging of the cell array or to output power to the cell array during charging of the cell array, a pair of output terminals coupled to the DC-to-DC converter for coupling with an external device, and an arc fault detection system coupled between the DC-to-DC converter and the pair of output terminals.
30. Battery Pack Enclosure with Emergency Coolant Ingress and Controlled Breach Mechanism
Tesla, Inc., 2021
A system for allowing controlled cooling of electric vehicle battery packs during internal thermal events. The system provides a way to ingress coolant like water into the sealed battery enclosure during thermal runaway conditions. This allows direct contact with the affected cells to remove heat and mitigate chain reactions. A specialized fill port is used for normal coolant refilling. But in emergency situations, a perforation tool can breach the enclosure wall to allow coolant ingress through a specific hole. The tool has features to prevent unintended breaches. The hole location is also designed to minimize damage and contamination. The breach-and-fill method provides a controlled way for first responders to cool a battery pack in an urgent situation where normal coolant access is unavailable.
31. Redundant Data Communication System with Daisy Chain Architecture and Fault Detection for Electric Vehicles
TESLA INC, 2021
A redundant data communication system for electric vehicles that detects cable breaks in redundant communications. The system uses a daisy chain architecture with multiple parallel data paths and fault detection mechanisms to ensure reliable communication between battery modules and a host controller. The system includes features such as differential signaling, digital isolators, and fault detection circuits to maintain communication integrity in the presence of electromagnetic interference and mechanical stress.
32. Battery Pack Thermal Event Detection and Prevention System with Integrated Arc Fault Disabling Mechanism
TESLA INC, 2020
A system for detecting and preventing thermal events in battery packs for solar energy generation systems. The system includes sensors to measure voltage and current across the battery pack's terminals and a controller to determine when an arc fault has occurred. Upon detection, the controller immediately disables the battery pack to prevent damage to electrical components. The system can be integrated into battery packs for both AC-coupled and DC-coupled solar energy generation systems.
33. System for Monitoring and Mitigating High Voltage Electrolysis in Electric Vehicle Battery Packs
Tesla, Inc., 2020
Detecting and mitigating high voltage electrolysis within electric vehicle battery packs to prevent thermal runaway and hydrogen buildup. The system uses sensors to monitor for conditions like coolant leaks and bridged terminals that can lead to electrolysis. If electrolysis is detected, the system responds by cutting power to prevent further energy input, and actively cooling the electrolyzing area to prevent boiling and temperature rise. This prevents chain reactions and thermal runaway that can occur from electrolysis.
34. Data Communication System with Redundant Paths and Single Isolated DC-DC Converter for Electric Vehicle Battery Modules
TESLA INC, 2020
A fault-tolerant data communication system for electric vehicles that provides low-cost, EMI-robust data transmission between battery modules. The system uses a single isolated DC-DC converter and a daisy-chain topology with redundant signal and power paths to ensure reliable communication in harsh environments. The system detects faults in the redundant paths and prevents further operation of the vehicle if a failure is detected.
35. Battery Pack Thermal Event Detection and Prevention System with Arc Fault Identification and Disabling Mechanism
TESLA INC, 2020
A system for detecting and preventing thermal events in battery packs for solar energy generation systems. The system includes sensors to measure voltage and current across the battery pack's terminals and a controller to determine if an arc fault has occurred. Upon detection, the controller immediately disables the battery pack to prevent damage to electrical components. The system can be integrated into battery packs for both DC-coupled and AC-coupled solar energy generation systems.
36. Electric Vehicle Thermal Management System with Coolant Loop Bypass Valve for Independent Flow Regulation
Tesla, Inc., 2019
Thermal management system for electric vehicles that allows continuous and optimized control of battery cooling and passenger cabin cooling. The system uses a bypass valve in the coolant loop that allows splitting the coolant flow between going through the heat exchanger and bypassing it. This allows independent regulation of the amount of coolant going through the heat exchanger versus bypassing it. By adjusting the bypass valve, the system can fine-tune the cooling of the battery pack and passenger cabin to maintain desired temperatures within preset ranges. It also provides flexibility to balance cooling demands when the compressor output of the refrigeration system cannot be increased further. The bypass valve also allows bypassing the heat exchanger entirely for very low battery pack temperatures, further optimizing cooling.
37. Underfloor Battery Pack Base Plate with Thermally Coupled Decoupling Heat Exchanger
Tesla, Inc., 2019
Integrating a heat exchanger into the base plate of an underfloor battery pack in an electric vehicle. The heat exchanger is thermally coupled to the batteries when the pack is in operation. When the pack is not in use, the heat exchanger is decoupled from the batteries. This allows optimal heat transfer from the pack to the ambient air flowing over the exposed base plate during vehicle motion. An integrated heat exchanger like this provides efficient cooling without stacking multiple heat exchangers, reducing power losses and improving performance.
38. High-Voltage Battery Pack Management System with Secondary Service Port Integration
TESLA INC, 2019
A system and method for managing high-voltage battery packs through a secondary service port, enabling safe charging and discharging operations independent of the primary vehicle interface. The system includes a battery service unit that connects to the battery pack through a dedicated service port, bypassing the vehicle's electrical system, and provides controlled energy transfer to set the battery's state of charge to a desired level. The system includes safety features such as interlocks, tamper-evidence technology, and protection mechanisms to prevent damage or unauthorized access.
39. Battery Pack Configuration with Direct Current Power Minimization and Integrated Inverter Coupling
SOLARCITY CORP, 2019
Power source for generating direct current (DC) power is stored in an optimized battery pack in a way that minimizes the number of power conversions between a power source and a load. The inverter is coupled to the inverter as well as to the AC grid for converting the combined DC power from the strings to alternating current (AC) power.
40. Battery Degradation Assessment via Periodic DC Impedance Measurement and Real-Time Effective Impedance Calculation
TESLA INC, 2019
Directly measuring battery degradation instead of predicting it, to provide a more accurate and reliable indicator of battery health. The method involves periodically measuring the DC impedance of the battery, ratios it to a reference impedance to get an impedance degradation factor, obtains an operational reference impedance during use, and applies the degradation factor to get a real-time effective impedance. This allows direct measurement of impedance degradation over time, providing a more reliable indicator of battery health than just capacity measurements.
41. Battery Pack System with Integrated Arc Fault Detection and Prevention Mechanism
TESLA INC, 2019
A system for detecting and preventing thermal events in battery packs for solar energy generation systems. The system includes sensors and a controller that monitor voltage and current flow through the battery pack and immediately disable the pack when an arc fault is detected, preventing damage to electrical components. The system can be integrated into battery packs and energy generation systems to provide enhanced safety and reliability.
42. Photovoltaic Module with Integrated DC-to-DC Converter and Independent Battery Pack
SOLARCITY CORP, 2018
Micro-battery PV systems enable direct conversion of DC power from solar panels to AC power while storing excess energy for later use. Each PV module is equipped with a dedicated DC-to-DC converter and a battery pack, allowing each module to operate independently while maintaining optimal performance. This design enables efficient energy harvesting and storage, with the battery packs providing DC power before conversion and the DC-to-DC converters converting it to AC. The system can operate as a micro-inverter system or a traditional solar array with on-site energy storage, offering enhanced efficiency compared to conventional PV systems.
43. Photovoltaic System with Panel-Integrated Distributed Battery Packs and DC-DC Converters
SOLARCITY CORP, 2018
A PV system with multiple small batteries, one for each solar panel, that store and provide power for the panel instead of a centralized battery. The optimizer battery packs have DC-DC converters to maximize power extraction from each panel. The distributed batteries eliminate the need for boost/buck converters between panels and the main inverter, improving efficiency. The small batteries can be mounted directly on the panels for better aesthetics compared to ground-level batteries.
44. High Voltage Battery Pack with Secondary Service Port for Independent Charging and Discharging
TESLA INC, 2018
Enabling charging and discharging of high voltage battery packs when they are not installed in a vehicle. The method involves using a secondary service port on the battery pack instead of the primary operating port. This allows access to the pack's energy when the vehicle is inoperable or if the operating environment is compromised. The service port provides a separate path for charging/discharging without using the main port. It also grounds the pack chassis prior to electrical connection. This prevents unintended use and provides tamper-evident seals.
45. High Voltage Battery Pack Management System with External Charging and Discharging Capabilities
TESLA INC, 2017
System for managing and maintaining high voltage battery packs in electric vehicles when they are not installed in a vehicle. The system allows charging and discharging the battery pack outside the vehicle to set the state of charge (SOC) level. It uses a dedicated battery service unit that connects to the pack's high voltage ports and has features like discharger, power supply, controller, and sensors to automatically set SOC or selectively dissipate energy. This enables safe and controlled charging/discharging without the vehicle's BMS. It's useful for storage, transport, recycling, and repair scenarios where the pack is not in the vehicle.
46. Battery Cell Preconditioning System with Predictive Charge Type Identification and Temperature Adjustment Mechanism
TESLA, INC., 2017
Efficiently fast charging electric vehicle batteries by preconditioning the battery cells before charging to improve charging efficiency. The method involves predicting if an upcoming charge will be fast or slow, and if fast, adjusting the battery cell temperature above the standard operating temperature. This is done by identifying an impending fast charge opportunity and using that information to prepare the battery cells for the fast charge by raising their temperature above the normal operating temperature. This improves fast charging efficiency compared to trying to cool the cells during fast charging. The technique involves a charge prediction system that identifies upcoming fast or slow charges, and an environment control system that adjusts the battery cell temperature based on the prediction.
47. Automated System for Dynamic Charging Rate Adjustment of Lithium-Ion Batteries Based on Critical Parameter Monitoring
Tesla, Inc., 2017
Automated method and apparatus for low temperature fast charging of lithium-ion battery packs to enable fast charging at cold temperatures without risk of lithium plating. The method involves periodically monitoring critical parameters like cell temperature, state of charge, and current to determine if fast charging is safe. If conditions allow, fast charging is used. Otherwise, slower charging is used. This allows fast charging at low temperatures without disabling it completely. The charging rate scales dynamically based on the critical parameters.
48. Battery Cell Cap with Ejectment Structure for Controlled Gas and Debris Release During Thermal Runaway
TESLA, INC., 2017
Battery cell design to prevent cell rupture during thermal runaway by efficiently releasing hot gas and debris through the cell cap. The design involves creating a specialized ejectment structure in the cell cap that responds to specific combustion properties of the electrode materials. This structure provides an aperture to direct combustion gases and debris out of the cell in a controlled manner, reducing the likelihood of side wall perforation compared to conventional cells. The ejectment aperture is created by responding to preselected combustion properties like temperature and pressure. This allows hot gases to escape the cell through the cap rather than penetrating the side walls.
49. Self-Discharge Management System for High-Voltage Battery Pack with Automatic State of Charge Adjustment
TESLA MOTORS INC, 2017
Management of a self-dischargeable rechargeable high-voltage battery pack that is at least partially functional and intact. The management includes determining a desired SOC level and automatically setting an SOC level of an energy storage system to the desired SOC level.
50. Modular Energy Storage System with Galvanic Isolation and Independent Power Electronics for Parallelization of Dissimilar Battery Blocks
Tesla Motors, Inc., 2017
Scalable, modular energy storage system that allows parallelization of multiple battery blocks with different cell types, ages, and voltages without requiring exact voltage matching. The system uses galvanic isolation and power electronics converters for each battery block to provide a common DC interface. This allows failure independence, scalability, and parallelization of dissimilar batteries without propagation or system-wide voltage balancing.
Get Full Report
Access our comprehensive collection of 109 documents related to this technology
Identify Key Areas of Innovation in 2025

